|
|
(21), (22) Заявка: 2008131363/11, 29.07.2008
(24) Дата начала отсчета срока действия патента:
29.07.2008
(46) Опубликовано: 10.12.2009
(56) Список документов, цитированных в отчете о поиске:
RU 2207250 С2, 27.06.2003. SU 1685755 A1, 23.10.1991. SU 1775319 A1, 15.11.1992. DE 2406206 A1, 14.08.1975.
Адрес для переписки:
644046, г.Омск, пр-кт Маркса, 35, ГОУ ВПО Омский государственный университет путей сообщения
|
(72) Автор(ы):
Галиев Ильхам Исламович (RU), Шилер Валерий Викторович (RU), Белоглазова Наталья Анатольевна (RU), Шилер Александр Валерьевич (RU), Шипилов Павел Александрович (RU), Швецов Семен Васильевич (RU)
(73) Патентообладатель(и):
Государственное образовательное учреждение высшего профессионального образования Омский государственный университет путей сообщения (RU)
|
(54) ПРОФИЛЬ ГРЕБНЯ УПОРНОГО ДИСКА КОЛЕСА РЕЛЬСОВОГО ТРАНСПОРТНОГО СРЕДСТВА
(57) Реферат:
Изобретение относится к рельсовому транспорту, в том числе может применяться для железнодорожного подвижного состава до мостовых подъемных кранов и монорельсовых дорог. Колесо рельсового транспортного средства содержит упорный диск и ступицу, которая установлена на оси посредством подшипников, бандаж, закрепленный на ступице упругой прослойкой, при этом пространство между посадочными поверхностями бандажа и ступицы выполнено профилированным. По периметру упорного диска сформирован гребень, который боковой поверхностью контактирует с головкой рельса. Боковая поверхность гребня упорного диска, контактирующая с головкой рельса и остряком стрелочного перевода рельсовой колеи, задана криволинейной образующей, которая выпуклостью направлена в сторону головки рельса. Технический результат – повышение безопасности движения и комфортности внутри экипажа, увеличение ресурса упорного диска и снижение сопротивления движению колеса колесной пары. 2 ил.
Изобретение относится к рельсовому транспорту, начиная от железнодорожного подвижного состава до мостовых подъемных кранов и монорельсовых дорог.
Известны колеса рельсовых транспортных средств, содержащие упругие элементы, гасящие вибрации, вызываемые перемещением по рельсовой колее, например “Упругое колесо рельсового транспортного средства” по авторскому свидетельству СССР 1775319, МКИ 7 В60В 9/12. За прототип на основании наибольшего совпадения принято “Колесо рельсового транспортного средства” по авторскому свидетельству РФ 2207250, конструкция которого имеет упорный диск, по периметру которого имеется гребень, ступицу, упругий элемент, подшипники, подрессоренный бандаж, независимо вращающегося относительно упорного диска и оси колесной пары.
Недостатком этих решений является наличие прямолинейной образующей боковой поверхности гребня упорного диска, контактирующей с головкой рельса. Это является причиной недостаточного уровня безопасности движения колеса колесной пары.
Цель предлагаемого изобретения состоит в повышении безопасности движения и комфортности внутри экипажа, в увеличении ресурса упорного диска и снижении сопротивления движению колеса колесной пары.
Суть изобретения состоит в том, что указанная цель достигается за счет замены прямолинейной образующей боковой поверхности гребня упорного диска, контактирующей с боковой поверхностью головки рельса, на криволинейную образующую (например, параболическую), выпуклостью направленную в сторону головки рельса.
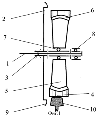
На фиг.1 представлена конструкция колеса рельсового транспортного средства. На фиг.2 в увеличенном масштабе показаны профили образующей боковой поверхности гребня 9 упорного диска 2, контактирующей с головкой рельса 10.
Из фиг.1 видно, что конструкция колеса состоит из упорного диска 2 и ступицы 5, независимо вращающихся относительно друг друга. Упорный диск 2 жестко насажен на ось 1, которая имеет возможность вращаться в буксовых подшипниках 8. По периметру упорного диска 2 сформирован гребень 9. Ступица 5 посредством подшипника 7 установлена на оси колесной пары 1. На ступице 5 посредством упругой прокладки 6 установлен подрессоренный бандаж 4.
Боковая поверхность гребня 9 задается криволинейной образующей, выпуклостью направленной в сторону головки рельса 10. Боковую поверхность гребня можно разделить на две зоны: участок поверхности в зоне КА контактирует с верхней частью боковой поверхности головки рельса при прохождении кривых участков пути; второй участок боковой поверхности в зоне СВ контактирует с остряком стрелочного перевода рельсовой колеи. В обоих этих случаях на гребень действует горизонтально-поперечная направляющая сила.
Гребень с криволинейным очертанием боковой поверхности работает следующим образом. При прохождении кривых участков пути колесом с подрессоренным бандажом боковая поверхность гребня 9 контактирует с головкой рельса 10 на участке КА и воспринимает горизонтально-поперечную направляющую силу. На этом участке угол ( ) наклона касательной к образующей боковой поверхности в точке контакта имеет наименьшее значение. Поэтому вертикальная составляющая от направляющего усилия минимальна и значительно меньше, чем вертикальная нагрузка колеса. При таком соотношении вертикальных сил значительно сокращается вероятность вкатывания гребня колеса на рельс.
При вписывании колесной пары с подрессоренными бандажами в стрелочный перевод рельсовой колеи точка контакта гребня с остряком находится в нижней части участка образующей (СВ) боковой поверхности гребня 9. На этом участке значение угла ( ) наклона касательной в точке контакта гребня и остряка больше, чем на верхнем участке (КА) и по сравнению с углом наклона прямолинейной образующей (отрезок АВ). Поэтому значение угла в точке контакта гребня и остряка вполне достаточно для надежного «захвата» боковой поверхностью гребня направляющей боковой поверхности остряка стрелочного перевода. По мере перемещения колеса в продольном направлении направляющая боковая поверхность остряка увеличивается по высоте и точка контакта гребня и остряка перемещается вверх в зону меньшего значения угла .
Технический результат – повышение ресурса упорного диска, безопасности движения, комфортности внутри экипажа.
Повышение безопасности движения и комфортности внутри экипажа обеспечивается за счет придания образующей участка боковой поверхности гребня упорного диска, контактирующего с головкой рельса, выпуклой криволинейной конфигурации.
Формула изобретения
Колесо рельсового транспортного средства, содержащее упорный диск и ступицу, которая установлена на оси посредством подшипников, бандаж, закрепленный на ступице упругой прослойкой, при этом пространство между посадочными поверхностями бандажа и ступицы, выполнено профилированным, по периметру упорного диска сформирован гребень, который боковой поверхностью контактирует с головкой рельса, отличающееся тем, что, с целью повышения ресурса упорного диска, безопасности движения колеса с подрессоренным бандажом, боковая поверхность гребня упорного диска, контактирующая с головкой рельса и остряком стрелочного перевода рельсовой колеи, задана криволинейной образующей, которая выпуклостью направлена в сторону головки рельса.
РИСУНКИ
|
|