|
(21), (22) Заявка: 2007135693/02, 26.09.2007
(24) Дата начала отсчета срока действия патента:
26.09.2007
(43) Дата публикации заявки: 10.04.2009
(46) Опубликовано: 10.12.2009
(56) Список документов, цитированных в отчете о поиске:
US 2002/0026859 A1, 07.03.2002. GB 225670, 11.12.1924. SU 148754, 01.01.1962.
Адрес для переписки:
445633, Самарская обл., г. Тольятти, ул. Заставная, 2, ОАО “АВТОВАЗ”, ДКУиР, УРИ, ПЛО, А.П.Голикову
|
(72) Автор(ы):
Кемер Леонард Петрович (RU)
(73) Патентообладатель(и):
Открытое акционерное общество “АВТОВАЗ” (RU)
|
(54) ГОЛОВКА С ПРУЖИННЫМ ЗАХВАТОМ
(57) Реферат:
Изобретение относится к машиностроению и предназначено для механического захватывания гаек и их заворачивания в автоматическом режиме. Головка содержит корпус со встроенным упругим захватом в форме скобы, выполненным из пружинной проволоки и размещенным в наружном продольном пазу корпуса по нормали к плоской грани захватываемой детали. Верхний конец пружинного захвата Г-образной формы заправлен в радиальное отверстие по оси паза и зафиксирован накидной гайкой, а нижний конец радиусной формы через сквозную часть паза выступает внутрь корпуса и взаимодействует с деталью, под которую в корпусе выполнено гнездо. Обеспечивается унификация пружинного захвата и упрощение его конструкции. 2 ил.
Изобретение относится к машиностроению и может быть использовано для захватывания и удержания гаек при их наворачивании в автоматическом режиме.
В ОАО «АВТОВАЗ» для этой цели применяются головки с магнитными захватами. Три магнита смонтированы в диамагнитных втулках и равнорасположены по диаметру корпуса головки.
Данные головки имеют ряд недостатков:
– сложность монтажа магнитных вставок в тонкостенных корпусах головок;
– снижение надежности рабочих шлицев головки (вследствие срезания отверстиями под установку магнитных вставок);
– засорение гнезда головки стальной стружкой (мусором);
– дороговизна магнитов.
Известна головка [1], содержащая корпус, в поперечных пазах-лысках которого расположен пружинный захват С-образной формы. 2 паза-лыски расположены диаметрально друг другу. Причем один из пазов вскрывает гнездо под размещение детали на высоту ее грани, что обеспечивает взаимодействие захвата с деталью.
Недостатками данной конструкции являются:
– технологически сложно выполнимые в корпусе поперечные пазы-лыски на заданную глубину параллельно друг другу;
– большое усилие на вставку детали в гнездо корпуса головки при отсутствии пологой заходной фаски на детали;
– отсутствие унификации пружинного захвата, который предназначен для одного типоразмера детали.
Известна головка [2], содержащая корпус, внутрь которого встроен пружинный захват, выполненный из листового материала, и фиксируемый от выпадения вставкой, выполненной по форме детали и обеспечивающей заделку лепестков захвата, расположенных диаметрально по сторонам плоских граней детали.
Недостатками данной конструкции являются:
– сложная форма захвата, выполнимая только штамповкой из листового металла;
– высокая трудоемкость изготовления гнезда в корпусе головки под размещение детали и пружинного захвата;
– отсутствие унификации пружинного захвата;
– конструктивно невозможно применение для деталей малого типоразмера.
Технической задачей изобретения является расширение технических возможностей устройства.
Техническим результатом использования изобретения является унификация пружинного захвата и упрощение конструкции его самого и корпуса головки.
Указанный технический результат достигается за счет того, что головка с пружинным захватом содержит корпус со встроенным упругим захватом, а также головка имеет наружный продольный паз, расположенный по нормали к плоской грани захватываемой детали, в котором размещен упругий захват, выполненный в форме отдельной скобы из пружинной проволоки. Верхний конец захвата Г-образной формы заправлен в радиальное отверстие по оси паза и зафиксирован накидной гайкой, а нижний конец захвата имеет радиусную форму и через сквозную часть паза выступает внутрь корпуса, в гнездо под деталь, с которой он взаимодействует. Такая конструкция позволит применять упругий захват одного размера для нескольких типоразмеров головок.
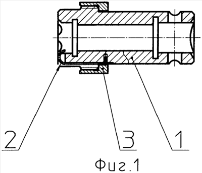
На фиг.1 изображена головка с пружинным захватом, на фиг.2 – вид снизу.
Головка с пружинным захватом состоит из корпуса 1, в наружном продольном пазе которого расположен упругий захват 2 из пружинной проволоки, выполненный в форме скобы. Продольный паз в корпусе выполнен по нормали к плоской грани захватываемой детали. Верхний конец пружинного захвата Г-образной формы заправлен в радиальное отверстие по оси паза и зафиксирован накидной гайкой 3, а нижний конец радиусной формы, через сквозную часть паза, выступает внутрь корпуса 1 и взаимодействует с деталью, под которую в корпусе выполнено гнездо.
Головка с пружинным захватом работает следующим образом.
Для осуществления захвата совмещают оси головки и детали. Установка детали в гнездо головки происходит за счет подпружиненного хода последней, совместно с движением вращения гайковерта. После входа детали в гнездо корпуса 1 головки она отжимает нижний конец захвата 2 и надежно фиксируется в гнезде. Далее головка с деталью перемещается в зону сборки, где происходит процесс наворачивания и затяжки резьбового соединения, после чего головка ходом гайковерта вверх снимается с детали и пружинный захват 2 возвращается в исходное положение.
В случае износа захвата 2 его замена происходит отворачиванием накидной гайки 3.
Конструкция головки позволяет использовать пружинный захват одного размера для нескольких типоразмеров головок, что значительно повышает степень унификации пружинного захвата и обеспечивает высокую ремонтопригодность головок.
Использование изобретения позволяет производить сборку многошпиндельными гайковертами на автоматических линиях.
Источники информации
[1] Патент US 2004/0163500 А1 от 26.08.2004.
[2] Патент US 2002/026859 от 03.07.2002.
[3] Патент DЕ 10156913 А1 от 05.06.2003.
Формула изобретения
Головка с пружинным захватом для гайковерта, содержащая корпус со встроенным упругим захватом, отличающаяся тем, что захват выполнен из пружинной проволоки в форме скобы и размещен в наружном продольном пазу корпуса, расположенном по нормали к плоской грани захватываемой детали, при этом верхний конец скобы выполнен Г-образной формы, заправлен в радиальное отверстие по оси паза и зафиксирован накидной гайкой, а нижний конец скобы выполнен радиусной формы, и через сквозную часть продольного паза выступает внутрь корпуса в гнездо под деталь для взаимодействия с нею.
РИСУНКИ
|