|
|
(21), (22) Заявка: 2008124690/28, 16.06.2008
(24) Дата начала отсчета срока действия патента:
16.06.2008
(46) Опубликовано: 10.12.2009
(56) Список документов, цитированных в отчете о поиске:
RU 2234987 C1, 27.08.2004. RU 2005563 C1, 15.01.1994. RU 2023813 C1, 30.11.1994. SU 1079304 A, 15.03.1984. US 4088062 A, 09.05.1978.
Адрес для переписки:
630116, г.Новосибирск, Боровая партия, 9, кв.6, Н.А. Радкевичу
|
(72) Автор(ы):
Радкевич Николай Александрович (RU)
(73) Патентообладатель(и):
Радкевич Николай Александрович (RU)
|
(54) ВИБРОВОЗБУДИТЕЛЬ (ВАРИАНТЫ)
(57) Реферат:
Предложенное изобретение относится к вибрационной технике и может быть использовано в строительной индустрии, горной промышленности и других отраслях. В основу изобретения положена задача создания простого вибровозбудителя со стабильной колебательной системой и более высокими энергетическими характеристиками. Предложенный вибровозбудитель содержит корпус, установленный в нем ударник с диафрагмами, расположенными со стороны одного из его торцов, при этом одна диафрагма закреплена на корпусе по внешнему контуру и скреплена с ударником по внутреннему контуру, другая закреплена на корпусе по внутреннему контуру и скреплена с ударником по внешнему контуру, оппозитные рабочие камеры, снабженные системой распределения энергоносителя, состоящей из размещенных на противоположных сторонах корпуса каналов впуска с ограничителями, в которых подвижно установлены клапаны, расположенных в ударнике каналов выпуска и канала, соединяющего каналы выпуска с атмосферой, которая выполнена с возможностью попеременного открывания канала впуска и перекрытия канала выпуска для одной рабочей камеры при перекрывании канала впуска, и открывании канала выпуска для другой камеры и, наоборот, при осевых перемещениях ударника, при этом одна из оппозитных рабочих камер ограничивается диафрагмой, закрепленной на корпусе по внешнему контуру и скрепленной с ударником по внутреннему контуру, и диафрагмой закрепленной на корпусе по внутреннему контуру и скрепленной с ударником по внешнему контуру. Данный вибровозбудетель может быть реализован в двух вариантах своего конструктивного исполнения. 2 н.п. ф-лы. 2 ил.
Изобретение относится к вибрационной технике и может быть использовано в строительной индустрии, горной промышленности и других отраслях.
Известен вибровозбудитель, содержащий корпус, установленный в нем ударник с диафрагмами, расположенными со стороны противоположных торцов ударника и закрепленными на корпусе по внешнему контуру и скрепленными с ударником по внутреннему контуру, оппозитные рабочие камеры, снабженные системой распределения энергоносителя, состоящей из размещенных на противоположных сторонах корпуса каналов впуска с ограничителями, в которых подвижно установлены клапаны, расположенных в ударнике каналов выпуска и канала, соединяющего каналы выпуска с атмосферой, которая выполнена с возможностью попеременного открывания канала впуска и перекрытия канала выпуска для одной рабочей камеры при перекрывании канала впуска и открывании канала выпуска для другой камеры и, наоборот, при осевых перемещениях ударника (патент СССР 1822350, М. кл. В06В 1/18, опубл. 15.06.93).
Известен также вибровозбудитель, содержащий корпус, установленный в нем ударник с диафрагмами, расположенными со стороны противоположных торцов ударника и закрепленными на корпусе по внутреннему контуру и скрепленными с ударником по внешнему контуру, оппозитные рабочие камеры, снабженные системой распределения энергоносителя, состоящей из размещенных на противоположных сторонах корпуса каналов выпуска, расположенных в ударнике каналов впуска с ограничителями, в которых подвижно установлены клапаны, и канала, соединяющего каналы впуска с источником энергоносителя, которая выполнена с возможностью попеременного открывания канала впуска и перекрывания канала выпуска для одной рабочей камеры при перекрывании канала впуска и открывании канала выпуска для другой камеры и, наоборот, при осевых перемещениях ударника (патент РФ 2005563, М. кл. В06В 1/18, опубл. 15.01.94).
К общим недостаткам этих устройств можно отнести наличие при работе вибовозбудителя встречных сил натяжения диафрагм, которые отрицательно влияют на добротность колебательной системы.
Более близкими техническими решениями можно считать варианты исполнения вибровозбудителя, один из которых содержит корпус, установленный в нем ударник с диафрагмами, расположенными со стороны одного из его торцов, при этом одна диафрагма закреплена на корпусе по внешнему контуру и скреплена с ударником по внутреннему контуру, другая закреплена на корпусе по внутреннему контуру и скреплена с ударником по внешнему контуру, оппозитные рабочие камеры, снабженные системой распределения энергоносителя, состоящей из размещенных на противоположных сторонах корпуса каналов впуска с ограничителями, в которых подвижно установлены клапаны, расположенных в ударнике каналов выпуска и канала, соединяющего каналы выпуска с атмосферой, которая выполнена с возможностью попеременного открывания канала впуска и перекрытия канала выпуска для одной рабочей камеры при перекрывании канала впуска, и открывании канала выпуска для другой камеры и, наоборот, при осевых перемещениях ударника. В другом варианте вибровозбудитель, содержит корпус, установленный в нем ударник с диафрагмами, расположенными со стороны одного из его торцов, при этом одна диафрагма закреплена на корпусе по внешнему контуру и скреплена с ударником по внутреннему контуру, другая закреплена на корпусе по внутреннему контуру и скреплена с ударником по внешнему контуру, оппозитные рабочие камеры, снабженные системой распределения энергоносителя, состоящей из размещенных на противоположных сторонах корпуса каналов выпуска, расположенных в ударнике каналов впуска с ограничителями, в которых подвижно установлены клапаны, и канала, соединяющего каналы впуска с источником энергоносителя, которая выполнена с возможностью попеременного открывания канала впуска и перекрытия канала выпуска для одной рабочей камеры при перекрывании канала впуска, и открывании канала выпуска для другой рабочей камеры и, наоборот, при осевых перемещениях ударника. В обоих вариантах исполнения вибровозбудителя одна из оппозитных рабочих камер ограничивается диафрагмой, закрепленной на корпусе по внутреннему контуру и скрепленной с ударником по внешнему контуру, другая – закрепленной на корпусе по внешнему контуру и скрепленной с ударником внутреннему контуру (патент РФ 2234987, М. кл. В06В 1/18. опубл. 27.08.2004).
К недостаткам этого вибровозбудителя можно отнести существенную асимметрию силового воздействия рабочих камер на ударник. При этом меньшая площадь для силового воздействия одной рабочей камеры на ударник, обусловленная положением последней относительно остальных элементов устройства, ограниченная диафрагмой, закрепленной на корпусе по внутреннему контуру и скрепленной с ударником по внешнему контуру, по сравнению с площадью для силового воздействия другой рабочей камерой на ударник, мешает вибровозбудителю генерировать вибрационное воздействие с высокими энергетическими характеристиками.
Поэтому в основу изобретения поставлена задача создания достаточно простого вибровозбудителя со стабильной колебательной системой и более высокими энергетическими характеристиками.
В первом варианте, как и в первом прототипе, вибровозбудитель содержит корпус, установленный в нем ударник с диафрагмами, расположенными со стороны одного из его торцов, при этом одна диафрагма закреплена на корпусе по внешнему контуру и скреплена с ударником по внутреннему контуру, другая закреплена на корпусе по внутреннему контуру и скреплена ударником по внешнему контуру, оппозитные рабочие камеры, снабжены системой распределения энергоносителя, состоящей из размещенных на противоположных сторонах корпуса каналов впуска с ограничителями, в которых подвижно установлены клапаны, расположенных в ударнике каналов выпуска и канала, соединяющего каналы выпуска с атмосферой, которая выполнена с возможностью попеременного открывания канала впуска и перекрытия канала выпуска для одной рабочей камеры при перекрывании канала впуска, и открывании канала выпуска для другой камеры и, наоборот, при осевых перемещениях ударника. В отличие от прототипа одна из оппозитных рабочих камер ограничивается диафрагмой, закрепленной на корпусе по внешнему контуру и скрепленной с ударником по внутреннему контуру, и диафрагмой, закрепленной на корпусе по внутреннему контуру и скрепленной с ударником по внешнему контуру.
Во втором варианте, как и во втором прототипе, вибровозбудитель содержит корпус, установленный в нем ударник с диафрагмами, расположенными со стороны одного из его торцов, при этом одна диафрагма закреплена на корпусе по внешнему контуру и скреплена с ударником по внутреннему контуру, другая закреплена на корпусе по внутреннему контуру и скреплена с ударником по внешнему контуру, оппозитные рабочие камеры, снабженные системой распределения энергоносителя, состоящей из размещенных на противоположных сторонах корпуса каналов выпуска, расположенных в ударнике каналов впуска с ограничителями, в которых подвижно установлены клапаны, и канала, соединяющего каналы впуска с источником энергоносителя, которая выполнена с возможностью попеременного открывания канала впуска и перекрытия канала выпуска для одной рабочей камеры при перекрывании канала впуска, и открывании канала выпуска для другой рабочей камеры и, наоборот, при осевых перемещениях ударника. В отличие от второго прототипа, как и в первом варианте одна из оппозитных рабочих камер ограничивается диафрагмой, закрепленной на корпусе по внешнему контуру и скрепленной ударником по внутреннему контуру, и диафрагмой, закрепленной на корпусе по внутреннему контуру и скрепленной с ударником по внешнему контуру.
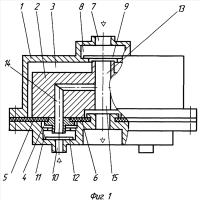
На фиг.1 схематически изображен вибровозбудитель по первому варианту; на фиг.2 – по второму варианту.
Заявляемый вибровозбудитель содержит корпус 1 с установленным в нем ударником 2 с образованием оппозитных рабочих камер 3 и 4. Диафрагма 5, ограничивающая рабочую камеру 3, закреплена на корпусе 1 по внешнему и скреплена с ударником 2 по внутреннему контурам. Диафрагма 6, закрепленная на корпусе 1 по внутреннему и скрепленная с ударником по внешнему контурам, ограничивает совместно с диафрагмой 5 рабочую камеру 4. В первом варианте (фиг.1) канал впуска 7 с ограничителем 8 и клапаном 9 для рабочей камеры 3 размещен с одной стороны корпуса 1, а канал впуска 10 с ограничителем 11 и с клапаном 12 для рабочей камеры 4 размещен на противоположной стороне корпуса 1. Канал выпуска 13 для рабочей камеры 3 и канал выпуска 14 для рабочей камеры 4 расположены в ударнике 2 и соединены с атмосферой каналом 15. Во втором варианте (фиг.2) каналы впуска 7, 10 соединены с источником энергоносителя каналом 15, а каналы выпуска 13, 14 расположены на противоположных сторонах корпуса 2.
Вибровозбудитель работает следующим образом.
Энергоноситель подается под давлением, в первом варианте (фиг.1), через каналы впуска 7, 10, а во втором варианте (фиг.2) – через канал 15 и каналы впуска 7, 10 – в ограничители 8, 11 и действует на клапаны 9, 12. За счет разницы давлений один из клапанов, например 12, перекрывает канал выпуска 14 и открывает канал впуска 10 для камеры 4, другой клапан 9 перекрывает канал впуска 7 и открывает канал выпуска 13 для рабочей камеры 3. Рабочая камера 4 герметизируется, а рабочая камера 3 сообщается с атмосферой, в первом варианте (фиг.1) – через канал выпуска 13 и канал 15, а во втором варианте (фиг.2) – через канал выпуска 13. За счет силы давления энергоносителя, действующей на ударник 2 в рабочей камере 4, ударник 2 перемещается совместно с клапаном 12 (фиг.1) или 9 (фиг.2) в сторону рабочей камеры 3 до взаимодействия клапана 9 с каналом выпуска 13 и клапана 12 с ограничителем 11. В этом положении открывается канал впуска 14 и перекрывается канал выпуска 10 для рабочей камеры 4, открывается канал впуска 7 и перекрывается канал выпуска 13 для рабочей камеры 3. Ударник 2 за счет силы инерции продолжает движение. Давление энергоносителя в рабочих камерах 3 и 4 вначале выравнивается, а затем в рабочей камере 3 увеличивается при падении в рабочей камере 4 до близкого к атмосферному. Результирующая сила давления энергоносителя в рабочих камерах 3 и 4 меняет направление действия на ударник 2. Вначале он останавливается, а затем меняет направление движение в сторону рабочей камеры 4. В среднем положении, когда клапаны 9 и 12 переходят в первоначальное состояние, ударник 2 продолжает движение за счет силы инерции и занимает исходную позицию. Затем цикл повторяется. При этом расположение рабочей камеры 4, которая ограничивается диафрагмой 5, закрепленной на корпусе 1 по внешнему контуру и скрепленной с ударником 2 по внутреннему контуру, и диафрагмой 6, закрепленной на корпусе 1 по внутреннему контуру и скрепленной с ударником 2 по внешнему контуру, позволяет значительно уменьшить асимметрию площадей рабочих камер 3 и 4 для силового воздействия на ударник 2.
Таким образом, видно, что заявляемый вибровозбудитель по принципу работы близок к прототипу, имеет простую конструкцию и может генерировать вибрационное воздействие с более высокими энергетическими характеристиками.
Формула изобретения
1. Вибровозбудитель, содержащий корпус, установленный в нем ударник с диафрагмами, расположенными со стороны одного из его торцов, при этом одна диафрагма закреплена на корпусе по внешнему контуру и скреплена с ударником по внутреннему контуру, другая закреплена на корпусе по внутреннему контуру и скреплена с ударником по внешнему контуру, оппозитные рабочие камеры, снабженные системой распределения энергоносителя, состоящей из размещенных на противоположных сторонах корпуса каналов впуска с ограничителями, в которых подвижно установлены клапаны, расположенных в ударнике каналов выпуска и канала, соединяющего каналы выпуска с атмосферой, которая выполнена с возможностью попеременного открывания канала впуска и перекрытия канала выпуска для одной рабочей камеры при перекрывании канала впуска и открывании канала выпуска для другой камеры, и наоборот, при осевых перемещениях ударника, отличающийся тем, что одна из оппозитных рабочих камер ограничивается диафрагмой, закрепленной на корпусе по внешнему контуру и скрепленной с ударником по внутреннему контуру, и диафрагмой, закрепленной на корпусе по внутреннему контуру и скрепленной с ударником по внешнему контуру.
2. Вибровозбудитель, содержащий корпус, установленный в нем ударник с диафрагмами, расположенными со стороны одного из его торцов, при этом одна диафрагма закреплена на корпусе по внешнему контуру и скреплена с ударником по внутреннему контуру, другая закреплена на корпусе по внутреннему контуру и скреплена с ударником по внешнему контуру, оппозитные рабочие камеры, снабженные системой распределения энергоносителя, состоящей из размещенных на противоположных сторонах корпуса каналов выпуска, расположенных в ударнике каналов впуска с ограничителями, в которых подвижно установлены клапаны, и канала, соединяющего каналы впуска с источником энергоносителя, которая выполнена с возможностью попеременного открывания канала впуска и перекрытия канала выпуска для одной рабочей камеры при перекрывании канала впуска и открывании канала выпуска для другой рабочей камеры, и наоборот, при осевых перемещениях ударника, отличающийся тем, что одна из оппозитных рабочих камер ограничивается диафрагмой, закрепленной на корпусе по внешнему контуру и скрепленной с ударником по внутреннему контуру, и диафрагмой, закрепленной на корпусе по внутреннему контуру и скрепленной с ударником по внешнему контуру.
РИСУНКИ
|
|