Патент на изобретение №2375117

Published by on




РОССИЙСКАЯ ФЕДЕРАЦИЯ



ФЕДЕРАЛЬНАЯ СЛУЖБА
ПО ИНТЕЛЛЕКТУАЛЬНОЙ СОБСТВЕННОСТИ,
ПАТЕНТАМ И ТОВАРНЫМ ЗНАКАМ
(19) RU (11) 2375117 (13) C1
(51) МПК

B03C1/10 (2006.01)

(12) ОПИСАНИЕ ИЗОБРЕТЕНИЯ К ПАТЕНТУ

Статус: по данным на 17.09.2010 – действует

(21), (22) Заявка: 2008142936/03, 29.10.2008

(24) Дата начала отсчета срока действия патента:

29.10.2008

(46) Опубликовано: 10.12.2009

(56) Список документов, цитированных в отчете о
поиске:
SU 668706 A1, 25.06.1979. SU 582835 A1, 05.12.1977. SU 142965 A1, 13.01.1962. SU 406573 A1, 17.04.1974. WO 9621509 A1, 18.07.1996. US 2959288 A, 08.11.1960.

Адрес для переписки:

660036, г.Красноярск, Академгородок, Институт физики СО РАН, патентный отдел

(72) Автор(ы):

Килин Владимир Иванович (RU),
Якубайлик Эдуард Константинович (RU),
Килин Сергей Владимирович (RU)

(73) Патентообладатель(и):

Институт физики им. Л.В. Киренского Сибирского отделения РАН (RU)

(54) СЕПАРАТОР-АНАЛИЗАТОР

(57) Реферат:

Изобретение относится к горной промышленности, а именно к устройствам для обогащения магнетитовых руд. Сепаратор-анализатор, включает немагнитный вращающийся барабан с изменяемым числом оборотов и магнитную систему с изменяемой конфигурацией магнитного поля, расположенную внутри барабана. Сепаратора содержит питатель и приемники продуктов разделения. Магнитная система выполнена из постоянных магнитов Nd-Fe-B в виде прямоугольных параллелепипедов, к которым с двух противоположных сторон присоединены постоянные магниты с магнитными моментами, направленными в одну сторону, установленными в отдельных цилиндрах с возможностью их вращения на 180° вокруг оси и фиксацией. Технический результат заключается в повышении эффективности разделения. 2 ил.

Изобретение относится к горной промышленности, а именно к устройствам для обогащения магнетитовых руд с целью извлечения магнетита и установления принципиальной возможности получения продуктов заданного качества.

Известны сепараторы-анализаторы, являющиеся измененными аналогами промышленных сепараторов и предназначенные для испытания различных типов руд.

Их магнитные системы состоят, как правило, из постоянных магнитов или электромагнитов [В.В.Кармазин, В.И.Кармазин. Магнитные и электрические методы обогащения. – М.: «Недра», 1988.]

Недостатком этих устройств является неполнота получаемой информации об эффективности разделения сепарируемой руды из-за невозможности изменения направления магнитных моментов и величины HgradH, что влечет потери магнитного продукта с отвальными хвостами.

Известен магнитный сепаратор, включающий неподвижную радиальную многополюсную магнитную систему с пакетом магнитных пластин [А.С. 582835, кл. B03C 1/10, опубл. 05.12.77., бюл. 45].

Недостатком этого сепаратора является фиксированное положение магнитных блоков.

Наиболее близким к заявляемому изобретению является магнитный сепаратор, включающий немагнитный барабан и магнитную систему, состоящую из постоянных магнитов и электромагнитов, снабженных мультивибратором, питателем и приемниками для продуктов разделения [А.с. 668706, кл. B03C 1/10, опубл. 25.06.79, бюл. 23 (прототип)].

Недостатком этого сепаратора является использование электромагнитных полей и ограничение в напряженности магнитного поля.

Техническим результатом предлагаемого устройства с изменяемыми параметрами магнитного поля является эффективное разделение различных по качеству продуктов с высокой селективностью и извлечением.

Указанный технический результат достигается тем, что в сепараторе – анализаторе, включающем немагнитный вращающийся барабан с изменяемым числом оборотов и магнитную систему с изменяемой конфигурацией магнитного поля, расположенную внутри барабана, питатель и приемники продуктов разделения, новым является то, что магнитная система выполнена из постоянных магнитов Nd-Fe-B в виде прямоугольных параллелепипедов, к которым с двух противоположных сторон присоединены постоянные магниты с магнитными моментами, направленными в одну сторону, установленными в отдельных цилиндрах с возможностью их вращения на 180° вокруг оси и фиксацией.

Что обеспечивает изменение радиальной и тангенциальной составляющей магнитного поля, величины и направления магнитных моментов и одновременного изменения шага полюсов – угла между вертикалью и радикс-векторами для получения полей с высокой индукцией и минимальными тангенциальными силами в процессе разделения путем установки магнитных моментов блоков в заданном направлении с получением на поверхности барабана магнитного поля с оптимальным значением HgradH.

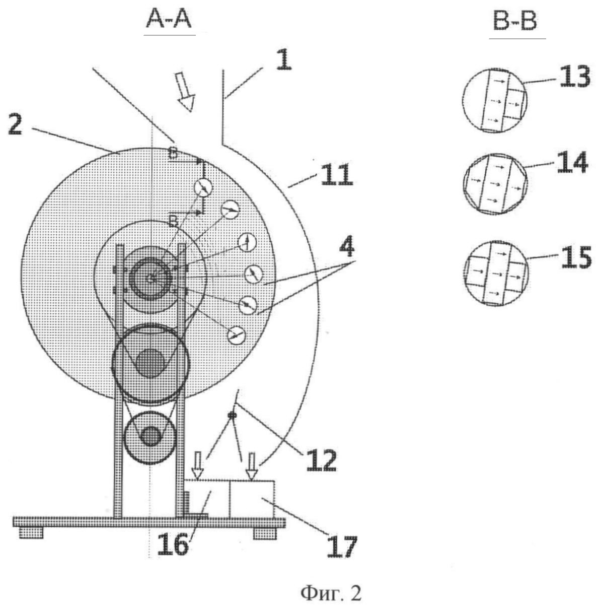
На фиг.1 представлен фронтальный вид сепаратора-анализатора, на фиг.2 – вид сбоку (А-А). Вид на магнитную систему и возможные варианты компоновки магнитов изображены на фрагменте В-В.

Описываемый сепаратор укомплектован загрузочным устройством 1, вращающимся барабаном 2, с возможностью регулировки числа оборотов, внутри которого расположена магнитная система, закрепленная на отдельной подставке 3 и состоящая из (6-10) цилиндров 4 из немагнитного материала, снабженных в торцах осями 5 с возможностью их вращения вокруг оси на 180° и фиксацией. Вся система закреплена на оси 6 и опоре 3 с возможностью регулировки по высоте.

Барабан приводится во вращение с помощью двухступенчатой передачи 7, 8 через валы с подшипниковыми узлами 9 от электродвигателя 10 – с регулируемым числом оборотов. Имеется возможность изменения углов , , , , между вертикальной осью и радиус-векторами к центру цилиндров – для изменения полюсного шага магнитной системы.

Сепаратор снабжен экраном 11, удерживающим немагнитные частицы, и шиберной заслонкой 12, предназначенной для разделения потоков магнитных и немагнитных частиц.

Сепаратор работает следующим образом. Устанавливается требуемая конфигурация магнитного поля путем вращения цилиндров 4 с объединенными в них магнитами 13, 14, 15 (пример на фрагменте В-В). Обогащаемый материал через питатель 1 поступает на поверхность немагнитного барабана 2 и при его вращении транспортируется в зону действия магнитной системы. Конструкция магнитопровода выполнена с возможностью установки в цилиндрах нескольких пластин для обеспечения на поверхности барабана полей до 0,5 Тл.

Таким образом, используя различные варианты компоновки неодим-железоборсодержащих магнитных блоков с количеством магнитных пластин от 1 до 3, устанавливается необходимая и достаточная для обогащения магнетитовых руд магнитная составляющая процесса разделения при различных режимах сепарации. В созданном оптимизированном магнитном поле происходит разделение руды на две составляющие: магнитный продукт поступает в приемник 16, немагнитный продукт направляется в приемник 17. Магнитные моменты выставляются так, что магнитная фракция беспрепятственно сходит с барабана.

Заявленный сепаратор отличается от прототипа тем, что использование магнитных полей магнитов с высокой магнитной индукцией, объединенных в блоки, позволяет изменять направление магнитных моментов по ходу движения материала и выравнивает тангенциальную составляющую процесса разделения. Изменение углов , , , , для коррекции полюсного шага, изменение тангенциальной и радиальной составляющих магнитной системы, наличие подвижного шибера – все это позволяет производить настройку сепаратора для установления принципиальной возможности получения концентратов заданного качества.

Формула изобретения

Сепаратор-анализатор, включающий немагнитный вращающийся барабан с изменяемым числом оборотов и магнитную систему с изменяемой конфигурацией магнитного поля, расположенную внутри барабана, питатель и приемники продуктов разделения, отличающийся тем, что магнитная система выполнена из постоянных магнитов Nd-Fe-B в виде прямоугольных параллелепипедов, к которым с двух противоположных сторон присоединены постоянные магниты с магнитными моментами, направленными в одну сторону, установленными в отдельных цилиндрах с возможностью их вращения на 180° вокруг оси и фиксацией.

РИСУНКИ

Categories: BD_2375000-2375999