|
(21), (22) Заявка: 2008114675/09, 17.10.2006
(24) Дата начала отсчета срока действия патента:
17.10.2006
(30) Конвенционный приоритет:
17.10.2005 AU 2005905715
(46) Опубликовано: 27.11.2009
(56) Список документов, цитированных в отчете о поиске:
RU 2101809 C1, 10.01.1998. US 4870867 A, 03.10.1989. US 4336540 A, 22.06.1982. US 5659322 A, 19.08.1997.
(85) Дата перевода заявки PCT на национальную фазу:
19.05.2008
(86) Заявка PCT:
AU 2006/001538 20061017
(87) Публикация PCT:
WO 2007/045026 20070426
Адрес для переписки:
105215, Москва, а/я 26, Щелковское ш., 48-1, пат.пов. Н.А.Рыбиной, рег. 508
|
(72) Автор(ы):
СТИКЛЕЙ Глен (AU), ЛОНГСТАФ Денис (AU)
(73) Патентообладатель(и):
ГРАУНДПРОУБ ПТВ ЛТД (AU)
|
(54) ПЕРИМЕТРИЧЕСКАЯ АНТЕННАЯ РЕШЕТКА РАДАРА
(57) Реферат:
Изобретение относится к периметрической антенной решетке радара с синтезированной апертурой. Техническим результатом изобретения является уменьшение размеров и повышение разрешающей способности. Согласно изобретению параметрическая решетка, в частности, радара бокового обзора выполнена из пары параллельных линейных решеток излучающих элементов и пары параллельных линейных решеток приемных элементов, вместе образующих прямоугольник из излучающих и приемных элементов. Сигналы подаются на излучающие элементы и принимаются приемными элементами. Сигналы обрабатывают для получения сигналов виртуальных элементов, расположенных между излучающими и приемными элементами равноудаленно от них. Сигналы от виртуальных элементов анализируются для формирования изображения радара. 3 н. и 16 з.п. ф-лы, 12 ил.
Это изобретение относится к периметрической антенной решетке радара с синтезированной апертурой. В частности, оно относится к антенной решетке радара с расположенными по периметру элементами, используемой для бокового обзора.
ПРЕДШЕСТВУЮЩИЙ УРОВЕНЬ ТЕХНИКИ
В патенте США 6850183 описана система бокового обзора, основанная на интерферометрических радиолокационных измерениях. В радаре применена тарельчатая антенна с механическим сканированием для азимутального и вертикального охвата. Радар в упомянутом выше патенте использует параболическую тарелку диаметром 0,92 м, установленную на жесткой треноге и управляемую раздельными моторами и приводами для азимутального и вертикального движения.
Оказалось, что тарельчатая антенна с механическим сканированием является источником механической нестабильности, следовательно, требуется альтернативная система. Более того, оборудование механического сканирования требует использования генератора большой мощности, что увеличивает размеры и стоимость радара. На практике существуют ограничения размеров тарелки с механическим сканированием, применяемой для углового обзора. Поэтому для использования на дальних расстояниях или при требовании более высокого разрешения необходимо альтернативное решение.
Формирование синтезированной апертуры для круговых или эллиптических решеток для акустических применений было проанализировано в статьях Козика (Kozick. – Coarray Synthesis with Circular and Elliptical Boundary Arrays. – IEEE Trans. Image Processing; V 1, 3, Jul. 1992) и Нортона (Norton. – Synthetic Aperture Imaging with Arrays of Arbitrary Shape. – Part II: The Annular Array. – IEEE Trans. Ultrasonics, Ferroelectrics and Frequency Control; V 49, 4, Apr. 2002). Оба автора ссылаются на более раннюю публикацию Нортона ([Acoustic Holography with an Annular Aperture. – J. Acoustic. Soc. Am. – V 71, 5, May 1982). Можно сослаться также на более раннюю публикацию Милдера и др. (Milder & Wells. Acoustic Holography with Crossed Linear Arrays. – IBM J. Res. Develop. – Sep.1970), которая описывает преимущества ортогональных линейных решеток из приемных и передающих элементов.
Теоретический анализ, приведенный в этих документах, не относится непосредственно к радиолокации, однако он обеспечивает основу для рассмотрения периметрической антенной решетки, как альтернативы тарельчатой антенне.
ОБЪЕКТ ИЗОБРЕТЕНИЯ
Объектом настоящего изобретения является периметрическая антенная решетка для радара с синтезированной апертурой.
Другие объекты будут раскрыты в приведенном ниже описании.
РАСКРЫТИЕ ИЗОБРЕТЕНИЯ
В одном из вариантов, не являющимся единственным или несомненно наиболее общим, изобретение относится к периметрической антенной решетке для радара с синтезированной апертурой, включающего:
по меньшей мере одну линейную решетку излучающих элементов радара,
по меньшей мере одну линейную решетку приемных элементов, расположенных ортогонально линейной решетке излучающих элементов;
один или более передающих переключателей для переключения сигналов на выбранные излучающие элементы;
один или более приемных переключателей для переключения принятых сигналов от упомянутых радиолокационных приемных элементов,
один или более процессоров для обработки принятых сигналов, чтобы синтезировать виртуальные элементы, равноудаленные от пар излучающих и приемных элементов.
Соответственно периметрическая антенная решетка является частью радара, и один или более процессоров также анализируют сигналы, ассоциированные с виртуальными элементами, для создания радиолокационного изображения.
В предпочтительном варианте изобретения элементы в каждой линейке решетки равномерно распределены в пространстве, но расстояния между излучающими элементами могут отличаться от расстояний между приемными элементами.
Также в предпочтительном варианте изобретения диаграммы направленности антенных элементов должны быть согласованы с требуемым углом сканирования радара.
Пространственное расположение элементов антенны выбирают аналогично тому, как это делается для радара с традиционной фазированной решеткой, так чтобы минимизировать дифракционные максимумы решетки в поле обзора радара.
КРАТКОЕ ОПИСАНИЕ ЧЕРТЕЖЕЙ
Для лучшего понимания изобретения его предпочтительные варианты будут описаны со ссылкой на следующие чертежи:
на фиг.1 приведено схематическое изображение периметрической антенной решетки радара с синтезированной апертурой;
на фиг.2 изображена совокупность виртуальных элементов;
на фиг.3 приведено схематическое изображение периметрической антенной решетки в большем, чем на фиг.1 масштабе, показывающее канальную электронную схему и основную часть электронной схемы;
на фиг.4 показано детальное изображение части электронной схемы, приведенной на фиг.3;
на фиг.5 детально изображена электронная схема приемного канала в соответствии с одним из вариантов изобретения;
на фиг.6 детально показана электронная схема излучающего канала в соответствии с одним из вариантов изобретения;
на фиг.7 схематически изображена основная часть электронной аппаратуры в соответствии с одним из вариантов изобретения;
на фиг.8 показана блок-схема алгоритма работы радара с синтезированной апертурой, использующего периметрическую антенную решетку;
на фиг.9 приведена схема частотной дискретизации по частотному диапазону;
на фиг.10 показано устройство для калибровки радара;
на фиг.11 изображена часть электронной схемы альтернативного варианта периметрической антенной решетки;
на фиг.12 приведено радиолокационное изображение, полученное периметрической антенной решеткой, изображенной на фиг.11.
ПОДРОБНОЕ ОПИСАНИЕ ЧЕРТЕЖЕЙ
В описываемых различных вариантах заявляемого изобретения использованы одни и те же цифровые ссылки для описания сходных признаков.
Первый вариант осуществления периметрической антенной решетки для радара с синтезированной апертурой схематически показан на фиг.1. Антенна сконструирована из ряда приемных элементов Rx и излучающих элементов Тх. В частном случае излучающие элементы в антенне расположены вдоль ее верхней стороны 2 и нижней стороны 3, а приемные элементы вдоль правой стороны 4 и левой стороны 5. Обычная малоразмерная решетка, используемая для диапазонов до нескольких сотен метров (номинально до 650 м), имела бы размеры от 0,9 м до 0,7 м и содержала бы 55 излучающих элементов на каждой из сторон, верхней стороне 2 и нижней стороне 3, и имела бы 32 приемных элемента на каждой из сторон, правой стороне 4 и левой стороне 5. Точное число элементов в решетке зависит от ряда факторов, таких как физический размер, вопросы изготовления и соотношение сигнал/шум.
Хотя вариант антенны показан с излучающими элементами на горизонтальных сторонах и приемными элементами на вертикальных сторонах, но единственной причиной такой формы выполнения является то, что приемная часть электронной системы обычно дороже, чем излучающая. В альтернативном варианте изобретения, описанном со ссылкой на фиг.11, излучающая часть электронной системы является более дорогой, так что излучающие элементы расположены на вертикальных сторонах, а приемные на горизонтальных. Фактически приемопередающие элементы (способные принимать сигнал и передавать его) могут быть использованы при любом их расположении. Достоинством прямоугольной периметрической решетки является то, что она позволяет разделить излучающие и принимающие элементы таким образом, что излучающие элементы расположены на одной паре параллельных сторон, а приемные элементы – на другой паре. Если периметр решетки круглый или эллиптический, то каждый элемент решетки является и принимающим и излучающим, или излучающие элементы должны находиться в промежутках между приемными элементами.
При осуществлении передачи сигнала одним элементом и приема другим элементом между ними синтезируется виртуальный элемент, равноудаленный от обоих реальных элементов. При осуществлении передачи и приема сигнала каждой парой элементов виртуальная апертура синтезируется только реальными элементами, расположенными по периметру. Нереально пытаться показать все виртуальные элементы антенны, изображенной на фиг.1. Для простоты описания сошлемся на упрощенную антенну, приведенную на фиг.2.
На фиг.2 показан радар с маленькой периметрической антенной решеткой, имеющей по три излучающих элемента на верхней и нижней сторонах и по два приемных элемента на левой и правой сторонах. Все излучающие и приемные элементы имеют свой уникальный индекс. Все виртуальные элементы находятся посредине между излучающими и приемными элементами. Каждый виртуальный элемент имеет два характеризующих его индекса; первый индекс идентифицирует релевантный излучающий элемент, второй индекс идентифицирует релевантный приемный элемент. Таким образом, V1в находится на половине пути от T1 и RB.
В любой текущий момент времени работают два излучающих элемента – один верхний, другой – нижний. Аналогично в любой текущий момент времени работают два приемных элемента – один верхний, другой – нижний.
Предположим, что действуют T1 и ТА. Версии смещенного по времени одного и того же PN (псевдошумового) кода непрерывно передаются на каждый элемент. (PN код наложен на двухфазный модулятор на несущей частоте излучения). Например, предположим, что PN код имеет длину 15 бит.
T1 кодовая последовательность: 111010110010001
TA кодовая последовательность: 001000111101011.
Отметим, что последовательность ТА на 8 тактов опережает последовательность Т1.
Представим один из действующих приемников. Он будет принимать возвращающуюся энергию радара от обоих передатчиков. Когда принятая энергия соответствующим образом сжата, будут иметь место два максимума, один – обусловленный излучением T1, другой – излучением ТА. Пики будут разделены временным сдвигом между двумя кодами. Таким образом, чтобы достичь абсолютной однозначности времени задержки радара кодовая последовательность должна иметь период больше 2·t. Однозначность времени задержки t достигается повторением периода излучаемого сигнала. Так как в вышеупомянутом примере фактически есть два радара, однозначное время задержки – это половина периода повторения излучаемого сигнала. Разрешающая способность по дальности, наоборот, обратно пропорциональна полосе пропускания.
В исходном состоянии излучают T1 и ТА, принимают при этом R1 и RA. Из-за упомянутой выше временной задержки между кодами T1 и ТА, есть возможность разделять энергию, излучаемую обоими элементами. Следовательно, есть возможность идентифицировать энергию, например, принятую элементом RA от излучателя T1. Это отождествляют с виртуальным элементом V1A. Этот процесс повторяется для V11, VA1, VAA.
Процесс повторяется, но сигналы теперь принимают элементы R2 и RB. В результате получают значения для V1B, V12, VA2 и VAB.
Как только достаточное количество информации наберут на всех приемниках для излучающей пары Т1 и TA, используют пару Т2 и ТВ При этом сначала принимать будет пара R1 и RA, а затем пара R2 и RB. В результате получают значения для других 8 виртуальных элементов.
Последние 8 виртуальных элементов получают при использовании излучающей пары Т3 и Тс. Как только будут получены значения для всех виртуальных элементов, процесс повторяют на смещенной несущей частоте. Это расширяет полосу частот, в которой собирают информацию, и, следовательно, увеличивает разрешающую способность по дальности.
Другой подход – использовать восстановленную форму квантованного сигнала, ограниченного по частотной полосе псевдошумового кода, который преобразуется в цифроаналоговом преобразователе перед комбинированием с несущей и прикладывается непосредственно к каждому элементу. Этот способ позволяет охватить сразу всю полосу пропускания. Этот способ дополнительно описан ниже применительно к канальной электронной схеме и основной части электронной схемы.
Информация от всех виртуальных элементов формирует синтезированную фазированную решетку. Перед традиционным функционированием фазированной решетки применяют незначительные фазовые поправки к виртуальным элементам с целью коррекции фазовых ошибок, вызванных некоторыми виртуальными элементами, расположенными на половине пути между хорошо разделенными излучающими и приемными элементами и другими виртуальными элементами, расположенными на половине пути между близко расположенными излучающими и приемными элементами.
Информацию от виртуальных элементов подвергают трехмерному преобразованию (подобно трехмерному быстрому преобразованию Фурье), чтобы получить сведения об удалении, азимуте и высоте изображаемых целей. Перед преобразованием можно выполнить амплитудное взвешивание виртуальных элементов для регулирования боковых лепестков. Аналогично можно выполнить фазовое взвешивание, например, чтобы сфокусировать луч в ближнем поле. Следует отметить, что прямоугольный периметр решетки допускает эффективную численную обработку, чтобы преобразовать частотные данные для каждого виртуального элемента в элементы трехмерного изображения с осями удаления, азимута и высоты. Решетки с круглым или эллиптическими периметрами не поддаются таким эффективным числовым преобразованиям.
Более того, благодаря управлению фазовым и амплитудным взвешиваниям на каждом элементе, виртуальную апертуру можно представить как сканируемую по азимуту и высоте. Поле обзора +/- 60 градусов по азимуту и +/- 30 градусов по высоте легко достижимо для периметрической решетки, остающейся стационарной. На самом деле радар, в отличие от обычной фазированной решетки, не является сканируемым ни в механическом, ни даже в электронном смысле. Правильнее говорить, что данные трехмерного преобразования содержат все достоверные комбинации углов азимута и высоты. Фазовые взвешивания, применяемые во время обработки сигнала, вводят поправку на фазы синтезированных элементов, образованных из близко расположенных реальных элементов, фазы которых слегка отличающиеся от фаз синтезированных элементов, образованных хорошо разделенными реальными элементами. Фазовые взвешивания также вводят поправку на фазовые ошибки в элементах, электронике и кабелях. Фазовое взвешивание делает также возможным узкий диапазон фокусировки радара с синтезированной апертурой периметрической решетки. Амплитудное взвешивание может корректировать ошибки в электронике. Амплитудное и фазовое взвешивания совместно могут оптимизировать выбор между разрешением и наиболее приемлемым уровнем боковых лепестков.
С целью получения поля обзора для радара с периметрической решеткой ±30° по высоте и ±60° по азимуту необходимо, чтобы 3-х децибельные точки диаграмм излучения индивидуальных антенн были на ±30° по высоте и ±60° по азимуту. Если диаграммы направленности элементов уже, чем указанные выше, отраженные сигналы в районе границ поля обзора будут очень слабыми. Если диаграммы направленности элементов шире, чем указанные выше, отношение сигнал/шум будет хуже, чем могло бы быть.
Маленькая периметрическая решетка, показанная на фиг.1, пригодна только для малых установок ближнего действия. Решетка большего размера с регулируемой электроникой показана на фиг.3. Типичная периметрическая антенная решетка для большой установки будет иметь 165 излучающих элементов вверху и внизу и 96 приемных элементов на каждой стороне. Каждая линейная решетка составлена из ряда подрешеток и, следовательно, основана на маленькой решетке, показанной на фиг.1. Как это видно, большая решетка использует три модуля маленьких решеток на каждой стороне, так что имеются три излучающие подрешетки 31 вдоль верхней стороны 32 и нижней стороны 33 и три приемные подрешетки 36 вдоль правой стороны 34 и левой стороны 35. Антенная периметрическая решетка этого размера будет иметь дальность, измеряемую в километрах (номинально при современной технологии – 2,5 км).
Большая периметрическая решетка и малая периметрическая решетка имеют одинаковое поле обзора, но разное разрешение в данном диапазоне. Желаемое разрешение в рабочем диапазоне определяет требуемую апертуру периметрической решетки. Число элементов в периметрической решетке изменяется в зависимости от ряда факторов, включающих временную шкалу атмосферных эффектов. Например, время сканирования 30 с допустимо для большой периметрической решетки, описанной выше. Время сканирования может быть уменьшено путем уменьшения размера апертуры при сохранении пространственного размещения элементов. Это также уменьшает разрешение.
Необходимо также рассмотреть отношение сигнал/шум. Отношение сигнал/шум может быть улучшено параллельным функционированием передатчиков и приемников для увеличения собранной информации, но это увеличивает расходы на аппаратную часть.
Отметим, что конкретное число элементов в решетке является конструкторским решением, принимаемым с учетом конкурирующих условий, включающих те, которые упомянутые выше.
Подрешетки сконструированы легко соединяемыми, так что большая антенная решетка может быть легко изготовлена и отремонтирована. На фиг.3 основная часть электронной схемы 37 и электронные схемы 38 каналов показаны в виде дискретных элементов. Это обусловлено тем, что конкретное размещение различных электронных компонентов имеет второстепенное значение.
Стоимость схем приемных и излучающих элементов существенна, что может сделать периметрическую решетку неэкономичной для реальной системы. Однако инвесторы понимают, что не требуется обособленная электронная схема для каждого элемента, так как сигналы, принимаемые и излучаемые элементами, для управления полем обзора виртуальных элементов обрабатываются в контроллере. Поэтому для уменьшения числа каналов обработки сигналов целесообразно переключать элементы.
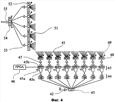
Главные компоненты одного из вариантов осуществления электронной схемы каналов показаны на фиг.4. Каждый канал передает сигналы к одной излучающей подрешетке и принимает сигналы от одной приемной подрешетки. Таким образом, как ясно из фиг.3, антенна с шестью излучающими подрешетками и шестью приемными подрешетками будет иметь шесть дублированных комплектов электронных схем 38 каналов.
Кроме того, для калибровочного устройства можно предусмотреть дополнительный электронный канал 39. Калибровочное устройство и процесс калибровки описаны более детально со ссылкой на фиг.11.
На фиг.4 показана электронная схема для одного канала периметрической антенной решетки, имеющей 55 излучающих элементов, таких как 41 и 32 приемных элемента, таких как 51. Отдельные элементы смонтированы в блоках по 7 элементов в каждом, за исключением одного, в котором на 1 элемент меньше для получения желаемого общего числа. Сигнал от основной части электронной аппаратуры поступает через усилитель 42 к распределителю сигналов/переключателю 43. Желательно, чтобы устройство имело возможность направлять входящий сигнал к любому одному или более выходов из восьми имеющихся. На практике такое устройство в радаре трудно реализовать, поэтому “1:8” разветвитель использован для равномерного распределения входного сигнала в восемь эквивалентных каналов. Каждый канал имеет регулируемые аттенюатор и усилитель, такие как 44, для того чтобы послать подаваемую мощность в конкретные излучающие элементы 41.
Бинарный фазовый модулятор 45 сконструирован из полуволновой линии задержки 45а, однополюсного на два направления переключателя (SPDT) 45b и двунаправленных разветвителей 45с.
Переключатель 45b, управляемый бинарным кодом, выбирает между двумя путями с полуволновой разницей длины электрического пути. SPDT переключатели обычно управляются программируемой пользователем вентильной матрицей (FPGA) 46 или похожим прибором.
Усилители 47 последнего каскада усиливают сигнал перед его подачей в разветвитель/переключатель (SP8T) 48. Как сказано выше, для максимальной эксплуатационной адаптивности желательно, чтобы разветвитель/переключатель 48 был приспособлен направлять поступающий сигнал на любой один или более из восьми выходов. Т.к. это трудно реализовать на частотах радара, для выбора любого из восьми выходов использован однополюсный переключатель на восемь направлений (SP8T). На практике только семь излучающих элементов соединены с каждым переключателем. Восьмой выход использован для целей калибровки и настройки. Комбинация переключателей и электронная схема излучающей стороны, показанные на фиг.4, допускает наложение фазосдвигающего кода на несущий сигнал, который одновременно подается на один излучающий элемент из каждого блока излучающих элементов. Путем попеременной работы разветвителя 43 “1:8” и переключателя SP8T электронные схемы обеспечивают подключение кодового сигнала последовательно к каждому блоку излучающих элементов.
Для калибровки и целей тестирования имеется дополнительный порт 49, для подключения к которому на каждом переключателе (SP8T) 48 предусмотрена дополнительная позиция.
Сигналы, принятые приемными элементами 51, поступают с помощью переключателя (SP8T) 52 на усилители 53, затем с использованием переключателя (SP8T) 54 поступают на усилители 55, после чего обрабатываются. Такая комбинация переключателей позволяет обрабатывать в приемной части электронной схемы (фиг.5) сигналы от каждого отдельного приемного элемента.
Сигнал от приемного элемента проходит через приемное стробирующее устройство (PxGate) 60, которое стробирует сигнал, чтобы предотвратить возможность одновременного излучения и приема. Полосовой фильтр (BPF) 61 (9,75 ГГц) минимизирует паразитные сигналы для смесителя 62. Сигнал детектируется гетеродинной схемой, использующей гетеродин, понижающий частоту сигнала (DOWNLO), сгенерированного в основной части электронной схемы. Сигнал перед преобразованием в цифровую форму в аналого-цифровом преобразователе (ADC) 66 обрабатывается в комбинированном устройстве из низкочастотного фильтра (LPF) 63 и полосового фильтра (BPF) 64. Полученные сигналы анализируются в процессоре способом, который описан выше и разъяснен более детально со ссылками на фиг.8.
Излучающая часть электронной схемы показана в деталях на фиг.6. Детектирование гетеродинного сигнала осуществляется, как показано на фиг.6, с использованием гетеродинов, повышающих и понижающих частоту сигнала. Сигнал с частотой 60 МГц из задающего термостатированного кварцевого генератора (ОСХО) 80 (см. фиг.7) используют как синхронизирующий опорный сигнал для петли 71 фазовой подстройки частоты верхнего гетеродина (UPLO). Усиленный выходной сигнал верхнего гетеродина (UPLO) с частотой 9,75 ГГц проходит через передаточное стробирующее устройство (TxGate) 73. Частичный передаточный вентиль (SPDT) 74 обеспечивает выбор между двумя уровнями мощности перед оконечным усилением 75. Это исключает возможность насыщения приемника при калибровке радара с периметрической антенной решеткой. Калибровка описана ниже.
Основной сигнал с частотой 60 МГц поступает также на петлю 76 фазовой подстройки частоты гетеродина (DOWNLO), понижающего частоту сигнала. Усилитель 79 конечного каскада доводит пониженный гетеродинный сигнал до требуемого состояния.
На фиг.7 приведена блок-схема основной части электронной схемы. Задающий генератор 80 генерирует задающий сигнал с частотой 60 МГц. Из него получают (делением на 6) сигнал 81 частотой 10 МГц для подключения тест-инструментов. Цифровой синтезатор с прямым синтезом частоты (DDS) 82 производит стробирующий синхросигнал для работы ключей передатчика и приемника. Задающий сигнал 60 МГц используется также как входной для другого цифрового синтезатора 84 для генерирования модулирующих тактовых импульсов, которые распределяются перепрограммируемой матрицей 85. Источник питания 86 может быть выполнен единым для всей электроники или может быть распределенным в форме некоторого числа дискретных элементов.
Электронная схема, показанная на фиг.4-7, является лишь примером возможных решений для обеспечения работы решетки периметрической антенны. Как упоминалось выше, излучаемый сигнал может быть сгенерирован из восстановленного ограниченного по полосе псевдошумового кода, который преобразуют в цифроаналоговом преобразователе и смешивают с несущей перед излучением. Такой подход не требует переменного аттенюатора и усилителя 44 или бинарного фазового модулятора 45, так как соответствующие фаза и амплитуда излучаемого сигнала генерируются в основной части электронной схемы. Электронные схемы каждого элемента решетки значительно проще, как показано на фиг.11.
Первое применение периметрической антенной решетки в радаре стабильного бокового обзора описано в более раннем нашем патенте США 6664914.
Схема последовательности процесса (фиг.8) представляет шаги верхнего уровня в способе использования периметрической антенны в радаре с синтезированной апертурой для измерений стабильного бокового обзора.
Несущий сигнал генерируется в соответствующей частотной полосе, как продиктовано физическими требованиями и законодательными установлениями. Применяемые частоты радиолокационного диапазона, признанные многими странами, лежат между 9,5 ГГц и 10 ГГц. Бинарное кодирование, описанное выше, применено к несущему сигналу с соответствующим фазовым сдвигом для каждого работающего излучателя, и сигналы излучаются в направлении бокового обзора. Отраженные сигналы принимаются радаром, и принятые сигналы считываются из выбранных приемных элементов.
Сигналы виртуальных элементов извлекаются из принятой информации, и процесс повторяется до тех пор, пока не сформируется синтезированная апертура. Вообще говоря, заявляемое устройство будет иметь значительно более низкое отношение сигнал/шум для данной цели, чем фазированная решетка аналогичного разрешения (имеющая аналогичную излучаемую мощность на один элемент и аналогичный уровень собственного шума приемника), потому что здесь меньше реальных излучающих элементов и меньше реальных приемных элементов.
Виртуальные элементы синтезированной апертуры обрабатываются путем соответствующих фазовых и амплитудных взвешиваний. Фазовые взвешивания, во-первых, применяются, чтобы корректировать фазовые различия между виртуальными элементами, сформированными из широко разнесенных излучающих и приемных элементов и виртуальными элементами, сформированными из более точно размещенных излучающих и приемных элементов. Фазовая калибровка может также применяться для корректировки температурных эффектов в элементах и кабелях. Фазовые взвешивания, подобно линзе, могут также применяться для того, чтобы при трехмерном преобразовании сфокусировать изображение на коротком расстоянии. Процесс подобен управлению положением диаграммы направленности в радаре с фазированной решеткой.
Трехмерное изображение поля обзора создается путем применения преобразования Фурье. Это стандартное преобразование апертуры для дальнего поля обзора. Двухмерное изображение наблюдаемого угла наклона получают из двухмерного подобно тому, как это описано в патенте США 6664914.
Несмотря на то, что, по мнению изобретателей, заявляемая антенна имеет особые преимущества при использовании в радаре стабильного бокового обзора, они понимают, что изобретение этим не ограничивается и найдет применение в любой области создания изображений. Например, подобный радар может быть использован для изображения взлетно-посадочных полос в аэропорту, даже при сильном тумане. В этом случае потребуется более высокая скорость обновления изображения, чем в радаре стабильного бокового обзора.
Периметрическая антенная решетка имеет ряд преимуществ, когда имеются паразитные сигналы, вызванные различными помехами. Помехи могут быть обусловлены изменениями атмосферных условий или физической активностью в поле обзора (например, грузовик, передвигающийся в поле обзора). Эти помехи порождают шумы по всему сигналу радара. Один подход к разрешению этой проблемы представлен на фиг.9. Частота используемого сигнала дискретно меняется в полосе частот. То есть в какое-то время определенная несущая частота (UPLO) используется вместе с определенной частотой модуляции, в комбинации они формируют крайнюю слева кривую на фиг.9. Позже используют несколько более высокую несущую частоту, и генерируется вторая кривая на фиг.9. Процесс повторяют до тех пор, пока не соберется информация со всей интересующей полосы пропускания. На каждой несущей частоте могут быть использованы все имеющиеся в распоряжении комбинации из элементов Rx и Тх. Затем информацию, собранную на каждой несущей частоте, можно рассматривать как отдельный просмотр кадра радара. Каждый просмотр будет иметь уменьшенное отношение сигнал/шум и уменьшенное разрешение по дальности по сравнению с ситуацией совместной обработки информации, полученной на всех несущих частотах. Однако единичный просмотр получают за более короткий временной интервал, чем из комбинации всех несущих частот. Поэтому может быть полезным устранять сигналы от объектов, которые быстро перемещаются, таких как грузовики, и растительность. Этот прием использования дискретно меняющейся частоты допускает занимать сколь угодно большую полосу частот при незначительном усложнении электронной схемы.
Другой подход – использовать не многочисленные “частотные просмотры”, а многочисленные “временные просмотры”. При этом радар может быть и ближнего действия, и дальнего действия. Для радара, использующего антенну, представленную на фиг.3, ближняя зона может быть до 625 м, а дальняя – от 625 м до 2500 м. Преимущество этого подхода состоит в том, что требуется меньшая полоса частот для работы в дальней зоне, так как при более дальней зоне будет тенденция к большему интервалу охвата. Поэтому возможно повторять сканирование дальней зоны более часто, чем ближней зоны, и таким образом улучшить точность и четкость. Основная причина уменьшения точности и четкости в дальней зоне заключается в том, что атмосфера является главным источником ошибок, так как в дальней зоне сигнал проходит больший путь через атмосферу.
В варианте исполнения радара для работы в обеих зонах на каждое сканирование в ближней зоне приходится четыре сканирования в дальней зоне. Результаты четырех сканирований объединяют для уменьшения отношения сигнал/шум, а затем объединяют с результатом сканирования в ближней зоне для дальнейшей обработки, как это описано в упомянутом выше патенте.
Чтобы достичь эффективной работы радара, важно сбалансировать элементы, т.е. скорректировать фазовые и амплитудные различия. Каждый элемент, излучающая линия или компоненты электронной схемы в периметрической антенной решетке радара с синтезированной апертурой может воздействовать на фазу и/или амплитуду излучаемого и принимаемого сигнала.
Один из вариантов решения проблемы – калибровка с использованием элемента 101 (или элементов) антенны, расположенных в передней части периметрической антенны, как показано на фиг.10. Элемент 101 крепится на легком каркасе 102 перед решеткой 100 в центре. Элемент 101 не пересекается в пространстве с сигналом, принятым решеткой 100 при нормальной работе. Для калибровки использован отдельный канал 39 в электронной схеме (см. фиг.3).
Для демонстрации изображения при работе радара с периметрической антенной решеткой использован радар с антенной решеткой, подобной той, что изображена на фиг.11. На фиг.12 показано изображение отражателя в виде уголкового отражателя, который формирует единственное изображение в поле обзора. На самом деле упомянутый отражатель представляет собой пересечение трех плоских бетонных стен. Изображение инвертировали, чтобы заменить черное пространство белым пространством (хотя масштаб не был инвертирован). Антенна, использованная для получения изображения на фиг.12, отличается от показанной на фиг.11 только отсутствием усилителей подрешеток.
Следует отметить, что, в отличие от антенны на фиг.3, антенна на фиг.11 имеет только две стороны, одну горизонтальную линейную решетку из приемных элементов 110 и одну вертикальную линейную решетку излучающих элементов 111. Однополюсный переключатель на восемь направлений 112 направляет излучаемые сигналы N через усилитель, такой как 113, к одному из пяти переключателей (SP8T) 114, которые последовательно переключают через усилитель, такой как 115, к излучающему элементу 111. Сигналы, отраженные от объекта, принимаются элементами 110 и усиливаются усилителями, такими как 116. Каждый элемент выбирается переключателем (SP8T) 117 и снова усиливается в усилителе 118, после чего через переключатель (SP8T) 119 поступает в основную часть электронной схемы. Антенна, представленная на фиг.11, имеет 35 излучающих элементов и 49 приемных.
В процессе работы радар, содержащий периметрическую антенную решетку, представленную на фиг.11, работает, как описано выше со ссылкой на фиг.8, и формирует изображение, представленное на фиг.12.
Периметрическая антенная решетка радара с синтезированной апертурой имеет ряд преимуществ по сравнению с обычным тарельчатым радаром, описанным в упомянутом выше патенте. В заявляемой конструкции синхронизируют множество излучающих элементов с передающими каналами и то же самое осуществляют с приемниками, чтобы оптимизировать стоимость радара, работающего в ближней зоне, по сравнению со стоимостью военных радаров с фазированной решеткой. Радар имеет разрешение в положении надир на 75% лучше, чем радар с тарельчатой антенной схожих размеров. Одно полное сканирование длится около 30 секунд. Радар более стабилен механически, поскольку не имеет подвижных частей для осуществления сканирования, и влияние ветра на периметрическую решетку минимально.
Целью представленного описания было изложить изобретение без ограничений каких-либо частных комбинаций альтернативных признаков.
Формула изобретения
1. Периметрическая антенная решетка радара, содержащая по меньшей мере одну линейную решетку излучающих элементов, по меньшей мере одну линейную решетку приемных элементов, ортогональную линейной решетке излучающих элементов, по меньшей мере один передающий переключатель для переключения сигналов на выбранные излучающие элементы, по меньшей мере один приемный переключатель для переключения принятых от выбранных радарных приемных элементов сигналов и по меньшей мере один процессор для обработки принятых сигналов для синтезирования виртуальных элементов, равноудаленных от пар излучающих и приемных элементов.
2. Антенная решетка по п.1, отличающаяся тем, что содержит пару параллельных линейных решеток излучающих элементов радара.
3. Антенная решетка п.1, отличающаяся тем, что содержит пару параллельных линейных решеток приемных элементов радара.
4. Антенная решетка п.1, отличающаяся тем, что содержит пару параллельных линейных решеток излучающих элементов радара и пару параллельных линейных решеток приемных элементов радара, образующих прямоугольник.
5. Антенная решетка по п.1, отличающаяся тем, что элементы в каждой линейной решетке равноудалены друг от друга.
6. Антенная решетка по п.5, отличающаяся тем, что расстояния между излучающими элементами отличается от расстояния между приемными элементами.
7. Антенная решетка по п.1, отличающаяся тем, что диаграмма направленности антенных элементов согласована с заданным углом сканирования радара.
8. Антенная решетка по п.1, отличающаяся тем, что расстояние между антенными элементами выбирают так, чтобы минимизировать дифракционные максимумы решетки в поле обзора радара.
9. Антенная решетка по п.1, отличающаяся тем, что на каждый излучающий элемент подают сигнал, произведенный из псевдошумового кода.
10. Антенная решетка по п.1, отличающаяся тем, что по меньшей мере один процессор перед созданием дальностной картины осуществляет фазовое и/или амплитудное взвешивание сигналов, ассоциированных с виртуальными элементами.
11. Антенная решетка по п.1, отличающаяся тем, что фазовое и/или амплитудное взвешивание применяют для имитирования сканирования по азимуту и/или по высоте.
12. Антенная решетка по п.11, отличающаяся тем, что сканирование по азимуту составляет в поле обзора +/- 60 градусов.
13. Антенная решетка по п.11, отличающаяся тем, что сканирование по высоте составляет в поле обзора +/- 30 градусов.
14. Антенная решетка по п.1, отличающаяся тем, что каждая линейная решетка образована множеством линейных подрешеток.
15. Антенная решетка по п.1, отличающаяся тем, что дополнительно содержит электронные схемы, связанные с каждой линейной решеткой.
16. Антенная решетка по п.1, отличающаяся тем, что дополнительно содержит калибровочный элемент, расположенный в поле обзора периметрической антенной решетки.
17. Радар бокового обзора, содержащий по меньшей мере одну линейную решетку излучающих элементов, по меньшей мере одну линейную решетку приемных элементов, ортогональную линейной решетке излучающих элементов, по меньшей мере один передающий переключатель для переключения сигналов на выбранные излучающие элементы, по меньшей мере один приемный переключатель для переключения принятых от выбранных радарных приемных элементов сигналов и по меньшей мере один процессор для обработки принятых сигналов для синтезирования виртуальных элементов, равноудаленных от пар излучающих и приемных элементов и по меньшей мере один процессор для анализа сигналов ассоциированных с упомянутыми виртуальными элементами для формирования изображения радара.
18. Способ получения изображения радаром, имеющим периметрическую антенную решетку с синтезированной апертурой, включающий генерирование несущего сигнала, смешивание кодового сигнала с несущим сигналом, подачу сигнала на каждый излучающий элемент по меньшей одной решетки излучающих элементов, прием отраженных сигналов на выбранные приемные элементы по меньшей мере одной решетки приемных элементов, вычисление виртуальных сигналов для решетки виртуальных элементов, синтезированных из излучающих и приемных элементов, и вычисление трехмерных виртуальных элементов для получения трехмерного изображения радара.
19. Способ по п.18, отличающийся тем, что дополнительно включает извлечение плоскостного изображения из трехмерного изображения радара.
РИСУНКИ
|