|
|
(21), (22) Заявка: 2008145296/09, 17.11.2008
(24) Дата начала отсчета срока действия патента:
17.11.2008
(46) Опубликовано: 27.11.2009
(56) Список документов, цитированных в отчете о поиске:
RU 2210127 C1, 10.08.2000. RU 2248636 C2, 20.03.2005. SU 985839 A1, 30.12.1982. US 4187483 A, 05.02.1980. US 4458226 A, 03.07.1984.
Адрес для переписки:
140180, Московская обл., г. Жуковский, Гагарина, 3, ОАО “Научно-исследовательский институт Приборостроения имени В.В. Тихомирова”
|
(72) Автор(ы):
Архипов Александр Иванович (RU), Зайцев Олег Валентинович (RU)
(73) Патентообладатель(и):
Открытое акционерное общество “Научно-исследовательский институт Приборостроения имени В.В. Тихомирова” (RU)
|
(54) КОНТРОЛЛЕР
(57) Реферат:
Изобретение относится к области машиностроения и может быть использовано в системах управления транспортными средствами. Техническим результатом является повышение его помехозащищенности, увеличение надежности и срока службы. Контроллер содержит корпус, крышку, рукоятку блок датчиков, подпружиненный фиксатор и вал. Для достижения технического результата в корпусе контроллера установлен барабан с жестко закрепленным на нем упором и пазом с фигурным профилем, причем паз выполнен либо на одной, либо на обеих сторонах барабана. На валу в барабане подвижно закреплена вилка, соединенная с рукояткой, в которой установлены подпружиненные толкатель и стержень, опирающийся верхним концом на толкатель, а нижним – в упор. Подпружиненные фиксаторы расположены на внутренней поверхности вилки. Блок датчиков установлен на корпусе контроллера. Магнит закреплен на внешней поверхности вилки так, что в рабочем положении рукоятки он расположен с зазором напротив соответствующего магниточувствительного датчика блока датчиков. 3 ил.
Предлагаемое техническое решение относится к области машиностроения и может быть использовано в системах управления транспортными средствами, в частности в качестве устройства, задающего по команде машиниста режим работы силового оборудования.
Известен контроллер [RU 67329, опубл. 10.10.2007], содержащий корпус, крышку, блок датчиков, установленный на корпусе, и рукоятку. В корпусе контроллера установлен с возможностью вращения барабан с упорами и зубчатым сектором внутреннего зацепления, причем зубчатый сектор входит в зацепление с установленным в корпусе с возможностью вращения валом-шестерней, на котором жестко закреплен диск. С одной стороной диска по окружности установлены N магнитов, где N – число, равное количеству позиций переключения, а с другой стороны на нем соосно с одним из N магнитов закреплена колонка с одним магнитом. Напротив N магнитов, установленных на диске, в корпусе закреплены N магнитов. Рукоятка, жестко соединенная с подпружиненным фиксатором, установлена на барабане, а фиксатор скользит по фигурным пазам, выполненным с двух сторон корпуса.
Наиболее близким по технической сущности является контроллер для управления транспортным средством [RU 2210127, опубл. 10.08.2000], содержащий корпус, крышку, рукоятку. В корпусе контроллера установлен вал, на котором закреплен ротор с зубчатым венцом, кодовый диск, диск с фигурным пазом, соединенные рукояткой. Блок датчиков установлен с возможностью регулировки положения. Соосно с валом установлены жестко закрепленные в корпусе контроллера для управления транспортным средством катушка возбуждения, якорь с зубчатым венцом и крышкой. В корпусе контроллера для управления транспортным средством установлен проходящий через фигурный паз, подпружиненный фиксатор с катушкой возбуждения, расположенной на корпусе фиксатора. Количество зубьев венца якоря кратно количеству зубьев зубчатого венца ротора.
Недостатками этих контроллеров являются:
– механическая сложность и, как следствие, малая надежность;
– большое энергопотребление в рабочем состоянии.
Техническим результатом предлагаемого контроллера является повышение его помехозащищенности, увеличение надежности и срока службы
Сущность изобретения состоит в том, что предлагаемый контроллер содержит корпус, крышку, рукоятку, блок датчиков, подпружиненный фиксатор и вал.
Новым в предлагаемом устройстве является то, что в корпусе контроллера установлен барабан с жестко закрепленным на нем упором и пазом с фигурным профилем, причем паз выполнен либо на одной, либо на обеих сторонах барабана. На валу в барабане подвижно закреплена вилка, соединенная с рукояткой, в которой установлены подпружиненные толкатель и стержень, опирающийся верхним концом на толкатель, а нижним – в упор. Подпружиненные фиксаторы расположены на внутренней поверхности вилки. Блок датчиков установлен на корпусе контроллера. Магнит закреплен на внешней поверхности вилки так, что в рабочем положении рукоятки контроллера он располагается с зазором напротив соответствующего магниточувствительного датчика блока датчиков.
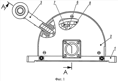
На фиг.1 изображена конструкция контроллера.
На фиг.2 представлен разрез АА контроллера.
На фиг.3 изображена конструкция барабана.
Контроллер состоит из корпуса 1, крышки 2, рукоятки 3, блока датчиков 4, подпружиненных фиксаторов 5. В корпусе контроллера установлен барабан 6, содержащий жестко закрепленный упор 7, выполненный, например, со скосом, паз 8 с фигурным профилем, например, в форме волны с впадинами и вершинами, выполненным либо на одной, либо на обеих сторонах барабана 6. На валу 9 в барабане 6 подвижно закреплена вилка 10, соединенная с рукояткой 3. Блок датчиков 4 установлен на корпусе 1 контроллера. В рукоятке 3 установлены подпружиненные толкатель 11, выполненный, например, со скосом, и подпружиненный стержень 12, причем магнит 13 закреплен на внешней поверхности вилки 10 так, что в рабочем положении рукоятки 3 контроллера он располагается с зазором напротив соответствующего магниточувствительного датчика блока датчиков 4.
Контроллер работает следующим образом.
Изначально рукоятка 3 находится в нейтральном положении, при этом в силу того, что паз 8 с фигурным профилем имеет впадины и вершины, подпружиненные фиксаторы 5 занимают устойчивое состояние во впадине паза, фиксируя положение рукоятки 3. Подпружиненный стержень 12 внутри рукоятки 3 упирается в упор 7, жестко закрепленный на барабане 6. При нажатии на подпружиненный толкатель 11 и приложении к рукоятке 3 усилия в направлении от себя подпружиненный стержень 12 поднимается вверх и проходит над упором 7, обеспечивая перемещение рукоятки 3 в необходимое положение.
Для изменения режима работы транспортного средства оператор, прикладывая усилие к рукоятке 3 в направлении от себя, перемещает ее в необходимое положение.
Так как барабан 6 имеет паз 8 с фигурным профилем, выполненным в виде волны с впадинами и вершинами, то при радиальном перемещении рукоятки 3 усилие перемещения вначале возрастает, а после прохождением ею вершины фигурного паза снижается. Вследствие чего подпружиненные фиксаторы 5 занимают другое состояние во впадине фигурного паза, фиксируя положение рукоятки 3, которая при этом переходит в следующее рабочее положение.
При перемещении рукоятки 3 контроллера и, следовательно, вилки 10 из одного фиксированного положения в другое магнит 13 поочередно устанавливается напротив одного из магниточувствительных датчиков блока датчиков 4, соответствующих этому положению рукоятки.
При этом срабатывает лишь тот датчик, напротив которого устанавливается магнит 13, и датчики блока датчиков 4 выдают на систему управления транспортного средства сигналы управления тяговыми двигателями ходовые сигналы XI XN.
После установки рукоятки 3 контроллера в крайнее положение, до упора в корпус 1, затем ее перемещения в противоположном направлении происходит переключение ходовых позиций от XN до XI. После перехода рукоятки 3 нейтрального положения и движения ее до упора в корпус происходит переключение тормозных позиции TI TN.
При проходе рукояткой 3 нейтрального положения нижний конец подпружиненного стержня 12 скользит по упору 7, выполненному, например, со скосом, который не препятствует его движению. При этом в позициях TI TN магниточувствительные датчики блока 4 выдают на систему управления транспортного средства сигналы для торможения.
При выводе рукоятки 3 в нейтральное положение из положений TN TI подпружиненный стержень 12 внутри рукоятки 3 упирается в упор 7, расположенный на барабане 6, и движение рукоятки 3 стопорится.
Таким образом, осуществляется блокировка контроллера при переходе из тормозных позиций в ходовые позиции.
Повышение помехоустойчивости, снижение энергопотребления, высокая надежность, большой срок службы достигается в предлагаемом контроллере за счет механической фиксации и бесконтактной коммутации электрических цепей.
Формула изобретения
Контроллер, содержащий корпус, крышку, рукоятку, блок датчиков, подпружиненный фиксатор и вал, отличающийся тем, что в корпусе контроллера установлен барабан с жестко закрепленным на нем упором и пазом с фигурным профилем, причем паз выполнен либо на одной, либо на обеих сторонах барабана, на валу в барабане подвижно закреплена вилка, соединенная с рукояткой, в которой установлены подпружиненные толкатель и стержень, опирающийся верхним концом на толкатель, а нижним – в упор, подпружиненные фиксаторы расположены на внутренней поверхности вилки, причем блок датчиков установлен на корпусе контроллера, а магнит закреплен на внешней поверхности вилки так, что в рабочем положении рукоятки он располагается с зазором напротив соответствующего магниточувствительного датчика блока датчиков.
РИСУНКИ
|
|