|
(21), (22) Заявка: 2008110873/09, 24.03.2008
(24) Дата начала отсчета срока действия патента:
24.03.2008
(46) Опубликовано: 27.11.2009
(56) Список документов, цитированных в отчете о поиске:
RU 2076366 C1, 27.03.1997. RU 2297062 C2, 10.04.2007. SU 1275560 A1, 07.12.1986. RU 1820152 A1, 07.06.2003. RU 93052801 A, 27.06.1996. SU 1105947 A, 30.07.1984. US 1992809 A, 26.02.1935. Электрические станции, 1989, 6, с.47, 48, 1991, N9, с.50-54.
Адрес для переписки:
400026, г.Волгоград, пр-т им. Героев Сталинграда, 52, кв.24, В.Ф. Наумову
|
(72) Автор(ы):
Наумов Владимир Федорович (RU)
(73) Патентообладатель(и):
Наумов Владимир Федорович (RU)
|
(54) РЕГУЛИРУЕМЫЙ ТРАНСФОРМАТОР
(57) Реферат:
Регулируемый трансформатор относится к электротехнике. Технический результат состоит в повышении стабильности напряжения на выводах вторичной обмотки во всех эксплуатационных режимах работы. Трансформатор содержит магнитную систему с первичной и вторичной обмотками. Одна из вспомогательных обмоток охватывает каналы магнитного потока рассеяния, создаваемые первичной и вторичной обмотками. Другая вспомогательная обмотка охватывает стержни магнитопровода. Вспомогательные обмотки и часть первичной обмотки образуют контур автоматического регулирования напряжения вторичной обмотки с возможностью изменения ее уставки путем выбора отпаек на первой вспомогательной обмотке посредством тиристорных ключей. 1 з.п. ф-лы, 2 ил.
Изобретение относится к электротехнике, к регулируемым трансформаторам.
Известен силовой трансформатор блока электростанции, содержащий электромеханический регулятор напряжения под нагрузкой (РПН) его высоковольтной обмотки (ж.«Электрические станции, 1991, 9, с.50-54).
Недостатком является невозможность с помощью РПН трансформатора надежно бесконтактно регулировать его напряжение и автоматически поддерживать на заданном уровне.
Наиболее близким по технической сущности к изобретению является силовой трансформатор со вспомогательной обмоткой, выходное напряжение которой бесконтактно и автоматически поддерживается на заданном уровне (патент РФ 2076366, кл. H01F 30/12).
Недостатком является нарушение стабилизации выходного напряжения обмоток трансформатора при изменении напряжения на его первичной (питающей) обмотке, что приводит к ухудшению качества напряжения электросети.
Задача изобретения заключается в повышении показателей качества напряжения электросети путем обеспечения стабильности напряжения на выводах вторичных обмоток трансформатора во всех эксплуатационных режимах его работы.
В таком полностью регулируемом трансформаторе задача стабилизации напряжения решается путем использования части первичной обмотки и двух вспомогательных обмоток; витки первой вспомогательной обмотки охватывают каналы магнитного потока рассеяния первичной и вторичной обмоток, а витки другой вспомогательной обмотки охватывают стержни магнитной системы, при этом вспомогательные обмотки и часть первичной обмотки соединены между собой последовательно и образуют контур автоматического регулирования напряжения вторичных обмоток трансформатора.
Первая вспомогательная обмотка соединена последовательно-встречно с другой вспомогательной обмоткой и частью первичной обмотки, а их выходные напряжения соответственно пропорциональны: току нагрузки трансформатора, напряжению вторичных обмоток и напряжению питающей сети.
Стабилизация выходного напряжения вторичных обмоток трансформатора достигается следующим образом.
При увеличении тока нагрузки магнитный поток в стержнях трансформатора будет уменьшаться, соответственно будет уменьшаться и напряжение на другой вспомогательной обмотке. Напряжение на первой вспомогательной обмотке будет увеличиваться, так как она сцеплена с магнитным потоком рассеяния основных обмоток, который пропорционален току нагрузки. Напряжение части первичной обмотки неизменно, так как принято неизменным напряжение питающей сети.
Происходит сравнение напряжения первой вспомогательной обмотки с суммарным напряжением остальных двух обмоток, входящих в вышеуказанный контур регулирования. Возникает разность напряжений, пропорциональная снижению напряжения на другой вспомогательной обмотке (вторичных обмотках трансформатора). Вследствие чего в контуре регулирования протекает ток, который, проходя по виткам другой вспомогательной обмотки, увеличивает магнитный поток в стержнях трансформатора, а значит и напряжение на другой вспомогательной обмотке, что приводит, в свою очередь, к уменьшению разности напряжений и тока в контуре регулирования. То есть возникает отрицательная обратная связь по напряжению другой вспомогательной обмотки или по напряжению вторичных обмоток трансформатора. В результате действия такой обратной связи устанавливается заданный уровень напряжения вторичных обмоток трансформатора.
При снижении напряжения питания трансформатора будет соответственно уменьшаться напряжение на его первичной и вторичных обмотках. Тогда возникающая в контуре регулирования разность напряжений будет пропорциональна снижению напряжения на другой вспомогательной обмотке и на части первичной обмотки. Процесс установления заданного уровня напряжения вторичных обмоток трансформатора происходит аналогично вышеописанному, только интенсивнее.
При повышении напряжения питания трансформатора будет соответственно увеличиваться напряжение на его первичной и вторичных обмотках. Разность напряжений в контуре регулирования поменяет знак и будет пропорциональна повышению напряжения на другой вспомогательной обмотке и части первичной обмотки. Теперь ток, протекающий в контуре регулирования и по виткам другой вспомогательной обмотки, будет уменьшать магнитный поток в стержнях трансформатора. Далее процесс установления заданного уровня напряжения вторичных обмоток трансформатора происходит аналогично вышеописанному.
Для изменения уставки заданного уровня напряжения вторичных обмоток трансформатора первая вспомогательная обмотка через имеющиеся у нее отпайки и соответствующие им тиристорные ключи соединена последовательно-встречно с остальными обмотками контура регулирования.
Изменение уставки заданного напряжения вторичных обмоток трансформатора достигается следующим образом.
Согласно вышеописанному при установлении заданного уровня напряжения в контуре регулирования осуществляется подгонка напряжения вторичных обмоток трансформатора к напряжению первой вспомогательной обмотки, а разность напряжений становится минимальной и близкой к нулю. Следовательно, задаваясь различным уровнем напряжения первой вспомогательной обмотки посредством отпаек и тиристорных ключей, осуществляют изменение уставки заданного напряжения вторичных обмоток трансформатора. Переключение тиристорных ключей осуществляют переключением импульсов управления тиристорами.
Изменение уставки заданного напряжения трансформатора необходимо для осуществления различных режимов сети системы электроснабжения.
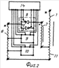
На фиг.1 представлена схема размещения одной фазы обмоток регулируемого трансформатора; на фиг.2 – схема электрических соединений одной фазы обмоток регулируемого трансформатора.
Витки первичной обмотки 1 и коричной 2 охватывают стержень 3 магнитной системы 4 трансформатора с основным магнитным потоком Ф0 (фиг.1). Концентры первичной 1 и вторичной 2 обмоток образуют канал 5 магнитного потока рассеяния
Фs, который охватывается первой вспомогательной обмоткой 6. Другая вспомогательная обмотка 7 охватывает стержень 3 магнитной системы 4 с основным магнитным потоком Ф0.
При этом первая вспомогательная обмотка 6 через имеющиеся у нее отпайки и соответствующие этим отпайкам тиристорные ключи 8, 9, 10 соединена последовательно-встречно с другой вспомогательной обмоткой 7 и частью 11 первичной обмотки 1, образуя контур автоматического регулирования напряжения вторичной обмотки трансформатора (фиг.2). Тиристорный ключ содержит пару тиристоров 12, 13, параллельно-встречно соединенных между собой. Управляющие электроды тиристоров ключей 8, 9, 10 соединены с известным блоком управления тиристором 14, представляющим собой, например, мостовой формирователь двухполярных импульсов со схемой их переключения (см. книгу Б.И.Горошков. Радиоэлектронные устройства. – М.: «Радио и связь», 1984, стр.290).
Для регулируемого трансформатора процесс стабилизации напряжения вторичной обмотки осуществляется следующим образом.
При увеличении тока нагрузки увеличивается падение напряжения в обмотках 1, 2 трансформатора, пропорционально уменьшается магнитный поток Ф0 в стержнях 3 и пропорционально увеличивается магнитный поток рассеяния Фs его основных обмоток 1, 2. При этом уменьшается напряжение вторичной обмотки 2 трансформатора. Это вызывает в контуре регулирования разность напряжений между первой вспомогательной обмоткой 6 и суммарным напряжением остальных двух обмоток 7, 11 при открытом, например тиристорном, ключе 9 (фиг.2). Вследствие чего возрастает в стержнях магнитный поток Ф0 и напряжение вторичной обмотки 2 трансформатора, заданный уровень напряжения которой устанавливается при разности напряжений в контуре регулирования, близкой к нулю. То есть процесс регулирования устанавливается при уравнивании напряжения первой вспомогательной обмотки 6 с напряжением части 11 первичной обмотки 1 и напряжением другой вспомогательной обмотки 7, которое изменяется пропорционально магнитному потоку Ф0.
При отклонении напряжения питания трансформатора от номинального значения соответственно изменяется напряжение на его первичной 1 и вторичной 2 обмотках. Это вызывает в контуре регулирования разность напряжений соответствующего знака, в соответствии с которым происходит изменение магнитного потока Ф0 и напряжения вторичной обмотки 2 трансформатора, заданный уровень которой устанавливается при разности напряжений в контуре регулирования, близкой к нулю.
Для осуществления требуемых режимов сети электроснабжения необходимо изменять уставку заданного напряжения вторичной обмотки 2 трансформатора.
Для этого в блоке управления тиристорами 14 осуществляют переключение импульсов управления на требуемый, например тиристорный ключ 9, подключающий отпайку обмотки 6, соответствующую поддержанию номинального напряжения вторичной обмотки трансформатора. При этом на остальных тиристорных ключах импульсы управления отсутствуют, а сами они заперты приложенным к ним напряжением.
При переключении импульсов управления на тиристорный ключ 8 уставка напряжения вторичной обмотки 2 становится на 10% выше номинальной, а при переключении на тиристорный ключ 10 – на 10% ниже номинальной.
Таким образом, предлагаемый регулируемый трансформатор позволяет по сравнению с известными устройствами обеспечить стабильность напряжения на выводах вторичных обмоток во всех эксплуатационных режимах его работы.
Формула изобретения
1. Регулируемый трансформатор, содержащий магнитную систему с первичной и вторичной обмотками, вспомогательные обмотки, отличающийся тем, что первая вспомогательная обмотка охватывает каналы магнитного потока рассеяния первичной и вторичной обмоток, а другая вспомогательная обмотка охватывает стержни магнитной системы, при этом вспомогательные обмотки и часть первичной обмотки соединены между собой последовательно и образуют контур автоматического регулирования напряжения вторичной обмотки трансформатора.
2. Трансформатор по п.1, отличающийся тем, что первая вспомогательная обмотка через имеющиеся у нее отпайки и соответствующие им тиристорные ключи соединена последовательно-встречно с другой вспомогательной обмоткой и частью первичной обмотки.
РИСУНКИ
|