|
(21), (22) Заявка: 2006143035/09, 03.06.2005
(24) Дата начала отсчета срока действия патента:
03.06.2005
(30) Конвенционный приоритет:
07.06.2004 NO 20042346
(43) Дата публикации заявки: 20.07.2008
(46) Опубликовано: 27.11.2009
(56) Список документов, цитированных в отчете о поиске:
DE 4022243 A1, 23.01.1992. SU 630654 A, 30.10.1978. EP 0514136 A1, 19.11.1992. GB 2371683 A, 31.07.2002.
(85) Дата перевода заявки PCT на национальную фазу:
09.01.2007
(86) Заявка PCT:
NO 2005/000185 20050603
(87) Публикация PCT:
WO 2005/122193 20051222
Адрес для переписки:
117279, Москва, ул. Миклухо-Маклая, 55А, ЗАО “ФИРМА “ЦЕНТР ПАТЕНТНЫХ УСЛУГ”, пат.пов. Е.А.Харченко, рег. 157
|
(72) Автор(ы):
НЕССЕ Арилд (NO), ВЕТТЕЛЭНД Ювинд (NO), КВИНГЕДАЛ Вьярте (NO)
(73) Патентообладатель(и):
ЭППЛАЙД ПЛАЗМА ФИЗИКС АСА (NO)
|
(54) ПЛОСКИЙ ВЫСОКОВОЛЬТНЫЙ ТРАНСФОРМАТОР
(57) Реферат:
Изобретение относится к электротехнике, к высоковольтным трансформаторам. Технический результат состоит в упрощении изготовления, уменьшении паразитной емкости и рассеяния индуктивной связи. Плоский высоковольтный трансформатор имеет первичную обмотку (4), вторичную обмотку (6) и сердечник (8, 10). Слои (16, 24) вторичной обмотки (6) навиты друг на друга с изоляционным слоем между ними в направлении, преимущественно параллельном плоскости первичной обмотки (4). 3 з.п. ф-лы, 4 ил.
Изобретение относится к плоскому высоковольтному трансформатору. Более точно, изобретение относится к плоскому высоковольтному трансформатору, у которого катушка вторичной обмотки выполнена таким образом, чтобы преимущественно устранить или в достаточной степени ослабить известные нежелательные электрические свойства, такие как паразитная емкость, индуктивность рассеяния и так называемые поверхностный эффект и эффект близости (токов) коаксиальной паре.
Для практических целей и по соображениям безопасности электрическую энергию обычно поставляют потребителю с относительно низким напряжением. При возникновении потребности в энергии высокого напряжения порядка до нескольких киловатт (кВт), как правило, на месте преобразуют напряжение получаемой энергии с повышением до нужного уровня. Например, в процессе работы электростатических фильтров используется энергия мощностью от нескольких сотен ватт до нескольких десятков кВт с напряжением свыше 10 киловольт (кВ).
Как известно из уровня техники, для повышающего преобразования напряжения используют обычные высоковольтные трансформаторы, имеющие сердечник из множества слоев железных пластин с высоким содержанием кремния. Упомянутые высоковольтные трансформаторы применимы в сетях с нормальной частотой, которая обычно составляет 50 или 60 герц (Гц).
Высоковольтные трансформаторы данного типа имеют относительно большие размеры и вес. Это в основном объясняется тем, что железный сердечник способен поглощать лишь ограниченный магнитный поток, после чего происходит его насыщение. Таким образом, площадь поперечного сечения железного сердечника является фактором, определяющим мощность, которую способен обеспечивать высоковольтный трансформатор. Если сердечник имеет относительно большие размеры, применяют более длинные и, следовательно, большие обмотки высоковольтного трансформатора. Это приводит к возникновению значительных активных потерь энергии. В связи с этим необходимо увеличивать диаметр обмоточного провода, что влечет за собой дополнительное увеличение веса и размеров высоковольтного трансформатора.
Магнитный поток в сердечнике трансформатора задан следующим уравнением:

в котором В означает магнитный поток в теслах, означает пиковое возбуждающее напряжение в вольтах, f означает частоту в герцах и Ае означает полезную площадь поперечного сечения сердечника трансформатора в м2.
Из уравнения следует, что магнитный поток в сердечнике трансформатора обратно пропорционален частоте.
С учетом данного факта были разработаны трансформаторы с железными сердечниками, обладающими улучшенными рабочими характеристиками – повышенным кпд на более высоких частотах по сравнению с высоковольтными трансформаторами, работающими на частоте сети. Улучшение рабочих характеристик – повышение кпд объясняется возможностью уменьшить размеры железного сердечника при повышении частоты.
Способ подачи относительно высокой частоты на трансформатор включает так называемую методику импульсного источника питания. В соответствии с ней поданную энергию на входе высоковольтного трансформатора преобразуют, предпочтительно, в высокочастотные прямоугольные импульсы напряжения.
В силу способа работы высоковольтного трансформатора известной конструкции его катушка вторичной обмотки имеет относительно большое число витков. Это приводит к увеличению вторичной емкости, поскольку обмотки из множества слоев относительно тонкого обмоточного провода разделены меньшим средним расстоянием, чем обмотки трансформатора, у которого обмоточный провод имеет больший диаметр.
Из-за относительно больших размеров катушки вторичной обмотки, сердечника и необходимости в изоляционных прокладках, в частности, вокруг катушки вторичной обмотки высоковольтные трансформаторы данного типа также отличаются относительно сильной индуктивной связью. Это объясняется тем, что из-за относительно большого расстояния между первичной обмоткой и вторичной обмоткой магнитная связь между ними является слабой.
Подобно вторичной емкости и в сочетании с вторичной емкостью данная нежелательная и по существу неизбежная индуктивная связь рассеяния воздействует на ток в трансформаторе. Поскольку индуктивность снижает высокочастотный ток, она снижает ток между первичной и вторичной обмотками. В связи с этим высоковольтные трансформаторы данного типа имеют относительно узкую полосу частот, иными словами, наивысшую частоту возбуждения, на которой может работать высоковольтный трансформатор.
Методика импульсного источника питания широко используется с целью повышения кпд повышающего преобразования напряжения до уровня порядка 1 кВ. При более высоком напряжении необходимо модифицировать трансформатор способами, которые известны сам по себе, такими как умножение напряжения, последовательное соединение высоковольтных трансформаторов, метод многослойной обмотки или так называемое резонансное переключение, чтобы компенсировать относительно узкую полосу частот высоковольтного трансформатора.
Вместе с тем, характерным для данных способов является то, что они преодолевают недостатки лишь в ограниченной степени, и при этом усложняют и тем самым удорожают высоковольтный трансформатор в целом.
В качестве низковольтного трансформатора все чаще применяют так называемый плоский трансформатор. Плоский трансформатор обычно имеет по меньшей мере одну печатную плату, в медном слое которой вытравлены обмотки, окруженные обычно ферритовым сердечником. За счет использования плоской обмотки печатных плат ферритовые сердечники данного типа являются относительно низкими и вытянутыми и в связи с этим называются плоскими сердечниками.
Преимуществами плоского трансформатора являются простота изготовления и незначительная индуктивная связь рассеяния, поскольку обмотки расположены относительно близко друг к другу. Плоские обмотки обычно отличаются относительно низкой паразитной емкостью. За счет этого плоский трансформатор в целом имеет достаточно хорошую полосу частот.
Вторичная обмотка плоского высоковольтного трансформатора должна иметь относительно большое число витков. Если вся вторичная обмотка помещается на одной печатной плате, для обмотки необходимо относительно большое пространство. В силу производственно-технических условий размер ферритового сердечника ограничен. Таким образом, необходимо разделить вторичную обмотку на несколько слоев, расположенных поверх друг друга. Такое решение связано с возникновением значительной паразитной вторичной емкости, что делает невозможным практическое применение плоских трансформаторов в качестве высоковольтных трансформаторов.
Целью изобретения является устранение или ослабление по меньшей мере одного из недостатков устройств известного уровня техники.
Цель достигается в соответствии с изобретением, особенности которого изложены далее в описании и в приложенной формуле изобретения.
Для использования плоского трансформатора в качестве высоковольтного трансформатора при обычно высокой частоте возбуждения импульсного источника питания, необходимо значительно снизить паразитную вторичную емкость. Теоретически можно доказать, что полная емкость последовательно соединенных емкостей равна:
С =1/(1/C1+1/С2+1/С3+ 1/Сn).
Если все емкости равны, уравнение упрощается:
С =C1/N.
Если, например, 40 проводников размещены в пять слоев один поверх другого по 8 проводников в слое, а полная емкость между каждым слоем равна 1 nF, причем емкость между проводниками, расположенными напротив друг друга, равна 1/8 nF, полная емкость будет равна:
С =1/4nF.
Однако при таком же числе проводников печатной платы, распределенных в 20 слоев по два проводника в каждом, емкость между каждым слоем равна 2·1/8=1/4nF.
Полная емкость составит:
С =1/4/19nF=1/76nF
или в 19 раз меньше емкости в примере с четырьмя слоями. В примере не учтено, что проводники могут иметь различную длину.
При большом числе печатных плат, помещенных одна поверх другой, было бы сложно использовать плоский трансформатор из-за недостатка пространства.
Проблема геометрии плоского трансформатора может быть решена в том, что касается катушки вторичной обмотки, за счет намотки относительно большого числа слоев с небольшим числом витков каждый, образующих узкую катушку, размещаемую в плоском трансформаторе в плоскости, параллельной первичной обмотке плоского трансформатора. Соотношение между числом слоев и числом витков на слой составляет по меньшей мере 1 и предпочтительно более 5.
Однако, как показывают общепризнанные методы расчета так называемого поверхностного эффекта и эффекта близости, описанные в работе Р. L. Powel “Effects of eddy currents in transformer windings” PROC. IEE, Vol. 113, .8, август 1966 г., на так называемый коэффициент сопротивления, отображающий нежелательное увеличение сопротивления обмотки при высоких частотах возбуждения, существенно влияет число слоев. Коэффициент сопротивления увеличивается пропорционально квадрату числа слоев.
В ходе испытания изобретения было неожиданно обнаружено, что данная теория неприменима к катушкам вторичной обмотки упомянутого типа и что вопреки множеству слоев катушка вторичной обмотки предложенной конструкции отличается благоприятными свойствами в том, что касается поверхностного эффекта и эффекта близости, и, следовательно, относительно низким коэффициентом сопротивления.
В предпочтительном варианте осуществления вторичная обмотка выполнена в виде относительно узкой катушки из проводника и промежуточного изоляционного материала, помещенного в плоскости, параллельной первичной обмотке плоского трансформатора. Данная конструкция обладает по меньшей мере такой же способностью снижать паразитную вторичную емкость, как и узкая лежачая катушка с несколькими витками на слой.
Катушка первичной обмотки может быть выполнена, например, в виде обмотки на базе по меньшей мере одной печатной платы, обмотки из так называемого многожильного обмоточного провода или обычного провода с лаковой изоляцией, возможно, их сочетаний. Многожильный обмоточный провод обычно имеет множество проводников с отдельной изоляцией.
Предложенное в изобретении устройство позволяет устранить или в значительной степени ослабить неблагоприятные электрические явления в высоковольтном трансформаторе, за счет чего у высоковольтного трансформатора может быть существенно улучшена полоса частот по сравнению с известным уровнем техники. Так, трансформатор может успешно применяться для работы в режиме высоковольтного импульсного источника питания.
Как указано выше, в плоских трансформаторах обычно используют ферритовый сердечник. Вместе с тем, при желании может использоваться сердечник, изготовленный из тонколистового металла или фольги из ферромагнитного материала. Металлические сердечники обычно имеют Е-образную форму, тогда как сердечники из фольги по производственно-техническим причинам могут состоять из двух С-образных участков.
Если требуется, например, обеспечить относительно сильную индуктивную связь, первичная обмотка и вторичная обмотка могут располагаться в сердечнике на относительно большом расстоянии друг от друга.
Далее описан предпочтительный вариант осуществления изобретения, проиллюстрированный на приложенных чертежах, на которых:
фиг.1 изображает вид сверху плоского трансформатора, частично в разрезе,
фиг.2 – вид в разрезе по линии I-I на фиг.1,
фиг.3 – укрупненный вид, разрез, показанный на фиг.2,
фиг.4 – альтернативный вариант осуществления.
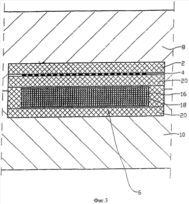
Позицией 1 на чертежах обозначен плоский высоковольтный трансформатор, имеющий печатную плату 2 с первичной обмоткой 4, вторичной обмоткой 6, верхней половиной 8 сердечника и нижней половиной 10 сердечника.
Две Е-образные половины 8 и 10 сердечника окружают печатную плату 2 и обмотки 4 и 6, при этом печатная плата 2 имеет сквозное центральное отверстие 12.
Печатная плата 2 дополнительно имеет две точки 14 подключения к источнику питания первичной обмотки 4. Вторичная обмотка 6 имеет две не показанные точки соединения.
Вторичная обмотка 6 состоит из проводника 16 металлической, предпочтительно, медной фольги в мотках, при этом каждый слой проводника 16 из фольги изолирован от соседнего слоя проводника 16 из фольги изоляционным слоем 18. Вторичная обмотка 6 дополнительно изолирована от первичной обмотки 4 половин 8, 10 сердечника изоляционным материалом 20.
Каждый слой проводника 16 из фольги образует слой вторичной обмотки 6.
Высота вторичной обмотки 6, иными словами, ширина проводника 16 из фольги существенно меньше, предпочтительно, менее одной пятой ширины вторичной обмотки 6 в направлении намотки.
Вторичная обмотка 6 расположена таким образом, что направление ее намотки преимущественно параллельно плоскости первичной обмотки 4.
Как упомянуто в общей части описания, за счет относительно большого числа слоев проводника 16 вторичная емкость является относительно небольшой, а компактная конструкция плоского трансформатора позволяет существенно снизить индуктивную связь у высоковольтного трансформатора 1. За счет этого обеспечивается широкая полоса частот и возможность использовать относительно высокую частоту возбуждения импульсного источника питания.
В альтернативном варианте осуществления, показанном на фиг.4, вторичная обмотка 6 состоит из проводника/провода 22 с лаковой изоляцией, возможно, многожильного обмоточного провода. На фиг.4 показано, что провод 22 намотан слоями 24, каждый из которых состоит из четырех витков провода 22, при этом число слоев 24 относительно велико. Самый дальний слой 24 обмотки для наглядности проиллюстрирован заштрихованным в направлении, противоположном остальным слоям 24 обмотки. Слои 24 обмотки навиты друг на друга преимущественно в направлении, в котором проходит плоскость первичной обмотки 4.
Чтобы ограничить эффект близости, соотношение между числом слоев 24 обмотки и числом проводников 22 в каждом слое 24 обмотки должно превышать 5.
Данный альтернативный вариант осуществления не является столь же эффективным применительно к вторичной емкости, как вариант осуществления, проиллюстрированный на фиг.3, но удовлетворяет требованиям практического применения.
Формула изобретения
1. Плоский высоковольтный трансформатор, имеющий первичную обмотку (4), вторичную обмотку (6) и сердечник (8, 10), отличающийся тем, что слои (16) вторичной обмотки (6) выполнены из металлической фольги с изоляционным слоем (18) между ними, навитыми друг на друга в направлении, проходящем в одной плоскости.
2. Устройство по п.1, отличающееся тем, что первичная обмотка (4) образована медной фольгой.
3. Устройство по п.1, отличающееся тем, что сердечник (8, 10) имеет верхнюю половину (8) и нижнюю половину (10).
4. Устройство по п.1, отличающееся тем, что сердечник (8, 10) выполнен из ферромагнитного материала.
РИСУНКИ
|