|
(21), (22) Заявка: 2007142658/09, 18.04.2006
(24) Дата начала отсчета срока действия патента:
18.04.2006
(30) Конвенционный приоритет:
20.04.2005 DE 102005018370.0 28.02.2006 DE 102006009250.3
(43) Дата публикации заявки: 27.05.2009
(46) Опубликовано: 27.11.2009
(56) Список документов, цитированных в отчете о поиске:
RU 2109361 C1, 20.04.1998. RU 2033650 C1, 20.04.1998. RU 2082242 C1, 20.06.1997. RU 2193253 C2, 20.11.2002. SU 1365153 A1, 07.01.1988. SU 1270809 A1, 15.11.1986. SU 1021286 A1, 27.05.1996. US 2002149453 A, 17.10.2002. US 4554731 A, 26.11.1985. JP 52139955 A, 22.11.1977.
(85) Дата перевода заявки PCT на национальную фазу:
20.11.2007
(86) Заявка PCT:
EP 2006/061640 20060418
(87) Публикация PCT:
WO 2006/111527 20061026
Адрес для переписки:
129090, Москва, ул.Б.Спасская, 25, стр.3, ООО “Юридическая фирма Городисский и Партнеры”, пат.пов. А.В.Мицу, рег. 364
|
(72) Автор(ы):
ЛЕГИССА Мартино (DE), ПРЕЛЬСС Норберт (DE)
(73) Патентообладатель(и):
СИМЕНС АКЦИЕНГЕЗЕЛЛЬШАФТ (DE)
|
(54) СЕДЛОВИДНАЯ КАТУШЕЧНАЯ ОБМОТКА С ПРИМЕНЕНИЕМ СВЕРХПРОВОДНИКОВ И СПОСОБ ЕЕ ИЗГОТОВЛЕНИЯ
(57) Реферат:
Изобретение относится к области сверхпроводящей техники, в частности к катушечным обмоткам. Предложенную седловидную катушечную обмотку (3) формуют из плоской формы катушки типа беговой дорожки на трубчатой боковой поверхности (Mf) так, что она содержит аксиально проходящие на продольной стороне участки обмотки (3а) и проходящие между ними на торцовых сторонах участки обмотки (3b, 3с), образующие лобовые части обмотки. Отдельные витки (Wi) катушечной обмотки должны выполняться с по меньшей мере одним ленточным сверхпроводником (5), в частности с сверхпроводящим материалом с высокой критической температурой Тc, который своей узкой стороной (5а) обращен к трубчатой боковой поверхности (Mf). Для избежания недопустимых механических нагрузок проводника при формовании катушки, витки (Wi) в седловидной форме должны соответственно иметь длину периметра (U), которая осталась практически неизменной по сравнению с таковой в плоской форме катушки. Технический результат изобретения заключается в эффективном использовании сверхпроводящего материала из готовых ленточных проводников при компактном расположении обмотки так, что может достигаться соответственно меньший диаметр области, образующей трубчатую боковую поверхность. 2 н. и 21 з.п. ф-лы, 10 ил.
Изобретение относится к седловидной катушечной обмотке с применением сверхпроводников на трубчатой боковой поверхности с аксиально проходящими прямыми участками обмотки и расположенными между ними на противоположных торцовых сторонах изогнутыми, образующими лобовые части обмотки участками обмотки. Изобретение относится далее к способу для изготовления подобной катушечной обмотки. Соответствующий способ для изготовления такой катушечной обмотки следует из JP 06-196314 А.
В области сверхпроводящей техники седловидные катушечные обмотки издавна предусматривают в области физики высоких энергий и частиц или электрических машин. При этом в основном используют проводники с классическим металлическим сверхпроводящим материалом с низкой критической температурой перехода в сверхпроводящее состояние Тс, так называемый сверхпроводящий материал с низкой критической температурой Тс (сокращение: материал НТСП). Дело в том, что соответствующие проводники могут сравнительно легко и без потери их сверхпроводящих свойств гнуться в седловидную форму с проходящими аксиально прямолинейными участками обмотки и расположенными между ними на противоположных торцовых сторонах изогнутыми, образующими лобовые части обмотки участками обмотки. Или их сверхпроводящие свойства образуют или соответственно регулируют согласно так называемой технике “намотка-и-реакция” (“Wind-and-React”) только после окончательного формования проводников в обмотке.
С тех пор как известными являются также окисные сверхпроводящие материалы с высокой критической температурой перехода в сверхпроводящее состояние Тс, так называемый сверхпроводящий материал с высокой критической температурой Тс (сокращение: материал ВТСП), пытаются изготавливать соответствующие обмотки также с проводниками из этих материалов. Соответствующее предложение исходит из названного вначале документа JP 06-196314 А. Также в JP 2003-255032 А упомянута возможность применения таких проводников для седловидных катушечных обмоток. При этом однако имеет место проблема, что проводники при применении подобных материалов с достаточной нагрузочной способностью по току или соответственно плотностью критического тока Jc можно изготавливать практически только в форме лент, готовые ленточные проводники являются, однако, очень чувствительными к растяжению и поэтому вследствие опасности потерь нагрузочной способности по току или соответственно плотности критического тока Jc позволяют производить гибку только в очень малой степени. Поэтому в широком объеме отказались от изготовления седловидных катушечных обмоткок с подобными ленточными проводниками ВТСП и вместо этого планируют так называемые “катушки типа беговой дорожки” (по английски: “race track coils”). Катушки типа беговой дорожки являются плоскими обмотками, в которых витки постоянно лежат внутри плоскости обмотки. Если такие катушки типа беговой дорожки накладывать друг на друга, то стопка в продольном направлении, таким образом, не имеет отверстия (так называемой “апертуры”). Во вращающихся машинах со сквозным валом поэтому катушки типа беговой дорожки должны устанавливаться выше и ниже центральной области (сравните, например, DE 19943783 A1). Поэтому в аксиально проходящих прямых участках обмотки катушечной обмотки получается свободное пространство, не занятое обмоткой, которое приводит к соответствующему снижению полезной напряженности поля. За счет использования седловидных катушек, то есть катушечных обмоток с изогнутыми на торцовых сторонах вверх лобовыми частями обмотки, возникает апертура. С этим связано эффективное использование сверхпроводящих обмоток, например, во вращающихся машинах при условии, что сверхпроводники являются соответственно формуемыми без ущерба для их сверхпроводящим свойств.
Плоские катушечные обмотки типа беговой дорожки для двигателя ВТСП и изготовление соответствующих катушечных обмоток описаны, например, также в “IEEE Trans. Appl. Supercond.”, том. 9, No. 2, июнь 1999, с.1197-1200.
Предлагались также конически сформованные катушечные обмотки с ленточными ВТСП-проводниками (сравните WO 01/08173 A1). При этой геометрии катушки обмотка хотя и выпуклая, однако также и здесь проводники отдельных витков на прямых участках и в областях лобовых частей обмотки соответственно находятся внутри одной общей плоскости. Плоские стороны проводников лежат при этом параллельно к оси, которая выступает вертикально из катушечной обмотки.
Известны также попытки изготовления седловидных катушечных обмоток с ленточными ВТСП-проводниками (сравните “IEEE Trans. Appl. Supercond.”, том 9, No. 2, июнь 1999, с.293-296). Описанный там дизайн обмотки позволяет, однако, получать для квадрупольного магнита только малые апертуры; такие апертуры являются, однако, недостаточными для дипольных обмоток, которые должны, например, предусматриваться для двухполюсных роторных обмоток машин.
Известный для изготовления катушечных обмоток из чувствительных к растяжению сверхпроводников способ изготовления основывается на том, что сверхпроводящие свойства проводников катушечной обмотки образуют только после процесса намотки в их окончательную форму (так называемая техника “намотка-и-реакция”; сравните, например, ЕР 1471363 A1). Это требует, однако, как правило, сложных приспособлений для намотки, которые являются малопригодными для экономичного относительно расходов изготовления катушечных обмоток для использования во вращающихся машинах.
Задачей настоящего изобретения поэтому является указание седловидной катушечной обмотки с названными во вводной части признаками, в которой обсужденные выше проблемы уменьшены. В частности, также должен быть указан способ изготовления, который является пригодным для изготовления неплоских катушечных обмоток с применением уже предварительно изготовленных ленточных проводников как сверхпроводников с высокой критической температурой Тс, которые, в частности, чувствительны к растяжению.
Относящаяся к седловидной катушечной обмотке задача решается признаками, указанными в пункте 1 формулы изобретения. Согласно этому седловидная катушечная обмотка является сформованной из катушки плоской формы типа беговой дорожки на трубчатую боковую поверхность и имеет аксиально проходящие участки обмотки на продольных сторонах и проходящие между ними на торцовых сторонах участки обмотки, образующие лобовые части обмотки, причем витки катушечной обмотки образованы по меньшей мере одним ленточным сверхпроводником, который обращен своей узкой стороной к трубчатой боковой поверхности, и в форме седловины имеют длину периметра, которая является практически неизменной по сравнению с таковой в плоской форме катушки так, что на трубчатой боковой поверхности по меньшей мере один ленточный проводник в витках в области вершины участков обмотки на торцовой стороне расположен своей плоской стороной наклонно на угол наклона относительно нормали на боковой поверхности в направлении к центру обмотки катушечной обмотки, причем угол наклона у лежащего внутри витка меньше, чем у витка, лежащего снаружи.
При этом под длиной периметра понимают длину замкнутого оборота сверхпроводника на 360° вокруг центра обмотки, например сердечника. При этом при применении ленточного проводника длину периметра определяют соответственно оба края ленты. В случае плоской обмотки обе эти длины периметра, естественно, равны. Седловидная катушка образована таким образом, что обе длины периметра в случае трехмерно сформованной катушки имеют самое большее разницу в 0,4% (предпочтительно 0,3% или еще лучше 0,2%) изменения длины относительно длин периметра плоской катушки, а также относительно друг друга. Эта разница зависит от соответствующей конструкции сверхпроводника и изменения его свойств сверхпроводимости при гибке или соответственно растяжении. Она может лежать, следовательно, также еще ниже указанного значения. При этом может быть обеспечено, что также при рассмотрении по всему периметру местное растяжение или соответственно сжатие ленточного проводника по сравнению с плоской катушкой составляет самое большее 0,4% (предпочтительно 0,3% или еще лучше 0,2%). Это необходимо, чтобы не уменьшить нагрузочную способность по току ленточного проводника в седловидной катушке.
Связанные с этим выполнением катушечной обмотки преимущества следует видеть, в частности, в том, что можно достигать в рабочих условиях эффективного использования сверхпроводящего материала уже готовых ленточных проводников, поскольку прямые части обмотки лежат в области, в которой можно достигать большей мощности при количественно равном использовании материала ленточных проводников. Кроме того, становится возможным компактное расположение обмоток так, что может достигаться соответственно меньший диаметр области, образующей трубчатую боковую поверхность.
Соответствующая изобретению катушечная обмотка отличается также, в частности, тем, что по меньшей мере ее один проводник в области участков обмотки на торцовой стороне расположен своей плоской стороной особым образом наклонно относительно нормали на боковой поверхности в направлении к центру обмотки катушечной обмотки. С подобной ориентацией проводника можно избегать, чтобы при формовании обмотки появлялись недопустимые растяжения проводника.
Предпочтительные формы выполнения соответствующей изобретению катушечной обмотки исходят из соответствующих зависимых пунктов формулы изобретения. При этом форма выполнения катушечной обмотки может комбинироваться с признаками одного из этих зависимых пунктов формулы или предпочтительно также с таковыми из нескольких соответствующих зависимых пунктов формулы изобретения.
Так, катушечная обмотка может особенно предпочтительно выполняться с каждым чувствительным к растяжению ленточным сверхпроводником. Под чувствительным к растяжению сверхпроводником должен пониматься в этой связи каждый предварительно изготовленный сверхпроводник, который после своего изготовления при монтаже седловидной катушки по известному способу подвергался бы растяжению или соответственно гибке, которые приводили бы к заметному ухудшению его сверхпроводящих свойств, в частности его плотности критического тока Iс, на по меньшей мере 5% по сравнению с нерасширенным состоянием. Соответствующая опасность, в частности, имеет место в случае новых сверхпроводников с высокой критической температурой Тс на основе окисной керамики. Катушечная обмотка поэтому может выполняться предпочтительно с по меньшей мере одним сверхпроводником с высокой критической температурой Тс с материалом BPSCCO или YBCO.
Вместо этого по меньшей мере один ленточный сверхпроводник может быть образован также со сверхпроводящим материалом – диборидом магния МgВ2.
Предпочтительно по меньшей мере один ленточный сверхпроводник для выполнения катушечной обмотки может иметь характеристический коэффициент формы (ширина w/толщина d) по меньшей мере 3, предпочтительно по меньшей мере 5. Именно с такими сверхпроводниками можно изготавливать теперь катушечные обмотки с выраженной седловидностыо без опасения ухудшения их сверхпроводящих свойств.
Трубчатой боковой поверхностью можно образовывать трубу с круглым или эллиптическим поперечным сечением, в частности цилиндрическую боковую поверхность (конкретно или фиктивно).
При этом трубчатая боковая поверхность может быть образована несущим обмотку трубчатым телом. Вместо этого катушечная обмотка может быть выполнена также самонесущей. В последнем случае под трубчатой боковой поверхностью понимается только фиктивная, воображаемая поверхность.
При необходимости трубчатой боковой поверхностью может образовываться также труба с изогнутой осью (конкретной или мнимой) без обязательного появления недопустимых удлинений проводника. То есть соответствующие изобретению меры не ограничены седловидными катушечными обмотками с прямыми боковыми участками обмотки.
В связи с избежанием недопустимых удлинений/изгибов сверхпроводника предпочтительно предусматривают, чтобы соответствующая длина периметра в седловидной форме отличалась от таковой в плоской форме катушки на максимально 0,4%, предпочтительно на максимально 0,3%. Ниже этого значения можно не опасаться постепенного ухудшения параметров относительно сверхпроводящих свойств проводника.
В общем, катушечная обмотка имеет радиальную высоту до по меньшей мере 10% диаметра трубы, чтобы обладать выраженной седловидностью. Предпочтительно радиальная высота составляет по меньшей мере 30% диаметра трубы.
Предпочтительно катушечная обмотка может быть установлена во вращающейся машине или в магните ускорителя, таком как магнит портального ускорителя (Gantry), или образовывать часть этого устройства. Именно для этих устройств требуются обмотки с выраженной седловидностью.
Относящаяся к способу изготовления катушечной обмотки задача решается мерами, следующими из пункта 16 формулы изобретения. Согласно этому должны предусматриваться следующие операции способа:
– образование плоской катушечной формы из по меньшей мере одного предварительно изготовленного ленточного сверхпроводника,
– формование на трубчатую боковую поверхность гибочного устройства в седловидную форму посредством прессования,
– фиксирование витков в седловидной форме.
Указанный способ изготовления с признаками намотки плоской катушечной обмотки и последующего формования в седловидную катушечную обмотку связан с преимуществами, что плоскую намоточную технику можно выполнять простым образом. Соответствующие намоточные машины требуют только одну ось вращения. В противоположность этому при непосредственном изготовлении изогнутых седловидных катушечных обмоток были бы необходимы более сложные намоточные машины с по меньшей мере двумя осями вращения. Способ позволяет поэтому экономичное относительно расходов изготовление обмотки.
Предпочтительно способ для изготовления соответствующей катушечной обмотки может быть дополнительно выполнен еще следующим образом.
Так, при образовании плоской формы катушки в области участков обмотки на торцовой стороне между соседними витками можно предусматривать промежутки так, что при и после деформации соответственно имеет место практически неизменная длина периметра отдельных витков.
Кроме того, при образовании плоской формы катушки для дистанцирования соседних витков можно вводить дистанционные распорки, которые снова удаляют перед операцией формования. За счет применения дистанционных распорок при образовании плоской формы катушки длины периметра отдельных витков можно устанавливать так, что их изменение при формовании в седловидную катушку не превышает вышеназванные граничные значения.
Для фиксирования витки целесообразно заливают или склеивают.
Изобретение поясняется дальше с помощью чертежей, на которых показаны предпочтительные формы выполнения соответствующих изобретению катушечных обмоток или соответственно устройства для их изготовления. При этом в слегка схематизированной форме чертежи иллюстрируют
– Фиг.1 – в перспективном виде катушечную обмотку типа беговой дорожки в качестве исходной формы соответствующих изобретению седловидных катушечных обмоток,
– Фиг.2 – в перспективном виде расположение с двумя седловидными катушечными обмотками в их конечной форме,
– Фиг.3 и 4 – первую форму выполнения соответствующей изобретению седловидной катушечной обмотки в виде поперечного сечения или соответственно в продольном виде,
– Фиг.5 и 6 – в соответствующем Фиг.3 и 4 представлении другую форму выполнения такой седловидной катушечной обмотки,
– Фиг.7 – лобовую часть обмотки, показанной на Фиг.4 седловидной катушечной обмотки, в увеличенном виде,
– Фиг.8 – в диаграмме зависимость угла откидывания проводников на лобовой части обмотки согласно Фиг.7 от полюсного угла,
– Фиг.9 и 10 – гибочное устройство для изготовления соответствующей изобретению седловидной катушечной обмотки в виде сверху или соответственно в поперечном сечении.
При этом соответствующие части на чертежах снабжены соответственно одинаковыми ссылочными позициями.
Согласно изобретению при изготовлении седловидной катушечной обмотки нужно исходить из ровной или соответственно плоской формы катушки типа беговой дорожки. Соответствующие формы катушек являются, в общем, известными (сравните, например, DE 19943783 A1); пример выполнения показывает Фиг.1. Обозначенная там позицией 2′ катушечная обмотка имеет противоположно лежащие на продольных сторонах участки обмотки 2а’ и 2d’, а также проходящие между ними на торцовых сторонах, изогнутые участки обмотки 2b’ и 2с’. Обмотка 2′ должна быть изготовлена с одним или несколькими ленточными сверхпроводниками. Для выполнения катушечной обмотки соответствующий ленточный проводник, поставленный на ребро, то есть своей узкой стороной к плоскости обмотки, наматывают вокруг центра намотки или обмотки Z, например вокруг центрального сердечника. Длина периметра проводника в пределах любого витка, проходя один раз на 360° вокруг центра Z или соответственно через каждый из обоих участков обмотки на продольных сторонах 2а’, 2d’ и участки обмотки на торцовых сторонах 2b’ und 2с’, должна быть помечена на чертеже обозначенной буквой U штриховой линией. При применении ленточного проводника при этом оба края ленты определяют соответственно длину периметра U1 или соответственно U2. В случае плоской обмотки обе эти длины периметра, естественно, равны.
В последующем для упрощения говорится только о длине периметра U, причем постоянно имеются в виду длины периметра U1 и U2 краев.
В качестве проводящего материала могут в принципе применяться все сверхпроводящие материалы, в частности такие, которые являются чувствительными к удлинению. Так, например, по меньшей мере один ленточный сверхпроводник может быть выполнен со сверхпроводящим материалом МgВ2. Для предпочтительного примера выполнения выбран один из известных ВТСП-материалов. Обмотка 2′ поэтому выполнена с одним или несколькими ленточными ВТСП-материалами, в частности типа (BiPb)2Sr2Ca2CuOx (сокращение: BPSCCO) или типа YВа2Сu3Ох (сокращение: YBCO). При этом ВТСП-проводники имеют ширину w, которая типичным образом составляет больше 3 мм и в большинстве случаев лежит между 3 и 5 мм. Их толщина d является при этом гораздо меньше, чем ширина w и составляет типичным образом меньше 0,5 мм. Предпочтительно применяют ВТСП-проводники с коэффициентом формы (ширина w/толщина d) самое меньшее 3, предпочтительно самое меньшее 5.
Исходя из плоской формы катушки соответствующая изобретению седловидная катушечная обмотка выполнена теперь так, что обе длины периметра U1 и U2 в случае трехмерной формы катушечной обмотки имеют самое большее разницу 0,4%, предпочтительно 0,3% или еще лучше 0,2% изменения длины к длинам периметра плоской катушки, а также относительно друг друга. Эта разница зависит от соответствующей конструкции сверхпроводника и изменения его сверхпроводящих свойств при гибке или соответственно растяжении. Она может, следовательно, лежать еще ниже указанного значения. При этом можно обеспечить, чтобы также при рассмотрении по всему периметру местное удлинение или соответственно сжатие ленточного проводника по сравнению с плоской катушкой составляло самое большее 0,4%, предпочтительно 0,3% или еще лучше 0,2%. Так как соответственно изобретению длина периметра U проводника в отдельных витках по сравнению с седловидной катушечной обмоткой, подлежащей формованию из плоской катушечной обмотки типа беговой дорожки, должна оставаться практически неизменной, это означает конкретное задание отдельных длин периметра U для катушечной обмотки типа беговой дорожки. Это значит, что при соответствующей изобретению катушечной обмотке конкретно подлежащая выбору длина периметра для проводника или проводников в отдельных витках является заданной соответствующей длиной соответствующего витка в седловидной форме и в зависимости от этого установлена длина периметра для отдельных витков в плоской форме катушки типа беговой дорожки. Это имеет следствием, что в форме катушки типа беговой дорожки витки проводника в области участков обмотки на торцовой стороне 2b’, 2с’ должны лежать рядом друг с другом сравнительно свободно, то есть не должны быть жестко связаны друг с другом.
В случае показанного на Фиг.2 расположения с двумя седловидными катушками 2 и 3 исходят из известной формы выполнения дипольных магнитов, которые используют, например, для магнитов управления лучом в ускорительных установках физики высоких энергий. Соответствующее расположение является выгодным также для ротора электрической машины. При этом отдельные седловидные катушечные обмотки находятся на цилиндрической боковой поверхности Mf, которая образована, например, полым цилиндром 4. В случае, если можно отказаться от подобного полого цилиндра в качестве держателя для катушечных обмоток, боковая поверхность Mf должна рассматриваться только в качестве “воображаемой боковой поверхности”. Каждая из катушечных обмоток 2 и 3 содержит при этом проходящие в направлении оси полого цилиндра А прямые участки обмотки 2а, 2d (не видны) или соответственно 3а, 3d (не видны), а также изогнутые, образующие лобовые части обмотки участки обмотки 2b, 2с или соответственно 3b, 3с на противоположных торцовых сторонах.
В последующем в основу положены размеры форм выполнения таких седловидных катушечных обмоток, которые следуют из Фиг.3-7. Согласно Фиг.3 и 4, например, выбранная катушечная обмотка 3 содержит прямолинейные участки обмотки 3а аксиальной длины G и трехмерно изогнутые лобовые части обмотки в торцовых участках обмотки 3b и 3с соответственно аксиальной длины L. Катушечная обмотка находится при этом на цилиндрической боковой поверхности Mf диаметра D. При этом формы выполнения по парам Фиг.3, 4 и 5, 6 отличаются в основном высотой h седловидной катушечной обмотки 3. Величина h при этом представляет собой максимальное значение, на которое лобовые части обмотки поднимаются из плоскости первоначальной катушечной обмотки типа беговой дорожки или соответственно из плоскости продольных частей обмотки до и после образования седловидной формы. Это значение должно, в общем, составлять по меньшей мере 10% диаметра D трубы с трубчатой боковой поверхностью Mf и может, например, составлять по меньшей мере 40% этой величины. Согласно примеру выполнения по Фиг.3 и 4 величина h 1/2·D; то есть обмотка лежит своими внешними витками Wi в середине, то есть на экваторе цилиндрической поверхности. В противоположность этому согласно Фиг.5 и 6 цилиндрическая боковая поверхность Mf обмотана проводниками обозначенной 13 седловидной катушечной обмотки только настолько, что ее самые внешние витки Wi лежат выше плоскости экватора цилиндра. Поэтому здесь радиальная высота обмотки h меньше чем D/2. Предпочтительно выбирать радиальную высоту h по меньшей мере 10% диаметра трубы D.
В вырезе к обеим парам Фиг.3, 4 и 5, 6 ленточный ВТСП-проводник обозначен позицией 5. С ним соответствующая седловидная катушечная обмотка изготовлена так, что его узкая сторона 5а обращена к цилиндрической боковой поверхности Mf (сравните, в частности, Фиг.3 и 5).
Как далее следует из Фиг.3-6, отдельные ВТСП-проводники в точке вершины торцовых участков обмотки 3b, 3с или соответственно лобовых частей обмотки стоят не точно вертикально на цилиндрической боковой поверхности Mf, a отклонены от нормали N на этой поверхности на угол наклона внутрь к центру обмотки Z. Это является следствием соответствующего изобретению выполнения катушечной обмотки.
Показанной геометрии катушки присвоена прямоугольная x-y-z-система координат, причем ось х направлена в экваториальной плоскости, ось у вертикально к ней и ось z в аксиальном направлении цилиндрической боковой поверхности (сравните Фиг.3 и 4).
Ниже даны более подробные рассуждения к математическому описанию соответствующей геометрии катушки.
Форма лобовых частей обмотки дана за счет того, что трехмерная пространственная кривая ленточного проводника определена за счет того, что полуэллипс (общий случай) или соответственно полукруг (специальный случай полуэллипса с двумя равными полуосями) развертывают на цилиндрическую поверхность диаметра D. Полуэллипс является точной формой лобовой части обмотки плоской катушки перед гибкой. За счет этого обеспечено сохранение длин периметра.
Для проводника, который в прямых частях удален на угол от полюса (направление оси у), первая полуось эллипса составляет

вторая полуось равна b=Li (в специальном случае полукруга справедливо а=b, то есть Li= ·Di/2). В общем случае это может быть выражено в форме

причем множитель е описывает соотношение обеих полуосей. Это справедливо для внутреннего края проводника (индекс “i”), который находится на диаметре цилиндра Di. Длина проводника для внутреннего края тогда составляет тем самым приближенно

Внешний край того же самого проводника (индекс “а”) находится на прямых частях на диаметре цилиндра

причем w является шириной ленточного проводника.
Этот больший диаметр цилиндра соответствует первой полуоси

При одинаковой второй полуоси (ba=bi) это приводило бы к более длинному пути внешнего края по сравнению с внутренним краем, то есть ленточный проводник был бы недопустимо растянутым. Недопустимое растяжение избегается за счет того, что в лобовой части обмотки ленточный проводник откидывают или соответственно отклоняют на угол внутрь к центру обмотки Z. Это укорачивает вторую полуось до

Угол откидывания или наклона при этом регулируется так, что внешний край приблизительно не претерпевает никакого удлинения относительно внутреннего края.
При пренебрежении жесткостями при изгибе и кручении вычисленный для этого угол откидывания составляет

Это имеет следствием, что угол откидывания или наклона изменяется на торцовых лобовых частях обмотки от витка к витку, а именно с легким увеличением от центра Z обмотки в направлении наружу. Это положение вещей видно из Фиг.7, на которой виден вырез торцового участка обмотки или соответственно лобовой части обмотки 3b, показанной на Фиг.4 обмотки 3. По причинам возможности графического изображения, как на Фиг.4, количество представленных витков обмотки Wj (с j=1 4) ограничено числом “4”, причем самый внутренний виток проводника обозначен W1, а самый внешний виток проводника обозначен W4. В точке вершины торцового участка обмотки 3b при этом угол наклона 1 внутреннего витка проводника W1 меньше, чем угол наклона 4 внешнего витка проводника W4.
Откидывание ленточного проводника достигается теперь за счет того, что проводник в лобовой части обмотки скручивают вдоль его продольной оси. Это закручивание появляется наряду с изгибом как дополнительная механическая нагрузка проводника.
Прочности при изгибе и при кручении известных ВТСП-ленточных проводников можно учитывать с помощью поправочного коэффициента k 0,5 до 1,5, предпочтительно k 0,5 до 1,0. Вычисленный угол откидывания составляет тогда

Фиг.8 показывает в диаграмме вычисленный с уравнением 8 угол откидывания
theo и измеренный на различных седловидных катушечных обмотках угол откидывания соответственно в зависимости от полюсного угла . При этом в основе сплошной линии I лежит вычисление с поправочным коэффициентом k=1, в основе штриховой линии II вычисление с поправочным коэффициентом k=0,7 и в основе штрихпунктирной линии III вычисление с поправочным коэффициентом k=0,5. Измеренные значения нанесены в виде квадратных точек.
Геометрическое проектирование катушечной обмотки (диаметр цилиндра D, полюсный угол для витков, соотношение полуосей е) производят при этом так, что соответственно специфичные для проводников предельные нагрузки
– критический радиус кривизны Rc или соответственно удлинение при изгибе сR,
– критическое скручивание с или соответственно удлинение при скручивании с ,
не превышаются. В качестве примеров справедливы следующие предельные нагрузки для имеющихся в торговле BPSCCO-проводников:
– критическая изгибающая нагрузка: Rc 3 см или соответственно c 0,4%.
– критическая скручивающая нагрузка: с 2500°/м или соответственно с 0,2%.
При положении в основу соответствующей геометрии катушки седловидная катушечная обмотка согласно изобретению имеет следующие характерные свойства:
– трехмерное искривление лобовых частей обмотки достигается путем гибки ленточных проводников для плоского края (так называемое “хорошее” направление изгиба) и скручивания проводника вдоль оси проводника;
– локально появляющиеся радиусы изгиба и скручивания лежат в рамках критических пределов нагрузок, начиная от которых появляется необратимое повреждение сверхпроводящих свойств;
– все витки Wi сверхпроводящей обмотки лежат в лобовых частях обмотки выше известной минимальной высоты h, за счет которой достигается большая апертура. Высота h зависит от степени намотки катушечной обмотки (смотрите различия между парами Фиг.3, 4 и 5, 6);
– в прямых участках обмотки плоские стороны ленточных проводников лежат приблизительно в радиальном направлении относительно цилиндрической формы катушечной обмотки;
– в лобовых частях обмотки ленточные проводники имеют известный наклон внутрь на угол (смотрите Фиг.3-7). Этот наклон варьируется для различных витков. За счет этого наклона достигается то, что “внешний край” ленточного проводника по сравнению с “внутренним краем” ленточного проводника не претерпевает никакого недопустимого удлинения, которое опять-таки приводило бы к необратимому повреждению сверхпроводящих свойств;
– на пути через лобовую часть обмотки ВТСП-ленты отдельных витков описывают трехмерную пространственную кривую. Для внутреннего края эта трехмерная пространственная кривая определена за счет того, что полуэллипс (общий случай) или соответственно полукруг (специальный случай) развертывают на цилиндрическую поверхность.
Для изготовления вышеописанной седловидной катушечной обмотки предпочтительно можно применять следующий способ с отдельными операциями способа с 1 до 5.
1. В первой операции способа сначала наматывают плоскую катушечную обмотку типа беговой дорожки. Процесс намотки производят “сухо”, то есть без добавления заливочного материала. В лобовых частях обмотки при этом между витками могут вводиться при необходимости дистанционные распорки (например, гибкие пленки) с толщиной А. Задачей этих дистанционных распорок является нацеленная установка увеличения длины провода от одного витка к следующему. Если внутренний первый виток находится на радиусе R, то длина проводника на 90° дуге составляет L1= ·R. Если на этот первый виток наматывают второй виток и вкладывают дистанционную распорку толщиной D, то длина второго витка составляет теперь L2= (R+ +d). Изменение длины между витками составляет тем самым L2-L1= ( +d). При заданной толщине d ленточных проводников дистанционные распорки позволяют тем самым нацеленную установку изменения длины.
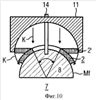
2. Катушечную обмотку во второй операции способа вынимают из намоточной машины и вставляют в гибочное устройство. Гибочное устройство следует из Фиг.9 и 10 и обозначено в целом позицией 7. Оно содержит гибочный цилиндр 8 с полюсной частью 9, на которой сначала устанавливают плоскую катушечную обмотку 2′, а также согласованные с формой боковой поверхности Mf гибочного цилиндра прессующие детали 11, 12 для формования катушечной обмотки 2. Перед гибкой из лобовых частей обмотки сначала удаляют дистанционные распорки.
3. В третьей операции способа на плоскую катушечную обмотку 2′ опускают прессовочные инструменты. Прессовочные инструменты вначале формуют первоначально плоскую катушечную обмотку и прижимают ее с применением изгибающих усилий К к поверхности гибочного цилиндра. За счет этого достигают желаемую геометрию катушки в форме седловины.
4. В четвертой операции способа катушечная обмотка теперь должна фиксироваться в ее изогнутой форме. Это можно производить, например, с помощью заливки катушечной обмотки. Для избежания склеивания катушечной обмотки в гибочном устройстве поверхность гибочного устройства выполнена, например, из тефлона, который не соединяется с заливочными материалами. Фиксирование катушечной обмотки альтернативно можно производить также с помощью подходяще сформованных вспомогательных инструментов, которые, например, зажимают или приклеивают к катушечной обмотке. Тем самым, например, заливку можно производить позднее вне гибочного устройства.
5. Катушечную обмотку можно, наконец, удалять из гибочного устройства.
В случае седловидной катушечной обмотки, изготовленной согласно этому способу с известным ленточным BPSCCO-материалом, от плоской дисковой катушки вплоть до готовой залитой и извлеченной из гибочного устройства катушечной обмотки не установлено никакого повреждения проводника.
Так же хорошо по этому способу можно изготавливать соответствующую изобретению седловидную катушечную обмотку также из снабженных покрытием YBCO-проводников. Возможно также, что технологию применяют для составных сложных проводников, в частности проводников типа Рэбеля, в случае, если требуются большие катушечные обмотки.
В вышестоящих примерах выполнения исходили из того, что соответствующая изобретению седловидная катушечная обмотка находится на при необходимости только воображаемой боковой поверхности Mf протяженного в длину полого цилиндра, такого как, например, ротор электрической машины, двигатель или генератор. Также речь может идти о боковой поверхности магнита, например физике высоких энергий. Выполнение соответствующей изобретению седловидной катушечной обмотки и способ ее изготовления, однако, не обязательно ограничены соответствующей формой боковой поверхности. Также являются хорошо возможными также отклоняющиеся от точной круглой формы поперечного сечения полого цилиндра формы поперечного сечения, такие как, например, более эллиптическая форма поперечного сечения, без обязательного появления чрезмерного растяжения сверхпроводников. Также прямое прохождение оси А трубы с боковой поверхностью Mf не должно обязательно соблюдаться. Дело в том, что известными являются также формы трубы с искривленной осью, которые можно снабжать седловидными катушечными обмотками, которые могут быть выполнены соответственно изобретению. Так при определенных магнитах ускорителей, например магнитах для так называемых “порталов” (“Gantrys”) ускорителей для терапии рака, применяют изогнутые катушечные обмотки. В этом случае продольные для вышестоящих примеров выполнения принятые прямыми участки обмотки изогнуты в плоскости катушки, чтобы пучок частиц мог перемещаться на круговой траектории. То есть ось А трубчатой боковой поверхности, которая покрыта седловидной катушечной обмоткой, может быть при необходимости также изогнутой.
Формула изобретения
1. Седловидная катушечная обмотка (2, 3, 13), которая сформована из плоской формы катушки (2′) типа беговой дорожки на трубчатой боковой поверхности (Mf) так, что она содержит аксиально проходящие на продольной стороне участки обмотки (2а, 2d; 3а, 3d) и проходящие между ними на торцовых сторонах участки обмотки (2b, 2с; 3b, 3c), образующие лобовые части обмотки, причем витки (Wi) катушечной обмотки образованы с по меньшей мере одним ленточным сверхпроводником (5), который своей узкой стороной (5а) обращен к трубчатой боковой поверхности (Mf), и в седловидной форме имеют соответственно длину периметра, которая является практически неизменной по сравнению с таковой в плоской форме катушки (2′), так что на трубчатой боковой поверхности (Mf) по меньшей мере один ленточный проводник (5) в витках (Wi) в области вершины участков обмотки (2b, 2с; 3b, 3с) на торцовых сторонах своей плоской стороной расположен с наклоном на угол наклона ( ) относительно нормали (N) на трубчатой боковой поверхности (Mf) в направлении к центру обмотки (Z) катушечной обмотки, причем угол наклона ( 1) при лежащем внутри витке (Wi) является меньшим, чем при лежащем снаружи витке (W4).
2. Катушечная обмотка по п.1, отличающаяся тем, что она выполнена с по меньшей мере одним чувствительным к растяжению ленточным сверхпроводником (5).
3. Катушечная обмотка по п.1 или 2, отличающаяся тем, что по меньшей мере один ленточный сверхпроводник (5) выполнен со сверхпроводящим материалом с высокой критической температурой Тc.
4. Катушечная обмотка по п.1, отличающаяся тем, что по меньшей мере один ленточный сверхпроводник является сверхпроводником (5) с высокой критической температурой Тc с материалом BPSCCO или YBCO.
5. Катушечная обмотка по п.1 или 2, отличающаяся тем, что по меньшей мере один ленточный сверхпроводник (5) выполнен со сверхпроводящим материалом MgB2.
6. Катушечная обмотка по п.1 или 4, отличающаяся тем, что по меньшей мере один ленточный сверхпроводник (5) выполнен с коэффициентом формы (ширина w/толщина d) по меньшей мере 3, предпочтительно по меньшей мере 5.
7. Катушечная обмотка по п.1 или 4, отличающаяся тем, что трубчатой боковой поверхностью (Mf) образована труба с круговым или эллиптическим поперечным сечением.
8. Катушечная обмотка по п.1 или 4, отличающаяся тем, что трубчатая боковая поверхность (Mf) является цилиндрической боковой поверхностью.
9. Катушечная обмотка по п.1 или 4, отличающаяся тем, что трубчатой боковой поверхностью (Mf) образована труба с изогнутой осью.
10. Катушечная обмотка по п.1, отличающаяся тем, что трубчатая боковая поверхность (Mf) образована несущим обмотку трубчатым телом.
11. Катушечная обмотка по п.1, отличающаяся тем, что соответствующая длина периметра (U) в форме седла отличается от таковой в плоской форме катушки самое большее на 0,4%, предпочтительно самое большее на 0,3%.
12. Катушечная обмотка по п.1 или 4, отличающаяся тем, что по меньшей мере один ленточный сверхпроводник (5) выполнен с коэффициентом формы (ширина w/толщина а) по меньшей мере 3, предпочтительно по меньшей мере 5, причем соответствующая длина периметра (U) в форме седла отличается от таковой в плоской форме катушки самое большее на 0,4%, предпочтительно самое большее на 0,3%.
13. Катушечная обмотка по п.1 или 4, отличающаяся тем, что радиальная высота (h) составляет по меньшей мере 10%, предпочтительно 30% диаметра трубы (D).
14. Катушечная обмотка по п.1 или 4, отличающаяся тем, что по меньшей мере один ленточный сверхпроводник (5) выполнен с коэффициентом формы (ширина w/толщина d) по меньшей мере 3, предпочтительно по меньшей мере 5, причем радиальная высота (h) составляет по меньшей мере 10%, предпочтительно 30% диаметра трубы (D).
15. Катушечная обмотка по п.1 или 4, отличающаяся тем, что она расположена во вращающейся машине или в магните ускорителя, таком как магнит портального ускорителя.
16. Способ изготовления седловидной катушечной обмотки (2, 3, 13), которая сформована из плоской формы катушки (2′) типа беговой дорожки на трубчатой боковой поверхности (Mf) так, что она содержит аксиально проходящие на продольной стороне участки обмотки (2а, 2d; 3а, 3d) и проходящие между ними на торцовых сторонах участки обмотки (2b, 2с; 3b, 3с), образующие лобовые части обмотки, причем витки (Wi) катушечной обмотки образованы с по меньшей мере одним ленточным сверхпроводником (5), который своей узкой стороной (5а) обращен к трубчатой боковой поверхности (Mf), и в седловидной форме имеют соответственно длину периметра, которая является практически неизменной по сравнению с таковой в плоской форме катушки (2′), так что на трубчатой боковой поверхности (Mf) по меньшей мере один ленточный проводник (5) в витках (Wi) в области вершины участков обмотки (2b, 2с; 3b, 3с) на торцовых сторонах своей плоской стороной расположен с наклоном на угол наклона ( ) относительно нормали (N) на трубчатой боковой поверхности (Mf) в направлении к центру обмотки (Z) катушечной обмотки, причем угол наклона ( 1) при лежащем внутри витке (Wi) меньше чем при лежащем снаружи витке (W4), причем в способе предусмотрены следующие этапы, а именно: выполнение плоской формы катушки (2′) из по меньшей мере одного предварительно изготовленного ленточного сверхпроводника (5), формование на трубчатую боковую поверхность (Mf) гибочного устройства (7) в седловидную форму посредством прессования, фиксирование витков (Wi) в седловидной форме.
17. Способ по п.16, отличающийся тем, что для по меньшей мере одного ленточного сверхпроводника предусмотрен сверхпроводник (5) с высокой критической температурой Тс с материалом BPSCCO или YBCO.
18. Способ по п.16, отличающийся тем, что по меньшей мере один ленточный сверхпроводник (5) выполнен с коэффициентом формы (ширина w/толщина d) по меньшей мере 3, предпочтительно по меньшей мере 5.
19. Способ по п.16, отличающийся тем, что для выполнения плоской формы катушки (2′) в области участков обмотки (2b’, 2с’) на торцовой стороне между соседними витками предусматривают промежутки так, что при и после формования имеет место практически неизменная длина периметра (U) отдельных витков (Wi).
20. Способ по п.17, отличающийся тем, что для выполнения плоской формы катушки (2′) в области участков обмотки (2b’, 2c’) на торцовой стороне между соседними витками предусматривают промежутки так, что при и после формования имеет место практически неизменная длина периметра (U) отдельных витков (Wi).
21. Способ по п.18, отличающийся тем, что для выполнения плоской формы катушки (2′) в области участков обмотки (2b’, 2с’) на торцовой стороне между соседними витками предусматривают промежутки так, что при и после формования имеет место практически неизменная длина периметра (U) отдельных витков (Wi).
22. Способ по п.16, отличающийся тем, что для выполнения плоской формы катушки (2′) в области участков обмотки (2b’, 2с’) на торцовой стороне между соседними витками предусматривают промежутки так, что при и после формования имеет место практически неизменная длина периметра (U) отдельных витков (Wi), и что для выполнения плоской формы катушки для дистанцирования соседних витков (Wi) вводят дистанционные распорки, которые снова удаляют перед шагом формования.
23. Способ по п.16 или 19, отличающийся тем, что для фиксирования витки (Wi) заливают или склеивают.
РИСУНКИ
|