|
|
(21), (22) Заявка: 2008121288/11, 27.05.2008
(24) Дата начала отсчета срока действия патента:
27.05.2008
(46) Опубликовано: 27.11.2009
(56) Список документов, цитированных в отчете о поиске:
RU 2316453 С1, 10.02.2008. GB 1181668 А, 18.02.1970. WO 2005010554 А1, 03.02.2005. US 4318076 А, 02.03.1982.
Адрес для переписки:
404110, Волгоградская обл., г. Волжский, ул. Свердлова, 37, кв.3, Э.Д.Житникову
|
(72) Автор(ы):
Житников Эдуард Дмитриевич (RU)
(73) Патентообладатель(и):
Житников Эдуард Дмитриевич (RU)
|
(54) УСТРОЙСТВО УПРАВЛЕНИЯ ГЕНЕРАТОРАМИ ГАЗОВОГО ПОТОКА НА ВЗЛЕТНО-ПОСАДОЧНОЙ ПОЛОСЕ
(57) Реферат:
Изобретение относится к аэродромной технике. Устройство управления генераторами газового потока включает установленные на общей оси флюгер, снабженный датчиком направления ветра, и расположенную перпендикулярно флюгеру поверхность давления, снабженную датчиком силы ветра. Устройство предназначено для управления генераторами газового потока для противодействия сносу самолета с взлетно-посадочной полосы боковым ветром. Изобретение направлено на повышение безопасности взлета и посадки самолета. 2 ил.
Изобретение относится к аэродромной технике, в частности к устройствам, противодействующим сносу самолетов боковым ветром в процессе взлета и посадки.
Известно устройство по патенту РФ 2316453, содержащее расположенные по бокам взлетно-посадочной полосы генераторы газового потока, которые при взлете и посадке самолетов в условиях бокового ветра направляют газовый поток против ветра, противодействуя сносу самолетов.
Также известно, что боковой ветер может менять свою скорость и направление в процессе посадки одного самолета, что требует применения управляющего устройства, способного в автоматическом режиме адекватно менять направление и силу генерируемого газового потока.
Задача изобретения – разработать конструкцию устройства, способного оперативно управлять генераторами газового потока, работающими в условиях бокового ветра, постоянно меняющего свои характеристики.
Требуемый технический результат достигается разработкой управляющего устройства, содержащего флюгер, снабженный датчиком направления ветра, и расположенную выше или ниже флюгера, перпендикулярно флюгеру, сблокированную с флюгером поверхность давления, воспринимающую давление ветра и снабженную датчиком силы ветра.
Датчик силы ветра может работать под установленной на поверхности давления чувствительной мембраной.
Датчик флюгера непрерывно передает команды генераторам газа относительно направленности газового потока противоположно направлению ветра, а датчик силы ветра передает команды генераторам для генерации адекватной мощности газового потока.
Приемные устройства шарнирно установленных генераторов принимают и в следящем режиме исполняют команды упомянутых датчиков.
Аналоги данного изобретения автору не известны.
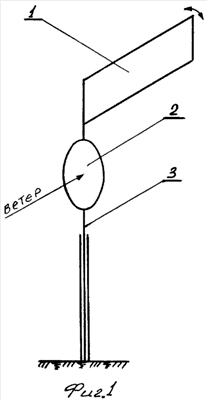
На фиг.1 схематично изображено предложенное устройство. На фиг. 2 показана работа устройства и генераторов газового потока при ветре, направленном перпендикулярно оси взлетно-посадочной полосы слева. Данное устройство содержит флюгер 1 и поверхность давления 2, установленные на общей оси 3.
Когда боковой ветер дует на ВПП слева, то работают генераторы правого ряда, а если ветер изменит свое направление на 180°, развернув при этом флюгер 1, то в работу автоматически включатся генераторы левого ряда.
При отсутствии бокового ветра управляющее устройство не действует, а генераторы создают над ВПП газовую подушку, облегчающую взлет самолетов, и обеспечивают дополнительное торможение в процессе пробега самолетов по ВПП.
Применение флюгерно-электронного устройства, автоматически управляющего генераторами газового потока, повысит безопасность взлетно-посадочных операций, производимых в условиях сильного бокового ветра.
Формула изобретения
Устройство управления генераторами газового потока, включающее установленные на общей оси флюгер, снабженный датчиком направления ветра, и расположенную перпендикулярно флюгеру поверхность давления, снабженную датчиком силы ветра, которые предназначены для управления генераторами газового потока для противодействия сносу самолета с взлетно-посадочной полосы боковым ветром.
РИСУНКИ
|
|