|
|
(21), (22) Заявка: 2008106437/09, 20.07.2006
(24) Дата начала отсчета срока действия патента:
20.07.2006
(30) Конвенционный приоритет:
20.07.2005 US 11/185,030
(46) Опубликовано: 27.11.2009
(56) Список документов, цитированных в отчете о поиске:
US 2003/0132288 A1, 17.07.2003. RU 2253150 С2, 27.05.2005. JP 9330456 А, 22.12.1997. JP 2000227932 A, 15.08.2000. KR 20010000395 A, 05.01.2001.
(85) Дата перевода заявки PCT на национальную фазу:
20.02.2008
(86) Заявка PCT:
US 2006/028034 20060720
(87) Публикация PCT:
WO 2007/013921 20070201
Адрес для переписки:
129090, Москва, ул.Б.Спасская, 25, стр.3, ООО “Юридическая фирма Городисский и Партнеры”, пат.пов. А.В.Мицу, рег. 364
|
(72) Автор(ы):
ИМ Сунг Бин (US)
(73) Патентообладатель(и):
ГОУЛДМАЙН УОРЛД, ИНК. д/б/а УОРЛД БЭНККАРД СЕРВИСИЗ (US)
|
(54) СПОСОБ И УСТРОЙСТВО ДЛЯ ПОЛЬЗОВАТЕЛЬСКОГО ВЫБОРА НА МНОЖЕСТВЕ ЯЗЫКОВ ДЛЯ ИНТЕРФЕЙСА ПОЛЬЗОВАТЕЛЯ СИСТЕМЫ
(57) Реферат:
Группа изобретений относится к средствам операций с использованием терминалов для кредитных и дебетовых карт. Техническим результатом является обеспечение отображения операций как на языке продавца, так и на языке покупателя. Терминал содержит процессор, дисплей, память, считыватель карт с данными, сохраненными на портативном запоминающем носителе. Интерфейс оператора отображается на дисплее на языке оператора, интерфейс покупателя создается программой интерфейса покупателя и выполняется процессором, интерфейс покупателя отображается на языке покупателя. Модуль идентификации языка сохраняется в памяти и выполняется процессором. Модуль идентификации языка выполнен с возможностью выбора языка оператора и выбора языка покупателя, которые отображаются для оператора и покупателя, соответственно. Языки оператора и покупателя выбираются из множества языков, сохраненных в модуле. Языки оператора и покупателя различаются. 4 н. и 22 з.п. ф-лы, 4 ил.
Ссылка на родственную заявку
Настоящая международная заявка испрашивает приоритет патентной заявки на изобретение США 11/185030, поданной 20 июля 2005 года, полное раскрытие которой включено в данный документ посредством ссылки.
Область техники
Настоящее изобретение относится к области терминалов для операций с кредитными картами, подходящих для использования в розничном бизнесе и бизнесе обслуживания питания и в других учреждениях, которые взаимодействуют с покупателями. Более конкретно, настоящее изобретение относится к торговым терминалам и операциям, когда клиенты бизнеса могут говорить на языке, отличном от языка, на котором разговаривает продавец, причем терминал для операций с кредитными картами обрабатывает операции на более чем одном языке и отображает правильный язык для покупателя и правильный язык для продавца.
Предшествующий уровень техники
Использование кредитной и дебетовой карты для проведения коммерческих операций между продавцами и покупателями в современной жизни происходит ежедневно. Легкость использования и повсеместная интеграция кредитных карт в повседневную жизнь являются такими, что многие клиенты не носят наличные деньги, а вместо этого полагаются на кредитные или дебетовые карты для всех покупок.
В то же время, увеличившаяся мобильность населения и глобализация приводит в результате к тому, что различные этнические группы управляют и контролируют бизнес, и в некоторых случаях продавец, управляющий терминалом для операций с картами, может не говорить на том же языке, что и клиент. Это может вызвать затруднение, если торговый терминал отображает только один язык, который либо продавец/оператор, либо клиент не могут понять. В таких случаях язык может стать барьером для совершения операции. Торговым учреждениям в многоэтнических областях и тем, чьи операторы могут не говорить на языке местной культуры, в которой они находятся, нужно учитывать как продавца, так и клиентов, предоставляя терминалы, используемые каждым из них.
В недавнем времени терминалы для кредитных карт были запрограммированы так, чтобы получать доступ к базе данных, серверу или запускать программу, которая может обеспечивать отображение и печать на одном языке на каждую операцию. Типично, этот язык был либо языком продавца, либо местным языком местоположения торгового учреждения. Клиент, который не говорит на языке, отображаемом терминалом для кредитных карт, не может полностью понять операцию и может не доверять сделке и отказаться от операции. Когда продавцу нужны инструкции для работы или необходимо диагностировать терминал, наличие отображения на языке продавца при печати отчетов или наличие клиентских отображений на языке клиента в настоящее время недоступно.
Традиционно, существует необходимость в возможности отображения терминалом для кредитных карт информации на языке продавца и в возможности отображения информации или печати отчета на языке клиента, так что обе стороны могут выполнить операцию с высоким уровнем комфорта.
Сущность изобретения
Соответственно, настоящее изобретение направлено на способ и устройство для пользовательского выбора на множестве языков для интерфейса пользователя системы, которые, по существу, устраняют одну или более проблем из-за ограничений и неудобств предшествующего уровня техники.
Целью настоящего изобретения является предоставить терминал для кредитных карт или дебетовых карт, который выполнен с возможностью отображать информацию на одном языке для продавца и печатать выписку и/или отображать информацию о коммерческой операции на другом языке, который соответствует языку покупателя.
Дополнительные признаки и преимущества изобретения будут частично изложены в описании, которое следует ниже, и частично будут явствовать из описания или могут быть изучены при практическом использовании изобретения. Цели и другие преимущества изобретения могут быть реализованы и достигнуты структурой, подробно показанной в описании и формуле изобретения, а также в прилагаемых чертежах.
Одним вариантом осуществления сущности изобретения является терминал для операций по кредитной карте и дебетовой карте, который включает в себя процессор, дисплей и память. Терминал также включает в себя считыватель карт, выполненный с возможностью считывать данные, сохраненные в запоминающем средстве портативного запоминающего носителя. Кроме того, интерфейс оператора создается программой интерфейса оператора, сохраненной в памяти и выполняемой процессором, причем интерфейс оператора имеет возможность отображения на дисплее на языке оператора. Терминал дополнительно содержит интерфейс покупателя, который создается программой интерфейса покупателя, сохраненной в памяти и выполняемой процессором, где интерфейс покупателя имеет возможность отображения на языке покупателя. Терминал дополнительно включает в себя модуль идентификации языка, сохраненный в памяти и выполняемый процессором, модуль идентификации языка выполнен с возможностью выбирать язык оператора, на котором интерфейс оператора отображается для оператора, и выбирать язык покупателя, на котором интерфейс покупателя отображается для покупателя, и где язык оператора и язык покупателя выбираются из множества языков, сохраненных в модуле, и язык покупателя и язык оператора являются разными.
Другим вариантом осуществления сущности изобретения является способ конфигурирования языка оператора, отображаемого на дисплее, в отображаемый язык покупателя для операции по кредитной или дебетовой карте, включающий в себя этапы идентификации языка оператора для интерфейса оператора, отображаемого на дисплее, из модуля идентификации языка, конфигурируемого из множества языков, где язык оператора предоставляется из программы интерфейса оператора. Способ включает в себя выбор языка оператора из множества языков, отображаемых на дисплее, из программы интерфейса оператора и сохранение языка оператора в памяти для отображения интерфейса оператора на дисплее на языке оператора. Способ также включает в себя считывание языка покупателя с портативного запоминающего носителя покупателя и идентификацию языка покупателя для интерфейса покупателя из модуля идентификации языка, конфигурируемого из множества языков, язык покупателя предоставляется из программы интерфейса покупателя и отображается. Способ также включает в себя выбор языка покупателя из множества языков из программы интерфейса покупателя и проведение коммерческой операции, где коммерческая операция включает в себя отображение интерфейса оператора на языке оператора на дисплее и отображение интерфейса покупателя на языке покупателя, где язык оператора и язык покупателя отличаются.
Другим вариантом осуществления сущности изобретения является машиночитаемый носитель, содержащий машиноисполняемые инструкции, включающие в себя выбор языка оператора, отображаемого на дисплее из множества языков, связанных с программой интерфейса оператора, и сохранение упомянутого языка оператора в памяти. Сущность изобретения дополнительно включает в себя считывание портативного запоминающего носителя для покупателя и идентификацию языка покупателя с портативного запоминающего носителя и выбор языка покупателя, отображаемого покупателю, из множества языков, связанных с программой интерфейса покупателя. Сущность изобретения также включает в себя отображение интерфейса оператора на языке оператора, предоставленном из программы интерфейса оператора, для проведения коммерческой операции и отображение интерфейса покупателя на языке оператора, предоставленном из программы интерфейса покупателя для проведения коммерческой операции.
Другим вариантом осуществления сущности изобретения является способ преобразования языка оператора, отображаемого на дисплее портативного терминала для кредитных или дебетовых карт, в язык покупателя для коммерческой операции, включающий в себя выбор языка оператора из множества языков, сохраненных в модуле идентификации языка, сохраненном в памяти, модуль идентификации языка, связанный с модулем идентификации языка оператора, выполнен с возможностью идентифицировать язык оператора, где язык оператора является отображаемым для интерфейса оператора оператору на дисплее, и сохранение языка оператора в памяти. Способ включает в себя считывание портативного запоминающего носителя покупателя и идентификацию из множества языков, сохраненных в модуле идентификации языка, языка покупателя, модуль идентификации языка, связанный с модулем идентификации языка покупателя, выполнен с возможностью идентифицировать язык покупателя, где язык покупателя отображается покупателю на печатающем механизме, причем, если язык покупателя не идентифицирован, тогда выбирается язык по умолчанию и отображается покупателю. Способ также включает в себя выбор языка покупателя из множества языков, сохраненных в модуле идентификации языка, сохраненном в памяти, модуль идентификации языка, связанный с модулем идентификации языка покупателя, выполнен с возможностью идентифицировать язык покупателя, причем язык оператора отображается покупателю. Способ также включает в себя отображение интерфейса оператора из программы интерфейса оператора на языке оператора на дисплее для оператора, чтобы провести коммерческую операцию, и отображение интерфейса покупателя из программы интерфейса покупателя на языке покупателя на печатающем механизме для проведения коммерческой операции, причем язык покупателя и язык оператора отличаются, и предоставление ввода покупателя, конфигурируемого так, чтобы предоставить ввод от покупателя, где интерфейс покупателя отображается на дисплее на языке покупателя для упомянутого ввода покупателя.
Другим вариантом осуществления сущности настоящего изобретения является механизм для конфигурирования коммерческой операции с использованием интерфейсного средства языка оператора для отображения языка оператора и интерфейсное средство языка покупателя для отображения языка покупателя, включающий в себя средство для выбора языка оператора из модуля идентификации языка терминала, сохраненного в памяти, выполненного с возможностью включать в себя множество языков, модуль идентификации языка терминала выполнен с возможностью идентифицировать язык оператора из средства идентификации языка, причем язык оператора отображается для продавца в интерфейсе оператора, и сохранения упомянутого языка оператора в памяти. Вариант осуществления дополнительно включает в себя средство для идентификации языка покупателя из считывания портативного запоминающего средства покупателя и средство выбора языка покупателя из средства идентификации языка покупателя, чтобы сохранить в памяти, выполненной с возможностью включать в себя множество языков, модуль идентификации языка покупателя выполнен с возможностью идентифицировать язык покупателя, на котором интерфейс покупателя отображается для покупателя. Вариант осуществления также включает в себя средство отображения языка оператора на интерфейсном средстве продавца для коммерческой операции и средство отображения языка покупателя на интерфейсном средстве языка покупателя, где язык покупателя отличается от языка оператора.
Должно быть понятно, что и упомянутое выше общее описание, и последующее детальное описание являются примерными и поясняющими и предназначены для обеспечения дополнительного объяснения изобретения, как заявлено.
Краткое описание чертежей
Иллюстрирующие чертежи, которые включены для обеспечения дополнительного понимания изобретения и составляют часть настоящей спецификации, иллюстрируют варианты осуществления изобретения и вместе с описанием служат для объяснения принципов, по меньшей мере, одного варианта осуществления изобретения.
На чертежах:
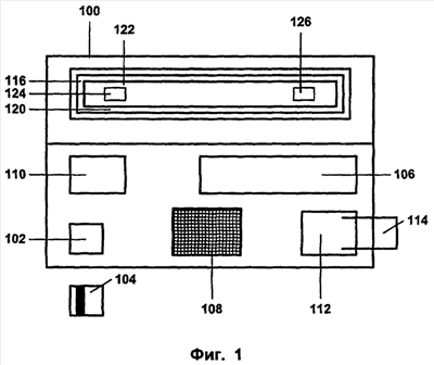
Фиг.1 является блок-схемой интерактивной системы для использования с портативным запоминающим носителем.
Фиг.2 является блок-схемой, изображающей способ использования в системе, которая предоставляет один язык для отображения интерфейса пользователя и другой язык для отображения интерфейса покупателя.
Фиг.3 является блок-схемой, изображающей способ использования в системе, которая предоставляет язык для отображения интерфейса пользователя сотруднику и другой язык для отображения на дисплее интерфейса пользователя и для покупателя во время коммерческой операции.
Фиг.4 является блок-схемой интерактивной системы для использования с портативным запоминающим носителем, где интерактивная система имеет больше, чем один дисплей.
Подробное описание предпочтительного варианта осуществления
Далее будет сделана подробная ссылка на предпочтительные варианты осуществления настоящего изобретения, примеры которых проиллюстрированы на прилагаемых чертежах.
В данном документе описаны один или более примерных осуществлений способа и устройства для использования с пользовательским выбором на множестве языков для интерфейса пользователя системы, который отображает разные языки для покупателя и сотрудника, принимающих участие в коммерческой операции.
Фиг.1 является блок-схемой одного варианта осуществления терминала 100 для кредитных или дебетовых карт (“терминал”) согласно сущности настоящего изобретения. Терминал 100 может быть подобен обычному терминалу для кредитных карт, но может быть стационарным, подобно установленному у кассового аппарата, или встроенным в него, или терминал может быть переносным, чтобы позволить продавцу переносить терминал для кредитных карт по торговому учреждению для его использования, а также для использования во многих местах на складе, в здании, на рынке, в ресторане и т.п. Терминал 100 имеет похожие признаки с большинством терминалов для кредитных карт, но также может быть, без какого-либо ограничения, персональным компьютером, рабочей станцией, простым терминалом или любым другим видом системы, используемой для проведения коммерческих операций в коммерческом окружении. В этом варианте осуществления терминал 100 будет обычным терминалом для кредитных карт, используемым в среднем розничном бизнесе. Признаки терминала включают в себя считыватель 102 карт, который выполнен с возможностью считывать портативный запоминающий носитель, который будет включать в себя любую форму кредитной карты, дебетовой карты, карты банкомата или подобной, которая имеет магнитную полосу, которая хранит информацию, принадлежащую владельцу карты 104. Считыватель 102 карты может принимать карту 104 любым физическим образом, например внутрь или через прокатывание, или может быть выполнен с возможностью считывать интегрированную микросхему (IC) или радиочастотное (RFID) запоминающее устройство без необходимости физически принимать карту 104. Например, вместо физического прокатывания карты 104 считыватель 104 карт может быть способен считывать RFID-память и проводить все необходимые этапы, чтобы провести коммерческую операцию, как если бы это была обычная кредитная карта. В данном варианте осуществления предполагается, что терминал 100 выполнен с возможностью внутреннего приема карты в терминал 100 через прокатывание, где считыватель 102 карт считывает полосу памяти на карте 102. Терминал 100 также имеет клавиатуру 108, которая предоставляет возможность ручного ввода пользовательских входных данных продавцом или в зависимости от коммерческой операции входных данных от покупателя. Входные данные пользователя могут включать в себя телефонные номера, пин-код покупателя для операций по дебетовой карте, номер кредитной карты в торговом учреждении, если по некоторой причине считыватель 102 карт не может считать карту 104 или входные данные пользователя, которые являются необходимыми, чтобы удовлетворять нуждам продавца. Клавиатура 108 может также использоваться для продавца, чтобы выбрать подходящий язык для отображения на дисплее 106 интерфейса пользователя, и клавиатура также может позволить продавцу выбрать язык, который должен быть напечатан на квитанции 114, как описано дополнительно ниже. Клавиатура 108 может быть любой формой средства ввода, включающего в себя клавиатуру, сенсорную панель, исполнительный механизм или подобное устройство.
Терминал 100 также имеет дисплей 106 интерфейса пользователя, который будет отображать или показывать информацию продавцу, которая будет иметь отношение к торговому учреждению и включает в себя время, дату, цены продаж и инструкции, чтобы ввести данные в подходящее время среди других объектов, которые могут быть отображены во время коммерческой операции терминалом для кредитных карт или когда терминал ожидает проведения коммерческой операции. Дисплей 106 интерфейса пользователя может быть любым видом дисплея, включающим в себя LCD, экран, телевизор, или экран компьютера или типичный монохромный экран, встроенный в терминал для кредитных карт. Терминал 100 дополнительно включает в себя процессор 110, который будет обрабатывать коммерческую операцию в подходящие системы и дисплеи, чтобы выполнить операцию. Процессор может также использоваться, чтобы обработать различные модули из памяти 108, и может также использоваться для продавца, чтобы выбрать подходящий язык для дисплея 106 интерфейса пользователя. Дисплей 106 интерфейса пользователя может также использоваться, чтобы отобразить информацию покупателю, или использоваться в качестве интерфейса покупателя, и, если дисплей 106 интерфейса пользователя используется или просматривается клиентом, то дисплей 106 интерфейса пользователя будет отображать подходящую информацию покупателю на языке покупателя. Как показано на фиг.4, может быть больше одного дисплея 106 интерфейса пользователя, если, например, торговое учреждение имеет дисплей, сконфигурированный в месте совершения коммерческих операций торгового учреждения так, чтобы иметь в распоряжении дисплей 150 продавца для отображения коммерческой операции продавцу или оператору, и дисплей 155 покупателя, чтобы отображать информацию покупателю.
Терминал 100 дополнительно может включать в себя принтер 112, который будет печатать квитанцию 114 для протоколирования коммерческой операции. Принтер 112 может быть некой другой формой интерфейса покупателя, который предоставит выписку о коммерческой операции покупателю. Такой интерфейс покупателя может быть принтером с квитанцией, компьютером, предоставляющим электронную или печатную квитанцию, сенсорным экраном или клавиатурой, допускающей покупателя к терминалу, или любой системой протоколирования, используемой в клиентском розничном бизнесе. Принтер 112 может быть также выполнен с возможностью печатать квитанцию 114 с местом для подписи в одном участке бумажного формата для покупателя и множеством копий, печатаемых принтером 112, формат двойной копии на копировальной бумаге для подписи покупателя, или любую другую форму, известную специалисту в области техники. В этом варианте осуществления предполагается, что клиентским интерфейсом является принтер 112, который будет печатать квитанцию 114, которая является форматом двойной копии на копировальной бумаге для оформления покупателем. Также, принтер 112 может не быть физически и внутренним образом связан с терминалом, а может быть соединен электронным средством, включающим в себя без ограничения Ethernet-соединение, широкополосное соединение, T-1 соединение, DSL, телефонные линии, беспроводные каналы, коаксиальные кабели или любой другой известный способ, обеспечивающий связь терминала 100 с принтером 112. Только в целях обсуждения предполагается, что принтер 112 будет внутренним образом соединен с терминалом 100, как показано на фиг.1. Квитанция 114, которая печатается принтером 112, отображает типичные документы, информацию и термины, которые обычно находятся на квитанции 114, которую продавец передаст покупателю для коммерческой операции, и включают в себя, но не ограничены этим, такие элементы как цена, название торгового учреждения, местоположение торгового учреждения и номер телефона, время коммерческой операции, строку для подписи покупателя, информацию о счете покупателя и любую другую возможную информацию, которая обычно включается в квитанцию кредитной карты. В заявленном изобретении вся эта информация будет на языке покупателя для удобства покупателя.
Терминал 100 также содержит память 116, которая хранит программы, используемые в типичной коммерческой операции, которая происходит на терминале для кредитных карт. Память 116 дополнительно хранит программу 120 языка интерфейса, которая формирует интерфейс оператора, который отображается на дисплее 106 интерфейса пользователя, для оказания помощи продавцу или оператору в коммерческой операции. Программа 120 языка интерфейса включает в себя модуль 122 идентификации языка, который используется программой 120 языка интерфейса, чтобы идентифицировать и выбирать подходящий язык, который должен быть отображен в интерфейсе 106 пользователя или квитанции 114. Модуль 122 идентификации языка выберет язык интерфейса для интерфейса оператора и выберет интерфейс покупателя посредством запуска двух подпрограмм в зависимости от задачи, которая должна быть выполнена. Каждая подпрограмма может использоваться отдельно для проведения коммерческой операции. Первая подпрограмма является модулем 124 идентификации языка терминала, которая запускается, чтобы идентифицировать, выбрать и отобразить подходящий язык для продавца на дисплее 106 интерфейса пользователя. Модуль 124 идентификации языка терминала может быть считан из сохраненной группы языков в памяти перед любой коммерческой операцией. Подпрограмма идентификации 124 языка терминала может быть запущена несколько раз, например во время первоначальной установки терминала продавцом или когда сотрудник, который говорит на одном языке, заменяется сотрудником, который говорит на другом языке, во время пересмены. Вторая подпрограмма является модулем 126 идентификации языка покупателя, которая запускается, чтобы идентифицировать, выбрать и отобразить подходящий язык для покупателя на квитанции 114, которая печатается принтером 112, или в любой другой форме интерфейса покупателя. Модуль 126 идентификации языка покупателя запускается похожим образом, что и модуль 124 идентификации языка терминала, в том, что он считывает из сохраненной группы языков из памяти 116 тот язык, который может быть отображен покупателю. Модуль 126 идентификации языка покупателя может запускаться, когда это необходимо, чтобы распечатать квитанцию 114 на языке покупателя для операции по кредитной или дебетовой карте, и может быть запущена несколько раз в день, час или неделю. Методология этих задач будет описана более подробно ниже.
Модуль 122 идентификации языка может иметь обширное множество языков для того, чтобы выбирать из них тот, который должен быть отображен в качестве языка интерфейса, будь это язык интерфейса оператора или интерфейса покупателя, для соответствующего продавца и покупателя. Модуль 124 идентификации языка терминала и модуль 126 идентификации языка покупателя связаны, чтобы запустить необходимый язык интерфейса, который должен быть отображен на дисплее интерфейса пользователя и/или квитанции. Множество языков, подходящих для языка интерфейса, будет ограничено только размером памяти, необходимой для сохранения языков, и расходами, связанными с переводом языка интерфейса для отображения на дисплее 106 интерфейса пользователя или отображения в интерфейсе покупателя или квитанции 112. Модуль 122 идентификации языка может включать в себя текстовое представление названия языка, или оно может быть в кодовой форме, которая согласуется процессором 110 или вычислительным устройством в терминале 100 для языка интерфейса, который должен быть отображен. Любое представление, которое может быть использовано, чтобы автоматически идентифицировать и отобразить подходящий язык интерфейса, может быть отображено на дисплее 106 интерфейса пользователя или отображено на квитанции 112.
Фиг.2 является блок-схемой, изображающей другой вариант осуществления способа для использования в системе, которая предоставляет один язык для дисплея 106 интерфейса пользователя и другой язык для отображения в интерфейсе покупателя или квитанции 114, которая печатается принтером 112. В этом варианте осуществления предполагается, что стационарный терминал для кредитных карт, как показано на фиг.1, расположен в учреждении розничной торговли, и предполагается, что карта является типичной кредитной картой с магнитной полосой, которая хранит имеющую отношение к покупателю информацию. Однако следует отметить, что это никоим образом не ограничивает применение изобретения каким-либо способом.
В блоке 200 продавец может выбрать и сохранить в памяти 116 язык продавца, используемый на дисплее 106 интерфейса пользователя, или может позволить языку по умолчанию отображаться на дисплее 106 интерфейса пользователя терминала 100 в деталях, которые описываются ниже. Терминал 100 может быть сконфигурирован для продавца так, чтобы использовать клавиатуру 108 и дисплей 106 интерфейса пользователя, чтобы найти среди множества языков те, которые предоставлены модулем 122 идентификации языка, посредством запуска подпрограммы модуля 124 идентификации языка терминала для отображения языка интерфейса для языка, который должен быть отображен на дисплее 106 интерфейса пользователя, иначе известного как язык оператора или язык продавца. Продавец использует клавиатуру 108, чтобы назначить или выбрать подходящий язык, необходимый для дисплея 106 интерфейса пользователя. Другие возможные варианты осуществления выбора языка интерфейса, который должен использоваться продавцом, имеют язык по умолчанию, выбранный для терминала 100 перед активацией терминала, который будет совпадать с языком продавца, или, возможно, имеют терминал 100, выполненный с возможностью обращаться к веб-сайту в интернете и загружать подходящий язык интерфейса оператора в модуль 122 идентификации языка и запускать модуль 124 идентификации языка терминала перед активацией терминала 100. Язык интерфейса для языка покупателя может быть выбран через модуль 126 идентификации языка покупателя и может быть найден и выбран тем же образом, за исключением того, что описано ниже. Терминал 100 может также быть выполнен с возможностью изменять продавцом язык интерфейса оператора, который должен отображаться на дисплее 106 интерфейса пользователя, с одного языка на другой, чтобы адаптировать операторов или пользователей, которые работают с терминалом для кредитных карт и которые могут говорить на разных языках, но работают в одном торговом учреждении.
В блоке 210 терминал 100 выполнен с возможностью принимать портативный запоминающий носитель типа кредитной карты с магнитной полосой, который разрешает считывателю 102 карт определить карту 104, когда она вставляется или прокатывается терминалом 100. Терминал 100 выполнен с возможностью считывать карту 104 и определять, был ли сохранен конкретный язык в памяти карты, как показано в блоке 220. Если существует связанный язык для карты 104, то модуль 122 идентификации языка и модуль 126 идентификации языка покупателя будут запущены, чтобы идентифицировать, определить и выбрать подходящий язык покупателя, как показано в блоке 230 (ветвь “Да” 235 к блоку 250), который может отображаться в интерфейсе покупателя или квитанции 114. Блок 250 демонстрирует, что интерфейс покупателя запускается для коммерческой операции, и квитанция 114 печатается принтером 112, связанным с терминалом 100. Кроме того, во время коммерческой операции блок 250, дисплей 106 интерфейса пользователя отображают язык интерфейса оператора, который соответствует языку продавца, и предоставляет продавцу инструкции, цены и другие термины и информацию, которая обычно встречается во время коммерческой операции, которая имеет место с использованием кредитной карты. Термины “язык оператора” и “язык продавца” используются взаимозаменяемо повсюду и имеют одинаковое значение. Квитанция 114 печатается на соответствующем языке покупателя, как показано в блоке 260. Квитанция 114 отображает обычную информацию, которую продавец передает покупателю для коммерческой операции, включая в себя без ограничения, такие элементы как стоимость, наименование торгового учреждения, местоположение торгового учреждения и номер телефона, время коммерческой операции, информацию о счете покупателя, строку подписи и любую другую возможную информацию, которая обычно включается в квитанцию кредитной карты, и все это будет отображаться на языке покупателя.
Если не существует языка, связанного с картой 104, или если язык, связанный с картой 104, существует (ветвь “Нет” 236 к блоку 240), но он не идентифицируется подпрограммой модуля 126 идентификации языка покупателя, то терминал идентификации языка покупателя выбирает язык по умолчанию, который будет отображаться на квитанции, как показано в блоке 240. Язык по умолчанию может быть отправлен процессору 110 для отображения в качестве языка интерфейса покупателя на квитанции (ветвь “DL” 245 к блоку 250). После того как произошла 250 коммерческая операция, квитанция 114 печатается из принтера 112, отображая обычную информацию, которую продавец передает покупателю, как детализировано выше, однако, квитанция 114 будет напечатана на языке по умолчанию. Язык по умолчанию может быть выбран продавцом как язык, который наиболее часто используется покупателями торгового учреждения, или язык продавца, или может быть выбран по любым другим критериям, которые по предположению продавца приемлемы и которые могут предоставить продавцу возможность лучше провести коммерческую операцию. После того как квитанция 114 была напечатана принтером 112, система вновь переустанавливается с блока 265 назад в блок 210 (ветвь “Сброс” 270 к блоку 210) подготовки нового покупателя для использования карты 102, которая активирует терминал, пока не существует необходимости изменить язык интерфейса терминала 100. Способ может также быть реализован так, что переустанавливается в блок 200, если пользователь, оператор или продавец, который говорит на одном языке с пользователем, заменяется оператором или продавцом, который говорит на другом языке, как показано в ветви 275.
Фиг.3 является блок-схемой, изображающей другой вариант осуществления способа для использования в системе, которая предоставляет один язык для дисплея 106 интерфейса пользователя для оператора и другой язык, который также может отображаться на дисплее 106 интерфейса пользователя. Могут быть случаи, когда покупателю может быть необходимо посмотреть дисплей 106 интерфейса пользователя, чтобы выполнить операцию. Например, вместо операции по кредитной карте клиент выбирает использование дебетовой карты, чтобы выполнить операцию, и на дисплее 106 интерфейса пользователя необходимо отобразить информацию на языке покупателя, чтобы выполнить коммерческую операцию. В этом варианте осуществления производится коммерческая операция для стационарного терминала для кредитных и дебетовых карт, как показано на фиг.1, расположенного в учреждении розничной торговли, при этом предполагается, что карта является типичной кредитной или дебетовой картой для терминала с принтером, который печатает квитанцию. Однако это никоим образом не ограничивает применение изобретения каким-либо способом. Блок-схема на фиг.3 подобна блок-схеме на фиг.2, кроме дополнительных этапов, связанных с предоставлением языка покупателя на дисплее 106 интерфейса пользователя.
В блоке 300 продавец может выбрать и сохранить в памяти 116 язык продавца, который должен использоваться на дисплее 106 интерфейса пользователя, который должен быть показан продавцу, или может отображать язык по умолчанию на дисплее 106 интерфейса пользователя терминала 100. Продавец может использовать клавиатуру 108 терминала 100, чтобы сконфигурировать язык, который должен отображаться продавцу на дисплее 106 интерфейса пользователя, или подобным образом, как детализировано для фиг.2.
В блоке 310 терминал 100 выполнен с возможностью принимать портативный запоминающий носитель типа кредитной карты с магнитной полосой, которая позволит считывателю 102 карт обнаружить карту 104, когда она вставляется или прокатывается терминалом 100. Терминал 100 выполнен с возможностью считывать карту 104, и дополнительно выполнен с возможностью определять, был ли сохранен отдельный язык в памяти карты, как показано в блоке 320. Подобно фиг.2 модуль 126 идентификации языка покупателя будет запущен, чтобы идентифицировать, определить и выбрать подходящий язык покупателя, как показано в блоке 330 (ветвь “Да” 336 к блоку 350), который должен быть отображен дисплеем 106 интерфейса пользователя и/или на квитанции 114. Однако чтобы выполнить операцию по дебетовой карте или некую операцию по кредитной карте, покупателю может быть необходимо ввести персональный идентификационный номер (“PIN”) на клавиатуре 108, чтобы верифицировать и подтвердить операцию для коммерческой операции, которая должна быть выполнена. Дисплей 106 интерфейса пользователя, показанный в блоке 365, отображает слова, информацию и выражения на языке продавца для участия продавца в коммерческой операции. В блоке 360 терминал 100 отображает на дисплее 106 интерфейса пользователя слова, информацию и выражения на языке покупателя для участия покупателя в коммерческой операции. Например, дисплей 106 интерфейса пользователя может отображать на языке покупателя необходимые уведомления, чтобы покупатель понимал, подтверждал, одобрял или проводил другие действия, которые помогут в выполнении операции через клавиатуру 108. Дисплей 106 интерфейса пользователя отображает всю обычную информацию покупателю, который выполняет операцию по дебетовой карте, включающую в себя ввод PIN-кода, возврат наличных и подобное, как показано в блоке 360, на языке покупателя. Блок 370 демонстрирует, что коммерческая операция произошла, и квитанция 114 может быть напечатана с принтера 112, как показано в блоке 380. Для коммерческой операции дисплей 106 интерфейса пользователя может переключаться с языка покупателя на язык продавца и обратно в зависимости от состояния операции и того, кто может смотреть на дисплей 106 интерфейса пользователя. Квитанция 114 будет отображать обычную информацию, которая может быть включена в квитанцию по дебетовой карте, и вся эта информация будет отображена на языке покупателя. После того как квитанция 114 была напечатана принтером 112, система вновь переустанавливается в блок 310 (ветвь “Сброс” 390 к блоку 310) подготовки нового покупателя для использования карты 102 (будь это кредитная или дебетовая карта) для коммерческой операции, которая активирует терминал 100, пока не существует необходимости изменить язык интерфейса для терминала 100. Способ может также быть реализован так, чтобы сбрасываться в блок 300, если пользователь, оператор или продавец, который говорит на одном языке с пользователем, заменяется оператором или продавцом, который говорит на другом языке, как продемонстрировано в ветви 295.
Опять же, если не существует языка, связанного с картой 104, или если язык, связанный с картой 104 (ветвь “Нет” 335 к блоку 340), существует, но язык не идентифицируется подпрограммой модуля 126 идентификации языка покупателя, то выбирается и отображается на квитанции 114 и дисплее 106 интерфейса пользователя язык по умолчанию. Опять подобно фиг.2 язык по умолчанию может быть отправлен процессору 110 для отображения на квитанции (ветвь “DL” 345 к блоку 350). В конце операции в блоке 380 принтером 112 печатается квитанция 114, отображающая обычную информацию, которую продавец передает покупателю, но квитанция 114 напечатана на языке по умолчанию. Как детализировано на фиг.2, язык по умолчанию может быть выбран продавцом как язык, который наиболее часто используется покупателями торгового учреждения, или язык продавца, или может быть выбран по любым другим критериям, которые по предположению продавца приемлемы и которые могут предоставить продавцу возможность лучше провести коммерческую операцию.
В то время как настоящее изобретение было описано подробно и со ссылкой на конкретные варианты его осуществления, специалистам в данной области техники должно быть понятно, что различные изменения и модификации могут быть сделаны в нем без отступления от сущности и объема изобретения. Таким образом, имеется в виду, что настоящее изобретение охватывает модификации и вариации этого изобретения, если они входят в объем прилагаемой формулы изобретения и ее эквивалентов.
Формула изобретения
1. Терминал для операций по кредитной карте и дебетовой карте, содержащий: процессор; дисплей; память; считыватель карт, выполненный с возможностью считывать данные, сохраненные в запоминающем средстве портативного запоминающего носителя; интерфейс оператора, созданный программой интерфейса оператора, сохраненной в памяти и выполняемой процессором, причем интерфейс оператора отображается на дисплее на языке оператора; интерфейс покупателя, созданный программой интерфейса покупателя, сохраненной в памяти и выполняемой процессором, причем интерфейс покупателя отображается на языке покупателя; и модуль идентификации языка, сохраненный в памяти и выполняемый процессором, при этом модуль идентификации языка выполнен с возможностью выбора языка оператора, на котором интерфейс оператора отображается для оператора, и выбора языка покупателя, на котором интерфейс покупателя отображается для покупателя, причем упомянутый язык оператора и упомянутый язык покупателя выбираются из множества языков, сохраненных в упомянутом модуле, и упомянутый язык покупателя и упомянутый язык оператора различаются, и при этом информация сопровождения операции представляется оператору на языке оператора и пользователю на языке пользователя, как часть операции.
2. Терминал по п.1, в котором модуль идентификации языка предоставляет возможность выбора языка оператора из множества языков, сохраненных в модуле идентификации языка.
3. Терминал по п.1, дополнительно содержащий печатающий механизм.
4. Терминал по п.3, в котором печатающий механизм является принтером.
5. Терминал по п.4, в котором принтер выдает запись.
6. Терминал по п.1, в котором модуль идентификации языка предоставляет возможность выбора языка покупателя из множества языков, сохраненных в модуле идентификации языка.
7. Терминал по п.6, в котором устройство пользовательского ввода выполняется с возможностью выбора языка покупателя для отображения интерфейса покупателя покупателю.
8. Терминал по п.1, в котором упомянутый терминал является переносным.
9. Терминал по п.1, в котором упомянутый терминал является стационарным.
10. Терминал по п.1, причем портативный запоминающий носитель дополнительно содержит карту с интегральной микросхемой.
11. Терминал по п.1, причем портативный запоминающий носитель дополнительно содержит карту, имеющую магнитную полосу.
12. Терминал по п.1, дополнительно содержащий множество дисплеев.
13. Терминал по п.1, в котором данные, сохраненные на портативном запоминающем носителе, содержат идентификатор языка, который идентифицирует язык покупателя, предпочитаемый клиентом.
14. Терминал по п.1, в котором данные, сохраненные на портативном запоминающем носителе, содержат идентификатор языка, который идентифицирует язык покупателя, предпочитаемый оператором.
15. Способ сопровождения операции с кредитной и дебетовой картой, содержащий этапы, на которых: сохраняют информацию сопровождения операции на множестве языков в модуле идентификации языка; предоставляют оператору возможность выбрать язык оператора из одного из множества языков, на которых информация сопровождения операции сохранена в модуле идентификации языка; сохраняют язык оператора в памяти для отображения интерфейса оператора на дисплее на языке оператора; считывают портативный запоминающий носитель покупателя; идентифицируют язык покупателя из портативного запоминающего носителя покупателя; выбирают язык покупателя, причем язык покупателя выбирается на основе идентифицированного языка покупателя из множества языков, на которых информация сопровождения операции сохранена в модуле идентификации языка; и проводят коммерческую операцию, при этом коммерческая операция содержит отображение интерфейса оператора на языке оператора на дисплее и отображение интерфейса покупателя на языке покупателя, причем язык оператора и язык покупателя различаются.
16. Способ по п.15, в котором интерфейс покупателя отображается на дисплее.
17. Способ по п.15, дополнительно содержащий этап, на котором распечатывают квитанцию для покупателя на языке покупателя, причем квитанция содержит запись операции.
18. Способ по п.15, в котором язык по умолчанию выбирается как язык покупателя, когда модуль идентификации языка не содержит информации сопровождения операции на языке покупателя, считанном из портативного запоминающего носителя.
19. Способ по п.15, дополнительно содержащий этап, на котором считывают язык оператора по умолчанию из памяти перед предоставлением оператору возможности выбрать язык оператора.
20. Машиночитаемый носитель, содержащий машиноисполняемые инструкции, причем машиноисполняемые инструкции содержат инструкции для: сохранения информации сопровождения операции на множестве языков в модуле идентификации языка; выбора языка оператора из множества языков, в которых информация сопровождения операции сохранена в модуле идентификации языка; сохранения упомянутого языка оператора в памяти; считывания портативного запоминающего носителя покупателя; идентификации предпочтительного языка покупателя из портативного запоминающего носителя покупателя; выбора языка покупателя из множества языков, на которых информация сопровождения операции сохранена в модуле идентификации языка на основе предпочтительного язык покупателя, идентифицированного из портативного запоминающего носителя покупателя; отображения интерфейса оператора на дисплее на языке оператора для проведения коммерческой операции и отображения интерфейса покупателя на дисплее на языке покупателя для проведения коммерческой операции.
21. Способ по п.20, в котором интерфейс покупателя отображается на дисплее.
22. Способ по п.20, в котором язык по умолчанию выбирается как язык покупателя, если модуль идентификации языка не содержит информации сопровождения операции на предпочтительном языке покупателя.
23. Способ по п.20, дополнительно содержащий этап, на котором распечатывают квитанцию для покупателя на языке покупателя, причем квитанция содержит запись операции.
24. Способ сопровождения коммерческой операции между оператором, причем оператор владеет языком оператора, и покупателем, причем покупатель владеет языком покупателя, причем язык покупателя и язык оператора различаются, и коммерческая операция сопровождается отображением информации на терминале кредитной и дебетовой карты, при этом способ содержит этапы, на которых: сохраняют информацию сопровождения операции на множестве языков в модуле идентификации языка; предоставляют оператору возможность выбрать язык оператора из множества языков, на которых информация сопровождения операции сохранена в модуле идентификации языка; сохраняют выбранный язык оператора в памяти; считывают предпочтительный язык покупателя из портативного запоминающего носителя покупателя; определяют, является ли предпочтительный язык покупателя одним из множества языков, на которых информация сопровождения операции сохранена в модуле идентификации языка, причем предпочтительный язык покупателя выбирается как язык покупателя, если предпочтительный язык покупателя является одним из множества языков, на которых информация сопровождения операции сохранена в модуле идентификации языка, а если предпочтительный язык покупателя не является одним из множества языков, сохраненных в модуле идентификации языка, то в качестве языка покупателя выбирается язык по умолчанию; предоставляют покупателю возможность подтвердить выбранный язык покупателя; отображают интерфейс оператора из программы интерфейса оператора на языке оператора на первом дисплее, на котором оператор может провести коммерческую операцию; и отображают интерфейс покупателя из программы интерфейса покупателя на языке покупателя на втором дисплее для проведения коммерческой операции, причем язык покупателя и язык оператора различаются, и интерфейс покупателя отображается на втором дисплее на языке покупателя для приема ввода от покупателя.
25. Способ по п.24, дополнительно содержащий этап, на котором распечатывают квитанцию для покупателя на языке покупателя, причем квитанция содержит запись операции.
26. Способ по п.24, в котором первый дисплей и второй дисплей являются одним и тем же дисплеем.
РИСУНКИ
|
|