|
|
(21), (22) Заявка: 2006141791/09, 06.05.2005
(24) Дата начала отсчета срока действия патента:
06.05.2005
(30) Конвенционный приоритет:
07.05.2004 FR 04/04987
(43) Дата публикации заявки: 20.06.2008
(46) Опубликовано: 27.11.2009
(56) Список документов, цитированных в отчете о поиске:
JP 9311888 А, 02.12.1997. RU 2155990 С2, 10.09.2000. US 6134561 А, 17.10.2000. WO 0108060 A1, 01.02.2001. JP 2000149135 A, 30.05.2000. JP 5201489 A, 10.08.1993.
(85) Дата перевода заявки PCT на национальную фазу:
07.12.2006
(86) Заявка PCT:
EP 2005/004929 20050506
(87) Публикация PCT:
WO 2005/109262 20051117
Адрес для переписки:
107061, Москва, Преображенская площадь, д.6, Фирма патентных поверенных ООО “ИННОТЭК”, пат.пов. О.В.Аргасову
|
(72) Автор(ы):
ПЭР Дени (BE), ЛИВЕНС Даниэль (BE)
(73) Патентообладатель(и):
КИАЛА СА (BE)
|
(54) ТЕРМИНАЛ И СЕРВЕР ДЛЯ УПРАВЛЕНИЯ ОБМЕНОМ ТОВАРОВ В ПУНКТЕ ДОСТАВКИ ТОВАРОВ
(57) Реферат:
Изобретение представляет собой терминал и сервер, осуществляющие управление обменом товаров в пункте доставки. Техническим результатом заявленного изобретения является автоматизация операций по замене, гарантия осуществления такой замены, упрощение контроля и этикетирования возвращенной продукции. Для этого терминал для управления обменом в пункте доставки товаров выполнен с возможностью принимать информацию о товаре для доставки, включая информацию о необходимости обмена товара для доставки на возвращенный товар. Терминал содержит принимающие устройства для приема с сервера информации о товаре для доставки, устройства считывания кода товара для доставки и устройства для ввода в память терминала кода возвращенного товара, преимущественно выбранного произвольно. А также устройства для авторизации доставки только в том случае, когда код возвращенного товара был введен в память устройства для ассоциирования кода возвращенного товара с кодом доставленного товара, а также сервер для управления обменом товаров в пункте доставки товаров. 2 н. и 5 з.п. ф-лы, 4 ил.
Настоящее изобретение представляет собой терминал и сервер, осуществляющие управление обменом товаров в пункте доставки. В данном описании термин «товар» означает товар промышленного производства, товар в упаковке (посылка), какой-либо вид товара, и, в целом, любой предмет, который может быть доставлен.
Существующие в настоящее время терминалы и серверы, предназначенные для управления в пункте доставки, включают устройства приема, посредством сервера, информации относительно поставляемой продукции, а также устройства считывания кода поставляемой продукции.
Данные серверы включают устройства, запоминающие информацию относительно доставляемых товаров и передающие эту информацию на терминал, находящийся в пункте доставки.
Таким образом, благодаря этому терминалу, оператор пункта доставки получает информацию о доставляемых товарах, в частности о получателе этой продукции и коде. Эта информация передается на терминал через сервер.
ОПИСАНИЕ ПРЕДШЕСТВУЮЩЕГО УРОВНЯ ТЕХНИКИ
Когда получатель доставляемых товаров приходит в пункт доставки и предъявляет удостоверение личности, терминал дает считывающему устройству команду прочитать код, например штрих-код товара. Как только код прочитан, получатель товара должен поставить подпись.
Основным преимуществом подобных терминалов является автоматизация тех операций, которые, в основном, выполняются вручную и при выполнении которых не исключены ошибки. Автоматизация позволяет также отслеживать движение товара в сбытовой сети.
Современные системы гарантии позволяют потребителю, в случае повреждения товара, получить взамен новый товар. Для этого потребитель должен вернуть бракованный товар в специализированную службу продавца. Тем не менее после получения нового товара потребитель может не выполнить свое обязательство по возврату бракованного товара.
Это оборачивается для продавца убытками.
Кроме того, система сбыта продукции требует сложной организации процесса контроля, а в случае замены эта сложность возрастает.
Целью настоящего изобретения является автоматизация операций по замене, гарантия реального осуществления такой замены, упрощение контроля и этикетирования возвращенной продукции.
Оно касается терминала, предназначенного для приема информации относительно доставляемого товара, включая информацию о том, что доставляемый товар идет взамен возвращенного товара, а также код доставляемого товара. Этот терминал также включает устройства для запоминания кода возвращенного товара, устройства авторизации поставки при условии ввода в память кода возвращенного товара, а также устройства ассоциирования кода возвращенного товара и кода доставленного товара.
Таким образом, терминал позволяет контролировать процесс возврата товара, что исключает проблемы с клиентами, которые, получив взамен новый товар, не возвращают бракованный товар. Терминал обеспечивает также гарантию реального обмена и способствует автоматизации процесса обмена.
Кроме того, путем ассоциирования кода возвращенного товара и кода поставленного товара, можно контролировать процесс возврата товара с тем, чтобы знать, например, причину необходимости замены. Более того, код возвращенной продукции может оказаться недостоверным. Например, этикетка с номером самого товара была наклеена на возвращенный товар непосредственно в момент возврата в пункте доставки. Таким образом, ассоциирование кода возвращенного товара и кода товара, предназначенного для доставки, позволяет упростить процедуру этикетирования возвращенного товара.
В зависимости от способа реализации код поставленного товара связан с информацией относительно замены, в частности, данными клиента, видом неисправности, типом проблемы или замены.
Как правило, речь идет о коде заказа клиентской службы, например номере замены. Этот код создается в тот момент, когда клиент обращается к продавцу или в службу сервисного обслуживания с какой-либо проблемой относительно товара. Тогда продавец создает код заказа с карточкой, в которой указаны вид товара, данные клиента, тип неисправности или проблемы, или замены.
В зависимости от способа реализации терминал включает устройства распознавания кода, введенного, например, вручную, который указывает, подлежит ли возвращенный товар замене или нет.
Такой код, сообщенный терминалу, позволяет, например, определить вид нужной операции. Действительно, терминал может осуществлять множество операций, таких как обмен, возврат, обычная доставка товара. Сообщенный таким образом код, например, клиенту, с информацией о наличии интересующего его товара, а затем переданный вручную на терминал, позволяет ему распознать вид нужной операции и задействовать соответствующие устройства.
В зависимости от способа реализации терминал включает устройства обмена информацией с сервером относительно возвращенного и доставленного товара в течение определенного периода времени, например, во время работы в ночь.
Данное изобретение касается также сервера, включающего, ко всему прочему, известные устройства управления пунктами доставки, устройства для передачи справочной информации о каждом товаре, подлежащем доставке с той целью, чтобы этот товар был доставлен только одновременно с возвратом товара в пункт доставки, а также устройства для передачи этой информации в соответствии с кодом поставляемого товара на терминал пункта доставки.
В зависимости от способа реализации сервер включает устройства для приема с терминала кода возвращенного товара, ассоциированного с кодом доставленного товара.
Распознавание сервером кода, соответствующего возвращенному товару, позволяет ему отслеживать прохождение возвращенного товара через сеть возврата пункта доставки в специализированный центр сети возврата продавца.
В зависимости от способа реализации сервер включает устройства для передачи клиенту информации о наличии товара в пункте доставки.
В зависимости от способа реализации сервер включает устройства для передачи клиенту кода, сообщающего либо об обычном возврате, либо об обычной доставке, либо о замене, который распознается терминалом в пункте доставки.
В представленном ниже описании можно будет ознакомиться с другими характеристиками и преимуществами настоящего изобретения, которые не ограничиваются данным описанием, а также с соответствующими чертежами, представляющими:
фиг.1 – терминал в соответствии с изобретением;
фиг.2 – сервер в соответствии с изобретением;
фиг.3 – иллюстрация сценария обмена с помощью терминала и сервера в соответствии с изобретением;
фиг.4 – иллюстрация операции обмена с помощью терминала в соответствии с изобретением.
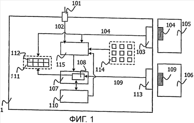
На фиг.1 представлена схема терминала 1 в соответствии с изобретением. Назначение данного терминала – упростить управление пунктом доставки товаров. Такой пункт доставки представляет, как правило, объект, предназначенный для приема клиентов, наделенный правом доставки товаров, что не является обязательным в связи с основной деятельностью данного объекта. Удачным вариантом такого места доставки является магазин с широким временным диапазоном работы. Действительно, главной проблемой любой доставки является необходимость присутствия клиента, которому должен быть доставлен товар, у себя дома. Эта необходимость часто не совпадает с необходимостью выполнения своих профессиональных обязанностей. Такие заведения, как бакалейные магазины, агентства недвижимости, туристические агентства, газетные киоски, станции технического обслуживания, магазины подарков устанавливают, как правило, более гибкий и продолжительный график работы, чем традиционные службы доставки, они работают и в субботу, а иногда даже и в воскресенье. На базе таких заведений является целесообразным создание сети пунктов доставки. Более того, можно без труда создать разветвленную сеть, позволяющую клиенту выбрать ближайший от его места жительства и работы пункт доставки. Это имеет еще большее практическое значение для клиента, когда ему необходимо вернуть бракованный товар для обмена, что является основой данного изобретения.
Клиенту также будет проще выбрать удобный момент для получения товара, так как товар доступен без временных ограничений, за исключением установленного графика работы магазина/пункта доставки, и срока хранения товара.
Наконец, клиент экономит время в случае, если магазин/пункт доставки также является местом, где он может сделать покупки, например, приобрести продукты питания или бензин. Клиент может также заказать доставку товаров от разных продавцов в одном пункте доставки, что является дополнительной экономией времени.
Такие магазины оборудованы терминалами в соответствии с изобретением.
Терминал 1 в соответствии с изобретением включает принимающие устройства 101 для приема с сервера информации 102 относительно товара, предназначенного для доставки 105, а также устройства считывания 103 кода 104 товара, предназначенного для доставки 105. Устройства считывания 103 могут с успехом применяться для сканирования этикеток, в частности этикеток со штрих-кодом.
Терминал 1 может принимать информацию 102 относительно доставляемого товара 105, включая информацию о том, что товар для доставки 105 предназначен для обмена вместо возвращенного товара 106. Кроме того, он включает устройства 107 для ввода в память 108 данного терминала кода 109 относительно возвращенного товара 106, а также устройства 110 для авторизации доставки сразу же после ввода кода 109 возвращенного товара 106 в память 108. Используемые устройства функционируют в соответствии с системой управления доставкой 115, которая объединяет, внутри терминала, данные, собранные различными элементами терминала. Эта система управления доставкой 115 связана с интерфейсом, например, графическим, как представлено на фиг.4.
Терминал 1 в соответствии с изобретением включает устройства 111 для ассоциирования кода 109 возвращенного товара с кодом 104 доставленного товара 105. Эти устройства сведены в таблицу 112, отражающую соответствия между различными кодами 109 относительно возвращенных товаров 106 и кодами 104 относительно доставленных товаров 105.
Данные устройства 111 используются, в частности, когда на возвращенном товаре отсутствуют какие-либо характеристики. Действительно, использование этих устройств 111 позволяет определить достоверный код возвращенного товара. В частности, при применении изобретения, в распоряжении управляющего пунктом доставки имеются этикетки для наклеивания на возвращенные товары. Такая этикетка содержит определенный штрих-код. При ассоциировании этикетки, а именно при наклеивании на возвращенный товар, она может быть просканирована с помощью считывающих устройств 113, которые, впрочем, можно перепутать с устройствами считывания 103. Этикетка может быть представлена двумя частями, которые содержат штрих-код, одна часть ассоциирована с возвращенным товаром, а вторая предназначена для клиента в качестве доказательства о проведенной операции. Таким образом, данное изобретение позволяет осуществить возврат бракованных товаров, на которых отсутствует специальный код, присвоенный перед операцией по возврату.
Терминал, в соответствии с изобретением может также включать устройства 114 для распознавания кода, введенного вручную, который указывает, подлежит ли возвращенный товар обмену. Этот введенный вручную код определяет вид осуществляемой операции, а именно обмена, доставки, возврата товаров. Он, например, сообщается клиенту во время передачи информации о наличии товара в пункте доставки. Одновременно клиенту напоминается о том, что он должен привезти товар в пункт доставки для обмена.
На фиг.2 представлена схема сервера 2, в соответствии с изобретением. Подобный сервер 2 предназначен для контроля доставки товара с соответствующим кодом в пункте доставки. Сервер 2 включает устройства 201 для запоминания информации 202 относительно доставляемого товара, а также устройства 203 для передачи этой информации на терминал, установленный в месте доставки.
Кроме того, сервер 2 включает устройства 204 для присвоения каждому товару, подлежащему доставке, справочной информации 205 о том, что данный товар может быть доставлен только одновременно с возвратом предыдущего товара в пункт доставки, а также устройства 206 для передачи этой информации с кодом товара для доставки на терминал пункта доставки. Справочная информация о том, что данный товар может быть доставлен только одновременно с возвратом предыдущего товара в пункт доставки, содержит код товара для доставки в таблице, сформированной сервером. Данная таблица передается на терминал. Таким образом, как только код товара для доставки просканирован терминалом, получившим информацию об этом товаре, терминал распознает таблицу и активирует устройства для сканирования возвращенного товара.
На фиг.3 представлена дальнейшая хронология событий в ходе обмена товара с помощью терминала и сервера, в соответствии с изобретением. На этой схеме информационные потоки обозначены сплошными маленькими стрелками, а физические потоки отмечены более широкими стрелками. В последующем описании потоки отмечены ссылкой в скобках, соответствующей стрелке на фиг.1.
Клиент 3 звонит (301) продавцу 4, чтобы сообщить на узел связи продавца, что находящийся в его распоряжении товар 6, например принтер, цифровой фотоаппарат, неисправен. Как правило, в этом случае узел связи продавца 4 осуществляет проверку информации о товаре на основании диалога между оператором и клиентом. Затем если подтверждается достоверность информации, принимается решение о том, что товар 6 должен быть заменен.
В этом случае узел связи продавца 4 формирует досье с кодом управления. Если клиент хочет произвести обмен в пункте доставки, оборудованном терминалом 1 в соответствии с изобретением, который управляется с помощью сервера 2 в соответствии с изобретением, узел связи продавца 4 выбирает пункт доставки и создает, с помощью кода управления, этикетку для товара, подлежащего доставке.
Код управления содержит информацию о том, что товар должен быть доставлен взамен возвращенного товара. Этикетка также может содержать информацию относительно обмена, в частности, о виде товара, типе неисправности, проблеме и необходимости замены, пункте доставки, данных о товаре и/или о клиенте, имя клиента Таким образом код товара для доставки связан с этой информацией.
Продавец 4 посылает информацию (302) на сервер 2 о том, что товар будет отправлен в распределительный центр 5, соединенный с сервером 2. Таким образом, в распределительный центр поступает информация (303) о том, что товар направляется продавцу 4. Товар для доставки поступает (304) в распределительный центр 5. Как только товар прибывает в распределительный центр, информация (305) об этом поступает на сервер 2. С сервера 2 информация (306) о том, что товар направляется в распределительный центр 5, поступает уже в пункт доставки 1. Из распределительного центра 5 товар направляется (307) в пункт доставки 1. Как только товар прибыл в пункт доставки 1, информация об этом (308) поступает на сервер 2. Сервер 2 информирует (309) клиента 3 о том, что его товар находится в пункте доставки 1. Данная информация может также передаваться по телефону, SMS, e-mail и т.д. Одновременно клиенту 3 напоминается о том, что он должен привезти бракованный товар в пункт доставки 1, чтобы взамен получить новый товар.
Необходимо также проинформировать продавца (310) о том, что товар для доставки прибыл в пункт доставки 1.
Затем клиент направляется (311) в пункт доставки с бракованным товаром. Терминал в соответствии с изобретением, находящийся в пункте доставки, позволяет осуществить гарантированную операцию по обмену. Эта операция подробно представлена на фиг.4. Клиент покидает пункт доставки (312) с новым товаром. Сигнал о доставке нового товара (313) поступает на сервер 2. Сервер информирует об этом (314) распределительный центр 5, а также (315) продавца 4. Таким образом, возвращенный товар направляется (316) из пункта доставки 1 в распределительный центр 5, а затем уже в службу продавца 4.
Поступление информации в распределительный центр, на сервер и к продавцу осуществляется по аналогичному принципу с целью контроля прохождения бракованного товара в обратном направлении цепи. Данная схема обмена информацией не представлена на фиг.1, так как она ясна и не вызывает трудности.
В общем если правильно соблюдать путь прохождения товаров, информация, содержащаяся на товаре, должна сканироваться каждый раз, когда товар (для доставки или возврата) прибывает по новому месту назначения. Как показано на фиг.3, такими местами являются распределительный центр, пункт доставки или продавец.
Эта отсканированная информация возвращается на сервер 4, который осуществляет ее централизацию и может, в случае необходимости, переслать ее в распределительный центр, пункт доставки или продавцу. Таким образом, на сервере 4 содержится вся информация о проведенных операциях.
Движение информации осуществляется путем ночной автоматической синхронизации. В данном случае может применяться любой метод автоматической синхронизации, программируемой или нет. В частности, в случае непрограммируемой синхронизации, она может автоматически отключаться после определения действия, например изменения в перечне товаров.
Методы ручной синхронизации также могут иметь свои преимущества. В частности, в момент прибытия товара в пункт доставки, например, утром, товар сканируется и полученная информация запоминается терминалом. Эта информация передается на сервер с помощью ручной синхронизации. В данном случае также может применяться синхронизация, которая отключается автоматически.
На фиг.4 проиллюстрирован обмен товара, осуществленный посредством терминала в соответствии с изобретением. Такой терминал включает графический интерфейс, например экран. Могут использоваться и другие виды интерфейсов, например обычная клавиатура с такими клавишами, которые позволяют осуществлять обработку данных для управления проводимыми операциями.
На фиг.4а представлен приемный экран терминала.
Этот экран предоставляет многочисленные способы обработки информации для проведения различных операций: поставки товара, возврата товара, обработки товара при поступлении из распределительного центра, отправки в распределительный центр товаров с просроченным сроком хранения. Могут быть представлены и другие опции, в частности, выбор языка или команды для ручной синхронизации с сервером.
На фиг.4б представлен экран, когда на первом приемном экране была выбрана операция «доставка».
Оператор пункта доставки может выбрать два пути: найти товар в перечне или ввести данные клиента для определения доставляемого товара. Клиент называет свое имя Х и, по выбору, имя Y продавца, с которым он общался по поводу обмена своего товара.
Оператор находит нужный товар для доставки с помощью имени клиента и сканирует этикетку этого товара.
Если товар содержит справочную информацию о том, что товар должен быть доставлен только одновременно с возвратом другого товара в пункт доставки, появляется окошко, как представлено на фиг.4с. Появление данного окошка означает, что оператор должен просканировать возвращенный клиентом товар, чтобы продолжить доставку.
Оператор сканирует возвращенный товар, затем появляется экран, как представлено на фиг.4d. На экране появляется код возвращенного товара, который запоминается терминалом.
Если при сканировании код не обнаружился, терминал не переходит к последующим операциям, а операция обмена отменяется. Доставка товара не может быть осуществлена. Оператор, нарушающий данное условие, несет за это ответственность. В этом случае появляется приемный экран (фиг.4а), и терминал готов для осуществления следующей операции.
Необходимо рассмотреть еще один случай, когда клиент привозит товар, который он хочет заменить. В этом случае в первую очередь активируются устройства для ввода в память кода возвращенного товара путем выбора на приемном экране опции «возврат». Затем, перед сканированием на возвращенный товар (или его упаковку) наклеивается этикетка. У клиента запрашивается имя продавца.
Существует несколько способов. Либо продавец выбирает только один вид операции, например обмен, и в этом случае на экране появляется подтверждение операции обмена. Либо продавец выбирает несколько операций, таких как обмен и возврат. Затем необходимо ввести код, указывающий вид осуществляемой операции.
Этот код, как упоминалось ранее, был сообщен клиенту. В случае операции обмена появляется окно с сообщением: «посылка для обмена». Просканируйте посылку для доставки». Оператор пункта доставки использует персональные данные клиента (имя, фамилию), чтобы найти посылку для доставки. Затем оператор сканирует эту посылку. Используются те же устройства терминала. Меняется только порядок обработки.
Наконец, когда оба товара просканированы, оператор выбирает на экране команду «завершить», чтобы закончить операцию обмена. Как показано на фиг.4е, персональные данные клиента и проверенная информация о достоверности этих данных передаются на терминал. Затем, для подтверждения надежности операции, у клиента запрашивается подпись, как представлено на фиг.4f.
Описание чертежей представлено в качестве характеристики данного изобретения, в соответствии с патентной формулой. Значение последней не ограничивается только лишь описанными способами реализации. Например, операции, осуществленные вручную оператором, в описании к чертежам, могут быть автоматизированы с помощью различных средств автоматизации, в частности роботов.
Формула изобретения
1. Терминал для управления обменом в пункте доставки товаров, выполненный с возможностью принимать информацию о товаре для доставки, включая информацию о необходимости обмена товара для доставки на возвращенный товар, включающий: принимающие устройства для приема с сервера информации о товаре для доставки, устройства считывания кода товара для доставки, устройства для ввода в память терминала кода возвращенного товара, преимущественно выбранного произвольно, устройства для авторизации доставки только в том случае, когда код возвращенного товара был введен в память устройства для ассоциирования кода возвращенного товара с кодом доставленного товара.
2. Терминал по п.1, в котором код доставленного товара отражает информацию относительно обмена, в частности тип товара, данные клиента, вид неисправности, характер проблемы или вид обмена.
3. Терминал по п.1 или 2, включающий устройства для распознавания кода, в частности, введенного вручную, указывающего, подлежит ли возвращенный товар обмену на товар для доставки.
4. Терминал по п.1 или 2, включающий устройства обмена информацией с сервером относительно возвращенного и доставленного товара в течение определенных периодов времени, в частности в ночное время, или в случае осуществление некоторых операций, например обмена товаров.
5. Сервер, предназначенный для контроля процесса обмена товаров в пункте доставки, кода товара для доставки, включающий: устройства для запоминания информации о товаре для доставки, а также для передачи этой информации на терминал, находящийся в пункте доставки, устройства для присвоения каждому товару для доставки справочной информации о том, что этот товар подлежит доставке только одновременно с возвратом товара в пункт доставки, устройства передачи этой информации в соответствии с кодом товара для доставки на терминал пункта доставки, устройства приема с терминала кода доставленного товара, ассоциированного с кодом возвращенного товара.
6. Сервер по п.5, включающий устройства передачи клиенту информации о наличии товара в пункте доставки.
7. Сервер по п.5 или 6, включающий устройства передачи клиенту кода, который означает либо обычный возврат товаров, либо обычную доставку, либо обмен и который распознается терминалом в месте доставки.
РИСУНКИ
|
|