|
|
(21), (22) Заявка: 2004131020/09, 22.10.2004
(24) Дата начала отсчета срока действия патента:
22.10.2004
(30) Конвенционный приоритет:
24.10.2003 US 10/692,501
(43) Дата публикации заявки: 10.04.2006
(46) Опубликовано: 27.11.2009
(56) Список документов, цитированных в отчете о поиске:
RU 2110162 C1, 27.04.1998. RU 2192103 C1, 27.10.2002. WO 03/085559 A1, 16.10.2003. US 6256636 B1, 03.07.2001.
Адрес для переписки:
129090, Москва, ул. Б.Спасская, 25, стр.3, ООО “Юридическая фирма Городисский и Партнеры”, пат.пов. Ю.Д.Кузнецову, рег. 595
|
(72) Автор(ы):
ЛАЙУАЛЛЕН Брайан Р. (US), МИЛЛЕР Джон Л. (US), ШАППЕЛЛ Майкл Э. (US), РАО Рави Т. (US), СЕНКЕРЕСТИ Скотт А. (US)
(73) Патентообладатель(и):
МАЙКРОСОФТ КОРПОРЕЙШН (US)
|
(54) СИСТЕМА И СПОСОБ, ПРЕДНАЗНАЧЕННЫЕ ДЛЯ СОВМЕСТНОГО ИСПОЛЬЗОВАНИЯ ФАЙЛОВ В ГРУППОВЫХ СОВМЕСТНО ИСПОЛЬЗУЕМЫХ ОБЛАСТЯХ ОДНОРАНГОВОЙ СЕТИ
(57) Реферат:
Изобретение относится к способу и системе, дающим возможность пользователям совместно использовать файлы в совместно используемой области без сервера. Техническим результатом является расширение функциональных возможностей за счет обеспечения сетевого взаимодействия между членами группы. С помощью предоставления доступа к совместно используемой области без сервера через визуальное представление система визуализирует контент, доступный другим членам группы. Доступ иногда обеспечивают через распространение метаданных или другого уникального идентифицирующего знака, связанного с совместно используемой областью, всем членам группы. 3 н. и 9 з.п. ф-лы, 20 ил.
Область техники, к которой относится изобретение
Это изобретение относится к связи и взаимодействию через компьютерную сеть. Более конкретно, изобретение направлено на систему и способ, предназначенные для задания совместно используемой области памяти без сервера и совместного использования файлов среди членов группы в упомянутой совместно используемой области.
Предшествующий уровень техники
Популярность Internet и других сетей вызвала перемещение различных взаимодействий и задач из реального мира в цифровой мир. Например, документы и папки, которые в прошлом совместно использовались с помощью совместного использования физических копий с другими членами в группе, в настоящее время часто обрабатывают электронным способом и передают в цифровом виде через сеть. При таких обменах между членами группы важно поддерживать некоторую степень управления доступом со стороны различных членов группы, в частности, когда члены группы сотрудничают друг с другом.
С приходом цифрового века одним видом деятельности, который существенно не переместился из реального мира в цифровой мир, явилось групповое взаимодействие. В нашей повседневной жизни мы взаимодействуем с людьми на постоянной основе и образуем социальные группы, с которыми мы занимаемся множеством видов деятельности во времени. Каждый в социальной группе знает обо всех остальных, и эти группы растут и изменяются со временем. Это явление, которое существует в нашей повседневной жизни, не преобразовалось в цифровой мир.
Несмотря на то что в настоящее время существует ряд средств и форумов, предназначенных для цифровой связи между удаленными сторонами, ни один из них не обеспечил исчерпывающего решения, которое может привести к широкому использованию. Существующие средства взаимодействия в настоящее время не могут обеспечить пользовательский интерфейс, который является интуитивно понятным и легким для использования. Например, эти технологии не обеспечивают действительную групповую область, в пределах которой члены группы могут осуществлять доступ к совместно используемым файлам и выполнять другую групповую деятельность. Вместо этого многие существующие технологии имеют тенденцию сосредотачиваться на одном виде деятельности или приложения сил, таком как игры или совместное использование файлов, а не на группе и ее деятельности и связи. Другие технологии дают возможность группового обмена текстовыми сообщениями в реальном времени, но не имеют действительного ощущения групп, требуя установления группы каждый раз, когда делается попытка группового обмена текстовыми сообщениями в реальном времени, и не предоставляют средств для перевода группы к деятельности, отличной от простого обмена текстовыми сообщениями в реальном времени без повторного ручного установления группы при следующем виде деятельности.
Короче говоря, существующие механизмы сетевого взаимодействия не предоставляют средств для легкого манипулирования совместно используемыми данными и информацией среди желаемой группы пользователей. Кроме того, отсутствует пользовательский интерфейс, обеспечиваемый существующими средствами для упрощения управления такими совместно используемыми данными.
Следовательно, остается потребность облегчить групповое взаимодействие, посредством которого желаемая группа пользователей может взаимодействовать друг с другом в защищенной среде и посредством которого пользователи могут осуществлять доступ и поддерживать управление относительно файлов, совместно используемых в их совместных отношениях друг с другом.
Сущность изобретения
Настоящее изобретение направлено на систему и способ, предназначенные для совместного использования файлов в защищенной совместно используемой области без сервера, которую предоставляют пользователю через графический интерфейс. В варианте осуществления изобретение реализовано в среде одноранговой сети с целью содействия сетевому взаимодействию между членами группы.
Совместно используемую область предоставляют как объект файловой системы, такой что могут быть активированы доступные для выбора пользователем задания и элементы управления. Такие действия включают в себя различные операции, которые выполняются относительно совместно используемых файлов в упомянутой области. После создания совместно используемой области другие пользователи могут осуществлять доступ и/или передавать файлы и выполнять другие операции управления файлами, такие как перетаскивание совместно используемых файлов с помощью графического интерфейса, перемещение, копирование и другие задания управления файловой системы. Кроме того, совместно используемые файлы и директории могут быть связаны в совместно используемую область. Это обеспечивает четкое восприятие пользовательских операций, которые доступны для совместно используемых файлов, чтобы, таким образом, обеспечить легкость использования групповых областей.
Изобретение предоставляет систему и способ, предназначенные для совместного использования файлов в совместно используемой области. Владелец совместно используемой области может приглашать других пользователей в эту область с целью совместного использования файлов, содержащих, например, изображения, видео и другой контент (информационно значимое содержимое). Сама совместно используемая область является защищенной таким образом, что отдельные приглашенные лица могут подсоединяться к этой области. После создания совместно используемой области пользователи могут перетаскивать файлы в эту совместно используемую область с помощью графического интерфейса, а также выполнять другие операции файловой системы относительно совместно используемых файлов и директорий. В соответствии с изобретением совместно используемые файлы включают в себя связанные с ними метаданные, которые распространяются другим членам совместно используемой области. Члены, которые подсоединяются к группе позже, все же могут осуществлять доступ к таким метаданным и, таким образом, продолжать работать в совместно используемой области. После приема метаданных инфраструктура, основанная на установках пользователя, может теперь обрабатывать совместно используемые файлы как требуется, например, посредством копирования совместно используемых файлов локальным или нелокальным образом. В случае когда файл должен быть скопирован локально, устанавливают соединение с источником метаданных файла и совместно используемый файл передают из источника в локальный компьютер. Процесс защищен в том, что только действительный член группы может копировать совместно используемый файл в его область.
С помощью использования интерфейса файловой системы можно быстро и эффективно управлять файлами в совместно используемой области. Таким образом, другие приложения могут легко осуществлять доступ к информации в совместно используемой области, заданной пользователем.
Перечень чертежей
фиг. 1 – схематическое представление, в общем виде иллюстрирующее примерную компьютерную систему, применимую для того, чтобы реализовать вариант осуществления изобретения;
фиг. 2 – схематическое представление, иллюстрирующее примерную сетевую среду для связи согласно варианту осуществления изобретения;
фиг. 3 – схематическое представление архитектуры организации одноранговой сети в соответствии с одним вариантом осуществления настоящего изобретения;
фиг. 4 – представление экрана дисплея, изображающее ряд элементов пользовательского интерфейса, которые могут быть предоставлены для содействия созданию и манипулированию совместно используемыми групповыми областями в соответствии с вариантом осуществления изобретения;
фиг. 5 – представление экрана дисплея другого элемента пользовательского интерфейса групповой области, который представляет внешний вид папки файловой системы в соответствии с вариантом осуществления настоящего изобретения;
фиг. 6 – представление экрана дисплея отображения меню запуска в соответствии с вариантом осуществления настоящего изобретения;
фиг. 7 – представление экрана дисплея папки совместно используемой области в соответствии с вариантом осуществления настоящего изобретения;
фиг. 8 – представление экрана дисплея папки совместно используемой области по фиг. 7 после выбора пиктограммы папки;
фиг. 9 – представление экрана дисплея панели установки совместно используемой области, предназначенной для обеспечения управления и функциональных возможностей группы;
фиг. 10 – представление экрана дисплея вида заданий совместно используемой области в соответствии с вариантом осуществления изобретения;
фиг. 11 – представление экрана дисплея вида списка папки совместно используемой области в соответствии с вариантом осуществления изобретения;
фиг. 12 – представление экрана дисплея средства установки, предназначенного для создания или добавления члена в совместно используемую область в соответствии с вариантом осуществления изобретения;
фиг. 13 – представление экрана дисплея средства приглашения, отображаемого пользователю, который приглашен, чтобы присоединиться к группе;
фиг. 14 – представление экрана дисплея средства установки, который дает возможность пользователю, имеющему соответствующее разрешение, изменять роль члена группы;
фиг. 15 – экран дисплея папки совместно используемой области, иллюстрирующий различные свойства относительно совместно используемых файлов, расположенных в совместно используемой области, в соответствии с вариантом осуществления изобретения;
фиг. 16 – экран дисплея, иллюстрирующий пользовательский интерфейс во время операции, в которой копируют совместно используемые файлы в соответствии с вариантом осуществления изобретения;
фиг. 17 – выпадающее меню в соответствии с отображением представления согласно варианту осуществления изобретения;
фиг. 18 – упрощенная блок-схема последовательности операций, иллюстрирующая различные этапы способа при выполнении операции, в которой нового члена приглашают в группу;
фиг. 19 – упрощенная блок-схема последовательности операций, иллюстрирующая различные этапы способа при выполнении обновления совместно используемого файла в соответствии с вариантом осуществления изобретения;
фиг. 20 – другая упрощенная блок-схема последовательности операций, иллюстрирующая различные этапы способа при выполнении обновления совместно используемого файла по фиг. 19 с точки зрения другого члена группы.
Подробное описание изобретения
В целом настоящее изобретение относится к совместно используемой групповой области без сервера, которая обеспечивает защищенные взаимодействия между определенными членами группы. В одном аспекте изобретение предоставляет пользовательский интерфейс, который объединен с операциями файловой системы, такими как операции перетаскивания с помощью графического интерфейса, относительно файлов, которые помещены в совместно используемую область. Изобретение обеспечивает возможность формирования и поддержания защищенных взаимоотношений с одним или более другими субъектами с помощью создания совместно используемой области.
Несмотря на то что это не требуется для практической реализации изобретения, изобретение описано как реализованное с помощью машиноисполняемых инструкций, таких как программные модули, которые выполняются вычислительным устройством. Обычно программные модули включают в себя процедуры, программы, объекты, компоненты, структуры данных и тому подобное, которые выполняют определенные задания или реализуют определенные абстрактные типы данных.
Изобретение может быть реализовано в различных конфигурациях вычислительного устройства. Например, изобретение может быть реализовано в карманных устройствах, мобильных телефонах, многопроцессорных системах, электронных устройствах на основе микропроцессора или программируемых пользователем, сетевых персональных компьютерах (РС, ПК,) миникомпьютерах, универсальных компьютерах (мейнфреймах) и тому подобных, переносных вычислительных устройствах или устройствах связи и любых других устройствах, которые выполнены с возможностью как визуального отображения, так и непосредственного или опосредованного взаимодействия с другим устройством. Изобретение также может быть реализовано на практике в распределенных вычислительных средах, где задания выполняются удаленными устройствами обработки данных, которые связаны через сеть связи. В распределенной вычислительной среде программные модули могут быть расположены как в локальных, так и в удаленных запоминающих устройствах. Следовательно, должно быть понятно, что изобретение предпочтительно включено во многие типы вычислительных сред, как предположено выше.
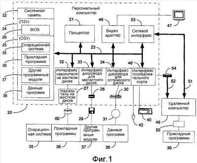
Перед описанием изобретения более подробно описана иллюстративная вычислительная среда в связи с фиг. 1, в которой может работать изобретение. Вычислительное устройство 20 включает в себя процессор 21, системную память 22 и системную шину 23, которая соединяет различные компоненты системы, включая системную память, с процессором 21. Системная шина 23 может быть любой из нескольких типов структур шин, включая шину памяти или контроллер памяти, периферийную шину и локальную шину, использующие любую из множества архитектур шин. Системная память включает в себя постоянное запоминающее устройство (ROM, ПЗУ) 24 и оперативное запоминающее устройство (RAM, ОЗУ) 25. Базовая система ввода/вывода (BIOS) 26, содержащая основные процедуры, которые помогают передавать информацию между элементами в вычислительном устройстве 20, например во время запуска, хранится в ПЗУ 24. Вычислительное устройство 20 дополнительно может включать в себя накопитель 27 на жестком диске, предназначенный для чтения с жесткого диска 60 и записи на него, дисковод 28 для магнитного диска, предназначенный для чтения со сменного магнитного диска 29 и записи на него, и дисковод 30 для оптического диска, предназначенный для чтения со сменного оптического диска 31 и записи на него, такого как ПЗУ на компакт-диске (CD ROM) или другой оптический носитель.
Накопитель 27 на жестком диске, дисковод 28 для магнитного диска и дисковод 30 для оптического диска соединены с системной шиной 23 с помощью интерфейса 32 накопителя на жестком диске, интерфейса 33 дисковода для магнитного диска и интерфейса 34 дисковода для оптического диска соответственно. Накопители и дисководы и связанные с ними машиночитаемые носители обеспечивают энергонезависимое хранение машиночитаемых инструкций, структур данных, программных модулей и других данных для ПК 20. Несмотря на то что описываемая иллюстративная среда использует жесткий диск 60, сменный магнитный диск 29 и сменный оптический диск 31, специалисты в данной области техники поймут, что в этой иллюстративной операционной среде также могут быть использованы другие типы машиночитаемых носителей, которые могут хранить данные, к которым вычислительное устройство может осуществить доступ, такие как магнитные кассеты, карты флэш-памяти, цифровые видео диски, картриджи Бернулли, оперативные запоминающие устройства, постоянные запоминающие устройства и тому подобные.
Программные модули хранятся на жестком диске 60, магнитном диске 29, оптическом диске 31, ПЗУ 24 или ОЗУ 25, включая операционную систему 35, одну или более прикладных программ 36, другие программные модули 37 и данные 38 программ. Пользователь вводит команды и информацию в устройство 20 через устройства ввода, такие как клавиатура 40 и указательное устройство 42. Другие устройства ввода (не показаны) могут включать в себя микрофон, джойстик, игровую малую клавиатуру, спутниковую антенну, сканер или тому подобные. Эти и другие устройства ввода зачастую подсоединены к процессору 21 через интерфейс 46 последовательного порта, который соединен с системной шиной, но могут быть подсоединены и с помощью других интерфейсов, таких как параллельный порт, игровой порт или универсальная последовательная шина (USB, УПШ). Монитор 47 или другой тип устройства отображения также соединен с системной шиной 23 через интерфейс, такой как видеоадаптер 48. Кроме монитора вычислительное устройство обычно включает в себя другие периферийные устройства вывода (не изображены), такие как громкоговорители и принтеры.
Устройство 20 может функционировать в сетевой среде с использованием постоянных или временных логических соединений с одним или более удаленными вычислительными устройствами, такими как удаленный компьютер 49. Удаленный компьютер 49 может быть другим аналогичным вычислительным устройством, сервером, маршрутизатором, сетевым ПК, узлом одноранговой сети или другим обычным узлом сети, или любым другим типом устройства, таким как любое из устройств, упомянутых где-либо в настоящем описании, и обычно включает в себя многие или все элементы, описанные выше относительно вычислительного устройства 20, хотя жесткого требования в этом отношении нет, и только запоминающее устройство 50 проиллюстрировано на фиг. 1. Логические соединения, изображенные на фиг. 1, включают в себя локальную сеть (LAN, ЛС) 51 и глобальную сеть (WAN, ГС) 52. Такие сетевые среды обычно характерны для офисов, компьютерных сетей предприятий, интрасетей и Internet.
При использовании в сетевой среде ЛС вычислительное устройство 20 соединено с локальной сетью 51 через сетевой интерфейс или адаптер 53. При использовании в сетевой среде ГС вычислительное устройство 20 обычно включает в себя модем 54 или другое средство, предназначенное для установления связи через ГС 52. Модем 54, который может быть внутренним или внешним, подсоединен к системной шине 23 через интерфейс 46 последовательного порта. Программные модули, изображенные относительно вычислительного устройства 20, или их части могут храниться в удаленном запоминающем устройстве. Будет понятно, что изображенные соединения сети являются иллюстративными и могут быть использованы другие средства установления линии связи между компьютерами. Кроме того, не предполагается, что изобретение ограничено конкретным типом сети. Любой тип сети, проводной или беспроводной, постоянный или временный, с коммутацией каналов, с коммутацией пакетов или другие архитектуры сетей могут быть использованы, чтобы реализовать настоящее изобретение.
В описании, которое следует, изобретение будет описано со ссылкой на действия и символические представления операций, которые выполняются с помощью одного или более вычислительных устройств, если не указано иначе. Такие действия и операции, которые упоминаются как машиноисполняемые, включают в себя манипулирование с помощью процессора вычислительного устройства электрическими сигналами, представляющими данные в структурированном виде. Это манипулирование преобразует данные или сохраняет их в ячейках в системе памяти вычислительного устройства, которое переконфигурирует или иным образом изменяет операции вычислительного устройства способом, который хорошо понятен специалистам в данной области техники. Структуры данных представляют физические ячейки памяти с конкретными характеристиками, определенными форматом данных. Однако несмотря на то что изобретение описано в вышеупомянутом контексте, не подразумевается, что он является ограничивающим. Специалисты в данной области техники поймут, что различные действия и операции, описанные в настоящей заявке, также могут быть реализованы в аппаратном обеспечении.
Фиг. 2 является схематическим представлением сетевой среды, в которой может быть реализован вариант осуществления изобретения. В частности, изображено множество пользовательских вычислительных устройств 201, 203, 205 и 207 как соединенные с возможностью обмена данными через сеть 209. Каждое пользовательское устройство будет использоваться или будет связано с конкретным пользователем, отличающееся от других. Точное число таким образом соединенных пользовательских устройств не важно для настоящего изобретения, хотя сетевой обмен данными обычно будет включать в себя, по меньшей мере, двух пользователей. Изобретение имеет самые большие преимущества, когда применяется к малым группам. Число членов группы, вовлеченных в совместное использование аудиофайлов, должно быть ограничено, когда необходимо предотвратить нарушение авторских прав, относящихся к совместно используемому аудиоматериалу. Кроме того, несмотря на то что тип сети 209 не является критичным, предпочтительно она является одноранговой сетью, которая обеспечивает возможность обмена информацией, непосредственно или опосредованно, между двумя или более пользовательскими машинами. Через сеть 209 сообщение от одного пользователя может быть передано другому пользователю или пользователям (через их соответственные пользовательские устройства). Хотя пользовательские машины 201, 203, 205, 207 могут быть географически удалены друг от друга, изобретение также является полезным там, где группы сотрудничают, что, естественным образом, может происходить в конференц-зале или тому подобном.
Одну или более пользовательских машин, используемых для реализации варианта осуществления изобретения, можно проиллюстрировать относительно архитектуры вычислительного устройства по фиг. 1, хотя такое ограничение не является присущим изобретению. Подразумевается, что реализация изобретения дополнительно или альтернативно будет использоваться с любым числом других типов устройств связи, включая, но не в ограничительном смысле, переносные устройства связи, сотовые телефоны и персональные цифровые информационные устройства (РДА).
В соответствии с изобретением совместно используемую область предоставляют через графический пользовательский интерфейс с видом и восприятием признаков существующей файловой системы. Например, изобретение может использовать диалоговые окна стиля Windows Explorer (Проводника Windows), такие как диалоговое окно Открыть или тому подобное. Подобные операции файловой системы доступны через созданную совместно используемую область. В одном варианте осуществления изобретение реализовано как расширение пространства имен Windows Explоrer, которое представляет элементы интерфейса пользователя аналогичным или идентичным способом так, как если бы файловая система создавала эти элементы, например, посредством предоставления окон дисплея, пиктограмм и других графических представлений для визуализации внешнего вида файловой системы. Например, изобретение может реализовывать расширения пространства имен и интерфейсы основных объектов папки, которые обеспечивают возможности файловой системы Microsoft Windows Explorer. Подобным образом приложение обеспечивает возможность различных операций, которые подобны операциям принятой файловой системы, выполняемым относительно данных, находящихся в совместно используемой области.
В качестве альтернативы изобретение может быть реализовано как драйвер файловой системы или драйвер фильтра, который находится ниже файловой системы и осуществляет доступ к службам файловой системы, предоставляемым операционной системой. В этом варианте осуществления файловая система отображает файлы, которые она отображала бы обычно, включая файлы в групповой области, таким образом, что файловая система расширена до совместного использования файлов.
В обоих вариантах осуществления изобретение предпочтительно использует существующую инфраструктуру одноранговой сети, которая дает возможность доставлять большое количество приложений и/или сценариев в распределенной среде. Такая инфраструктура может обеспечить функциональные возможности, включая, но не в ограничительном смысле, отслеживание (преобразования сетевых адресов) (NAT), разрешение имен, эффективную многоточечную связь, защищенное управление группами и распределенными данными, как будет понятно специалистам в данной области техники.
Для передачи данных и связи между членами группы предпочтительно использовать архитектуру одноранговой сети. Фиг. 3 иллюстрирует архитектуру одноранговой сети в соответствии с вариантом осуществления изобретения. Для выполнения различных операций поиска и управления в одноранговой сети изобретение использует существующую инфраструктуру, такую как описана в заявке на патент 09/942164, озаглавленной «Peer-to-Peer Name Resolution Protocol (PNRP) and Multilevel Cache for Use Therewith» («Протокол разрешения имен в одноранговой сети (PNRP) и многоуровневый кэш для использования с ним», поданной 29 августа 2001 г., и в заявке 09/955923, озаглавленной «Peer-to-Peer Group Management and Method for Maintaining Peer-to-Peer Graphs» («Управление группами в одноранговой сети и способ поддержания одноранговых графов»), поданный 19 сентября 2001 г. Суть этих заявок полностью включена в настоящее описание в качестве ссылки. Архитектура включает в себя слой 302 базовой операционной системы (OS, ОС), поверх которого расположены другие слои или компоненты. Например, слой 304 WinSock расположен поверх слоя 301 базовой ОС. Этот слой включает в себя расширения сокетов, которые добавлены к идентификаторам приложений для обеспечения сетевой связи. То есть слой WinSock является сетевым интерфейсом прикладного программирования (API) для Microsoft Windows, который обеспечивает хорошо определенный набор структур данных и вызовов функций. Таким образом, вызовы функций приложений, запрашивающие общие сетевые службы, преобразуются в запросы, зависящие от конкретного протокола.
Для выполнения поиска других одноранговых узлов в облаке (совокупности сетевых узлов, доступных друг для друга) различные компоненты в архитектуре могут быть использованы следующим образом. Слой Обнаружение, предоставляемый посредством компонента 306 протокола сетевых служб (NSP), обеспечивает средство, предназначенное для разрешения имени распределенным способом без сервера в облаке распределенной сети. Компонент 306 организации графа обеспечивает способ организации множества узлов для эффективного обмена информацией. Слой 316 группирования обеспечивает слой защиты поверх компонента 306 организации графа. Оба компонента, из компонентов организации графа и группирования используют хранилище 310 для приложения с целью публикации данных, которые могут распространяться среди всех членов в группе/графе. Приложение, обозначенное с помощью слоя 30, также может искать данные в компонентах группирования или организации графа с помощью использования компоненты 308 поиска.
В соответствии с изобретением совместно используемая групповая область представлена с помощью представлений и управляющих элементов графического пользовательского интерфейса, которые включены как часть существующей файловой системы или, по меньшей мере, интуитивное расширение операций существующей файловой системы. В значительной степени подобно реальному миру совместно используемую область создают для того, чтобы сформировать взаимосвязь между одним или более субъектами. Совместно используемые области, созданные или используемые одним и тем же субъектом, предпочтительно отображаются в одной папке. Управляющие элементы, предназначенные для управления совместно используемыми областями и их содержимым, предоставляются как часть секции окна заданий в папке.
Общее представление пользовательского интерфейса в соответствии с вариантом осуществления изобретения будет описано со ссылкой на фиг. 4 перед более подробным описанием отдельных признаков. Отображение экрана для папки 402 «Мои документы» в соответствии с вариантом осуществления изобретения содержит один или более из ряда элементов, предназначенных для того, чтобы облегчить возможность осуществлять доступ, создавать и управлять групповой совместно используемой областью. Предпочтительно объект 404 папки групповой области, в этом случае пиктограмма вложенной папки «Мои совместно используемые области», обеспечивает связь с групповой совместно используемой областью. Как изображено, пиктограмма 404 групповой области содержится в области отображения, соответствующей правой секции окна папки «Мои документы». Другие вложенные папки также содержатся в области 406 отображения папки «Мои документы», такие как вложенная папка 408 «Моя музыка», вложенная папка 410 «Мои изображения» и вложенная папка 412 «Мои видео». Конкретный пользователь может иметь более чем одну группу, к которой он или она принадлежит, и этот каждый член группы может принадлежать группе или группам, к которым не принадлежат один или более других членов. Следовательно, несмотря на то что пиктограмма 404 соответствующей групповой области появляется для каждого члена группы и появляется одинаково на каждой машине, могут быть части отображения на экране пользователя, которые совместно не используются с другими членами группы.
Папка 402 «Мои документы» также включает в себя секцию 414 окна в правой области дисплея. Секция 414 окна включает в себя секцию 416 окна заданий, которая предоставляет различные доступные для выбора пользователем задания, связанные с файлами и папками, которые могут быть выполнены в связи с совместно используемой областью. Эти задания включают в себя создание новой папки совместно используемой области, публикацию папки совместно используемой области в Internet и обеспечение совместного использования этой папки с другими субъектами.
Кроме секции 416 окна заданий левое окно включает в себя другие графические средства, включая список 418 «Другие местоположения», который предоставляет связи с одним или более другими местоположениями файловой системы. Они включают в себя «Рабочий стол», «Мой компьютер» и «Мое сетевое окружение», которые могут быть легко узнаны пользователем. Наконец, данная секция окна включает в себя список 420 «Подробности», который в этом случае является выпадающим списком, предназначенным для предоставления подробностей относительно выбранного элемента в папке «Мои документы».
При включении совместно используемой области в качестве ссылки в папке «Мои документы» файловой системы различные окна и обычные диалоги могут быть использованы в связи с совместно используемыми файлами, хранимыми в них. Таким образом, операции, такие как открыть, сохранить, сохранить, как и тому подобные, могут быть выполнены относительно такого контента. Один такой пример изображен на фиг. 5. Как указано в панели 502 заголовка, представлено окно 504 Открыть. Это окно включает в себя, в левой секции 506 окна, различные ярлыки 508, 510, 512, 514 и 516 пиктограмм, которые обеспечивают ссылки на различные местоположения в файловой системе. Когда выбран ярлык 512 «Мои документы», что также указано записью в поле 518 местоположения, файловая система отображает список вложенных папок в правой секции 520 окна. Этот список включает в себя пиктограмму 522 папки «Мои совместно используемые области», которая является ссылкой на папку совместно используемой области. При выборе этой папки посредством двойного щелчка мышью или другой подходящей операции пользователя, система отобразит содержимое папки совместно используемой области.
Кроме помещения в папку «Мои документы» ссылка «Мои совместно используемые области» может быть включена в представление 600 Меню запуска, такое как представление, изображенное на фиг. 6. Меню 600 запуска включает в себя список ссылок на, по меньшей мере, определенные приложения, которые могут быть запущены системой в первой секции 602 окна графического дисплея. Кроме того, в нижней области 604 графического дисплея предоставлены лоток 604 панели заданий и управляющие элементы. Наконец, ссылка «Мои совместно используемые области» предоставлена как часть списка в правой стороне меню в области дисплея, обычно зарезервированной для подобных ссылок, таких как «Мои документы», «Мои изображения» и «Моя музыка». В качестве альтернативы, ссылка «Мои совместно используемые области» может быть включена как часть вложенного списка, таким образом что пользователю необходимо сначала выбрать ссылку «Мои документы», чтобы осуществить доступ к папке «Мои совместно используемые области».
Описав графическое представление для доступа к окну «Мои совместно используемые области», теперь описывается способ, которым манипулируют самими совместно используемыми областями. В соответствии с признаком варианта осуществления изобретения окно дисплея совместно используемой области предоставляет пользователю доступ к определенным заданиям в различных режимах. В предпочтительном варианте осуществления окно дисплея предоставляет специализированную секцию окна заданий, дающую возможность доступа к операциям относительно совместно используемой области в трех различных режимах работы: (1) не выбран ни один элемент совместно используемой области; (2) выбран элемент совместно используемой области; и (3) выбрана папка членства.
Фиг. 7 является окном 702 оболочки графического дисплея, предназначенным для совместно используемой области, иллюстрирующим вид задания, когда не выбран ни один элемент совместно используемой области. Правая секция 704 окна для упомянутого окна отображает все совместно используемые области, созданные или используемые зарегистрированным в системе пользователем, если таковые имеются. В изображенном окне не присутствует ни один элемент. Левая секция 706 окна отображает специализированную секцию 708 окна заданий, которая предоставляет доступные для выбора пункты меню, предназначенные для инициирования операций файловой системы относительно совместно используемой области. В проиллюстрированном примере, когда не выбран ни один элемент, специализированная секция 708 окна заданий предоставляет доступное для выбора задание 710 «Создать новую совместно используемую область». Пользователь выбирает этот пункт 710, чтобы создать совместно используемую область с помощью именования области в поле данных, как определено файловой системой. Имя регистрируют, и создается пиктограмма описываемого пространства имен. При добавлении к группе другие члены также увидят это имя.
Кроме специализированной секции окна задач левая секция окна также может включать в себя список 712 «Другие места», содержащий ссылки на другие местоположения файловой системы. Наконец, левая секция окна включает в себя панель 714 подробностей файла или папки, представляющую подробности относительно папки или файла совместно используемой области.
Когда выбрана пиктограмма папки или файла совместно используемой области, специализированная секция окна заданий изменяется на представление заданий, которые могут быть выполнены пользователем совместно используемой области. Фиг. 8 иллюстрирует окно 802 «Мои совместно используемые области» в этом режиме работы. То есть после выбора пользователем папки существующей совместно используемой области, такой как папка 804 в правой секции 806 окна, связанные с ней задания представляются в специализированной секции 808 окна заданий. Фиг. 8 изображает выбор задания «Переименовать совместно используемую область» в секции окна заданий. Этот выбор обуславливает подсвечивание поля 819 имени, связанного с папкой 804 совместно используемой области. Следовательно, пользовательский интерфейс, предназначенный для переименования группы, является таким же, как интерфейс, предоставленный файловой системой для редактирования имен файлов или директорий. Также как с помощью традиционных операций редактирования файловой системы, пользователь может редактировать имя совместно используемой области посредством использования подсвеченного поля 810 редактирования по месту. Это действие обуславливает изменение имени для всех членов группы совместно используемой области. В соответствии с вариантом осуществления, владелец является единственным членом, имеющим привилегии редактирования имен. Остальными членами группы имя не может быть отредактировано.
Кроме задания переименования существующей совместно используемой области секция 808 окна заданий предоставляет доступное для выбора пользователем задание «Удалить эту совместно используемую область». Выбор этого задания обуславливает удаление пиктограммы папки из папки «Мои совместно используемые области» и удаления пользователя как члена группы. Чтобы соединиться с совместно используемой областью в будущем, пользователю необходимо быть повторно приглашенным владельцем совместно используемой области или другим членом группы совместно используемой области с достаточными правами на то, чтобы приглашать нового члена в группу. Поскольку действие удаления совместно используемой области является необратимым, вариант осуществления изобретения предоставляет диалоговое окно, чтобы известить пользователя о воздействии с помощью диалога, который требует подтвердительного ответа от пользователя, для того чтобы завершить задание.
Удаление совместно используемой области владельцем будет воздействовать на группу дополнительными путями. Поскольку владелец совместно используемой области является единственным субъектом, который имеет секретный ключ для группы в предпочтительном варианте осуществления, это удаление обусловит потерю секретного ключа. Это значит, что характеристики группы, такие как дружественное имя и тому подобные, больше не могут быть изменены. Поскольку срок действия полномочий члена фактически бесконечен, другие члены могут продолжать подсоединяться к группе и совместно использовать информацию в этой группе. Однако, когда каждый член группы удалил совместно используемую область, группа прекратит существовать. Кроме того, до тех пор, пока владелец группы не передаст привилегии администратора другому члену группы, ни один новый член не может быть приглашен, чтобы присоединиться к совместно используемой области. По этой причине пользователя извещают с помощью диалога, который требует подтвердительного ответа, для того чтобы завершить задание удаления совместно используемой области.
В качестве альтернативы удалению совместно используемой области специализированная секция 808 окна заданий позволяет пользователю скрывать совместно используемую область с помощью задания «Скрыть эту совместно используемую область». Скрытая совместно используемая область не видна до тех пор, пока пользователь не активирует задание «Показать скрытые совместно используемые области». В качестве альтернативы может быть включена опция папки «Показать скрытые файлы». Следует заметить, что скрытая совместно используемая область будет потреблять меньше ресурсов, так как база данных совместно используемой области и файлы, передаваемые от других членов группы, будут удалены, когда область скрыта. Однако данные, совместно используемые пользователем, будут оставаться доступными. Полномочия пользователя, необходимые для того, чтобы осуществлять доступ или управлять областью, будут оставаться в вычислительной системе пользователя. Используя эти полномочия, скрытая совместно используемая область может быть восстановлена. По этой причине задание «Скрыть совместно используемую область» является обратимым заданием, таким, что в предпочтительном варианте осуществления диалог не отображается.
Другим доступным для выбора пользователем заданием, отображаемым в специализированной секции 808 окна заданий, является задание «Изменить установку». Выбор этого задания активирует диалог «Установки совместно используемой области», пример которого проиллюстрирован на фиг. 9. Как изображено, диалог 900 «Установки совместно используемой области», является графическим представлением доступных для выбора опций установок, чтобы позволить пользователю изменять поведение совместно используемой области или восстанавливать поведение совместно используемой области в установки по умолчанию.
В отличие от традиционной файловой системы, совместно используемая область дает возможность двум или более членам группы размещать файл с одним и тем же именем. Чтобы дать возможность пользователю устанавливать различия между этими файлами, пользователь может выбрать опцию, предоставленную в диалоге 900 Установки, изображенном на фиг. 9, такую как опция 902 Имена файлов/групп. С помощью выбора установки «Отобразить имя члена, разместившего файлы, с самими файлами» пользователь может видеть имя члена, разместившего файл, как часть имени этого файла. В предпочтительном варианте осуществления установкой по умолчанию является установка «Отобразить только имя для файлов».
Другая доступная для выбора пользователем опция относится к установке 904 «Репликация файла». Файлы, которые используются в совместно используемой области, могут быть скопированы в локальную машину, когда к ним осуществляют доступ, то есть они могут быть скопированы на основании «по запросу» посредством выбора пользователем установки «Копировать файлы локально, когда необходимо». В качестве альтернативы они могут быть реплицированы в компьютер пользователя, когда их добавляют в совместно используемую область, с помощью выбора установки «Копировать файлы локально при добавлении к группе». Аналогично установка 906 «Размещение файлов членом» дает пользователю возможность выбора между установкой «Члены могут размещать файлы» и установкой «Только владелец может размещать файлы». Выбор последней установки оставляет членам группы возможность только чтения. Когда выбрана эта установка, только владелец может вносить контент в группу.
Наконец, диалог Установки включает в себя установку 908 «Новый контент», предназначенную для предоставления пользователю возможности выбора того, что определяет «новый» контент. Эта установка 908 включает в себя выпадающий список опций, таких как 1, 7, 14, 30, 60 и 90 дней. Это поле в необязательном порядке могло бы включать в себя поле редактирования, чтобы дать возможность пользователю задавать любую величину.
Описав определенные подробности размещения и установок относительно папки совместно используемой области, теперь будет описан вид заданий члена. Фиг. 10 иллюстрирует вид заданий члена для графически представленной папки 1000 Мои совместно используемые области. Как изображено, папка совместно используемой области включает в себя вложенные папки, включающие вложенную папку 1002 Члены, вложенную папку 1004 Совместно используемые изображения и вложенную папку 1006 Совместно используемое видео, отображенные в правой секции окна папки 1000. Это расположение упрощает манипуляцию пользователя файлами, которые будут добавлены к совместно используемой области, например, с помощью операций перетаскивания посредством графического дисплея. То есть вложенные папки Совместно используемые изображения и Совместно используемое видео являются ссылками на обычные директории, которые могли бы даже быть удалены владельцем группы, если необходимо.
Чтобы стать членом группы, пользователя приглашают присоединиться к групповой области с помощью выдачи приглашения. Приглашение может быть сделано с использованием любого внешнего механизма. Один из механизмов, который мог бы быть использован, является специфическим для местоположения. Например, приглашение могло бы быть выдано пользователям, находящимся в одном и том же конференц-зале; оно могло бы быть выдано пользователям в одной и той же сети; оно могло бы быть выдано всем пользователям, участвующим в конференции (независимо от того, находятся ли они в конференц-зале или участвуют удаленно). Когда приглашение принято приглашенным пользователем, он может присоединиться к совместно используемой области и участвовать в совместном использовании файлов.
В соответствии с вариантом осуществления изобретения членам группы назначают роли в группе. Владелец группы является субъектом, который первоначально создает групповую область. Владелец добавляет членов с помощью приглашения других субъектов, как объяснено ниже, и назначает роли таким другим членам группы. Роли задают уровень доступа для членов группы. Например, одной такой ролью может быть роль администратора, который может быть наделен многими такими же правами, что и владелец, включая право добавлять или удалять других членов группы. Другие роли включают в себя члена, субъекта с правом размещения файлов или другие пользовательские роли, которым назначены права и привилегии различных степеней. Кроме того, члены группы имеют «присутствие», то есть каждый член группы публично извещает о своем присутствии, когда находится в интерактивном режиме, как объяснено ниже. Наконец, каждый член группы предпочтительно имеет один и тот же вид всякий раз, когда происходит действие относительно групповой области.
Для выполнения заданий относительно членов группы вложенная папка 1002 Члены имеет выделенную секцию окна заданий. В предпочтительном варианте осуществления, когда пользователь открывает вложенную папку 1002 Члены, активируется новое окно Члены. Такое окно Члены, в свою очередь, изображено на фиг. 11 как окно 1100. Окно 1100 Члены включает в себя список текущих членов 1102 совместно используемой области и определенные атрибуты. Проиллюстрированной группой является группа «Члены моей семьи», содержащая владельца группы, пользователь 1, и трех других членов группы семьи, пользователь 2, дедушка и бабушка. Когда член группы подсоединен к одноранговой сети, соответствующая этому члену запись в списке 1102 Члены является доступной для выбора пользователем. В противном случае, эта запись отображается серой в списке 1102. Список 1102 членов может включать в себя поля, содержащие интерактивный статус члена в совместно используемой области, роль члена и последнюю дату, когда пользователь подсоединялся к группе. Кроме этих стандартных полей список 1102 членов дополнительно может включать в себя поле комментариев, предназначенное для дополнительной информации, относящейся к члену.
Кроме списка 1102 членов окно 1100 включает в себя секцию 1104 окна заданий члена, расположенное в левой секции окна упомянутого окна. Секция 1104 окна заданий члена используется для того, чтобы управлять списком членов. Для добавления новых членов к группе выбирают доступное для выбора пользователем задание «Добавить нового члена». В предпочтительном варианте осуществления выбор пользователем этого задания активирует средство, предназначенное для добавления нового члена к совместно используемой области. Однако перед тем, как могут быть созданы полномочия совместно используемой области, получают полномочия нового члена, соответствующие одноранговой сети.
Фиг. 12 и фиг. 13 иллюстрируют графическое представление средств, предназначенных для добавления новых членов к совместно используемой области. Несмотря на то что это средство должно поместить соответствующего члена посредством операций, которые могут быть относительно сложными, оно предоставляет механизм, простой для использования с точки зрения пользователя, для получения этих данных. В этом отношении фиг. 18 является упрощенной блок-схемой последовательности операций, которая иллюстрирует различные этапы, выполняемые при реализации способа, предназначенного для добавления новых членов.
Для получения идентификационных данных одноранговой сети для нового члена средство добавления нового члена совместно используемой области может использовать данные, полученные от существующего приятеля по интерактивной переписке или по адресу электронной почты. Как совместно изображено на фиг. 12 и фиг. 18, графический интерфейс предоставляет диалог 1202, запрашивающий тип выбора имени на первом этапе 1802 способа. Затем приглашающий пользователь выбирает тип имени на этапе 1804. В случае, в котором пользователь выбирает элемент адреса электронной почты на этапе 1804, приглашаемый пользователь получит сообщение электронной почты, предоставляющее информацию о том, что «(владелец группы) пригласил его присоединиться к совместно используемой области (имя совместно используемой области). Чтобы увидеть больше информации об этой совместно используемой области (имя совместно используемой области) откройте присоединенный файл».
Присоединенный файл содержит чистые данные и связан со средством приглашения, которое предоставляет графический интерфейс, как изображено на фиг. 13. После этого приглашенный пользователь открывает присоединенный файл приглашения на этапе 1808. Открытие файла запустит средство приглашения на этапе 1910 и даст возможность пользователю ответить на диалог 1302. На последнем этапе 1812 приглашенный пользователь посылает свои идентификационные данные одноранговой сети обратно приглашающему субъекту посредством принятия приглашения, например, с помощью выбора управляющего элемента Завершение, предоставленного пользователю. Как изображено, приглашающий субъект только прнимает уникальный цифровой идентификатор, связанный с приглашенным пользователем.
Используя идентификационные данные одноранговой сети членов, создают полномочия группы. Дополнительное сообщение электронной почты может быть создано и послано пользователю, информирующее его о том, что теперь он является членом совместно используемой области.
Описав способ, в котором новых членов добавляют к группе, будут описаны остальные задания, имеющиеся в окне Члены. Эти задания относятся к существующим членам группы. Например, доступное для выбора пользователем задание «Удалить члена» становится видимым только тогда, когда выбран член в списке Члены и пользователь является либо администратором группы, либо владельцем группы для совместно используемой области. В противном случае это задание является недоступным. Выбор «Удалить члена» удалит доступ выбранного члена к совместно используемой области. Чтобы осуществить доступ к совместно используемой области в будущем, удаленный член должен быть повторно приглашен, чтобы присоединиться к этой совместно используемой области, владельцем группы или администратором. Кроме удаления члена, имя пользователя может быть изменено с помощью выбора пользователем задания «Изменить имя пользователя». В предпочтительном варианте осуществления эта опция является видимой только тогда, когда член выбран и текущий пользователь является либо администратором, либо владельцем группы для совместно используемой области. Эта опция может быть в необязательном порядке активирована с помощью щелчка правой клавиши мыши на элементе списка Члены и выбора опции Переименовать или с помощью щелчка на имени в списке Члены и активации поля редактирования по месту.
Последним заданием, доступным для выбора пользователем и имеющимся в секции окна заданий Члены, является опция «Изменить роль члена». В предпочтительном варианте осуществления эта опция является видимой только тогда, когда член выбран в списке Члены и текущий пользователь является либо администратором, либо владельцем группы для совместно используемой области. В противном случае опция «Изменить роль члена» является недоступной. После выбора и активации этой опции пользователем, пользователю предоставляют на дисплее интерфейс, предпочтительно в качестве средства 1400 Изменения роли члена, как изображено в панели заголовка в графическом окне на фиг. 14. Как изображено, этот графический интерфейс включает в себя поле 1402 Имя члена, которое может включать в себя выпадающий список других членов. Кроме того, этот интерфейс предоставляет выпадающий список потенциальных ролей в поле 1404 Новая роль. Дополнительно данный интерфейс включает в себя управляющие элементы, такие как кнопка 1406 Завершение, предназначенные для изменения доступа и/или роли выбранного члена в группе. Кроме того, пользователь может выполнить щелчок мышью в поле роли, содержащемся в списке Члены. Это действие вызовет комбинированное окно, содержащее допустимые роли, доступные для предоставления члену. Выбор роли из этого списка выполнит то же самое множество действий, что и средство Изменения роли члена.
В соответствии с другим признаком изобретения, к файлам и директориям, содержащимся в совместно используемой области, осуществляют доступ способом, который аналогичен способу, которым осуществляют доступ к файлам и директориям в традиционной файловой системе. Различия влияют на восприятие пользователем несколькими способами. Поскольку не все файлы существуют локально, до тех пор пока не активированы соответствующие установки, как описано выше, пользователя информируют о таких «недостающих» файлах.
Для совместного использования файлов между членами группы метаданные передают всем членам, когда файлы становятся доступными, таким образом, как изображено на этапах 1904 и 1906 на блок-схеме на фиг. 19. Такие метаданные являются достаточными для того, чтобы визуализировать пиктограмму совместно используемого файла, и могут включать в себя дату, время, информацию краткого описания, размер имени и, в необязательном порядке, источник информации. Они могут включать в себя идентификатор для исходной вычислительной машины и идентификационные данные создателя. В соответствии с вариантом осуществления изобретения, совместно используемый контент может быть загружен из множества источников, даже если метаданные относительно доступной совместно используемой области инициированы в данной машине. То есть совместно используемый контент может быть загружен из любой машины, на которой находится этот совместно используемый контент, таким образом, может оказаться более эффективным при некоторых обстоятельствах осуществлять загрузку по частям из множества одноранговых узлов, после того как эти одноранговые узлы получили совместно используемый контент из источника. Способ, которым член группы загружает доступные совместно используемые файлы, может в необязательном порядке учитывать близость в понятиях адреса IP, наименьшее время маршрутизации и другие факторы.
Следующая таблица иллюстрирует одну такую реализацию необходимых и необязательных метаданных, относящихся к совместно используемому файлу.
Как изображено, имя файла и путь к файлу включены в метаданные переданного совместно используемого файла. Кроме того, предоставлен идентификатор для контейнера совместно используемого файла, а также адрес машины, на которой находится файл. Также включены указание типа файла, размера файла и даты модификации. В необязательном порядке, переданный файл может включать в себя краткое описание и унифицированный указатель информационного ресурса для пиктограммы, связанной с совместно используемым файлом.
Чтобы информировать пользователя о файле групповой совместно используемой области, который не присутствует локально, пользователю предоставляют отображаемые пиктограммы. Фиг. 15 иллюстрирует графический интерфейс 1500 для папки совместно используемой области, которая содержит файлы, которые не являются локальными. Как изображено, правая секция 1502 окна предоставляет отображаемую пиктограмму 1504, чтобы обозначить «недостающий» файл, который имеется в другой системе. Эта пиктограмма является фантомной или полупрозрачной. Как изображено на блок-схеме последовательности операций по фиг. 20, система визуализирует такое изображение дисплея после того, как прием этих метаданных, относящихся к совместно используемому файлу, доступен в одноранговой сети, как изображено на этапе 2002 способа. Другие файлы, которые являются «недостающими», могут быть недоступны пользователю, например, когда система, которая владеет представляющим интерес файлом, работает в автономном режиме. В этот момент отображаемую пиктограмму 1506 предоставляют как фантомную пиктограмму, которая включает в себя небольшое изображение красного Х или другого подходящего визуального признака того, что файл является недоступным пользователю.
Кроме того, поскольку информация в групповой папке, вероятно, должна изменяться со временем, а организация контента не дает возможности пользователю ясно видеть, какой контент является новым или недавно изменен, символический знак «новый» может быть предоставлен на папках и файлах, которые являются новыми или недавно изменены. Символический знак предоставляет визуальный индикатор нового контента.
Когда происходит модификация файла, содержащегося в совместно используемой области, имеет место извещение других членов в группе (смотри этапы 1902, 1904 и 1906 на фиг. 19). В предпочтительном варианте осуществления после приема такого извещения, машины членов, которые ранее получили копию совместно используемого файла, удалят локальную копию устаревшего файла. Это изменит визуальное представление файла на «недостающий» файл в папке совместно используемой области, когда установка приложения автоматически не обновляет файлы, как изображено на этапе 2010 на фиг. 20. С другой стороны, если включена автоматическая репликация файла, локальная машина получит обновленную версию файла, как изображено на этапе 2006 на фиг. 20. Наконец, соответствующий визуальный индикатор предоставляют пользователю, как изображено на этапе 2008.
Для того чтобы члену совместно используемой области осуществить доступ к обновленному файлу, который не сохранен локально, файл сначала должен быть передан в локальную машину. Фиг. 16 иллюстрирует графический интерфейс диалога 1600 копирования файла, предоставляемого пользователю для указания того, что происходит операция передачи. Когда файл доступен на локальной машине, пиктограмма, предоставляющая ярлык для совместно используемого файла, будет обновлена таким образом, чтобы отражать передачу файла. Когда файл запрошен через диалог открытия, файл будет открыт в запрошенном приложении при завершении передачи файла. Пользователю предоставляют визуальное указание передачи файла, как изображено графическим знаком 1602. Фиг. 16 также иллюстрирует уравляющий элемент 1604 Отмена, предназначенный для прекращения передачи файла.
Для добавления или удаления файлов или директорий из совместно используемой области пользователь может щелкнуть правой клавишей мыши на пиктограмме, связанной с представляющим интерес контентом, чтобы предоставить графический интерфейс, такой как контекстное меню 1700, изображенное на фиг. 17. Контекстное меню 1700 предоставляют с впечатлением и ощущением меню файловой системы, имеющим различные доступные для выбора пользователем опции меню, такие как Исследовать, Открыть, Искать и тому подобные. Кроме того, меню включает в себя пункт 1702 меню «Совместно использовать с». При выборе пользователем этого пункта, предоставляют выпадающий список имеющихся групп. Каждая совместно используемая область, которая содержит выбранный файл или директорию, будет включать в себя графическое представление, такое как флаговая метка 1704, как изображено на фиг. 17. Совместное использование файла или директории выбранного пункта может быть закончено с помощью отмены выбора совместно используемой области. Отмена выбора совместно используемой области из меню «Совместно использовать с» удаляет копию файла или директории разместившего ее члена из совместно используемой области. В случае когда другие члены группы передали совместно используемый файл локально, файл предпочтительно удаляют из каждой машины, владеющей контентом.
Кроме использования контекстного меню, файлы также могут быть перемещены с помощью графического интерфейса в папку совместно используемой области из другого окна Проводника. Операции редактирования Вырезать/Копировать и Вставить также могут быть использованы, чтобы перенести файл в папку совместно используемой области. Таким образом, файл копируют и/или перемещают в локальную папку совместно используемой области, как указано действием пользователя.
Также как относительно обычных файлов и директорий, совместно используемый файл или директория может быть легко перемещен с помощью члена совместного использования в другие местоположения в иерархии совместно используемой области. Например, член совместного использования может переместить файл в другую папку. Члены могут создавать новые папки в совместно используемой области для организации контента. В соответствии с одним признаком, несмотря на то что любой член может хранить контент в любой директории, которая имеется в совместно используемой области, даже если другой член внес изменения в эту директорию, только член, который совместно использует контент, может изменить его местоположение в совместно используемой области.
В предпочтительном варианте осуществления приложение поддерживает показатель для всех одноранговых узлов, соединенных с исходной машиной. Такой показатель указывает время отклика машины однорангового узла, доступность машин одноранговых узлов и тому подобные данные для использования в принятии решения относительно того, как будут получены совместно используемые данные. Следовательно, сеанс загрузки может быть приостановлен и возобновлен таким образом, что, если часть совместно используемого файла загружена, а затем приостановлена, в следующий раз, когда член группы подсоединяется к одноранговой сети или когда он возобновляет загрузку, загрузка возобновляется в другом месте после части, которая была скопирована последней.
Изобретение также ориентировано на защиту, так как совместно используемые области передают всю совместно используемую инфомацию как зашифрованную. Следовательно, в варианте осуществления администратор или владелец группы обеспечивает политику предприятия, такую как создание группы, сколько членов группы присутствуют, кто может быть членом, например служащие корпорации Х, но не служащие корпорации Y, домены, должен ли контент совместно использоваться. Политику группы передают во все машины в домене, к которому относится политика. Приложение изобретения считывает и подчиняется такой политике.
Поскольку совместно используемые файлы иногда являются большими файлами, такими как видеофайлы, может возникнуть проблема узкого места. Следовательно, изобретение может включать в себя пользовательскую опцию для задания величины общей полосы пропускания, подлежащей использованию для загрузок файлов в другие машины. В качестве альтернативы пользователь может задавать приоритеты определенным группам посредством политики таким образом, что всякий раз, когда пользователь не использует электронную почту или броузинг, тогда приложение групповой области может использовать дополнительную полосу пропускания для распространения файлов.
В некоторых случаях совместно используемый контент может быть материалом, защищенным правами, таким как материал, защищенный авторским правом, так что он не может быть легальным образом скопирован в каждую из машин группы. В этом случае приложение может выполнять поточную передачу контента таким образом, что копия не создается и не сохраняется на других машинах, принадлежащих членам группы. Вместо этого такие другие члены группы могут прослушивать, просматривать или иным образом воспринимать защищенный контент. Такое действие может быть инициируемым пользователем, или приложение может автоматически обнаруживать, что определенный материал защищен управлением цифровыми правами (DRM). Во время передачи пользователь может останавливать и начинать передачу, а также наблюдать статус передачи с помощью доставленной процентной доли. Пользователь может в необязательном порядке отклонять запрос на передачу файла. Поскольку члены группы имеют полномочия, которые описывают, кто они есть, что они могут делать и как они могут опознаваться другими членами группы, такие действия являются легко реализуемыми. Как отмечено выше, контент, переданный другим членам группы, шифруют в любом случае.
Таким образом, изобретение дает возможность взаимодействий среди членов группы в соответствии со сценариями реального мира. Например, пользователь может делать объемные фотографии или некоторое видео своих детей. Поскольку совместное использование такой информации, особенно видео информации, является особенно трудным, пользователь может просто создать совместно используемую область Семья для использования в целях обмена этими и другими файлами со своими родственниками. В другом примере реального мира пользователь может планировать встречу с несколькими членами ее деловой команды и с несколькими партнерами, которых она встретила на закрытом просмотре. Поскольку она планирует совместно использовать некоторую информацию с другими участниками встречи, пользователь создает групповую совместно используемую область для встречи и использует список людей, «близких» к ней, чтобы добавить членов ее команды и партнеров к группе. Пользователь также может предварительно заполнить совместно используемую область презентацией или другими материалами, по мере необходимости. Когда участники прибывают на встречу и включают свои вычислительные системы при подготовке к встрече, их извещают о том, что создана совместно используемая область, приглашают присоединиться к этой совместно используемой области и осуществлять доступ к документам. Кроме того, такие участники могут легко добавлять другие материалы, относящиеся к встрече. Когда встреча завершается, пользователь и другие участники могут удалить совместно используемую область или сохранить ее для дальнейшего сотрудничества.
В групповой области могут происходить различные действия. Такие действия могут включать в себя совместное использование файла, интерактивный обмен сообщениями с помощью текста и/или аудиовизуальным способом, игры, коллективное редактирование растровых изображений, коллективное редактирование сообщений, распространение контента, распространение программного обеспечения и файлов с исправлениями. На самом деле изобретение может быть использовано для того, чтобы выполнять распределенные вычислительные задания, такие как, например, совместная работа над решением общей задачи, такой как предсказание погоды, сложные биологические проблемы, например составление генетической карты ДНК, анализ астрономических процессов или поиск в групповом контенте в отношении основных исследовательских задач.
Будет понятно, что описано новое приложение и интерфейс для группового взаимодействия через сеть. Ввиду многих возможных вариантов осуществления, к которым могут быть применены принципы этого изобретения, следует понимать, что варианты осуществления, описанные в настоящей заявке относительно фигур чертежей, являются иллюстративными и не должны быть восприняты как ограничивающие объем изобретения. Например, специалисты в данной области техники поймут, что элементы проиллюстрированных вариантов осуществления, изображенные в программном обеспечении, могут быть реализованы в аппаратном обеспечении, и наоборот, или что проиллюстрированные варианты осуществления могут быть модифицированы в структуре и деталях, не выходя за рамки сущности изобретения. Например, несмотря на то что изобретение в первую очередь описано относительно персональных компьютеров и связанных с ними дисплеев и настольных систем, следует понимать, что изобретение не требует ПК или традиционной настольной системы. Вместо этого изобретение также может быть реализовано на других устройствах, которые поддерживают функцию визуального отображения. Следовательно, изобретение, как описано в настоящей заявке, рассматривает все такие варианты осуществления как допустимые в рамках объема, определяемого следующей формулой изобретения и ее эквивалентами.
Формула изобретения
1. Способ предоставления возможности совместного использования файлов через бессерверную одноранговую компьютерную сеть среди членов группы совместно используемой области с одноранговой связью, содержащий этапы, на которых: отображают первому члену группы совместно используемой области с одноранговой связью, ассоциированному с первым компьютерным устройством в бессерверной одноранговой компьютерной сети, индикатор совместно используемой области, включающий в себя первый объект-папку, ассоциированный с упомянутой группой совместно используемой области с одноранговой связью и приспособленный содержать один или более совместно используемых объектов-файлов, при этом упомянутая группа совместно используемой области с одноранговой связью содержит владельца группы совместно используемой области с одноранговой связью, владельца первого объекта-папки, первого члена группы совместно используемой области с одноранговой связью и по меньшей мере одного другого члена группы совместно используемой области с одноранговой связью; отображают первому члену группы совместно используемой области с одноранговой связью для выбора первый набор операций файловой системы, включающий в себя: создание объекта-папки, переименование объекта-папки, удаление объекта-папки, скрытие объекта-папки, показ скрытого объекта-папки, изменение установок объекта-папки, установку репликации файла и задание нового содержимого объекта-папки; принимают от первого члена группы совместно используемой области с одноранговой связью первый запрос выполнить одну из упомянутого набора операций файловой системы относительно первого объекта-папки; выполняют запрошенную операцию файловой системы и посылают прямое сообщение от первого члена группы совместно используемой области с одноранговой связью через бессерверную одноранговую сеть во второе компьютерное устройство, используемое упомянутым по меньшей мере одним другим членом группы совместно используемой области с одноранговой связью, который имеет разрешение принимать это сообщение, чтобы указать, что первый объект-папка модифицирован первым членом группы совместно используемой области с одноранговой связью после выполнения упомянутой операции файловой системы, при этом на втором компьютерном устройстве, используемом упомянутым по меньшей мере одним другим членом группы совместно используемой области с одноранговой связью, отображают графическое представление модификации первого объекта-папки.
2. Способ по п.1, дополнительно содержащий этап, на котором предоставляют графическое представление запрошенной операции файловой системы первому члену группы совместно используемой области с одноранговой связью в ответ на прием первого запроса операции файловой системы.
3. Способ по п.1, в котором первый объект-папка представляет собой объект-папку совместно используемой области, соответствующий группе совместно используемой области с одноранговой связью, при этом способ дополнительно содержит этапы, на которых: выполняют операцию переименования объекта-папки, только если от владельца группы совместно используемой области с одноранговой связью принят запрос владельца на выполнение операции переименования папки, и если от владельца группы совместно используемой области с одноранговой связью принят запрос владельца на выполнение операции удаления объекта-папки, выполняют операцию удаления объекта-папки, при этом запрещают изменение одного или более свойств группы совместно используемой области с одноранговой связью членами группы совместно используемой области с одноранговой связью, отличными от владельца группы совместно используемой области с одноранговой связью, запрещают приглашение новых членов присоединиться к группе совместно используемой области с одноранговой связью и поддерживают доступ к объекту-папке совместно используемой области для членов группы совместно используемой области с одноранговой связью, отличных от владельца группы совместно используемой области с одноранговой связью.
4. Способ обновления совместно используемого файла в компьютерной сети, включающей в себя группу сообщающихся компьютерных устройств в виде одноранговой сети, содержащий этапы, на которых: выполняют в первом компьютерном устройстве операцию файловой системы относительно совместно используемого файла, ассоциированного с соответствующей совместно используемому файлу первой пиктограммой файла, отображаемой в первом участке отображения совместно используемой области, чтобы сгенерировать обновленный совместно используемый файл; создают в первом компьютерном устройстве метаданные, ассоциированные с обновленным совместно используемым файлом; с помощью первого компьютерного устройства непосредственно распространяют на второе компьютерное устройство, имеющее разрешение, метаданные, ассоциированные с обновленным совместно используемым файлом; получают с помощью второго компьютерного устройства метаданные, ассоциированные с обновленным совместно используемым файлом; определяют с помощью второго компьютерного устройства на основе установки репликации файла, должен ли обновленный совместно используемый файл быть скопирован на второе компьютерное устройство, при этом если установка репликации файла указывает на то, что копирование основывается на запросе, загружают с помощью второго компьютерного устройства из множества компьютерных устройств упомянутой группы части обновленного совместно используемого файла по приему указания запрошенного пользователем копирования файла, и если установка репликации файла указывает автоматическую репликацию, автоматически загружают с помощью второго компьютерного устройства из множества компьютерных устройств упомянутой группы части обновленного совместно используемого файла, при этом упомянутое множество компьютерных устройств упомянутой группы выбирается на основе по меньшей мере одного из набора относящихся к маршрутизации факторов, содержащего IP-адрес и наименьшее время маршрутизации; и отображают вторую пиктограмму файла, соответствующую совместно используемому файлу, во втором участке отображения совместно используемой области второго компьютерного устройства, указывающую, что совместно используемый файл обновлен.
5. Способ по п.4, дополнительно содержащий этап, на котором отображают с помощью второго вычислительного устройства третью пиктограмму файла, соответствующую совместно используемому файлу, во втором участке отображения совместно используемой области, указывающую, что совместно используемый файл не был обновлен, когда обновленный совместно используемый файл не должен быть скопирован на второе вычислительное устройство.
6. Способ по п.5, в котором третья пиктограмма файла предоставляет указание того, что обновление для совместно используемого файла существует.
7. Способ по п.6, в котором первый участок отображения совместно используемой области является объектом-папкой.
8. Способ обновления совместно используемого файла в компьютерной сети, включающей в себя группу сообщающихся компьютерных устройств в виде одноранговой сети, содержащий этапы, на которых: выполняют в первом компьютерном устройстве операцию файловой системы относительно совместно используемого файла, ассоциированного с соответствующей совместно используемому файлу первой пиктограммой файла, отображаемой в первом участке отображения совместно используемой области, чтобы сгенерировать обновленный совместно используемый файл; создают в первом компьютерном устройстве метаданные, ассоциированные с обновленным совместно используемым файлом; с помощью первого компьютерного устройства непосредственно распространяют на второе компьютерное устройство, имеющее разрешение, метаданные, ассоциированные с обновленным совместно используемым файлом; получают с помощью второго компьютерного устройства метаданные, ассоциированные с обновленным совместно используемым файлом; определяют с помощью второго компьютерного устройства на основе установки репликации файла второго компьютерного устройства, должен ли обновленный совместно используемый файл быть скопирован на второе компьютерное устройство, причем установка репликации файла выбирается пользователем второго компьютерного устройства, при этом если установка репликации файла указывает на то, что копирование основывается на запросе, загружают с помощью второго компьютерного устройства из множества компьютерных устройств упомянутой группы части обновленного совместно используемого файла по приему указания запрошенного пользователем копирования файла, и если установка репликации файла указывает автоматическую репликацию, автоматически загружают с помощью второго компьютерного устройства из множества компьютерных устройств упомянутой группы части обновленного совместно используемого файла, при этом упомянутое множество компьютерных устройств упомянутой группы, с которых части обновленного совместно используемого файла автоматически загружаются, выбирается на основе близости каждого из этого множества компьютерных устройств ко второму компьютерному устройству, причем близость основывается на по меньшей мере одном из IP-адреса и наименьшего времени маршрутизации; отображают вторую пиктограмму файла, соответствующую совместно используемому файлу, во втором участке отображения совместно используемой области второго компьютерного устройства, указывающую, что совместно используемый файл обновлен; и отображают с помощью второго вычислительного устройства третью пиктограмму файла, соответствующую совместно используемому файлу, во втором участке отображения совместно используемой области, указывающую, что совместно используемый файл не был обновлен, когда обновленный совместно используемый файл не должен быть скопирован на второе вычислительное устройство, причем третья пиктограмма файла предоставляет указание того, что обновление для совместно используемого файла существует.
9. Способ по п.8, дополнительно содержащий этап, на котором на втором компьютерном устройстве обеспечивают пользовательский интерфейс, причем этот пользовательский интерфейс включает в себя установку репликации файла и посредством данного пользовательского интерфейса пользователю предоставляется возможность выбрать установку репликации файла второго компьютерного устройства.
10. Способ по п.9, в котором при обеспечении пользовательского интерфейса на втором компьютерном устройстве пользовательский интерфейс дополнительно включает в себя установку отображения имени субъекта, обладающего правом размещения файлов, с файлами, при этом посредством этой установки отображения имени субъекта, обладающего правом размещения файлов, с файлами пользователю предоставляется возможность выбирать, следует ли имя обладающего правом размещения файлов субъекта, соответствующего обновленному совместно используемому файлу, отображать с именем файла обновленного совместно используемого файла.
11. Способ по п.9, в котором при обеспечении пользовательского интерфейса на втором компьютерном устройстве пользовательский интерфейс дополнительно включает в себя установку размещения файлов членом, при этом посредством этой установки размещения файлов членом пользователю предоставляется возможность выбирать, имеют ли члены упомянутой группы разрешение размещать какой-либо совместно используемый контент для данной группы.
12. Способ по п.9, в котором при обеспечении пользовательского интерфейса на втором компьютерном устройстве пользовательский интерфейс дополнительно включает в себя установку нового контента, при этом посредством этой установки нового контента пользователю предоставляется возможность выбирать временной интервал, в пределах которого заданный контент определяется как являющийся новым.
РИСУНКИ
|
|