|
|
(21), (22) Заявка: 2006135930/03, 08.03.2005
(24) Дата начала отсчета срока действия патента:
08.03.2005
(30) Конвенционный приоритет:
12.03.2004 DE 102004012644.5
(43) Дата публикации заявки: 20.04.2008
(46) Опубликовано: 27.11.2009
(56) Список документов, цитированных в отчете о поиске:
ЕР 1063384 А, 27.12.2000. DE 19929133 A1, 05.01.2000. DE 19610428 A1, 18.09.1997. ЕР 0741226 А2, 06.11.1996. RU 2184199 С2, 27.06.2000.
(85) Дата перевода заявки PCT на национальную фазу:
12.10.2006
(86) Заявка PCT:
EP 2005/051023 20050308
(87) Публикация PCT:
WO 2005/088058 20050922
Адрес для переписки:
105064, Москва, а/я 88, НИИР Канцелярия “Патентные поверенные Квашнин, Сапельников и партнеры”, пат.пов. В.П.Квашнину, рег. 4
|
(72) Автор(ы):
ХЕРЦОГ Райнхард (DE)
(73) Патентообладатель(и):
Профайн ГмбХ (DE)
|
(54) УСТРОЙСТВО ОГРАНИЧЕНИЯ ВОЗДУШНОГО ПОТОКА ДЛЯ ОКНА С ПРИНУДИТЕЛЬНОЙ ВЕНТИЛЯЦИЕЙ
(57) Реферат:
Изобретение относится к области строительства, а именно к конструкциям окон. Изобретение позволит повысить точность дросселирования вентиляции при небольшой разнице давлений воздуха и шумоизоляцию окна. Устройство ограничения воздушного потока для окна с принудительной вентиляцией содержит запорное приспособление для автоматического открывания и закрывания вентиляционного пути в зависимости от разности давлений. Запорное приспособление выполнено с пружинно- или мягкоэластичным демпфирующим элементом, который при закрывании ограничивающего воздушный поток устройства работает на изгиб и при этом гасит закрывающее движение запорного приспособления. 5 з.п. ф-лы, 8 ил.
Настоящее изобретение относится к устройству ограничения воздушного потока в окне с принудительной вентиляцией.
Область техники
Применение теплоизолированных окон с улучшенным уплотнением стыков часто приводит, в особенности при применении во влажных помещениях, таких как ванные комнаты и кухни, к многочисленным повреждениям помещения сыростью, например поражениям плесневым грибком, если не обеспечивается регулярное и достаточное проветривание помещений. С подобной проблемой приходится встречаться в квартирах с открытым этажным газовым отоплением и т.п. Поэтому делались различные предложения по оснащению окон принудительной вентиляцией, которая независимо от манипуляции жильцами обеспечивает минимальное проветривание помещений. Однако при повышенной разности между давлением внутри помещения и давлением снаружи здания из-за высокой скорости ветра такая принудительная вентиляции приводит к нежелательно высоким объемным потокам обмениваемого воздуха, которые являются причиной больших потерь энергии и в некоторых случаях приводят к появлению сквозняков.
Уровень техники
Ранее уже делались многочисленные предложения для окон с принудительной вентиляцией, предусматривающие ограничение воздушного потока при повышенной разности давлений, см., например, DE 10240290 А1 и DE 29838312 U1.
DE 19929133 C2 относится к пластмассовому окну из створки и оконной коробки с оконным фальцем между наружным уплотнением оконной коробки и внутренним уплотнением створки, причем через оконный фальц между створкой и оконной коробкой воздух протекает снаружи внутрь, и наоборот. При этом в оконном фальце предусмотрен по меньшей мере один фальцевый вентилятор, который имеет воздухопроводную камеру и ограничитель объемного расхода воздуха.
Из DE 19646842 C2 известен установленный в двух расположенных по бокам опорах с возможностью совершения маятникового движения вентиляционный клапан, который закреплен внутри предусмотренного для оконных приборов паза нижнего горизонтального створного оконного переплета.
Названные устройства для ограничения воздушного потока для окна с принудительной вентиляцией создают при каждом закрывании вентиляционного клапана неприятный звук соударения, соответственно дребезжания, сильно снижающий комфорт от такого устройства.
DE 19610428 C2 относится к окну с принудительной вентиляцией с оконной коробкой, створным оконным переплетом и средним уплотнением. Это уплотнение имеет первый уплотнительный язычок, верхний конец которого при закрытом окне прилегает к поверхности прилегания оконной коробки, соответственно створного оконного переплета. В этом первом уплотнительном язычке находятся также проходные отверстия для воздуха. Уплотнение имеет далее второй уплотнительный язычок, эластичный, способный свободно двигаться при закрытом окне и расположенный под острым углом к первому уплотнительному язычку так, что при превышении определенной разности давлений между наружной стороной окна и внутренней стороной окна проходные отверстия для воздуха по меньшей мере частично закрываются. Это решение хотя и не создает при закрывании звуков соударения, соответственно дребезжания, однако для достижения воспроизводимой характеристики закрывания для данного уплотнения само уплотнение должно быть изготовлено с очень высокой точностью. К тому же эта конструкция не пригодна для того, чтобы закрывать проходные отверстия для воздуха уже при относительно небольших разностях давлений воздуха.
Из ЕР 0741226 A2 известен приводимый в действие вручную вентиляционный клапан, который для обеспечения лучшего уплотнения упирается в гибкую уплотнительную кромку.
Задача изобретения
В основу изобретения была положена задача предложить устройство для ограничения воздушного потока для окна с принудительной вентиляцией, которое может быть изготовлено с небольшими затратами, точно дросселирует вентиляцию уже при небольших разностях давлений воздуха и по меньшей мере практически полностью устраняет звук соударения, соответственно дребезжания.
Краткое изложение сущности изобретения
Изобретение решает эту задачу с помощью устройства для ограничения воздушного потока для окна с принудительной вентиляцией, имеющего запорное приспособление для автоматического открывания и закрывания вентиляционного пути в зависимости от разности давлений, причем это устройство отличается пружинно- или мягкоэластичным демпфирующим элементом, который при закрывании ограничивающего воздушный поток устройства работает на изгиб и при этом гасит закрывающее движение запорного приспособления.
Устройство для ограничения воздушного потока для окна с принудительной вентиляцией предпочтительно применяется с установленным в опорах с возможностью совершения маятникового движения вентиляционным клапаном, который может занимать первое, открывающее вентиляционный путь, основное положение и второе, закрывающее вентиляционный путь, основное положение, причем отстоящая от оси вращения упорная кромка вентиляционного клапана входит в прилегание к упорной поверхности для уплотнения зазора между ними, причем устройство для ограничения воздушного потока имеет пружинно- или мягкоэластичный, расположенный на расстоянии от упорной поверхности демпфирующий элемент, который при закрывании вентиляционного клапана работает на изгиб и при этом гасит закрывающее движение запорного клапана.
Окно с принудительной вентиляцией для применения в нем предлагаемого в изобретении устройства для ограничения воздушного потока предпочтительно известную специалисту, составленную из профилей оконную коробку и соответствующий составленный из профилей створный оконный переплет. Предпочтительно профили оконной коробки и профили створного оконного переплета изготовлены из пластмассы, в частности твердого ПВХ. Однако могут применяться также другие материалы, не выходя за пределы настоящего изобретения. Профили оконной коробки обычно имеют в зоне обращенного в сторону помещения фальца паз для установки в нем рейки крепления стекла. Этот паз при применении оконной коробки в качестве постоянного остекления, т.е. без створки, служит для установки в нем рейки крепления стекла, которая удерживает постоянное остекление. При применении оконной коробки совместно со створкой, т.е. без постоянного остекления, этот паз используется обычно лишь для установки в нем запорных деталей. Изобретение использует в одном предпочтительном варианте его осуществления этот паз для закрепления устройства для ограничения воздушного потока.
Окно с принудительной вентиляцией имеет образованную между оконной коробкой и створным оконным переплетом фальцевую камеру, через которую воздух может течь с наружной стороны окна в сторону внутреннего помещения. В верхней горизонтальной зоне фальца предусмотрено предлагаемое устройство для ограничения воздушного потока, причем это устройство для ограничения воздушного потока предпочтительно имеет основу и один установленный в основе с возможностью совершения маятникового движения вентиляционный клапан. Основа имеет стопорное средство, которым она может быть закреплена в вышеупомянутом пазу. При необходимости крепление может быть выполнено дополнительно с помощью одного или нескольких винтов.
Ось вращения, вокруг которой этот клапан может раскачиваться наподобие маятника, проходит согласно одному особенно предпочтительному варианту осуществления изобретения внутри паза для установки рейки крепления стекла.
Согласно этому особенно предпочтительному варианту осуществления изобретения устройство для ограничения воздушного потока расположено в фальцевой зоне закрытого окна так, что текущий с наружной стороны окна в сторону внутреннего помещения воздух направляется мимо вентиляционного клапана. При превышении определенной скорости потока воздуха, которая сопутствует превышению определенной разности давлений между наружной стороной окна и внутренней стороной окна, вентиляционный клапан, предпочтительно удерживаемый исключительно его силой тяжести в положении покоя, откидывается из своего положения покоя и при этом ударяется сначала о предлагаемый в изобретении пружинно- или мягкоэластичный демпфирующий элемент, прежде чем вентиляционный клапан полностью закроется. При дальнейшем закрывании вентиляционного клапана пружинно- или мягкоэластичный демпфирующий элемент нагружается на изгиб и при этом тормозит дальнейшее закрывающее движение запорного приспособления, прежде чем это запорное приспособление ударится об упорную поверхность, благодаря чему дальнейшее поступление воздуха ограничивается или предпочтительно по меньшей мере практически полностью прекращается. Пока разность давлений с наружной стороны стекла и внутри помещения превышает определенное значение, вентиляционный клапан остается в этом «закрытом положении». После уменьшения разности давления ниже определенного уровня вентиляционный клапан под действием его собственного веса снова возвращается в вертикальное положение покоя и тем самым снова освобождает вентиляционный путь.
Путем выбора длины вентиляционного клапана и его веса, а также угла атаки, необходимого для достижения запорного положения, можно регулировать в широких пределах разность давлений, при которой устройство для ограничения воздушного потока ограничивает или прерывает вентиляцию. Вентиляционный клапан предпочтительно имеет прямую, симметричную форму поперечного сечения без противовесов и т.д.
Особое преимущество вышеописанного предпочтительного устройства для ограничения воздушного потока заключается в том, что оно может быть спроектировано так, что уже при весьма небольшой разности давлений, например, в пределах от 10 до 60 Па, в частности в пределах от 20 до 45 Па, вентиляционный клапан выводится в «закрытое положение».
Согласно еще одному предпочтительному варианту осуществления изобретения основа имеет упорную поверхность, к которой установленный в опорах вентиляционный клапан прилегает в закрытом положении и тем самым перекрывает зазор между ними. Согласно альтернативному варианту осуществления изобретения обращенная к фальцу поверхность упорной фальцевой камеры створки служит в качестве упорной поверхности для вентиляционного клапана.
При закрытом окне основа предлагаемого устройства для ограничения воздушного потока предпочтительно уплотнена относительно створного оконного переплета уплотнением. Согласно одному особенно предпочтительному варианту осуществления изобретения это уплотнение может быть соединено в одно целое с основой. В этом случае уплотнение предпочтительно изготовляется известным специалисту способом двухкомпонентного литья под давлением.
Предлагаемый пружинно- или мягкоэластичный демпфирующий элемент изготовлен согласно предпочтительному варианту осуществления изобретения в частности из цилиндрического, стержнеобразного, эластичного материала, который при работе на изгиб воспринимает лишь очень небольшие усилия. Предпочтительно площадь поперечного сечения составляет от 0,5 до 2,5 мм2, предпочтительно от 0,7 до 1,5 мм2, длина от 2 до 15 мм, предпочтительно от 3 до 8 мм и твердость по Шору от 25 до 70, в частности от 30 до 60. Благодаря этому закрывающее движение запорного приспособления, в частности вентиляционного клапана, установленного в опорах с возможностью совершения маятникового движения, хотя и тормозится настолько, что это движение при соударении с основой не производит заметного шума, тем не менее оно не препятствует полному закрытию вентиляционного клапана. Демпфирующий элемент при этом расположен предпочтительно так, что щель между вентиляционным клапаном и упорной поверхностью в момент первого касания вентиляционного клапана с демпфирующим элементом составляет приблизительно от 0,3 до 1,2 мм, предпочтительно от 0,4 до 0,8 мм.
Согласно одному особенно предпочтительному варианту осуществления изобретения в нем используется особый эффект, который можно наблюдать при закрывании вентиляционного клапана: при превышении определенной разности между давлением с наружной стороны окна и давлением с внутренней стороны окна клапан под воздействием текущего мимо воздуха начинает автоматически выполнять закрывающее движение. Если при этом будет превышен определенный угол закрывания, то вентиляционный клапан оказывается в неустойчивом положении, которое приводит к дальнейшему ускоренному закрыванию вентиляционного клапана. После закрытия вентиляционного клапана разность давлений сначала должна снова немного падать до тех пор, пока затем вентиляционный клапан не откроется сразу полностью (гистерезис). Поскольку предлагаемый пружинно- или мягкоэластичный демпфирующий элемент отрегулирован достаточно мягко, то этот эффект гистерезиса приводит к тому, что вентиляционный клапан даже при разности давлений воздуха, которая находится в пределах критических значений разности давлений воздуха при закрывании вентиляционного клапана, не остается в промежуточном положении, но либо практически полностью открывается, либо совершенно закрывается. И альтернативно, упругая характеристика пружинно- или мягкоэластичного демпфирующего элемента может быть выбрана и такой, что вентиляционный клапан после первого касания демпфирующего элемента постепенно закрывает лишь при повышении разности давлений. При этом поперечное сечение для протекания воздуха при увеличении разности давлений становится меньше, так что объемный расход протекающего воздуха может поддерживаться приблизительно постоянным при большей разности давлений, пока вентиляционный клапан при превышении определенной разности давлений не закроет полностью щель.
Краткое описание чертежей
Ниже изобретение подробнее поясняется описанием примера его осуществления со ссылкой на прилагаемые чертежи. При этом фигуры показывают:
Фиг.1 – окно в поперечном разрезе с предлагаемым в изобретении устройством для ограничения воздушного потока (открытый воздушный канал);
Фиг.2 – окно, как на Фиг.1, в закрытом положении устройства для ограничения воздушного потока;
Фиг.3 – устройство для ограничения воздушного потока в перспективном виде;
Фиг.4 – основа устройства для ограничения воздушного потока в поперечном разрезе;
Фиг.5 – деталь «А» на Фиг.3, если смотреть с наружной стороны;
Фиг.6 – устройство для ограничения воздушного потока в поперечном разрезе незадолго до закрытия;
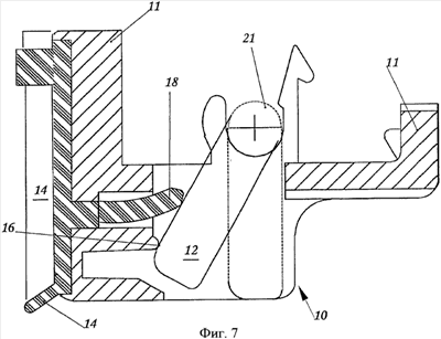
Фиг.7 – устройство для ограничения воздушного потока в закрытом положении;
Фиг.8 – протокол испытания принудительно вентилируемого окна с предлагаемым устройством для ограничения воздушного потока.
Наилучший вариант осуществления изобретения
Показанное на фиг.1 окно с принудительной вентиляцией состоит в основном из оконной коробки 1, составленной из профилей 2 для оконной коробки из твердого ПВХ, створного оконного переплета 3, составленного из профилей 4 для створного оконного переплета, и устройства 10 для ограничения воздушного потока.
Устройство 10 для ограничения воздушного потока изображено на Фиг.6 и 7 в разрезе. Оно состоит в основном из основы 11, изготовленной методом литья под давлением из АБС (сополимера акрилонитрила, бутадиена и стирола), и вентиляционного клапана 12, который также изготовлен из АБС. Основа 11, показанная на Фиг.3 в перспективном виде, имеет на своей поверхности Q стопорное средство 13, благодаря чему она может пружинно зажиматься в пазу 5, предназначенном под рейку для крепления стекла. Вентиляционный клапан 12 имеет на обеих торцовых сторонах по одному круглому крепежному штифту 21, которые служат в качестве подвески с осью 15 вращения в основе 11. Вентиляционный клапан 12, таким образом, имеет свободу движения между вертикальным основным положением (Фиг.1) и «закрытым положением» (Фиг.2 и 7).
При разности между давлением с наружной стороны 8 окна и давлением внутри помещения 9 ниже 30 Па воздух, как указано на Фиг.1 соответствующими стрелками, может проникать внутрь помещения 9 из фальцевой камеры 7 через щель между вентиляционным клапаном 12 и упорной поверхностью 16 основы 11, а также через щель между оконной коробкой 1 и упорной камерой 6 створного оконного переплета. Чтобы свежий воздух с наружной стороны 8 окна мог попадать в фальцевую камеру 7 в зоне вертикальных сторон окна известным специалисту образом выполнены отверстия в уплотнении 17 наружного упора (на фигурах не показаны).
Если разность между давлением с наружной стороны 8 окна и давлением внутри помещения 9 превышает значение 30 Па, воздушный поток перемещает удерживаемый в вертикальном положении лишь собственным весом вентиляционный клапан 12 настолько, пока он не натолкнется сначала на упорный выступ 18 и затем на упорную поверхность 16 основы 11 (Фиг.3), и тем самым перекрывает путь воздуху.
Упорный выступ 18, показанный на Фиг.5 в увеличенном виде, изготовлен из эластомера с твердостью А по Шору 40 и имеет диаметр 1,2 мм и свободную длину 4 мм. Иными словами, он обладает такими мягкоэластичными свойствами, что при соударении с вентиляционным клапаном 12 он начинает работать на изгиб (Фиг.6, 7), пока клапан 12 наконец не войдет в прилегание к упорной поверхности 16 и не перекроет тем самым зазор между ними. Сила, с которой упорный выступ 18 воздействует на вентиляционный клапан 12, настолько мала, что клапан в результате разности между давлением с наружной стороны 8 окна и давлением внутри помещения 9 сначала остается в закрытом положении (Фиг.7), пока давление воздуха снова несколько не уменьшится. Тем не менее, упорный выступ 18 гасит закрывающее движение вентиляционного клапана 12 настолько, что надежно подавляется возникновение звуков соударения, соответственно дребезжания.
Чтобы уплотнить основу 11 относительно створного оконного переплета 3 и предотвратить втекание воздуха между основой 11 и упорной камерой 6, основа 11 снабжена на трех сторонах уплотнением 14. В показанном примере осуществления изобретения это уплотнение 14 соединено в одно целое с основой 11 (способ литья под давлением с двойным впрыском). При рассматривании уплотнения 14 со стороны внутреннего помещения 9 это уплотнение имеет Li-форму. В зоне, в которой основа 11, соответственно уплотнение 14 касается створного оконного переплета 3, обычно выполняемое по всему периметру, внутреннее уплотнение упора створного оконного переплета 3 отсутствует.
Уплотнение 14 изготовлено из того же материала, что и упорный выступ 18, а именно из термопластичного эластомера с твердостью А по Шору 40. Как видно на Фиг.3, основа 11 устройства 10 для ограничения воздушного потока имеет на своей обращенной к помещению стороне два дистанционных элемента 19, которые также имеют на обращенной к помещению стороне небольшие выступы 19, изготовленные из мягкоэластичного материала. К этим выступам при закрывании окна прилегает упорная камера 6 створного оконного переплета 3, причем дистанционные элементы 19, с одной стороны, обеспечивают определенную ширину стыка между оконной коробкой 1 и створным оконным переплетом 3, а с другой стороны, основа 11 обладает необходимой жесткостью, чтобы образовать прямую упорную поверхность 16 для вентиляционного клапана 12.
Как видно на Фиг.1, ось 15 вращения предлагаемого устройства 10 для ограничения воздушного потока расположена так, что она в собранном состоянии (Фиг.1, Фиг.2) лежит еще внутри паза 5, предназначенного под рейку для крепления стекла, т.е. выше нижней кромки названного паза 5. При откидывании вентиляционного клапана 12 в закрытое положение (Фиг.2) вентиляционный клапан 12 как раз касается обращенной к помещению нижней кромки паза 5, так что поступление воздуха из паза 5 через щель между нижней кромкой паза 5 и вентиляционным клапаном 12 практически исключается.
Показанное на Фиг.1 и 2 окно с размерами 1, 15 м на 1,40 м было оборудовано двумя из устройств 10 для ограничения воздушного потока в верхней горизонтальной поперечине и испытывалось на объемный расход воздуха («потери воздуха») в зависимости от разности давлений между наружной стороной окна и внутренней, обращенной к помещению стороной окна. Результат испытания показан на Фиг.8. При разности давлений приблизительно 20 Па (на Фиг.8 обозначено буквой «А») вентиляционный клапан 12 закрывает до первого касания с упорными выступами 18. Благодаря геометрии упорного выступа 18 в совокупности с его твердостью по Шору при дальнейшем повышении разности давлений происходит постепенное закрывание вентиляционного клапана 12, так что объемный расход остается почти постоянным в относительно широких пределах давлений вплоть до приблизительно 200 Па и равным около 1 м3/ч на 1 м длины стыка. При 200 Па (точка «В» на Фиг.8) вентиляционный клапан 12 затем полностью закрывается.
Перечень позиций
| 1 |
оконная коробка |
| 2 |
профиль для оконной коробки |
| 3 |
створный оконный переплет |
| 4 |
профиль для створного оконного переплета |
| 5 |
паз 5 под рейку для крепления стекла |
| 6 |
упорная камера |
| 7 |
фальцевая камера |
| 8 |
наружная сторона окна |
| 9 |
обращенная к помещению сторона окна |
| 10 |
устройство для ограничения воздушного потока |
| 11 |
основа |
| 12 |
вентиляционный клапан |
| 13 |
стопорное средство |
| 14 |
уплотнение |
| 15 |
ось вращения |
| 16 |
упорная поверхность |
| 17 |
уплотнение наружного упора |
| 18 |
упорные выступы |
| 19 |
дистанционные элементы |
| 20 |
выступы |
| 21 |
опорный штифт |
| 22 |
упорная кромка |
Формула изобретения
1. Устройство (10) ограничения воздушного потока для окна с принудительной вентиляцией, содержащее запорное приспособление, которое производит автоматическое открывание и закрывание вентиляционного пути в зависимости от разности давлений, отличающееся тем, что оно содержит пружинно- или мягкоэластичный демпфирующий элемент, о который ударяется запорное приспособление при закрывании ограничивающего воздушный поток устройства (10), и что при дальнейшем закрывании ограничивающего воздушный поток устройства (10) пружинно- или мягкоэластичный демпфирующий элемент работает на изгиб и при этом гасит закрывающее движение запорного приспособления.
2. Устройство (10) ограничения воздушного потока для окна с принудительной вентиляцией по п.1, отличающееся тем, что оно содержит установленный на опорах с возможностью совершения маятникового движения вокруг оси вращения вентиляционный клапан, который может занимать первое открывающее вентиляционный путь основное положение и второе закрывающее вентиляционный путь основное положение, причем отстоящая от оси вращения упорная кромка (22) вентиляционного клапана (12) входит в прилегание к упорной поверхности (16) для уплотнения зазора между ними, и пружинно-мягкоэластичный, расположенный на расстоянии от упорной поверхности (16) демпфирующий элемент, о который ударяется вентиляционный клапан (12) при закрывании вентиляционного клапана (12), причем демпфирующий элемент при дальнейшем закрывании вентиляционного клапана (12) работает на изгиб и при этом гасит закрывающее движение запорного клапана (12).
3. Устройство (10) ограничения воздушного потока по п.2, отличающееся тем, что, с целью его крепления на профиле (2) для оконной коробки, оно имеет основу (11) и установленный в основе (11) на опорах с возможностью совершения маятникового движения вокруг оси (15) вращения вентиляционный клапан (12), причем основа (11) имеет стопорные средства (13) для ее крепления в пазу (5) профиля (2) для оконной коробки.
4. Устройство (10) ограничения воздушного потока по п.2 или 3, отличающееся тем, что вентиляционный клапан (12) имеет прямое симметричное поперечное сечение.
5. Устройство (10) ограничения воздушного потока по п.3, отличающееся тем, что основа (11) имеет упорную кромку (16), в которую упирается вентиляционный клапан (12) при ограничении воздушного потока.
6. Устройство (10) ограничения воздушного потока по п.4, отличающееся тем, что основа (11) имеет упорную кромку (16), в которую упирается вентиляционный клапан (12) при ограничении воздушного потока.
РИСУНКИ
|
|