|
|
(21), (22) Заявка: 2007118471/15, 22.11.2005
(24) Дата начала отсчета срока действия патента:
22.11.2005
(30) Конвенционный приоритет:
22.11.2004 EP 04447257.9
(43) Дата публикации заявки: 27.12.2008
(46) Опубликовано: 27.11.2009
(56) Список документов, цитированных в отчете о поиске:
SU 1726384 А1, 15.04.1992. SU 1813070 A3, 30.04.1993. SU 1701636 А1, 30.12.1991. SU 1305129 А1, 23.04.1987. US 4290885 А, 22.09.1981. FR 2798602 А, 23.03.2001. AT 356018 В, 10.04.1980. CH 478242 А, 15.09.1969. СН 613383 А, 28.09.1979.
(85) Дата перевода заявки PCT на национальную фазу:
22.06.2007
(86) Заявка PCT:
BE 2005/000169 20051122
(87) Публикация PCT:
WO 2006/053408 20060526
Адрес для переписки:
191036, Санкт-Петербург, а/я 24, “НЕВИНПАТ”, А.В.Поликарпову
|
(72) Автор(ы):
ХЕЙДЖМАН Джони Хектор (BE), ПУТ Бруно (BE), ШАРПЕНТЬЕ Джозеф (FR), ДЮРРИ Мишель (FR)
(73) Патентообладатель(и):
Аквасистемс Интернешнл Н.В. (BE), ОТВ СА (FR)
|
(54) УСТРОЙСТВО ДЛЯ ОЧИСТКИ ЖИДКОСТИ И ПЕНЫ
(57) Реферат:
Изобретение может быть использовано для очистки объема с водной средой с плавающей на ней пеной, а также для очистки перегноя, жидкого навоза животных, промышленных жидких отходов, для системы очистки воды отстойных бассейнов и жидких отходов пищевых производств. Система для очистки объема водной среды содержит бак 1, впускное отверстие 5, выпускное отверстие 6, всасывающее приспособление 7 для текучей среды, взаимосвязанное с транспортирующим приспособлением 4 для текучей среды. Всасывающее приспособление 7 выполнено с возможностью создания нисходящего всасываемого потока текучей среды в транспортирующем приспособлении 4 из впускного отверстия 5 по направлению к всасывающему приспособлению 7. Разность между уровнем, на котором находится впускное отверстие, и уровнем, на котором находится всасывающее приспособление, составляет по меньшей мере 40 см. Технический результат: очистка слоя пены, плавающей на поверхности объема жидкости, 5 н. и 41 з.п. ф-лы, 20 ил.
ОБЛАСТЬ ИЗОБРЕТЕНИЯ
Изобретение относится к системе для очистки объема с водной средой с плавающей на ней пеной.
УРОВЕНЬ ТЕХНИКИ
В патенте США 4290885 обсуждается аэрационное устройство для введения газа в такую жидкость, как, например, сточные воды активационного бассейна. Это устройство помещено в бак. Указанный бак содержит вертикальную трубу с отверстием сверху и снизу, при этом в верхней части трубы установлена крыльчатка для проталкивания воды или жидкости вниз. Предусмотрен воздушный трубопровод для втягивания воздуха путем разрежения или всасывания, созданного толкающей крыльчаткой. После прохождения через крыльчатку указанный воздух проталкивается вниз. Над верхним отверстием расположена крышка для того, чтобы в цилиндр могла проходить только жидкость. Недостаток данной системы состоит в том, что в цилиндре может оставаться воздух и образовывать большие пузыри, которые могут приводить к неправильной работе крыльчатки и/или вызывать ее повреждения.
Известны другие аэрационные устройства, такие как устройства, выпускаемые с товарным знаком AQUA TURBO®, поставляемые Заявителем.
Все эти устройства не могут соответствующим образом очистить слой пены, плавающей на поверхности объема жидкости.
СУЩНОСТЬ ИЗОБРЕТЕНИЯ
Изобретение относится к системе для очистки объема водной среды, возможно имеющей плавающую пену, который содержится в баке, имеющем дно и верхнюю часть, причем в этой системе имеется всасывающее приспособление для текучей среды, взаимосвязанное с транспортирующим приспособлением для текучей среды, имеющим по меньшей мере одно впускное отверстие и одно выпускное отверстие, причем указанное всасывающее приспособление предназначено для создания перемешивания, по меньшей мере частично, в указанном объеме водной среды, преимущественно, по меньшей мере частично, между указанными впускным и выпускным отверстиями. В предложенной системе всасывающее приспособление взаимосвязано с транспортирующим приспособлением и выполнено с возможностью создания нисходящего всасываемого потока текучей среды в транспортирующее приспособление из впускного отверстия по направлению к всасывающему приспособлению, причем разность между уровнем, на котором находится впускное отверстие, и уровнем, на котором находится всасывающее приспособление, составляет по меньшей мере 40 см, преимущественно по меньшей мере 100 см, предпочтительно по меньшей мере 150 см.
Впускное отверстие преимущественно имеет проходную поверхность или проход, предназначенный для прохождения плавающей пены, главным образом густой пены, такой как пена, концентрация которой больше 0,05, предпочтительно более 0,1, например более 0,15; 0,2; 0,25 и т.д. Впускное отверстие преимущественно имеет приспособление для регулирования потока плавающей пены в транспортирующее приспособление и/или приспособление для регулирования перелива пены по направлению к транспортирующему приспособлению. Например, транспортирующее приспособление взаимосвязано с системой перелива пены, положение которой можно регулировать или настраивать при помощи системы регулирования. Данная система регулирования может, например, настроить положение уровня перелива относительно положения всасывающего приспособления в зависимости от верхнего уровня пены.
Согласно предпочтительному варианту выполнения всасывающее приспособление расположено рядом с дном бака или прикреплено к транспортирующему приспособлению таким образом, что оно проходит смежно с нижней частью указанного транспортирующего приспособления. Однако, кроме этого, оно может находиться в любом другом месте или на любом другом уровне в баке.
Согласно детальному описанию предпочтительного варианта выполнения система содержит приспособление для впуска газа в транспортирующее приспособление ниже уровня, на котором находится указанное впускное отверстие, и/или уровня, на котором находится всасывающее приспособление, и/или приспособление для выпуска газа из транспортирующего приспособления для пены, причем указанное выпускное приспособление представляет собой средство, предотвращающее опускание в него пены, когда пена течет вниз в транспортирующее приспособление для пены, и это приспособление представляет собой, например, проход или канал, в котором нет потока пены или жидкости.
Согласно другому варианту выполнения впускное отверстие имеет проходную поверхность, предназначенную для прохождения плавающей пены, причем указанное впускное отверстие содержит средство, предназначенное для разрушения и/или нарушения целостности пены, проходящее над впускным отверстием или перед ним. Кроме того, указанное средство преимущественно представляет собой средство, направляющее пену в часть транспортирующего приспособления.
Предпочтительно, указанное средство для разрушения пены представляет собой элемент, входящий по меньшей мере частично в транспортирующее приспособление и проходящий по меньшей мере частично на уровне выше пены. Преимущественно, этот элемент входит в транспортирующее приспособление на расстояние, составляющее по меньшей мере 10 см, предпочтительно от 20 см до 100 см.
Предпочтительно, транспортирующее приспособление в той его части, где проходит указанный элемент, имеет по существу кольцевой или круговой проход для пены или проход, образованный между первой и второй (преимущественно цилиндрическими) стенками, причем вторая стенка входит по меньшей мере частично в объем, ограниченный первой стенкой. Транспортирующее приспособление может дополнительно иметь одну или несколько отдельных систем разрушения пены, находящихся между впускным и выпускным отверстиями транспортирующего приспособления. Согласно одному варианту выполнения указанный элемент имеет канал, впускное отверстие которого находится над уровнем пены, а выпускное отверстие проходит по меньшей мере на 10 см, преимущественно по меньшей мере на 20 см ниже уровня, на котором находится впускное отверстие транспортирующего приспособления, причем указанный канал предназначен для прохождения газа или жидкости, например, для впуска газа в транспортирующее приспособление и/или выпуска газа из него, при этом указанный впуск и/или выпуск выполняют, например, посредством компрессора, всасывающего насоса и т.п.
При необходимости удаления газов может быть преимущественным создание системы с таким приспособлением для всасывания газа, как воздушный винт, вентилятор, либо с приспособлением для всасывания газа, приводимым во вращение воздушным потоком.
Проходная площадь канала для выпуска газа или отверстия для впуска воздуха преимущественно составляет от 0,1 до 0,5, предпочтительно от 0,25 до 0,4 от проходной площади той части транспортирующего приспособления, предназначенного для пены, которая находится смежно со всасывающим приспособлением.
Предпочтительно, указанный элемент имеет систему регулирования прохождения газа или жидкости по указанному каналу.
Согласно предпочтительному варианту выполнения система содержит элемент, имеющий форму воронки, предназначенный для транспортировки пены по направлению к отверстию транспортирующего приспособления или трубе, причем указанный элемент, имеющий форму воронки, взаимосвязан с системой регулировки уровня, предназначенной для контроля уровня пены, втекающей путем перелива в указанный элемент. Например, элемент, имеющий форму воронки, взаимосвязан с фиксирующим элементом или системой позиционирования, обеспечивающей возможность регулировки или контроля уровня перелива. Далее пена протекает по направлению к отверстию транспортирующего приспособления, которое имеет средство для разрушения и/или нарушения целостности пены, находящееся над впускным отверстием или перед ним.
Согласно другому варианту выполнения система содержит приспособление, предназначенное для регулирования давления в транспортирующем приспособлении.
Согласно преимущественному варианту выполнения транспортирующее приспособление имеет одно или несколько впускных отверстий, образующих общую впускную поверхность, предназначенную для приема пены, и образует камеру, направляющую текучую среду и/или пену по направлению к всасывающему приспособлению, причем указанная камера имеет по меньшей мере участок, площадь прохода которого больше, чем указанная общая площадь впускной поверхности для впуска пены, при этом указанный участок расположен смежно со всасывающим приспособлением.
Преимущественно увеличенная проходная плошадь указанного участка камеры в 1,1-5, предпочтительно в 1,2-2 раза больше общей впускной площади, предназначенной для приема пены.
В транспортирующем приспособлении пена предпочтительно переносится по меньшей мере на двух участках, при этом первый, или верхний, участок находится рядом с впускным отверстием или впускными отверстиями для приема пены, а второй, или нижний, участок находится рядом со всасывающим приспособлением, причем проходная поверхность второго участка в 1,05-5, предпочтительно в 1,2-2 раза больше проходной поверхности первого участка.
Согласно дополнительному детальному описанию указанного предпочтительного варианта выполнения камера содержит по меньшей мере третий участок, расположенный между первым (или верхним) и вторым (или нижним) участками, причем проходная поверхность указанного третьего участка больше, чем проходная площадь первого участка, но меньше, чем проходная площадь второго участка.
Проходная площадь того или другого участка вычисляется в плоскости, перпендикулярной направлению потока пены.
Согласно преимущественному варианту выполнения транспортирующее приспособление содержит внутреннюю стенку и взаимосвязано с приспособлением для впуска некоторого количества жидкости, в частности для протекания некоторого количества жидкости из ванны, по меньшей мере частично, вдоль указанной внутренней стенки транспортирующего приспособления. Такое течение представляется преимущественным для нисходящего перемещения пены по направлению к всасывающему приспособлению.
Когда транспортирующее приспособление содержит два участка (верхний и нижний), которые выполнены подвижными один относительно другого, причем один участок входит по меньшей мере частично в пустое пространство другого участка, и между внутренней стенкой одного участка и наружной стенкой другого участка образованы пространства или каналы, указанные каналы или пространства предназначены для обеспечения возможности протекания жидкости к транспортирующему приспособлению, причем затем указанная жидкость течет по меньшей мере частично вдоль внутренней стенки нижнего участка.
Согласно детальному описанию предпочтительных вариантов выполнения:
– всасывающее приспособление содержит элемент, имеющий форму винта, предпочтительно спиральную центробежную крыльчатку, еще более предпочтительно с двойной спиралью, и/или
– транспортирующее приспособление имеет по меньшей мере одну стенку, образующую камеру в указанном объеме, выполненную с обеспечением сообщения по существу только с указанным объемом через впускное отверстие и через его выпускное отверстие при помощи всасывающего приспособления, и/или
– имеется приспособление, предназначенное для введения в камеру по меньшей мере одной химической добавки или реактива, и/или
– транспортирующее приспособление выполнено по меньшей мере частично с возможностью перемещения относительно бака, причем по меньшей мере предпочтительно верхняя часть транспортирующего приспособления выполнена с возможностью перемещения относительно бака, и/или
– по меньшей мере верхняя часть транспортирующего приспособления установлена на плавающем элементе, и/или
– всасывающее приспособление соединено с приводным двигателем, находящимся в баке или проходящим над уровнем жидкости, находящейся в указанном объеме, подлежащем очистке, и/или
– система дополнительно содержит систему разбрызгивателя, и/или дозирующую антипенную систему, и/или смеситель, и/или погружной аэратор.
Согласно частному варианту выполнения элемент для впуска или выпуска газа представляет собой открытую трубу с боковыми отверстиями или отверстиями в его боковой стенке на нижнем конце, который находится в транспортирующем приспособлении. Кроме того, нижний конец указанной открытой трубы может быть выполнен расширенным (например, в виде перевернутой воронки).
Согласно частному варианту выполнения указанный элемент, входящий по меньшей мере частично в транспортирующее приспособление, представляет собой открытую трубу, которая выполнена с возможностью перемещения относительно по меньшей мере части транспортирующего приспособления, причем положение элемента можно настроить, например отрегулировать.
Согласно детальному описанию указанного частного варианта выполнения транспортирующее приспособление содержит по меньшей мере две части, выполненные с возможностью перемещения одна относительно другой, причем указанный элемент прикреплен к одной из указанных частей транспортирующего приспособления. Транспортирующее приспособление предпочтительно содержит верхнюю и нижнюю части, причем верхняя часть выполнена с возможностью перемещения относительно нижней части, а указанный элемент прикреплен к верхней части, и имеется приспособление, предназначенное для настройки положения верхней части относительно нижней и для сохранения указанного относительного положения между нижней и верхней частями. Преимущественно, верхняя часть имеет элемент, имеющий форму воронки, направляющий пену по направлению к входному отверстию транспортирующего приспособления для приема пены. Нижняя часть преимущественно установлена на плавающей опоре.
Всасывающее приспособление может находиться полностью в транспортирующем приспособлении, может находиться полностью за его пределами или частично в нем, а частично за его пределами.
Кроме того, изобретение относится к приспособлению для разрушения пены, содержащему транспортирующее приспособление и предназначенному для системы, предназначенной для очистки объема водной среды с плавающей пеной, содержащемуся в баке, имеющем дно и верхнюю часть, причем указанное транспортирующее приспособление взаимосвязано со всасывающим приспособлением и имеет по меньшей мере одно впускное отверстие и одно выпускное отверстие, при этом указанное транспортирующее приспособление отличается тем, что всасывающее приспособление предназначено для создания нисходящего всасываемого потока текучей среды в транспортирующее приспособление из впускного отверстия по направлению к всасывающему приспособлению, и впускное отверстие содержит средство для разрушения и/или нарушения целостности пены, проходящее над впускным отверстием и/или перед ним. Расстояние, отделяющее впускное отверстие от выпускного отверстия, составляет по меньшей мере 40 см, преимущественно по меньшей мере 100 см, предпочтительно по меньшей мере 150 см.
Предпочтительное приспособление для разрушения пены представлено на прилагаемых Фиг.19 и 20.
Транспортирующее приспособление преимущественно содержит приспособление для впуска газа в транспортирующее приспособление между впускным отверстием и выпускным отверстием и/или на уровне, на котором находится всасывающее приспособление, либо приспособление, выполненное с возможностью подсоединения к источнику газа, для впуска газа в транспортирующее приспособление между впускным и выпускным отверстиями и/или на уровне, на котором находится всасывающее приспособление, и/или приспособление для выпуска газов из транспортирующего приспособления для пены, причем указанное выпускное приспособление представляет собой средство, предотвращающее опускание в него пены, когда пена течет вниз в транспортирующее приспособление для транспортировки пены, т.е. газ выпускается через проход или канал, в котором отсутствует пена и жидкость.
Преимущественно средство для разрушения пены представляет собой элемент, входящий по меньшей мере частично в транспортирующее приспособление и выполненный так, что он проходит по меньшей мере частично на уровне выше пены. Предпочтительно, указанный элемент входит в транспортирующее приспособление на расстояние, составляющее по меньшей мере 10 см, предпочтительно от 20 см до 100 см. Например, транспортирующее приспособление в той его части, где проходит элемент, имеет по существу кольцевой или круговой проход для пены.
Согласно варианту выполнения указанный элемент имеет канал с впускным отверстием, находящимся над уровнем пены, и выпускным отверстием, проходящим по меньшей мере на 10 см, преимущественно по меньшей мере на 20 см ниже уровня, на котором находится впускное отверстие транспортирующего приспособления, причем указанный канал предназначен для прохождения газа и/или жидкости. Предпочтительно, указанный элемент имеет систему регулирования прохождения газа или жидкости через его канал.
При необходимости удаления газов может быть преимущественным создание системы с таким приспособлением для всасывания газа, как воздушный винт, вентилятор, либо с приспособлением для всасывания газа, приводимым во вращение воздушным потоком.
Проходная площадь канала для выпуска газа или отверстия для впуска воздуха преимущественно составляет от 0,1 до 0,5, предпочтительно от 0,25 до 0,4 от проходной площади той части транспортирующего приспособления, предназначенного для пены, которая находится рядом со всасывающим приспособлением.
Согласно детальному описанию варианта выполнения транспортирующее приспособление содержит приспособление для регулирования давления в указанном транспортирующем приспособлении.
Согласно возможным детальным описаниям предпочтительных вариантов выполнения транспортирующего приспособления или оборудования для разрушения пены
– транспортирующее приспособление имеет одно или несколько впускных отверстий, образующих общую впускную поверхность, и образует камеру, направляющую текучую среду или пену по направлению к всасывающему приспособлению, причем указанная камера имеет по меньшей мере участок, проходная поверхность которого больше, чем указанная общая поверхность впускного отверстия, и/или
– всасывающее приспособление содержит элемент, имеющий форму винта, предпочтительно спиральную центробежную крыльчатку, еще более предпочтительно с двойной спиралью, и/или
– имеется приспособление, предназначенное для введения по меньшей мере одной химической добавки или реактива в транспортирующее приспособление между впускным или выпускным отверстиями или возможно на уровне, на котором находится всасывающее приспособление, и/или
– по меньшей мере частично транспортирующее приспособление выполнено с возможностью перемещения относительно бака, причем по меньшей мере предпочтительно верхняя часть транспортирующего приспособления выполнена с возможностью перемещения относительно бака, и/или
– по меньшей мере верхняя часть транспортирующего приспособления установлена на плавающем элементе, и/или
– транспортирующее приспособление дополнительно содержит систему разбрызгивателя, и/или дозирующую антипенную систему, и/или смеситель, и/или погружной аэратор, и/или
– транспортирующее приспособление имеет одно или несколько (предпочтительно несколько) отдельных средств для разрушения пены, и/или транспортирующее приспособление содержит трубопровод, предназначенный для соединения участка транспортирующего приспособления, находящегося ниже всасывающего приспособления, или всасывающего приспособления с другим баком.
Другие детали и особенности оборудования для разрушения пены и транспортирующего приспособления изобретения обсуждаются в описании системы изобретения.
Кроме того, изобретение относится к способу очистки водной среды в системе изобретения. В данном способе пену преимущественно всасывают, разрушают и снова вводят в жидкую часть объема, предпочтительно около дна объема. Это позволяет проводить более качественную очистку таких веществ, как жир или химические соединения, находящиеся в пене.
Более того, изобретение относится к очистной установке, содержащей по меньшей мере одну систему согласно изобретению.
Кроме того, изобретение относится к очистной установке, содержащей по меньшей мере первый и второй баки, соединенные трубопроводом, при этом установка содержит транспортирующее приспособление, предназначенное для переноса по меньшей мере текучей среды, возможно в виде пены, и имеющее впускное отверстие, открытое в первый бак, и выпускное отверстие, открытое во второй бак, при этом в первом баке, имеющем дно и верхнюю часть, содержится объем среды, возможно с плавающей пеной; причем в указанной установке имеется всасывающее приспособление для всасывания текучей среды, взаимосвязанное с транспортирующим приспособлением для текучей среды, при этом указанное всасывающее приспособление предназначено для всасывания текучей среды из первого бака в транспортирующее приспособление; установка отличается тем, что всасывающее приспособление, взаимосвязанное с транспортирующим приспособлением, предназначено для создания нисходящего всасываемого потока текучей среды в транспортирующее приспособление из впускного отверстия по направлению к всасывающему приспособлению, причем разность между уровнем, на котором находится впускное отверстие, и уровнем, на котором находится всасывающее приспособление, составляет по меньшей мере 40 см, преимущественно по меньшей мере 100 см, предпочтительно по меньшей мере 150 см.
В изобретении транспортирующее приспособление может представлять собой трубу или трубопровод, который может иметь форму конуса, усеченного конуса, цилиндра, раструба и их сочетания. Поперечное сечение также может быть квадратным, прямоугольным, восьмиугольным, гексагональным и т.п.
Транспортирующее приспособление в предложенной системе может использоваться для различных целей, например в качестве смесителя, аэратора, плавучего возвратного азеотропообразователя, устройства, отсасывающего пену, и их сочетания.
При необходимости вытяжки газа из транспортирующего приспособления его верхний конец может иметь приспособление для всасывания газа, такое как крыльчатка, вентилятор и т.п.
Жидкость, возможно введенная в транспортирующее приспособление, может представлять собой жидкость из указанного очищаемого объема водной среды или из другого бака водной очистки, например гидролизного бака. Жидкость вводят преимущественно под давлением, например, посредством одного или нескольких сопел, водометного движителя или под гидростатическим давлением.
Транспортирующее приспособление может быть выполнено из различных материалов. Предпочтительно используемый материал является таким, что поверхность, находящаяся в контакте с пеной, является водоотталкивающей и/или имеет антиадгезионные свойства. Внутренняя поверхность транспортирующего приспособления или трубки, главным образом ее верхняя часть, находящаяся рядом с впускным отверстием, может иметь лопасти или пластины для разрезания или дополнительного нарушения целостности пены, проходящей к транспортирующему приспособлению.
Детали и особенности предпочтительных вариантов выполнения описаны в приведенном ниже описании, в котором делаются ссылки на прилагаемые чертежи, на которых:
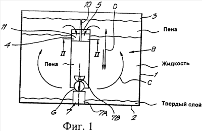
Фиг.1 представляет собой схематическое изображение бака для очистки жидкости/пены (например, воды/пены) согласно изобретению,
Фиг.2 представляет собой разрез по линии II-II в баке, представленном на Фиг.1,
Фиг.3 представляет собой схематическое изображение второго варианта выполнения изобретения,
Фиг.4 представляет собой разрез по линии IV-IV во втором варианте выполнения изобретения,
Фиг.5 представляет собой схематическое изображение третьего варианта выполнения,
Фиг.6 и Фиг.7 представляют собой разрезы по линиям VI-VI и VII-VII в указанном третьем варианте выполнения,
Фиг.8 представляет собой схематическое изображение четвертого варианта выполнения изобретения,
Фиг.9 и Фиг.10 представляют собой схематические изображения пятого и шестого вариантов выполнения,
Фиг.11 представляет собой детальный вид приспособления, предназначенного для введения газа в транспортирующее приспособление, используемое в вариантах выполнения, представленных на Фиг.9 и Фиг.10,
Фиг.12 представляет собой схематическое изображение седьмого варианта выполнения,
Фиг.13 представляет собой схематическое изображение установки согласно изобретению,
Фиг.14 представляет собой схематическое изображение седьмого варианта выполнения,
Фиг.15 представляет собой разрез по линии XV-XV,
Фиг.16 представляет собой разрез по линии XVI-XVI,
Фиг.17 представляет собой частичный вид в аксонометрии части устройства, представленного на Фиг.14,
Фиг.18 представляет собой схематическое изображение восьмого варианта выполнения,
Фиг.19 представляет собой дополнительное схематическое изображение оборудования для разрушения пены согласно изобретению, работающего в предложенной системе, и
Фиг.20 представляет собой изображение оборудования для разрушения пены, представленного на Фиг.19, с соответствующим трубопроводом.
Фиг.1 представляет собой схематическое изображение системы, предназначенной для очистки объема водной среды с образованным густым и плотным слоем плавающей пены. Объем В содержит твердый или по существу твердый слой, находящийся на дне 2 бака 1, жидкий слой с веществом или бактериями или другими микроорганизмами во взвешенном состоянии, а также густой и плотный слой пены, плавающей поверх жидкого слоя. Пена плавает в верхней части 3 бака 1. Трубка 4, выполненная из ПВХ с внутренним силиконовым покрытием (для материала трубки могут быть использованы иные материалы, такие как сталь, нержавеющая сталь, алюминий, и т.п.), проходит между впускным отверстием 5, расположенным в верхней части 3 (то есть, в слое пены), и выпускным отверстием 6, находящимся около дна 2 или в нижней части объема. Всасывающее приспособление 7 (в виде двигателя 7А, приводимого во вращение центробежной крыльчаткой 7В с двойной спиралью (screwpeller®, поставляемый компанией Aquasystems International NV, Бельгия). Всасывающее приспособление 7 предназначено для всасывания текучей среды (в виде пены), находящейся в трубке 4, и для переноса и смешивания указанной втянутой пены с жидкостью, находящейся на дне бака. Таким образом, в объеме В создается циркуляция воды, обозначенная стрелкой С. Пена опускается в трубку 4, поскольку указанная трубка находится в углублении, и перемещается вниз. Уровень жидкости в трубке 4 преимущественно соответствует по существу верхнему уровню крыльчатки 7 В. Расстояние D между впускным отверстием 5 и всасывающим приспособлением 7 преимущественно составляет по меньшей мере 40 см, предпочтительно более 50 см, еще более предпочтительно более 100 см, например 200 см или даже более, например 300 см, 400 см, 500 см и т.д.
Для того чтобы облегчить протекание пены в трубку 4, во входном отверстии трубки имеется элемент или шток 10, прикрепленный к трубке несколькими пластинами 11, проходящими по меньшей мере частично вертикально. Диаметр элемента 10 преимущественно составляет более 2 см, и этот элемент проходит частично в трубку (например, на длину от 20 см до 50 см), а частично – снаружи трубки 4 (предпочтительно по меньшей мере частично над слоем пены). Верх элемента 10 может быть использован в качестве средства обнаружения момента, когда слой пены находится выше допустимого уровня. Элемент 10 и пластины 11 действуют как средство для нарушения целостности слоя пены, при помощи которого облегчается всасывание пены в трубку 4.
Кроме того, шток 10 уменьшает проходное сечение трубки около ее впускного отверстия 5 по сравнению с сечением трубки около крыльчатки 7В. Пена, опускающаяся от участка, на котором проходит шток 10, переходит, таким образом, в зону, которая имеет большее проходное сечение.
Фиг.3 представляет собой изображение, аналогичное изображению, представленному на Фиг.1, за исключением того, что используется другая крыльчатка 7В, а двигатель 7А установлен на плавающей опоре 12. Плавающая опора поддерживает трубку 4 при помощи частей 13, обеспечивающих регулировку сравнительно вертикального положения впускного отверстия 5 относительно плавающей опоры 12 и, таким образом, относительно слоя пены. Стержень 15, приводимый во вращение двигателем 7А, проходит в трубку и действует как средство разрушения слоя пены во впускном отверстии 5 и в трубке 4. Стержень преимущественно имеет небольшой винт, предназначенный для создания нисходящего перемещения составов, находящихся в стержне 15 или в контакте с ним. Около впускного отверстия 5 трубки 4 имеется ряд внутренних ребер 16 для разрушения слоя пены. Путем регулирования уровня впускного отверстия 5 существует возможность использования системы в качестве обычного смесителя (впускное отверстие находится ниже слоя пены), в качестве системы обеспечения соответствующей очистки слоя пены (впускное отверстие находится в слое пены или около него) и в качестве аэратора (впускное отверстие находится над слоем пены).
Фиг.5 изображает вариант выполнения, аналогичный варианту выполнения, представленному на Фиг.1, за исключением того, что шток 10 заменен трубкой 17 для введения воздуха или иного газа в трубку 4 и, тем самым, в объем В или для удаления газа из трубки (газа, образованного гашением пены в трубке 4), а также того, что трубка 4 имеет вспомогательное приспособление 18 для разрушения пены, находящееся на отдалении от приспособления для разрушения пены, образованного пластинами 11.
Фиг.8 изображает вариант выполнения, аналогичный варианту выполнения, изображенному на Фиг.1, за исключением того, что газ (воздух, воздух, обогащенный кислородом, кислород и т.п.) вводится в трубку на уровне, на котором находится крыльчатка 7В. Указанный газ, например газ, имеющий давление от 1*105 Па
до 10*105 Па, выпускается из газового компрессора 18 и подается в трубку 4 при помощи гибкого трубопровода 19. Данный впуск воздуха/кислорода повышает обогащение кислородом очистной ванны.
Фиг.9 и Фиг.10 изображают варианты выполнения, аналогичные варианту выполнения, представленному на Фиг.5, за исключением того, что вместо винтовой крыльчатки используется пропеллер (погружной пропеллер, используемый для аэрации объема, как, например, пропеллер с товарным знаком AQUA TURBO®, поставляемый компанией Aquasystems International NV, Бельгия), и того, что нижний конец 20, 21 трубки 17, 17А имеет приспособление, предназначенное для направления потока воздуха или газа, или приспособление, предназначенное для регулирования выпуска газа из трубки 4. При необходимости удаления газов наличие выхлопных трубок с отверстиями, расположенными на более низких различных уровнях, дает возможность лучшего контроля выпуска газа во время опускания пены в трубке 4, обеспечивая в результате, больший нисходящий поток пены.
Когда в трубку 4 впускают газ или жидкость, на нижний конец 20, 21 трубки 17, 17А надевается крышка 22 (см. Фиг.11). Крышка 22 имеет ряд небольших каналов 23, предназначенных для прохождения газа (воздуха, кислорода, азота и т.п.) в виде струй. Газ в трубках преимущественно находится под давлением.
В варианте выполнения, представленном на Фиг.10, используются две газовые трубки 17, 17А, причем нижний конец трубки 17А находится ниже, чем нижний конец трубки 17. Это дает возможность управлять впуском и/или выпуском воздуха или газов в зависимости от уровня.
Фиг.12 изображает вариант выполнения, аналогичный варианту выполнения, изображенному на Фиг.5, за исключением того, что всасывающее приспособление 7 является погружным аэратором с диффузионной головкой 24.
Фиг.13 изображает установку согласно изобретению. Указанная установка содержит бак 30, содержащий внутреннюю стенку 31, так что образуются два отдельных резервуара 32, 33. Вращающаяся винтовая крыльчатка 7В направляет пену из пенного слоя резервуара 32 через наклонную трубу 34 и смешивает указанную пену с содержимым резервуара 33. Верхний участок трубы 34 имеет трубку 17, обеспечивающую возможность всасывания газа винтовой крыльчаткой 7 или выпуска газа, обусловленного выделением газа при полном или частичном гашении пены.
Пену, находящуюся в резервуаре 33, или химическое соединение, полученное из указанной пены, можно повторно использовать в резервуаре 32 путем переливания через край внутренней стенки 31.
Данная установка позволяет иметь две отдельные зоны очистки. Зона очистки резервуара 33 является, например, зоной, в которую добавлены различные добавки или микроорганизмы для лучшей очистки жира, присутствующего в пене, а также других веществ или химических соединений, главным образом тех, которые плавают поверх жидкости или имеют низкую плотность.
Каждая зона или резервуар 32, 33 могут быть снабжены различными приспособлениями, как, например, смеситель, аэратор, спринклеры, антипенные дозаторы, возвратный азеотропообразователь, погружной аэратор, впускная трубка, выпускная трубка, приспособление (с винтом) для удаления осаждающихся твердых веществ и т.д.
Верхняя часть трубки 4 или трубы 34 может быть выполнена с возможностью перемещения относительно бака 1 или резервуара 30, в таком случае указанная часть установлена на плавающей опоре и присоединена к трубке 4 или трубе 34 посредством гибкой трубки.
Фиг.14 изображает систему, аналогичную системе, представленной на Фиг.5, за исключением того, что всасывающее приспособление расположено выше дна 2, например, на отдалении, достаточном для того, чтобы на уровне дна не было волнения или волнение было слабым.
Верх трубки 4 снабжен крышкой 30, подходящей для опоры трубки 17. Крышка 30 имеет проходы 31, образованные между радиальными лопастями 32 с отогнутыми частями 33.
Фиг.18 изображает дополнительный вариант выполнения, в котором транспортирующее приспособление 4 имеет форму усеченного конуса, вершина которого направлена кверху. Всасывающее приспособление установлено на опоре 35, выполненной с возможностью изменения положения лопастей или винта для того, чтобы они полностью находились в трубке 4 (пунктирная линия DA1), полностью находились за пределами трубки (пунктирная линия DA2) или находились частично внутри и частично снаружи трубки.
Фиг.19 схематически изображает приспособление для разрушения пены согласно изобретению, работающее в предложенной системе. Указанная система содержит бак, в котором находится жидкость или по существу жидкая среда или суспензия, поверх которой плавает плотный густой слой пены. В указанном баке имеется устройство 100, разрушающее пену и предназначенное для повторного использования и разрушения пены в жидкой среде, например, плавающей или находящейся около дна 2 бака 1.
Устройство 100 содержит:
– плавающую опору 102;
– по существу вертикальный трубопровод 103, содержащий нижнюю часть 103А, прикрепленную к плавающей опоре 102, и верхнюю часть 103В, выполненную с возможностью перемещения относительно нижней части 103А. Верхняя часть 103В частично находится в канале нижней части 103А. Верхний конец верхней части 103В имеет удлинительную часть 104 в форме воронки, предназначенной для направления пены к верхнему кольцевому отверстию 105 верхней части 103В;
– приспособление 120, выполненное с возможностью изменения положения части 104 в форме воронки относительно плавающей опоры 102, посредством чего происходит согласование положения второй части 103В трубопровода относительно нижней части 103А указанного трубопровода. Более того, указанное приспособление представляет собой преимущественно приспособление для сохранения или для регулировки конкретного положения, например, для того, чтобы по существу только верхняя поверхность слоя пены протекала в часть 104 по направлению к отверстию 105;
– трубку 106, прикрепленную к верхней части 103В, и/или к части 104, и/или к удлинительной части плавающей опоры таким образом, что часть трубки 106 проходит внутрь нижней части 103А и ниже (за пределы) указанной нижней части, в то время как остальная часть трубки 106 проходит через часть 104 в форме воронки и над ней. Верхнее отверстие 107 трубки 106 находится над слоем пены, в то время как нижнее отверстие 108 трубки проходит в нижней части 103А. Между наружной стенкой верхней части 103В и внутренней стенкой нижней части 103А образован один или несколько каналов для течения жидкости. Верхний край нижней части 103А выполнен с обеспечением прохождения внутри жидкой фазы, то есть ниже пенной фазы. Этот канал или эти каналы обеспечивают прохождение жидкости из очистной ванны вдоль по меньшей мере части внутренней стенки нижней части 103А;
– всасывающее приспособление, преимущественно винтовая крыльчатка 107, предпочтительно центробежная крыльчатка с двойной спиралью, предназначенная для всасывания жидкости и/или пены из нижней части 103А и удаления указанной жидкости и пены обратно в ванну для очистки жидкости. Лопасть в виде спирали по меньшей мере частично входит в нижнюю часть 103А. Указанная крыльчатка прикреплена, например, к нижней части 103А и к плавающей опоре 102.
В указанной конструкции трубопровод 103 образует канал для потока пены по направлению к дну, при этом указанный канал содержит по меньшей мере три следующих участка:
– верхний участок 110 с кольцевой поверхностью прохода S1, образованного между внутренней цилиндрической стенкой верхней части 103В трубопровода и наружной стенкой трубки 106 для выпуска газа,
– нижний участок 111 с круговой поверхностью прохода S2, образованного внутренней стенкой нижней части 103А трубопровода, проходящий под нижним отверстием 108 трубки 106, и
– промежуточный участок 112, проходящий между нижним и верхним участками 111, 110 и имеющий по существу кольцевую поверхность прохода S3, образованного между внутренней стенкой нижней части 103А трубопровода и наружной стенкой трубки 106 для выпуска газа.
Преимущественно площадь прохода S2 в 1,05-1,5 раза больше площади прохода S1, в то время как площадь прохода S3 больше площади прохода S1, например, в 1,01-1,1 раза.
Площадь прохода для газа в трубке 106 соответствует по существу 0,1-0,5 площади прохода S2. Площадь прохода трубки 106 может быть больше по величине. Трубка 106 обеспечивает возможность выпуска газа, выделенного в процессе по меньшей мере частичного гашения пены внутри трубопровода 103, главным образом в месте ее увеличения в объеме (участок 111), тем самым повышая эффективность повторного использования пены и компонентов, выделенных из указанной пены в ванну с жидкостью.
Для регулировки положения части 104 в виде воронки используются стержни 120, которые кроме этого действуют в качестве средства разрушения пены, втекающей в указанную часть 104.
Указанный вариант выполнения имеет следующие преимущества:
– путем использования турбины со спиральными лопастями или крыльчатки возникают более сильные всасывающие усилия в отдельных направлениях, главным образом в направлениях, обеспечивающих хорошее всасывание, а также хорошее распространение и перемещение в ванне с жидкостью.
– регулировка верхней части 103В относительно нижней части 103А выполняется путем простого скольжения, причем положение верхнего края части 104 в форме воронки можно точно согласовать с высотой слоя пены, а положение крыльчатки в ванне под уровнем жидкости является по существу неизменным.
На Фиг.20 изображено приспособление 100 для разрушения пены, верхняя часть 103В которого находится выше относительно ее положения, представленного на Фиг.19.
Системы и установки согласно изобретению могут быть использованы для различных видов очистки, как например для очистки перегноя, жидкого навоза животных, промышленных жидких отходов, для системы очистки воды, отстойных бассейнов, жидких отходов, выпускаемых пищевыми производствами, и т.д.
В предложенной системе работой приспособления для разрушения пены можно управлять в зависимости от нескольких параметров, таких как толщина пенного слоя, верхний уровень слоя жидкости, уровень оксигенации, биохимическое разложение, температура, структура пены и т.д. Например, такое управление можно контролировать компьютерной системой, принимающей сигнал (сигналы) от одного или нескольких датчиков.
Скорость крыльчатки или всасывающего приспособления можно регулировать, например, в зависимости от перемешивания, необходимого для достаточного разрушения пены и для ее хорошего рассеивания в жидкости, для обеспечения достаточного всасывания пены (например, в зависимости от ее плотности и структуры, в зависимости от расстояния между верхним уровнем пенного слоя и положением всасывающего приспособления), и т.д.
Узлом приспособления для разрушения пены также можно управлять с обеспечением всасывания пены из конкретной зоны и ее разрушения. Например, всасывается и очищается только верхний слой пены. Для указанных целей можно использовать систему перелива пены, которая обеспечивает протекание в указанный узел только верхнего слоя пены, расположенного над конкретным уровнем. Указанный конкретный уровень перелива можно регулировать автоматическим или неавтоматическим способом в зависимости от различных параметров, таких как плотность пены, толщина пены, минимальная/максимальная допустимая скорость потока пены, и т.д.
Такую регулировку можно осуществить при помощи компьютера, например, воздействуя на стержень или приводя в движение стержень 120 с обеспечением перемещения вверх или вниз элемента 104 в форме воронки.
В предложенной системе, главным образом в приспособлении для разрушения пены, длину транспортирующего приспособления, а также положение элемента 106 в указанном транспортирующем приспособлении также можно регулировать. Данная регулировка выполняется, например, в зависимости от зоны разрушения пены в транспортирующем приспособлении или от верхнего уровня, на котором начинается соответствующее гашение пены.
Формула изобретения
1. Система для очистки объема водной среды возможно с плавающей пеной, который находится в баке, имеющем дно и верхнюю часть, содержащая всасывающее приспособление для текучей среды, взаимосвязанное с транспортирующим приспособлением для текучей среды, имеющим по меньшей мере одно впускное отверстие и одно выпускное отверстие, причем указанное всасывающее приспособление для текучей среды выполнено с возможностью создания перемешивания, по меньшей мере частично, в указанном объеме преимущественно между указанными впускным и выпускным отверстиями, отличающаяся тем, что всасывающее приспособление взаимосвязано с транспортирующим приспособлением и выполнено с возможностью создания нисходящего всасываемого потока текучей среды в транспортирующем приспособлении из впускного отверстия по направлению к всасывающему приспособлению, причем разность между уровнем, на котором находится впускное отверстие, и уровнем, на котором находится всасывающее приспособление, составляет по меньшей мере 40 см, преимущественно по меньшей мере 100 см, предпочтительно более 150 см.
2. Система по п.1, отличающаяся тем, что впускное отверстие имеет проход, выполненный с возможностью прохождения плавающей пены.
3. Система по п.1 или 2, отличающаяся тем, что всасывающее приспособление расположено смежно с дном бака или прикреплено к транспортирующему приспособлению так, что проходит смежно с его нижней частью.
4. Система по п.1, отличающаяся тем, что она содержит приспособление для впуска газа в транспортирующее приспособление ниже уровня, на котором находится указанное впускное отверстие, и/или уровня, на котором находится всасывающее приспособление, и/или для выпуска газа из транспортирующего приспособления через проход, в котором отсутствуют потоки пены или жидкости.
5. Система по п.1, отличающаяся тем, что впускное отверстие имеет проход, выполненный с возможностью прохождения плавающей пены, и содержит средство для разрушения и/или нарушения целостности пены, проходящее над впускным отверстием или перед ним.
6. Система по п.5, отличающаяся тем, что средство для разрушения пены является элементом, входящим по меньшей мере частично в транспортирующее приспособление и проходящим по меньшей мере частично на уровне выше пены.
7. Система по п.5 или 6, отличающаяся тем, что указанный элемент входит в транспортирующее приспособление на расстояние, составляющее по меньшей мере 10 см, предпочтительно от 20 см до 100 см.
8. Система по п.7, в которой в той части транспортирующего приспособления, в которую входит указанный элемент, имеется, по существу, круговой или кольцевой проход для пены или проход, образованный между первой и второй стенками, причем вторая стенка проходит по меньшей мере частично в объем, ограниченный первой стенкой.
9. Система по п.6, отличающаяся тем, что указанный элемент имеет канал, предназначенный для прохождения газа или жидкости, с впускным отверстием, расположенным над уровнем пены, и выпускным отверстием, проходящим по меньшей мере на 20 см ниже уровня, на котором находится впускное отверстие транспортирующего приспособления.
10. Система по п.9, отличающаяся тем, что указанный элемент имеет систему регулирования прохождения газа или жидкости через указанный канал.
11. Система по п.1, отличающаяся тем, что она содержит приспособление, предназначенное для регулирования давления в транспортирующем приспособлении.
12. Система по п.1, отличающаяся тем, что транспортирующее приспособление имеет одно или несколько впускных отверстий, образующих общую впускную поверхность, и ограничивает камеру, направляющую текучую среду или пену по направлению к всасывающему приспособлению, причем указанная камера имеет по меньшей мере участок, площадь прохода которого больше, чем указанная общая площадь впускной поверхности.
13. Система по п.1, отличающаяся тем, что всасывающее приспособление содержит элемент, имеющий форму винта, предпочтительно спиральную центробежную крыльчатку, еще более предпочтительно с двойной спиралью.
14. Система по п.1, отличающаяся тем, что транспортирующее приспособление имеет по меньшей мере одну стенку, ограничивающую камеру в указанном объеме и выполненную с обеспечением сообщения, по существу, только с указанным объемом через впускное отверстие и через его выпускное отверстие при помощи всасывающего приспособления.
15. Система по п.14, отличающаяся тем, что она содержит приспособление, предназначенное для введения в камеру по меньшей мере одной химической добавки или реактива.
16. Система по п.1, отличающаяся тем, что транспортирующее приспособление по меньшей мере частично выполнено с возможностью перемещения относительно бака, причем предпочтительно по меньшей мере верхняя часть транспортирующего приспособления выполнена с возможностью перемещения относительно бака.
17. Система по п.1, отличающаяся тем, что по меньшей мере верхняя часть транспортирующего приспособления установлена на плавающем элементе.
18. Система по п.1, отличающаяся тем, что всасывающее приспособление соединено с приводным двигателем, находящимся в баке или проходящим над уровнем жидкости, находящейся в указанном объеме.
19. Система по п.1, отличающаяся тем, что она дополнительно содержит систему разбрызгивателя, и/или дозирующую антипенную систему, и/или смеситель, и/или погружной аэратор.
20. Система по п.4 или 5, отличающаяся тем, что она содержит трубу, входящую по меньшей мере частично в транспортирующее приспособление для пены и образующую канал для выпуска газа, выделенного в транспортирующем приспособлении.
21. Система по п.1, отличающаяся тем, что она содержит транспортирующее приспособление, содержащее по меньшей мере две части, выполненные с возможностью перемещения одна относительно другой.
22. Система по п.21, отличающаяся тем, что транспортирующее приспособление содержит верхнюю часть с удлинительной частью в виде воронки, нижнюю часть и по меньшей мере одно приспособление для регулировки положения верхней части относительно нижней части и для сохранения указанного положения.
23. Приспособление для разрушения пены, предназначенное для системы очистки объема водной среды с плавающей пеной, который находится в баке, имеющем дно и верхнюю часть, содержащее транспортирующее приспособление для пены, взаимосвязанное со всасывающим приспособлением и имеющее по меньшей мере одно впускное отверстие и одно выпускное отверстие, отличающееся тем, что всасывающее приспособление предназначено для создания нисходящего всасываемого потока текучей среды в транспортирующее приспособление из впускного отверстия по направлению к всасывающему приспособлению, при этом впускное отверстие содержит средство для разрушения и/или нарушения целостности пены, проходящее над впускным отверстием и/или перед ним, а расстояние, отделяющее впускное отверстие от всасывающего приспособления или выпускного отверстия, составляет по меньшей мере 40 см.
24. Приспособление по п.23, отличающееся тем, что расстояние, отделяющее впускное отверстие от выпускного отверстия, составляет по меньшей мере 100 см.
25. Приспособление по п.23 или 24, отличающееся тем, что оно содержит приспособление для впуска газа в транспортирующее приспособление между впускным отверстием и выпускным отверстием и/или на уровне, на котором находится всасывающее приспособление, либо приспособление, выполненное с возможностью подсоединения к источнику газа, для впуска газа в транспортирующее приспособление между впускным и выпускным отверстиями и/или на уровне, на котором находится всасывающее приспособление, и/или для выпуска газов, выделенных в транспортирующем приспособлении, через проход, в котором отсутствует поток пены и жидкости.
26. Приспособление по п.23, отличающееся тем, что средство для разрушения или нарушения целостности пены представляет собой элемент, проходящий по меньшей мере частично в транспортирующее приспособление и проходящий по меньшей мере частично на уровне выше пены.
27. Приспособление по п.26, отличающееся тем, что указанный элемент входит в транспортирующее приспособление на расстояние, составляющее по меньшей мере 10 см, предпочтительно от 20 до 100 см.
28. Приспособление по п.26 или 27, отличающееся тем, что транспортирующее приспособление на том его участке, где проходит указанный элемент, имеет, по существу, круговой или кольцевой проход для пены.
29. Приспособление по п.26, отличающееся тем, что указанный элемент имеет канал, предназначенный для прохождения газа и/или жидкости, главным образом для выпуска газа, и имеющий впускное отверстие, находящееся над уровнем пены, и выпускное отверстие, проходящее по меньшей мере на 20 см ниже уровня впускного отверстия транспортирующего приспособления.
30. Приспособление по п.29, отличающееся тем, что указанный элемент имеет систему регулирования прохождения газа или жидкости через указанный канал.
31. Приспособление по п.23, отличающееся тем, что оно содержит приспособление для регулирования давления в транспортирующем приспособлении.
32. Приспособление по п.23, отличающееся тем, что транспортирующее приспособление имеет одно или несколько впускных отверстий, образующих общую впускную поверхность, и ограничивает камеру, направляющую текучую среду или пену по направлению к всасывающему приспособлению и имеющую по меньшей мере участок, площадь прохода которого больше, чем площадь указанной общей впускной поверхности.
33. Приспособление по п.23, отличающееся тем, что всасывающее приспособление содержит элемент, имеющий форму винта, предпочтительно спиральную центробежную крыльчатку, еще более предпочтительно с двойной спиралью.
34. Приспособление по п.23, отличающееся тем, что оно содержит приспособление, предназначенное для введения в камеру по меньшей мере одной химической добавки или реактива.
35. Приспособление по п.23, отличающееся тем, что по меньшей мере частично транспортирующее приспособление выполнено с возможностью перемещения относительно бака, причем предпочтительно по меньшей мере верхняя часть транспортирующего приспособления выполнена с возможностью перемещения относительно бака.
36. Приспособление по п.23, отличающееся тем, что по меньшей мере верхняя часть транспортирующего приспособления установлена на плавающем элементе.
37. Приспособление по п.23, отличающееся тем, что оно дополнительно содержит систему разбрызгивателя, и/или дозирующую антипенную систему, и/или смеситель, и/или погружной аэратор.
38. Приспособление по п.23, отличающееся тем, что между впускным и выпускным отверстиями оно содержит по меньшей мере одну систему для разрушения пены, а предпочтительно более одной такой системы.
39. Приспособление по п.23, отличающееся тем, что оно содержит трубопровод, предназначенный для соединения части транспортирующего приспособления, расположенной ниже всасывающего приспособления, или всасывающего приспособления с другим баком.
40. Приспособление по п.23, отличающееся тем, что оно содержит трубу, ограничивающую канал для выпуска газа, выделенного в транспортирующем приспособлении, и проходящую по меньшей мере частично в транспортирующее приспособление для пены.
41. Приспособление по п.23, отличающееся тем, что оно содержит по меньшей мере две части, выполненные с возможностью перемещения одна относительно другой.
42. Приспособление по п.41, которое содержит верхнюю часть с удлинительной частью в виде воронки, нижнюю часть и по меньшей мере одно приспособление для регулировки положения верхней части относительно нижней части и для сохранения указанного положения.
43. Очистная установка, содержащая по меньшей мере одну систему по любому из пп.1-22, или приспособление для разрушения пены по любому из пп.23-42.
44. Очистная установка, содержащая по меньшей мере первый бак и второй бак, соединенный трубопроводом с первым баком, и транспортирующее приспособление, предназначенное для перемещения по меньшей мере текучей среды, возможно в виде пены, и имеющее впускное отверстие, открытое в первый бак, и выпускное отверстие, открытое во второй бак, причем первый бак, имеющий дно и верхнюю часть, предназначен для размещения объема среды, возможно с плавающей пеной, и содержащая всасывающее приспособление для текучей среды, взаимосвязанное с указанным транспортирующим приспособлением для текучей среды и предназначенное для всасывания текучей среды из первого бака в транспортирующее приспособление, отличающаяся тем, что всасывающее приспособление, взаимосвязанное с транспортирующим приспособлением, предназначено для создания нисходящего всасываемого потока текучей среды в транспортирующее приспособление из впускного отверстия по направлению к всасывающему приспособлению, причем разность между уровнем, на котором находится впускное отверстие, и уровнем, на котором находится всасывающее приспособление, составляет по меньшей мере 40 см, преимущественно по меньшей мере 100 см.
45. Установка по п.44, в которой транспортирующее приспособление имеет один или несколько признаков, описанных в одном или нескольких пунктах из пп.1-42.
46. Способ очистки водной среды в системе по любому из пп.1-22, или в системе, имеющей приспособление для разрушения пены по любому из пп.23-42, или в очистной установке по любому из пп.43-45.
РИСУНКИ
|
|