|
|
(21), (22) Заявка: 2007130038/11, 06.08.2007
(24) Дата начала отсчета срока действия патента:
06.08.2007
(43) Дата публикации заявки: 10.08.2009
(46) Опубликовано: 27.11.2009
(56) Список документов, цитированных в отчете о поиске:
RU 2146212 С1, 10.03.2000. RU 2085451 С1, 27.07.1997. US 3611672 А, 12.10.1971. US 2930172 А, 29.03.1960. US 5765337 А, 16.06.1998.
Адрес для переписки:
070005, Республика Казахстан, г. Усть-Каменогорск, пр. Абая, 102, АО “Ульбинский металлургический завод”
|
(72) Автор(ы):
Горбушин Александр Вениаминович (KZ), Березин Владимир Иванович (KZ), Роганов Сергей Геннадьевич (KZ), Сазонтов Анатолий Матвеевич (KZ), Кондрат Валерий Павлович (KZ), Паульс Александр Андреевич (KZ), Руфин Андрей Юрьевич (KZ), Игнатов Сергей Александрович (KZ)
(73) Патентообладатель(и):
Акционерное общество “Ульбинский металлургический завод” (KZ)
|
(54) УСТРОЙСТВО ПОСЛОЙНОЙ УКЛАДКИ ЦИЛИНДРИЧЕСКИХ ИЗДЕЛИЙ МАЛОЙ ПРОЧНОСТИ В ТАРУ, ИМЕЮЩУЮ ОКРУГЛУЮ ЛИБО ИНУЮ ФОРМУ
(57) Реферат:
Изобретение относится к оборудованию, используемому на операциях послойной загрузки цилиндрических изделий в тару, и может быть использовано в порошковой металлургии, при производстве топливных таблеток. Устройство содержит раму, на которую установлены многозвенный транспортер, толкатель, загрузочная каретка, транспортер загрузочной каретки, вспомогательное устройство, кантователь, транспортер тары, а также приводы и датчики положений. Толкатель снабжен профильным буфером, закрепленным в звеньях толкателя. Загрузочная каретка снабжена жалюзи, свободно установленные в направляющих, и датчиками, фиксирующими перемещения жалюзи. Вспомогательное устройство, в своем сечении копирующее форму изделий, сформированных на многозвенном транспортере в плане, снабжено подвижным дном, а кантователь оснащен подвижными направляющими. Достигается послойная, автоматическая, без повреждений загрузка изделий малой прочности в тару округлой либо иной формы и передача ее для дальнейшего транспортирования в транспортную систему. 6 ил.
Изобретение относится к оборудованию, используемому на операциях послойной загрузки цилиндрических изделий в тару, и может быть использовано в порошковой металлургии при производстве топливных таблеток и т.д.
Известно устройство для послойной укладки изделий в тару, содержащее питатели изделий, зубчато-рычажный механизм с захватами для изделий, опорное приспособление и привод (патент RU 2146212 С1; В65В 5/10, 35/38, 2000).
Недостатками данного устройства является то, что при помощи него не возможно осуществить загрузку цилиндрических изделий малой прочности в тару, имеющую округлые формы, без повреждений.
Задачей изобретения является создание конструкции, обеспечивающей послойную автоматическую, без повреждений, загрузку изделий малой прочности в тару, имеющую округлую либо иную форму и передачу ее для дальнейшего транспортирования в транспортную систему.
Сущность изобретения заключается в том, что в отличие от известного устройства послойной укладки изделий в тару, предлагаемое устройство укомплектовано рамой, на которую установлены многозвенный транспортер, толкатель, загрузочная каретка, транспортер загрузочной каретки, вспомогательное устройство, кантователь, транспортер тары, а также приводы и датчики положений, причем толкатель снабжен профильным буфером, закрепленным в звеньях толкателя, загрузочная каретка снабжена жалюзи, свободно установленные в направляющих, и датчиками, фиксирующими перемещения жалюзи, вспомогательное устройство, в своем сечении копирующее форму изделий, сформированных на многозвенном транспортере в плане, снабжено подвижным дном, а кантователь оснащен подвижными направляющими.
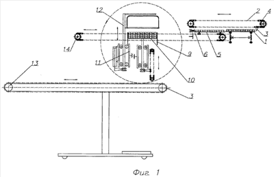
На фиг.1 представлена схема фронтального расположения механизмов устройства послойной загрузки изделий в тару.
На фиг.2 представлена схема горизонтального расположения механизмов и положение изделий на многозвенном транспортере перед перемещением на каретку загрузочную.
На фиг.3 показано положение изделий на каретке загрузочной перед разгрузкой.
На фиг.4 показано положение изделий на каретке загрузочной перед разгрузкой в профиль.
На фиг.5 показано положение изделий на подвижном дне вспомогательного устройства после разгрузки каретки.
На фиг.6 показаны, последовательно, положения механизмов в процессе работы устройства послойной загрузки изделий в тару: 1 – положение каретки загрузочной перед разгрузкой на виде сбоку, 2 – накрывание тарой полностью загруженного вспомогательного устройства, 3 – поворот кантователя на 180°, 4 – опускание тары на цепь транспортера, 5 – смена тары, 6 – подъем пустой тары под загрузку.
Стрелками указаны направления перемещений механизмов устройства загрузки.
Рама, приводы и датчики положений условно не показаны.
Устройство послойной укладки цилиндрических изделий в тару состоит из рамы (не показана), на которую установлены многозвенный транспортер 1, толкатель 2 с профильным буфером 3, закрепленным в звеньях 4 толкателя, загрузочная каретка 5, имеющая жалюзи 6, свободно установленные в направляющие 7, датчики 8, фиксирующие перемещения жалюзи, вспомогательное устройство 9, с подвижным дном 10 и формой, аналогичной сечению тары в плане, кантователь 11 с подвижными направляющими 12, транспортер 13 смены тары, а также приводы и датчики фиксации перемещений (условно не показаны). Загрузочная каретка 5 закрепляется в звеньях транспортера 14.
Устройство послойной укладки цилиндрических изделий в тару работает следующим образом.
1. Предварительно ориентированные и уложенные в нужном порядке на многозвенный транспортер 1 цилиндрические изделия (механизм ориентирования здесь не показан) передвигаются на загрузочную каретку 5 при помощи профильного буфера 3, закрепленного в звеньях 4 толкателя 2. При этом изделия, в плане, принимают форму, аналогичную форме вспомогательного устройства 9.
2. Загрузочная каретка 5, закрепленная в звеньях транспортера 14 и имеющая жалюзи 6, свободно установленные в направляющие 7, и датчики 8, фиксирующие перемещения жалюзи, с изделиями, перемещается до вспомогательного устройства 9, с подвижным дном 10.
3. Подвижное дно 10 вспомогательного устройства 9 перемещается вверх, до фиксации датчиками 8 касания свободно установленного жалюзи 6 каретки 5, после чего жалюзи каретки поворачиваются вверх и изделия перемещаются на подвижное дно 10 вспомогательного устройства 9.
4. Подвижное дно 10 вспомогательного устройства 9, с изделиями, перемещается вниз до крайнего положения.
5. В это время загрузочная каретка 5, имеющая жалюзи 6, вновь загружается предварительно ориентированными цилиндрическими таблетками и перемещает их до вспомогательного устройства 9.
6. Подвижное дно 10 вспомогательного устройства 9 вновь перемещается вверх до фиксации датчиками 8 касания и изделия выгружаются. Цикл повторяется до полной загрузки вспомогательного устройства 9.
7. Полностью загруженное изделиями вспомогательное устройство 9 накрывается тарой с округлыми углами, находящейся в направляющих кантователя 11.
8. Кантователь 11 поворачивается на 180°, и изделия, перемещаясь, начинают опираться на днище тары.
9. Тара, находящаяся в направляющих 12 кантователя 11, опускается на цепь транспортера 13, и изделия, находящиеся во вспомогательном устройстве 9, опускаются вместе с тарой и остаются в ней.
10. Цепь транспортера 13 выводит тару из направляющих кантователя 11 в позицию смены тары.
11. Производится смена тары.
12. При помощи кантователя пустая тара подается под загрузку.
Система управления работой данного устройства здесь не приводится.
Вышеприведенное устройство послойной укладки цилиндрических изделий малой прочности в тару, имеющую округлую или иную форму, позволяет уверенно загружать изделия, слой за слоем, без повреждения их, в связи с конструкцией каретки со свободно установленными жалюзи, даже если некоторые из изделий потеряют ориентацию (наклонятся или встанут на торец).
Формула изобретения
Устройство послойной укладки цилиндрических изделий малой прочности в тару, имеющую округлую либо иную форму, отличающееся тем, что оно укомплектовано рамой, на которую установлены многозвенный транспортер, толкатель, загрузочная каретка, транспортер загрузочной каретки, вспомогательное устройство, кантователь, транспортер тары, а также приводы и датчики положений, причем толкатель снабжен профильным буфером, закрепленным в звеньях толкателя, загрузочная каретка снабжена жалюзи, свободно установленными в направляющих, и датчиками, фиксирующими перемещения жалюзи, вспомогательное устройство, в своем сечении копирующее форму изделий, сформированных на многозвенном транспортере в плане, снабжено подвижным дном, а кантователь оснащен подвижными направляющими.
РИСУНКИ
|
|