|
|
(21), (22) Заявка: 2008118043/11, 05.05.2008
(24) Дата начала отсчета срока действия патента:
05.05.2008
(46) Опубликовано: 27.11.2009
(56) Список документов, цитированных в отчете о поиске:
SU 1749059 А1, 23.07.1992. SU 984895 А, 30.12.1982. SU 998141 А, 23.02.1983. JP 60-151101 А, 12.12.1985.
Адрес для переписки:
394613, г.Воронеж, ул. Тимирязева, 8, ВГЛТА, патентный отдел
|
(72) Автор(ы):
Белозоров Виктор Васильевич (RU), Казбанова Ирина Михайловна (RU)
(73) Патентообладатель(и):
Государственное образовательное учреждение высшего профессионального образования “Воронежская государственная лесотехническая академия” (RU)
|
(54) УСТРОЙСТВО ДЛЯ ПОВЫШЕНИЯ СИЛЫ СЦЕПЛЕНИЯ КОЛЕСА АВТОМОБИЛЯ С ПОВЕРХНОСТЬЮ ДОРОГИ
(57) Реферат:
Изобретение относится к автомобильному транспорту. Устройство содержит металлические стержни, установленные в покрышке колеса. Оно дополнительно снабжено пневмоцилиндрами, в которых установлены упомянутые металлические стержни, смонтированными в покрышке колеса, с установленными в них электропневматическими клапанами и клапанами одностороннего действия, соединенными вместе электрической цепью и далее соединенными электрической цепью с положительной клеммой источника питания с одной стороны и компьютером, расположенным на приборной панели, с другой стороны. Компьютер электрической цепью соединен с инерционным спидометром, установленным на автомобиле с одной стороны и электрическими датчиками угловой скорости колеса с другой. Изобретение решает задачу перевода шипов в крайне нижнее “нерабочее” положение и повышения надежности работы устройства. 2 ил.
Изобретение относится к автомобильному транспорту.
Известно устройство для повышения силы сцепления колеса автомобиля с поверхностью дороги, содержащее, по крайней мере, две лопасти противоскольжения с грунтозацепами, расположенные радиально, и соединенный с приводом механизм перевода лопастей в рабочее положение, включающий основной и подвижный диски, установленные соосно с колесом (SU 993810, В60В 15/00, 30.01.83. Бюлл. 4).
Недостатком конструкции является то, что оно отличается конструктивной сложностью и недостаточной эксплуатационной надежностью.
Известно также устройство для повышения силы сцепления колеса автомобиля с поверхностью дороги, содержащее колесо, в покрышке которого установлены металлические стержни (шипы). (Кр. справочник «Колеса и шины» / М., 1998, Машиностроение, – с.187).
Недостатком этой конструкции является то, что оно не обеспечивает перевода шипов в крайне нижнее “нерабочее” положение и обладает низкой эксплуатационной надежностью.
Изобретение решает задачу перевода шипов в крайне нижнее “нерабочее” положение и повышения надежности работы устройства.
Это достигается тем, что устройство для повышения силы сцепления колеса автомобиля с поверхностью дороги, содержащее металлические стержни, установленные в покрышке колеса, согласно изобретению дополнительно снабжено пневмоцилиндрами, смонтированными в покрышке колеса, с установленными в них электропневматическими клапанами и клапанами одностороннего действия, соединенными вместе электрической цепью и далее соединенными электрической цепью с положительной клеммой источника питания с одной стороны и компьютером, расположенным на приборной панели, с другой стороны, причем компьютер электрической цепью соединен с инерционным спидометром, установленным на автомобиле с одной стороны и электрическими датчиками угловой скорости колеса с другой.
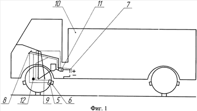
На фиг.1 изображен общий вид устройства для повышения силы сцепления колеса автомобиля с поверхностью дороги, на фиг.2 показано колесо, снабженное предлагаемым устройством.
Устройство для повышения силы сцепления колеса автомобиля с поверхностью дороги содержит металлические стержни 1, установленные в покрышке 2 колеса 3. Металлические стержни установлены в пневмоцилиндрах 4, смонтированных в покрышке 2 колеса 3. В пневмоцилиндрах 4 размещены электропневматические клапаны 5 и клапаны одностороннего действия 6, соединенные электрической цепью. Клапан одностороннего действия 6 электрической цепью соединен с положительной клеммой источника питания 7. Электропневматический клапан 5 электрической цепью соединен с компьютером 8, расположенным на приборной панели 9 автомобиля 10. Компьютер 8 электрической цепью соединен с инерционным спидометром 11, установленным на автомобиле 10 с одной стороны и электрическим датчиком угловой скорости колеса 12 с другой.
Устройство для повышения силы сцепления колеса автомобиля с поверхностью дороги работает следующим образом. При движении автопоезда по дороге, не отвечающей нормативным требованиям, в случае разности показаний инерционного спидометра 11, установленного на автомобиле 10, с показаниями электрических датчиков угловой скорости колеса 12 на 12%, компьютер 8 подает управляющий сигнал на электропневматический клапан 5. После чего электропневматический клапан 5 соединяет камеру колеса 1 с пневмоцилиндром 4. В результате подачи давления сжатого воздуха в пневмоцилиндр 4 металлические стержни 1 выдвигаются на 5 мм (из крайне нижнего положения в крайне верхнее положение) из покрышки 2, в результате чего значительно повышаются силы сцепления колеса 3 автомобиля 10 с поверхностью дороги и повышается безопасность движения автомобиля 10, так как в этом случае отсутствует скольжение колеса 3 относительно поверхности дороги. Далее компьютер 8 через некоторый промежуток времени (t=0,7 1,5 c) в зависимости от скорости движения автомобиля 10 подает сигнал на электропневматический клапан 5, который разобщает полость пневмоцилиндра 4 с камерой колеса 1. При движении автомобиля 10 на металлические стержни 3 оказывается силовое воздействие со стороны дорожного покрытия, в результате чего воздух из пневмоцилиндра 4 поступает в камеру колеса 3 через клапан одностороннего действия 6, вызывая движение металлических стержней 1. В этом случае происходит перемещение металлических стержней 1 в крайне нижнее положение, и “выступа” металлических стержней 1 относительно поверхности покрышки 2 колеса 3 не наблюдается.
Формула изобретения
Устройство для повышения силы сцепления колеса автомобиля с поверхностью дороги, включающее металлические стержни, отличающееся тем, что устройство дополнительно снабжено пневмоцилиндрами, в которых установлены упомянутые металлические стержни, смонтированными в покрышке колеса, с установленными в них электропневматическими клапанами и клапанами одностороннего действия, соединенными вместе электрической цепью и далее соединенными с положительной клеммой источника питания с одной стороны и компьютером, расположенным на приборной панели, с другой стороны, причем компьютер соединен с инерционным спидометром, установленным на автомобиле с одной стороны и электрическими датчиками угловой скорости колеса с другой.
РИСУНКИ
|
|