|
(21), (22) Заявка: 2006117209/11, 28.10.2004
(24) Дата начала отсчета срока действия патента:
28.10.2004
(30) Конвенционный приоритет:
29.10.2003 FR 0312645
(43) Дата публикации заявки: 10.12.2007
(46) Опубликовано: 27.11.2009
(56) Список документов, цитированных в отчете о поиске:
FR 2487262 А, 29.01.1982. FR 2793736 А, 24.11.2000. GB 2124984 A, 29.02.1984. DE 19605283 A, 22.08.1996. FR 2819754 A, 26.07.2002.
(85) Дата перевода заявки PCT на национальную фазу:
19.05.2006
(86) Заявка PCT:
FR 2004/002784 20041028
(87) Публикация PCT:
WO 2005/042274 20050512
Адрес для переписки:
119034, Москва, Пречистенский пер., 14, стр.1, 4 этаж, “Гоулингз Интернэшнл Инк.”, В.Н.Дементьеву
|
(72) Автор(ы):
ФЕРЕ Оливье (FR), ВЕНО Жан (FR), ТИРЕЛЬ Жан-Марк (FR)
(73) Патентообладатель(и):
ОТО ШАССИ ИНТЕРНАСЬОНАЛЬ СНК (FR)
|
(54) ГИБКАЯ ОСЬ ДЛЯ АВТОМОБИЛЯ
(57) Реферат:
Ось содержит траверсу (1), которая соединяет два продольных кронштейна (2), причем каждый из указанных кронштейнов надежно соединен по меньшей мере с одной тарелкой (3). Кроме того, ось снабжена средством (33) позиционирования и/или поддержки по меньшей мере одной подвесной рессоры. Указанная траверса (1) соединена с каждым из продольных кронштейнов (2) при помощи по меньшей мере одной тарелки (3), которая содержит средство (31) повышения жесткости, позволяющее повысить жесткость в поперечном направлении оси. Другие два независимых пункта формулы раскрывают тарелку и автомобиль, содержащие упомянутую выше ось. Технический результат – повышение жесткости в поперечном направлении оси при сохранении ее характеристик на кручение. 3 н. и 11 з.п. ф-лы, 4 ил.
Настоящее изобретение в общем имеет отношение к созданию автомобилей. Более конкретно настоящее изобретение имеет отношение к созданию гибких осей для автомобилей.
Следует иметь в виду, что термин гибкая ось относится к оси, которая образует гибкий при скручивании элемент между двумя колесами.
Обычно гибкая ось содержит два продольных кронштейна, каждый из которых поддерживает опору для установки колеса, причем продольные кронштейны соединены при помощи поперечного соединительного элемента, называемого траверсой.
Продольные кронштейны обычно связаны с различными функциональными компонентами, в частности, с такими как:
– втулки для соединения оси с шасси автомобиля, позволяющие шарнирно устанавливать продольные кронштейны на шасси;
– средство поддержки конца подвесных рессор, причем указанное средство поддержки называют рессорной тарелкой; и
– средство взаимодействия с амортизаторами.
При конструировании оси принимают во внимание, среди прочего, две вещи, характеризующие качество пружины (рессоры), а именно изгиб и кручение.
Концепция, которая широко распространена в настоящее время, заключается в согласовании высокой изгибной жесткости с относительно низкой жесткостью при кручении. Как правило, именно форма поперечного сечения траверсы за счет ее инерции при изгибе и кручении обеспечивает желательный компромисс между высокой изгибной жесткостью и относительно низкой жесткостью при кручении.
При изготовлении из стали (или из другого изотропного материала) выбирают “V”-, “U” или “L”-образные формы поперечного сечения, так как эти формы обеспечивают хорошее соотношение между инерцией при изгибе и инерцией при кручении.
Что касается сборки тарелок подвесной рессоры, то уже было предложено несколько типов сборки.
В последующем описании термин “рессорная тарелка” относится к детали, имеющей поверхность, которая предназначена быть опорным основанием для подвесной рессоры (пружины), причем эта поверхность содержит средство позиционирования (установки в заданное положение) и/или удержания рессоры (пружины) в заданном положении. Такое средство обычно выполнено в виде центрирующего выступа.
Во многих случаях тарелки устанавливают на оси таким образом, что они поддерживаются только при помощи продольных кронштейнов за счет сварки в области опоры для установки колеса.
Тарелки при этом проектируют таким образом, чтобы узел в сборе мог выдерживать нагрузку, передаваемую при помощи подвесной рессоры, причем тарелка в некоторой степени свешивается с оси кронштейна и связана с ней при помощи двух типов балок бокового сжатия. Эти рессоры (пружины) поэтому должны быть особенно мощными.
Кроме того, поперечная жесткость таких осей является относительно ограниченной, если только не предусмотрено средство повышения жесткости, что вызывает необходимость осуществления дополнительных операций сборки и изготовления.
Само собой разумеется, что это повышает стоимость оси.
В других случаях тарелки устанавливают в каждом углу, образованном при помощи траверсы и продольных кронштейнов (на стороне кронштейнов, поддерживающих опоры для колес).
В этом случае каждая тарелка имеет конструкцию, предназначенную исключительно для поддержки подвесной рессоры. Другими словами, эти тарелки ни коим образом не выполняют функцию повышения жесткости на оси.
Кроме того, когда тарелки установлены указанным образом на оси, становится невозможно (или практически невозможно) вводить средство повышения жесткости на уровне угла между траверсой и каждым из продольных кронштейнов.
Следовательно, ось, полученная в соответствии с таким решением, имеет относительно низкие качественные характеристики, в частности, касающиеся ее жесткости в поперечном направлении (изгибной жесткости).
Само собой разумеется, что можно повысить жесткость такой оси, в частности, за счет использования более прочного материала или за счет увеличения толщины поперечного сечения траверсы.
Однако это будет приводить к дополнительным расходам, что, само собой разумеется, нежелательно.
Более того, это повышение изгибной жесткости может приводить к ухудшению характеристик на кручение оси.
Задачей настоящего изобретения является устранение указанных недостатков. Более конкретно задачей настоящего изобретения является создание гибкой оси, в которой конструкция тарелки позволяет упростить узел оси, однако без ухудшения за счет такого упрощения его качественных характеристик (изгибной жесткости, жесткости на кручение, механической прочности и т.п.).
Задачей настоящего изобретения является, в частности, повышение жесткости в поперечном направлении оси, при полном сохранении или практически при сохранении ее характеристик на кручение.
Задачей настоящего изобретения является также создание такой оси, в которой конструкция и сборка тарелки способствуют получению хороших характеристик сварки между траверсой и продольными кронштейнами.
Задачей настоящего изобретения является также создание оси со сниженными расходами на изготовление.
Еще одной задачей настоящего изобретения является создание оси простой конструкции, которая легко может быть реализована.
Указанные ранее и другие описанные ниже задачи решены за счет настоящего изобретения, в котором предлагается гибкая ось для автомобиля, которая содержит траверсу, соединяющую два продольных кронштейна, каждый из которых прикреплен по меньшей мере к одной тарелке, имеющей средство позиционирования и/или удержания по меньшей мере одной подвесной рессоры, при этом указанная траверса соединена с каждым продольным кронштейном при помощи по меньшей мере одной указанной тарелки, содержащей средство повышения жесткости, предназначенное для повышения жесткости в поперечном направлении указанной оси, отличающаяся тем, что каждая из тарелок имеет опорную поверхность (32) для поддерживания подвесной рессоры, причем эта опорная поверхность (32) отделена от средства (31) повышения жесткости и присоединена к нему при помощи соединительной кромки (35), а средство (31) повышения жесткости содержит плоскую поверхность, ограниченную при помощи участка траверсы (1), при помощи участка одного из продольных кронштейна (2) и при помощи соединительной кромки (35).
За счет специфической конструкции и сборки тарелка в соответствии с настоящим изобретением выполняет две функции:
– первую, обычную функцию, которая заключается в поддержке вертикальной нагрузки, соответствующей весу автомобиля и передаваемой при помощи подвесной рессоры;
– вторую функцию, которая заключается в повышении жесткости оси, за счет использования средства, специально предназначенного для этой цели.
Эта вторая функция поясняется более подробно со ссылкой на фиг.1 и 2.
На фиг.1 схематично показана гибкая ось в соответствии с известным уровнем техники, которая содержит траверсу 1, соединяющую два продольных кронштейна 2. Сконструированная соответствующим образом, траверса оси способна совершать изгиб на длине L1 и обеспечивать, в соответствии с заданными поперечным сечением и материалом, жесткость К1 в поперечном направлении оси.
Показанная на фиг.2 ось, выполненная в соответствии с настоящим изобретением, содержит траверсу 1, в частности, соединенную с каждым из продольных кронштейнов 2 при помощи тарелки 3, содержащей средство повышения жесткости.
Таким образом, траверса оси теперь способна совершать изгиб на длине L2, которая короче длины L1 на фиг.1.
Следовательно, при поперечном сечении и материале, которые являются идентичными траверсе фиг.1, будет получена жесткость К2 в поперечном направлении оси, превышающая жесткость К1 траверсы фиг.1, причем изгиб будет ограничен длиной L2 траверсы.
Кроме того, тарелка, сконструированная и установленная в соответствии с настоящим изобретением, позволяет сглаживать вибрации, вызванные жесткостью при кручении траверсы, между секцией S1 (обычно открытой в случае гибкой оси) и секцией S2 траверсы, заделанной в кронштейн. Это способствует упрочнению сварных швов, выполненных непосредственно в месте заделки траверсы в кронштейны.
Более того, ось в соответствии с настоящим изобретением имеет меньше деталей по сравнению с известными осями, при главным образом одинаковой поперечной толщине. В самом деле, тарелки упрочняют соединение между траверсой и продольными кронштейнами, и поэтому нет необходимости в дополнительном к тарелке средстве повышения жесткости.
Процесс изготовления осей в соответствии с настоящим изобретением является относительно простым, что приводит к сокращению соответствующего времени сборки.
Поэтому преимущественно уменьшается стоимость изготовления оси в соответствии с настоящим изобретением.
Указанное средство повышения жесткости преимущественно имеет по меньшей мере один главным образом плоский участок, соединяющий указанную траверсу и один из указанных продольных кронштейнов.
Таким образом, получают простое и эффективное средство, обеспечивающее функцию повышения жесткости, причем указанное средство выполнено с возможностью легкого соединения с тарелкой или даже с возможностью включения в саму тарелку.
Указанный участок (участки) преимущественно находится (находятся) в плоскости, заданной (образованной) при помощи указанной траверсы и указанных кронштейнов, или в параллельной ей плоскости.
За счет этого участок повышения жесткости расположен оптимально для повышения жесткости в поперечном направлении оси. В самом деле, в таком случае плоскость участка повышения жесткости главным образом параллельна плоскости, в которой нагрузки действуют на опоры колеса (вдоль оси колес).
В соответствии с предпочтительным вариантом каждая из указанных тарелок имеет опорную поверхность, предназначенную для поддержки подвесной рессоры, причем эта опорная поверхность является отдельной от указанного средства повышения жесткости и соединена с ним при помощи соединительной кромки.
В таком случае указанная опорная поверхность и указанная кромка преимущественно образуют выемку, предназначенную для приема конца указанной подвесной рессоры.
Это способствует надлежащему позиционированию и поддержке подвесной рессоры на оси.
В соответствии с предпочтительным решением указанное средство повышения жесткости содержит плоскую поверхность, заданную (образованную), в частности, при помощи участка указанной траверсы, при помощи участка одного из продольных кронштейнов и при помощи указанной соединительной кромки.
За счет этого при установке средства повышения жесткости используют все (или практически все) пространство, которое имеется в каждом углу оси, между траверсой, соответствующим продольным кронштейном и опорной поверхностью подвесной рессоры.
Изгибные напряжения, которые могут воздействовать на ось, за счет этого распределяются по всей определенной здесь выше плоской поверхности.
Указанная деталь, образующая тарелку, преимущественно имеет, по меньшей мере на одной своей стороне, обращенной к указанной траверсе, сварочную область в плоскости указанного участка повышения жесткости, имеющую непрерывный сварной шов, соединяющий указанную деталь с указанной траверсой.
Таким образом, тарелка имеет простую конструкцию и является дешевой в производстве. Более того, сварку между тарелкой и траверсой проводят в одной простой операции.
В соответствии с предпочтительным решением указанная деталь, образующая тарелку, преимущественно имеет, на своей стороне, расположенной напротив продольного кронштейна, по меньшей мере один выступ, свободная кромка которого идет главным образом параллельно указанному продольному кронштейну, со сварным швом, соединяющим указанную деталь с указанным кронштейном, причем тарелка также имеет, на своей стороне, расположенной напротив продольного кронштейна, вогнутую кромку, которая находится в контакте с участком периметра указанного кронштейна, при этом указанная вогнутая кромка имеет сварной шов, соединяющий указанную деталь с указанной траверсой.
Таким образом, получают эффективные и надежные соединения между тарелкой и продольным кронштейном и траверсой, даже если ось подвергается существенным нагрузкам при эксплуатации автомобиля.
Указанная деталь, образующая тарелку, преимущественно изготовлена из стальной пластины.
Преимуществом такого материала является дешевизна и относительная легкость обработки.
В этом случае тарелку преимущественно получают при помощи штамповки.
Само собой разумеется, что могут быть рассмотрены и другие варианты, в частности варианты изготовления тарелки из других материалов и/или при помощи литья (формования).
В соответствии с другой характеристикой указанный выступ приварен к самому высокому участку секции каждого продольного кронштейна или в непосредственной близости от него.
За счет этого встроенное средство повышения жесткости образует вместе с тарелкой плоскость, в которой нагрузки действуют вдоль оси колес и передаются при помощи опор колес.
Следует иметь в виду, что идеальная конфигурация (но которую трудно осуществить) должна содержать средство повышения жесткости, расположенное непосредственно на уровне оси колеса.
Указанная сварочная область преимущественно приварена на самом высоком участке секции указанной траверсы или в непосредственной близости от него.
Образованный указанным образом сварной шов между каждой тарелкой и траверсой имеет удовлетворительную усталостную прочность, которая по меньшей мере выше чем для соединения, в котором приварена каждая тарелка, например, на половине высоты траверсы.
Указанный плоский участок преимущественно идет вдоль указанного продольного кронштейна до опоры колеса или заканчивается в непосредственной близости от нее.
Таким образом, установленное в заданном положении относительно оси колеса средство повышения жесткости обладает высокой способностью поглощения и рассеивания напряжений, передаваемых опорами колес.
В соответствии с другой предпочтительной характеристикой указанное средство позиционирования и/или удержания каждой из указанных тарелок содержит центрирующий выступ, образованный в опорной поверхности, предназначенной для поддержки указанной подвесной рессоры, причем указанный центрирующий выступ образован при помощи штамповки.
В соответствии с настоящим изобретением предлагается также тарелка, имеющая средство позиционирования и/или удержания по меньшей мере одной подвесной рессоры, предназначенная для оснащения гибкой оси автомобиля, отличающаяся тем, что она служит для соединения траверсы с продольным кронштейном оси, причем указанная тарелка содержит средство повышения жесткости, предназначенное для повышения жесткости в поперечном направлении указанной оси.
В соответствии с настоящим изобретением предлагается также автомобиль, снабженный по меньшей мере одной осью, которая содержит траверсу, соединяющую два продольных кронштейна, каждый из которых прикреплен по меньшей мере к одной детали, называемой тарелкой, имеющей средство позиционирования и/или удержания по меньшей мере одной подвесной рессоры, отличающийся тем, что указанная траверса соединена с каждым продольным кронштейном при помощи по меньшей мере одной тарелки, содержащей средство повышения жесткости, предназначенное для повышения жесткости в поперечном направлении указанной оси.
Указанные ранее и другие характеристики и преимущества изобретения будут более ясны из последующего детального описания предпочтительного варианта настоящего изобретения, данного в качестве примера, не имеющего ограничительного характера и приведенного со ссылкой на сопроводительные чертежи.
На фиг.1 схематично показана гибкая ось в соответствии с известным уровнем техники.
На фиг.2 схематично показана гибкая ось в соответствии с настоящим изобретением.
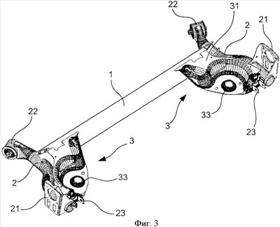
На фиг.3 показан вид в перспективе оси в соответствии с настоящим изобретением.
На фиг.4 показан вид в перспективе тарелки, предназначенной для оснащения оси в соответствии с настоящим изобретением.
Как уже было упомянуто здесь выше, принцип настоящего изобретения заключается в соединении траверсы с каждым из продольных кронштейнов при помощи тарелки, снабженной средством повышения жесткости в поперечном направлении оси.
На фиг.3 показано, что такая гибкая ось содержит траверсу 1, соединяющую два продольных кронштейна 2, каждый из которых поддерживает:
– плиту 21 поддержки колеса;
– втулку 22, которая соединяет ось с шасси автомобиля;
– средство 23 взаимодействия с амортизатором.
В соответствии с этим вариантом осуществления настоящего изобретения тарелки 3 установлены в углах, образованных при помощи оси 1 и продольных кронштейнов 2, причем каждая из тарелок имеет плоскую поверхность 31, образующую средство повышения жесткости, предназначенное для повышения жесткости в поперечном направлении оси.
Эта тарелка, изолированная от оси, показана на фиг.4.
Как это показано на фиг.4, тарелка в соответствии с настоящим изобретением изготовлена из стальной пластины, при помощи штамповки, и имеет поверхность 32, предназначенную для использования в качестве опоры основания подвесной рессоры.
В качестве примера можно указать, что материалом для пластины может быть сталь марки HE360D, причем пластина имеет толщину 3 мм.
Во время операции штамповки образуется центрирующий выступ 33, который позволяет устанавливать подвесную рессору и удерживать ее на месте.
На опорной поверхности 32 тарелки 3 предусмотрены также отверстия 34, которые выполняют функцию средства захвата для автоматизированной системы на сборочной линии, что известно само по себе.
Четко показано, что опорная поверхность 32 ограничена кромкой 35, которая соединяет опорную поверхность 32 с плоской поверхностью 31, образующей средство повышения жесткости.
Таким образом, опорная поверхность 32 и кромка 35 образуют, по отношению к поверхности 31, полую выемку, предназначенную для приема одного или нескольких концевых витков подвесной рессоры.
Более конкретно размеры кромки выбраны таким образом, что полую выемку тарелки 3 получают в виде детали глубокой вытяжки, то есть при помощи операции вытяжки, в которой толщина материала при его вытягивании приближается к пределу разрыва материала.
Кроме того, тарелка 3 имеет, на ее стороне, предназначенной для расположения напротив траверсы 1, сварочную область 36 (на границе поверхности 31), предназначенную для образования непрерывного сварного шва, обеспечивающего надежное соединение между тарелкой и траверсой.
На своей другой стороне (предназначенной для расположения напротив продольного кронштейна), тарелка 3 имеет:
– выступ 37, который идет параллельно соответствующему продольному кронштейну и предназначен для образования сварного шва, обеспечивающего надежное соединение между тарелкой и продольным кронштейном;
– вогнутую кромку 38, которая может входить в контакт с участком периметра соответствующего продольного кронштейна и предназначена для образования сварного шва, обеспечивающего надежное соединение между тарелкой и продольным кронштейном.
Как это показано на фиг.1 (вероятно, должно быть “3” – прим. переводчика), поверхность 31, образующая средство повышения жесткости, выполнена таким образом, что она расположена в пространстве, образованном при помощи траверсы 1, продольного кронштейна 2 и кромки 35 тарелки 3.
Можно видеть, что поверхность 31 каждой тарелки идет вдоль соответствующего продольного кронштейна 2 до плиты 21 поддержки колеса.
Следует иметь в виду, что надежное соединение тарелки обеспечено, в частности, за счет того, что:
– сварочная область 36 тарелки приварена к траверсе 1 таким образом, что сварочная область имеет тенденцию к покрытию траверсы;
– выступ 37 тарелки приварен к продольному кронштейну 2 таким образом, что выступ имеет тенденцию к покрытию траверсы.
Формула изобретения
1. Гибкая ось для автомобиля, которая содержит траверсу (1), соединяющую два продольных кронштейна (2), каждый из которых прикреплен по меньшей мере к одной тарелке (3), снабженной средством (33) позиционирования и/или удержания по меньшей мере одной подвесной рессоры, при этом траверса (1) соединена с каждым продольным кронштейном (2) при помощи по меньшей мере одной тарелки (3), содержащей средство (31) повышения жесткости в поперечном направлении указанной оси, отличающаяся тем, что каждая из тарелок имеет опорную поверхность (32) для поддерживания подвесной рессоры, причем эта опорная поверхность (32) отделена от средства (31) повышения жесткости и присоединена к нему при помощи соединительной кромки (35), а средство (31) повышения жесткости содержит плоскую поверхность, ограниченную при помощи участка траверсы (1), при помощи участка одного из продольных кронштейнов (2) и при помощи соединительной кромки (35).
2. Ось по п.1, отличающаяся тем, что средство (31) повышения жесткости содержит по меньшей мере один плоский участок, непосредственно соединяющий указанную траверсу (1) и один из продольных кронштейнов (2).
3. Ось по п.2, отличающаяся тем, что указанный участок вписан в плоскость, заданную траверсой (1) и кронштейнами (2), или в плоскость, параллельную ей.
4. Ось по п.1, отличающаяся тем, что опорная поверхность (32) и кромка (35) образуют выемку, предназначенную для удержания одного конца указанной подвесной рессоры.
5. Ось по п.2, отличающаяся тем, что тарелка (3), имеет, по меньшей мере на одной своей стороне, расположенной напротив траверсы (1), сварочную область (36) в плоскости участка (31) средства повышения жесткости, на которой образован непрерывный сварной шов, обеспечивающий соединение тарелки с траверсой.
6. Ось по п.2, отличающаяся тем, что тарелка (3) имеет на своей стороне, расположенной напротив продольного кронштейна (2), по меньшей мере один выступ (37), свободная кромка которого идет ориентировочно параллельно продольному кронштейну (2), на котором образован сварной шов, обеспечивающий соединение тарелки с кронштейном (2), причем тарелка (3) также имеет вогнутую кромку (38), расположенную напротив продольного кронштейна (2) и согласованную с участком периметра кронштейна (2), при этом на вогнутой кромке (38) образован сварной шов, обеспечивающий соединение тарелки (3) с кронштейном (2).
7. Ось по п.1, отличающаяся тем, что тарелка (3) изготовлена из стальной пластины.
8. Ось по п.7, отличающаяся тем, что тарелка (3) изготовлена при помощи штамповки.
9. Ось по п.6, отличающаяся тем, что указанный выступ (37) приварен к самой высокой части секции каждого продольного кронштейна (2) или в непосредственной близости от нее.
10. Ось по п.5, отличающаяся тем, что указанная сварочная область (36) приварена к самой высокой части секции траверсы (1) или в непосредственной близости от нее.
11. Ось по п.2, отличающаяся тем, что указанный плоский участок идет вдоль продольного кронштейна (2) до опоры (21) колеса или заканчивается в непосредственной близости от него.
12. Ось по п.1, отличающаяся тем, что средство (33) позиционирования и/или удержания имеет центрирующий выступ, выполненный в опорной поверхности (32) для поддерживания подвесной рессоры, причем центрирующий выступ изготовлен при помощи штамповки.
13. Тарелка со средством (33) позиционирования и/или удержания по меньшей мере одной подвесной рессоры, выполненная с возможностью соединения с гибкой осью автомобиля, предназначенная для соединения траверсы (1) с продольным кронштейном (2) оси, содержащая средство (31) повышения жесткости в поперечном направлении указанной оси, отличающаяся тем, что тарелка имеет опорную поверхность (32) для поддерживания подвесной рессоры, причем эта опорная поверхность (32) отделена от средства (31) повышения жесткости и присоединена к нему при помощи соединительной кромки (35), а средство (31) повышения жесткости содержит плоскую поверхность, ограниченную при помощи участка траверсы (1), при помощи участка одного из продольных кронштейнов (2) и при помощи соединительной кромки (35).
14. Автомобиль, снабженный по меньшей мере одной осью, содержащей траверсу (1), соединяющую два продольных кронштейна (2), каждый из которых соединен по меньшей мере с одной тарелкой (3), снабженной средством (33) позиционирования и/или удержания по меньшей мере одной подвесной рессоры, при этом траверса (1) соединена с каждым продольным кронштейном (2) при помощи по меньшей мере одной указанной тарелки (3), содержащей средство (31) повышения жесткости в поперечном направлении указанной оси, отличающийся тем, что каждая из тарелок имеет опорную поверхность (32) для поддерживания подвесной рессоры, причем эта опорная поверхность (32) отделена от средства (31) повышения жесткости и присоединена к нему при помощи соединительной кромки (35), а средство (31) повышения жесткости содержит плоскую поверхность, ограниченную при помощи участка траверсы (1), при помощи участка одного из продольных кронштейнов (2) и при помощи соединительной кромки (35).
РИСУНКИ
|