|
|
(21), (22) Заявка: 2008139199/09, 02.10.2008
(24) Дата начала отсчета срока действия патента:
02.10.2008
(46) Опубликовано: 20.11.2009
(56) Список документов, цитированных в отчете о поиске:
RU 2168850 С1, 10.06.2001. SU 1634114 А1, 29.02.1995. RU 2032252 С1, 27.03.1995. US 5023580 А, 11.06.1991. JP 2000059171 А1, 25.02.2000. US 6064282 А, 16.05.2000.
Адрес для переписки:
121087, Москва, ул. Новозаводская, 2, корп.6-7, кв.66, Т.С. Скомороховой
|
(72) Автор(ы):
Тисленко Игорь Александрович (RU), Виноградов Геннадий Юрьевич (RU), Носиков Станислав Викторович (RU)
(73) Патентообладатель(и):
Тисленко Игорь Александрович (RU)
|
(54) ПЬЕЗОЭЛЕКТРИЧЕСКИЙ ФИЛЬТР
(57) Реферат:
Изобретение относится к области пьезотехники и может быть использовано в устройствах частотной селекции, портативных устройствах связи, устройствах связи подвижных объектов, навигационных системах и т.д. Техническим результатом является изготовление миниатюрных компактных фильтров высокого порядка в корпусе для поверхностного монтажа. Технический результат достигается за счет разработки как многоуровневой внутренней, так и внешней структуры фильтра, содержащей внутри керамического корпуса серию пьезоэлектрических пластин и согласующие конденсаторы. Кроме того, на внутренней и внешней поверхности фильтра выполнен слой металлизации в виде электрически замкнутого контура. 6 з.п. ф-лы, 5 ил.
Изобретение относится к радиоэлектронике, в частности касается пьезотехники, и может быть использовано в устройствах частотной селекции на объемных акустических волнах в диапазоне частот от 8 до 160 МГц. Более конкретно, изобретение относится к структуре пьезоэлектрического фильтра для поверхностного монтажа.
Пьезоэлектрические фильтры представляют собой резонансную акустическую систему с использованием принципа захвата энергии и предназначены для выделения определенной полосы частот из общего спектра. Фильтры в своей структуре содержат, по крайней мере, одну пьезоэлектрическую пластину прямоугольной формы с размещенными на ее рабочих гранях одной или несколькими парами возбуждающих электродов с электрическими выводами, образующими резонаторы, при этом количество резонаторов определяет так называемый порядок фильтра.
Анализ научно-технической и патентной литературы показывает, что в настоящее время имеется тенденция, с одной стороны, к повышению порядка фильтра для уменьшения коэффициента прямоугольности и увеличения величины гарантированного относительного затухания, что, однако, приводит к увеличению габаритных размеров фильтра при традиционном подходе к структуре фильтра и определению соотношения ширины пьезоэлектрической пластины к ее толщине. С другой стороны, на практике для обеспечения фильтрации частот в современных радиоприемных устройствах широко используются пьезоэлектрические фильтры низкого порядка (второго или четвертого порядка), имеющие минимально возможные габаритные размеры, однако не обеспечивающие высоких значений гарантированного относительного затухания и имеющие ограничения по реализации номинальной частоты ниже 21 МГц. Известные пьезоэлектрические фильтры хотя и имеют уменьшенные габаритные размеры, однако представляют собой полуфабрикат, требующий от потребителя дополнительной установки конденсаторов за пределами корпуса фильтра и возможного подбора величины емкости конденсаторов для получения требуемой амплитудно-частотной характеристики фильтров. Такие конденсаторы в технологии изготовления пьезоэлектрических фильтров именуют как согласующие конденсаторы.
Так, известен пьезоэлектрический фильтр 8, 10 – ого порядка, предназначенный для работы в диапазоне частот от 8 до 80 МГц в металлостеклянном корпусе с проволочными выводами, вставляемыми в отверстия печатной платы, содержащий несколько пьезоэлектрических пластин полоскового типа с двумя парами электродов на каждой пьезоэлектрической пластине (см., например, В.А.Мостяев и В.И.Дюжиков «Технология пьезо- и акустоэлектронных устройств», М., Ягуар, 1993, стр.182-183). Известный фильтр обладает высокими электрическими параметрами в части гарантированного затухания (более 85 дБ) и коэффициентом прямоугольности менее 2,5 по уровню 80/3 дБ, однако, имеет значительные габаритные размеры и не может быть использован для поверхностного монтажа на плате потребителя ввиду отсутствия плоских контактов.
Патент US 5023580 раскрывает конструкцию кварцевого фильтра четвертого порядка в металлокерамическом корпусе для поверхностного монтажа, предназначенного для работы на частотах от 21,4 до 100 МГц. Известный фильтр содержит кварцевую пьезоэлектрическую пластину с четырьмя парами возбуждающих электродов, размещенными на ее рабочих гранях и образующими акустически связанные резонаторы. При небольших габаритных размерах (например, 7×5×1,35 мм) известный монолитный кварцевый фильтр, однако, имеет малое гарантированное относительное затухание (не более 75 дБ), причем оно обеспечивается только в нижнем частотном диапазоне полосы задерживания, а также низкий порядок фильтра (не более четвертого) и ограничение номинальной частоты в сторону ее снижения. Известный фильтр характеризуется невозможностью монтажа согласующего конденсатора, необходимого для получения требуемой амплитудно-частотной характеристики фильтра, внутри корпуса.
Таким образом, из уровня техники известны:
– либо монолитные пьезоэлектрические фильтры, имеющие минимальные габаритные размеры, однако невысокого порядка (не более четвертого),
– либо монолитные пьезоэлектрические фильтры высокого порядка (выше четвертого), однако, имеющие большие габаритные размеры за счет необходимости размещения в одном корпусе большого количества пьезоэлектрических пластин.
В рамках данной заявки решается задача разработки конструкции такого миниатюрного компактного пьезоэлектрического фильтра, предназначенного для поверхностного монтажа, который позволил бы повысить его порядок до десятого, а также получить гарантированное относительное затухание более 80 дБ с расширением частотного диапазона в сторону более низких частот до значения 8 МГц. Имеется необходимость в преобразовании пьезоэлектрического фильтра как в фильтр верхних или нижних частот, так в режекторный фильтр на базе разработанной внутренней и внешней структуры пьезоэлектрического фильтра. Решается также задача разработки конструкции пьезоэлектрического фильтра, имеющего эффективную стоимость.
Поставленная цель достигается тем, что в пьезоэлектрическом фильтре, содержащем металлокерамический корпус для поверхностного монтажа, имеющий разъемное соединение с крышкой, а также, по крайней мере, две наружные контактные площадки, выполненные на его основании и размещенные в корпусе, по крайней мере, одну пару пьезоэлектрических пластин с двумя парами возбуждающих электродов каждая и, по крайней мере, один согласующий конденсатор, корпус имеет две системы внутренних контактных площадок, одна из которых предназначена для подачи высокочастотного электрического сигнала, а другая предназначена для заземления, указанные две системы внутренних контактных площадок размещены в одной плоскости в два взаимнопараллельных ряда так, что в каждом ряду внутренние контактные площадки одной системы чередуются с внутренними контактными площадками другой системы, и каждая внутренняя контактная площадка одного ряда находится напротив внутренней контактной площадки другой системы из другого ряда, при этом каждая пьезоэлектрическая пластина и каждый согласующий конденсатор соединены электрически с внутренней контактной площадкой каждой системы, кроме того, корпус имеет слой металлизации как на его наружной поверхности, так и на внутренней поверхности за исключением участков, занимаемых наружными контактными площадками и согласующими конденсаторами, при этом слой металлизации образует замкнутый контур, электрически соединенный с системой заземленных внутренних контактных площадок.
Целесообразно, чтобы согласующие конденсаторы были расположены либо между пьезоэлектрическими пластинами в случае фильтра четвертого порядка, либо они были расположены под пьезоэлектрическими пластинами для фильтров более высокого порядка.
Кроме того, количество согласующих конденсаторов определяется из соотношения n=N-1, где N – количество пьезоэлектрических пластин.
Предпочтительно, что пьезоэлектрические пластины выполнены из пьезоэлектрических материалов, в которых возбуждаются колебания сдвига по толщине.
При этом отношение ширины пьезоэлектрической кварцевой пластины к ее толщине составляет для кристалла кварца среза yzb/35°11′ величину из ряда 17,2-17,5; 13,7-14,0. (1)
При этом отношение ширины пьезоэлектрической пластины к ее толщине составляет для танталата лития среза xys/-49° величину из ряда: 22,4-22,8; 19,6-20,0; 15,8-16,1; 13,5-13,8; 8,9-9,3; 6,3-6,6; 5,9-6,2; 5,5-5,8; 4,8-5,2. (2)
При этом отношение ширины пьезоэлектрической пластины к ее толщине составляет для лангасита среза yzb /+1°30′ величину из ряда 26,2-26,5; 23,5-23,8; 20,2-20,5; 18,0-18,4; 14,9-15,2. (3)
Данная внутренняя и внешняя структура пьезоэлектрического фильтра, выполненного с использованием миниатюрного металлокерамического корпуса, предназначенного для поверхностного монтажа, характеризуется многоуровневым расположением в корпусе основных узлов устройства и позволяет при соблюдении требуемого взаимного расположения внутри корпуса пьезоэлектрических пластин, конденсаторов и контактных площадок реализовать такую плотную упаковку основных узлов фильтра, которая одновременно обеспечивает как увеличение гарантированного относительного затухания, так и повышение порядка фильтра.
Сущность изобретения поясняется неограничивающими примерами его реализации и прилагаемыми чертежами, на которых:
фиг.1 изображает вид пьезоэлектрического фильтра со стороны основания корпуса.
фиг.2 изображает вид фильтра восьмого порядка сверху без крышки.
фиг.3 изображает вид фильтра четвертого порядка сверху без крышки.
фиг.4 изображает вид фильтра восьмого порядка без пьезоэлектрических пластин.
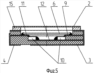
фиг.5 изображает поперечный разрез данного фильтра восьмого порядка.
Для пояснения сущности изобретения на чертежах введены следующие обозначения: 1 – корпус; 2 – крышка; 3 – слой металлизации; 4 – внешние контактные площадки вход-выход, 5 – внешние контактные площадки; 6 – серия пьезоэлектрических пластин; 7 – пара электродов входа (нижние электроды входа не показаны); 8 – пара электродов выхода (нижние электроды выхода не показаны); 9 – внутренняя контактная площадка заземленная; 10 – конденсатор; 11 – внутренняя контактная площадка подачи высокочастотного сигнала; 12 – внутренняя металлизация; 13 – токопроводящий элемент крепления; 14 – участок, свободный от металлизации; 15 – элемент разъемного соединения.
Пьезоэлектрический фильтр работает следующим образом. Пьезоэлектрическая система фильтра состоит из серии отдельных пьезоэлектрических пластин 6 полоскового типа, выполненных, например, из кварца (см. фиг.2). Следует понимать, что в качестве материала пьезоэлектрической пластины может быть использован любой другой пьезоэлектрический материал, в котором возбуждаются колебания сдвига по толщине. Соотношения между шириной и толщиной пьезоэлектрической пластины фильтра для обеспечения требуемой моночастотности и максимальной добротности составляют для кварца, танталата лития и лангасита, соответственно, значения, определяемые соотношениями (1), (2) и (3). Например, в качестве пьезоэлектрического материала пластины может быть использован также танталат лития либо лангасит. Каждая пластина из серии пьезоэлектрических пластин 6 соединена электрически с внутренними контактными площадками для подачи высокочастотного сигнала 11 и с внутренними контактными площадками заземленными 9, а каждый конденсатор 10 соединен электрически одним концом с внутренними контактными площадками подачи высокочастотного сигнала 11, а другим концом соединен с внутренней металлизацией 12. При подаче на верхний электрод пары электродов входа 7 пьезоэлектрической пластины 6 с внешней контактной площадки входа 4 высокочастотного сигнала с частотой, соответствующей основному колебанию сдвига по толщине, в подэлектродной области устанавливается сдвиговая стоячая волна. За счет акустической связи между частотными резонаторами, образованными парой электродов входа 7, расположенными на рабочих сторонах пьезоэлектрической пластины 6, сдвиговые колебания входного резонатора передаются в подэлектродную область выходного резонатора, образованного парой электродов выхода 8. Выходной высокочастотный сигнал с первой пластины из серии пьезоэлектрических пластин 6 поступает на входной резонатор второй пластины из серии пьезоэлектрических пластин 6. Далее происходят аналогичные преобразования высокочастотного сигнала до выхода фильтра (внешней контактной площадки выхода). Конденсаторы 10 (так называемые согласующие конденсаторы), необходимые для получения требуемой амплитудно-частотной характеристики фильтра, размещают между внутренними контактными площадками для подачи высокочастотного сигнала 11 и внутренней металлизацией 12, а также либо между пьезоэлектрическими пластинами 6, либо под пьезоэлектрическими пластинами 6 в зависимости от порядка фильтра.
Пример 1.
Пьезоэлектрический фильтр восьмого порядка на частоту 21,4 МГц, выполненный по предлагаемой структуре, имеет четыре пьезоэлектрические пластины 6 из кварца с размерами 6 мм×1,7 мм, размещенные внутри металлокерамического корпуса 1.
Корпус 1 пьезоэлектрического фильтра имеет слой металлизации 3, покрывающий его внешнюю поверхность, а именно основание и боковые грани корпуса 1, и образующий замкнутый контур, электрически соединенный с заземленными внутренними контактными площадками 9 и внутренней металлизацией 12. Корпус 1 имеет внешние контактные площадки входа и выхода 4, выполненные на его основании и предназначенные для входа/выхода высокочастотного сигнала. Корпус 1 может иметь также внешние контактные площадки 5, являющиеся по своему функциональному назначению резервными контактными площадками, электрически соединенными с внутренними контактными площадками 11. Корпус 1 имеет также внутреннюю металлизацию 12 с участками 17, свободными от металлизации. Внутри корпуса 1 с помощью токопроводящих элементов крепления 16 установлена серия пьезоэлектрических пластин 6 с двумя парами электродов 7 и 8 (нижние электроды каждой пары не показаны), а также так называемые согласующие конденсаторы 10, размещенные между изолированными контактными площадками 11 и внутренней металлизацией 12, при этом согласующие конденсаторы 10 размещены под серией пьезоэлектрических пластин 6 (см. фиг.2).
Наличие внешних контактных площадок 5 в качестве резервных площадок позволяет на базе данной структуры пьезоэлектрического фильтра преобразовывать его из полосового фильтра в фильтр верхних или нижних частот, а также в режекторный фильтр путем дополнительного электрического соединения внешних контактных площадок 5 фильтра с конденсаторами или элементами индуктивности.
Фильтр данной конструкции с многоуровневым расположением основных узлов имеет гарантированное затухание более 85 дБ, полосу пропускания от 3,5 до 90 кГц, вносимое затухание менее 3 дБ, неравномерность затухания в полосе пропускания менее 2 дБ и коэффициент прямоугольности менее 2,5 по уровням 80/3 дБ.
Пример 2.
Пьезоэлектрический фильтр восьмого порядка на частоту 10,7 МГц состоит из тех же узлов, что и в примере 1, однако в качестве пьезоэлектрических пластин введены пластины лангасита среза ухl/1°+30′, при этом четыре пьезоэлектрические пластины 6 имеют размеры 6 мм×1,72 мм. Фильтр содержит металлокерамический корпус с теми же геометрическими размерами, что и в примере 1. Согласующие конденсаторы 10 расположены под серией пьезоэлектрических пластин 6 между внутренними контактными площадками 11 и внутренней металлизацией 12.
Данный фильтр имеет гарантированное затухание более 85 дБ, полосу пропускания 50 кГц, вносимое затухание менее 3 дБ, неравномерность затухания в полосе пропускания не более 2 дБ, коэффициент прямоугольности не более 2,5 по уровням 80/3.
Пример 3.
Фильтр четвертого порядка на частоту 10,7 МГц выполнен в том же металло-керамическом корпусе, что и в примере 1, однако, в качестве пьезоэлектрических пластин введены две пластины 6 из танталата лития среза xys/-49° (см. фиг.3) с размерами 6 мм×2,83 мм, размещенные в корпусе 1, и один согласующий конденсатор 10, размещенный между серией пьезоэлектрических пластин 6, а также между внутренней контактной площадкой 11 и внутренней металлизацией 12.
Данный фильтр имеет гарантированное затухание более 80 дб в диапазоне частот
fном – 1 МГц, полосу пропускания от 50 до 400 кГц, вносимое затухание менее 3 дБ, неравномерность в полосе пропускания не более 2 дБ, коэффициент прямоугольности по уровню менее 3 по уровням 40/3.
Изобретение может быть использовано при производстве монолитных пьезоэлектрических полосовых фильтров, которые могут находить применение в качестве компонентов портативных устройств связи, в навигационных системах, а также и для других устройств, например, в фильтрах на ПАВ или в многорезонаторных системах с иным конечным применением.
Коммерческое преимущество заявленного пьезоэлектрического фильтра состоит в возможности как увеличения гарантированного относительного затухания, так и повышения порядка фильтра при его миниатюрных габаритных размерах и при эффективной цене. Внутренняя и внешняя структура фильтра позволяет преобразовывать его в фильтр верхних или нижних частот, а также в режекторный фильтр с помощью дополнительного электрического соединения резервных внешних контактных площадок с внешними конденсаторами или элементами индуктивности.
Формула изобретения
1. Пьезоэлектрический фильтр, содержащий металлокерамический корпус для поверхностного монтажа, имеющий разъемное соединение с крышкой, а также, по крайней мере, две наружные контактные площадки, выполненные на его основании, и размещенные в корпусе, по крайней мере, одна пара пьезоэлектрических пластин с двумя парами возбуждающих электродов каждая и, по крайней мере, один согласующий конденсатор, кроме того, корпус имеет две системы внутренних контактных площадок, одна из которых предназначена для подачи высокочастотного электрического сигнала, а другая предназначена для заземления, указанные две системы внутренних контактных площадок размещены в одной плоскости в два взаимно параллельных ряда так, что в каждом ряду внутренние контактные площадки одной системы чередуются с внутренними контактными площадками другой системы, и каждая внутренняя контактная площадка одного ряда находится напротив внутренней контактной площадки другой системы из другого ряда, при этом каждая пьезоэлектрическая пластина и каждый согласующий конденсатор соединены электрически с внутренней контактной площадкой обеих систем, кроме того, корпус имеет слой металлизации, как на его наружной поверхности, так и на внутренней поверхности за исключением участков, занимаемых наружными контактными площадками и согласующими конденсаторами, при этом слой металлизации образует замкнутый контур, электрически соединенный с системой заземленных внутренних контактных площадок.
2. Устройство по п.1, характеризующееся тем, что согласующие конденсаторы расположены либо между пьезоэлектрическими пластинами в случае фильтра четвертого порядка, либо расположены под пьезоэлектрическими пластинами для фильтров более высокого порядка.
3. Устройство по п.1, характеризующееся тем, что количество согласующих конденсаторов определяется из соотношения n=N-l, где N – количество пьезоэлектрических пластин.
4. Устройство по п.1, характеризующееся тем, что пьезоэлектрические пластины выполнены из пьезоэлектрических материалов, в которых возбуждаются колебания сдвига по толщине.
5. Устройство по п.1, характеризующееся тем, что отношение ширины пьезоэлектрической пластины к ее толщине составляет для кварца среза yzb/35°11′ величину из ряда 17,2-17,5; 13,7-14,0.
6. Устройство по п.1, характеризующееся тем, что отношение ширины пьезоэлектрической пластины к ее толщине составляет для танталата лития среза xys/-49° величину из ряда: 22,4-22,8; 19,6-20,0; 15,8-16,1; 13,5-13,8; 8,9-9,3; 6,3-6,6; 5,9-6,2; 5,5-5,8; 4,8-5,2.
7. Устройство по п.1, характеризующееся тем, что отношение ширины пьезоэлектрической пластины к ее толщине составляет для лангасита среза yzb/+1°30′ величину из ряда 26,2-26,5; 23,5-23,8; 20,2-20,5; 18,0-18,4; 14,9-15,2.
РИСУНКИ
|
|