|
(21), (22) Заявка: 2007138412/09, 16.10.2007
(24) Дата начала отсчета срока действия патента:
16.10.2007
(30) Конвенционный приоритет:
17.10.2006 KR 10-2006-0101056
(43) Дата публикации заявки: 27.04.2009
(46) Опубликовано: 20.11.2009
(56) Список документов, цитированных в отчете о поиске:
DE 102004058764 А1, 01.06.2006. SU 817790 А1, 30.03.1981. RU 7242 U1, 16.07.1998. RU 2049872 С2, 07.11.1995. RU 2249872 С2, 10.04.2005. US 5032813 А, 16.07.1991. DE 29614720 U1, 18.12.1997. JP 11213762 А, 06.08.1999.
Адрес для переписки:
129090, Москва, ул. Б.Спасская, 25, стр.3, ООО “Юридическая фирма Городисский и Партнеры”, пат.пов. Ю.Д.Кузнецову, рег. 595
|
(72) Автор(ы):
СЕО Дзае-Кван (KR)
(73) Патентообладатель(и):
ЭлЭс ИНДАСТРИАЛ СИСТЕМЗ КО., ЛТД. (KR)
|
(54) ПОДВИЖНЫЙ КОНТАКТОР ДЛЯ ВОЗДУШНОГО АВТОМАТИЧЕСКОГО ВЫКЛЮЧАТЕЛЯ И СПОСОБ СОЕДИНЕНИЯ ЕГО ГИБКОГО ПРОВОДНИКА
(57) Реферат:
Изобретение относится к области электротехники. Техническим результатом является повышение надежности путем предотвращения короткого замыкания и тепловой деформации. Подвижный контактор воздушного автоматического выключателя содержит несколько штырей, гибкие проводники, каждый из которых имеет один конец, соединенный с каждым из штырей, и соединитель, имеющий вводные канавки для ввода в них с одной стороны другого конца гибких проводников. При этом вводная канавка имеет удлиненную часть, имеющую постепенно увеличивающуюся ширину от отверстия в направлении ввода гибких проводников, и гибкие проводники после введения их в вводную канавку подвергнуты пластичной деформации. 2 н. и 13 з.п. ф-лы, 12 ил.
Область техники, к которой относится изобретение
Данное изобретение относится к подвижному контактору для автоматического воздушного выключателя и способу соединения его гибкого проводника, и, в частности, к подвижному контактору для воздушного автоматического выключателя и способу соединения для гибкого проводника, которые могут предотвращать тепловую деформацию и уменьшать время и стоимость изготовления посредством уменьшения числа процессов сварки или частей (точек) сварки.
Уровень техники
В целом, воздушный автоматический выключатель является устройством, расположенным в электрической линии, для прерывания/замыкания электрической линии при возникновении необычной ситуации, такой как короткое замыкание и подобное.
Такие автоматические выключатели можно разделить на выключатели переменного тока, выключатели постоянного тока и т.п., в зависимости от применяемой линии. Кроме того, автоматические выключатели можно разделить на воздушные выключатели, газовые выключатели, вакуумные выключатели и т.п., в зависимости от среды для гашения электрической дуги. Среди этих автоматических выключателей воздушный выключатель является выключателем для выполнения переключательных операций в воздухе. Такой автоматический выключатель содержит раму, имеющую внутри приемное пространство, неподвижные и подвижные контакторы, расположенные внутри рамы для осуществления контактирования и с возможностью отделения от рамы, приводной блок для приведения в действие контактора, и детекторный блок для обнаружения чрезмерного тока и тока повреждения.
На Фиг.1 показан на виде сбоку подвижный контактор воздушного автоматического выключателя, согласно уровню техники. На Фиг.2 показан на виде спереди контактор, согласно Фиг.1. Как показано на фигурах, подвижный контактор 30 воздушного выключателя расположен на одной стороне неподвижного контактора 10, соединенного со стороной электропитания или стороной нагрузки внутри рамы (не изображена) для осуществления контакта и отсоединения от неподвижного контактора 10 посредством поворота. Приводной блок 20 предусмотрен на одной стороне подвижного контактора 30 для замыкания/размыкания неподвижного контактора 30 в соответствии с сигналом управления и содержит несколько соединений 21, пружин 23 и так далее.
Подвижный контактор 30 включает несколько штырей 41, имеющих подвижный контакт 42 для контакта с неподвижным контактором 10, клетку 31 для размещения и опоры штырей 41 и соединитель 51, расположенный на одной стороне клетки 31 и соединенный с другой стороной электропитания или нагрузки.
Штыри 41 и соединитель 51 соединены с помощью гибких проводников 45. На соединителе 51 выполнено несколько вводных канавок 53, так что в них можно вводить один конец гибких проводников 45, соединенных с каждым из штырей 41. Гибкие проводники 45, введенные во вводные канавки 53, соединены посредством сварки с периферийной частью вводных канавок 53. Сварная часть 54 образована на одном конце каждого из гибких проводников 45 и во входном отверстии каждой вводной канавки 53.
Однако в подвижном контакторе воздушного выключателя, согласно уровню техники, операцию сварки осуществляют после вставления гибких проводников 45 во вводные канавки 53 соединителя 51. В соответствии с этим соединитель 51 может деформироваться за счет сильного нагревания во время сварки.
Дополнительно к этому, в гибких проводниках 45 может происходить короткое замыкание во время сварки, что уменьшает проводящую способность.
Кроме того, для операции сварки необходимо дополнительное сварочное оборудование. Кроме того, конец гибких проводников 45 и периферийную часть вводных канавок 53 необходимо сваривать по отдельности, что требует много времени для выполнения операции сварки.
Сущность изобретения
Целью данного изобретения является создание подвижного контактора воздушного автоматического выключателя и способа соединения его гибкого проводника, которые могут предотвращать короткое замыкание и тепловую деформацию.
Другой целью данного изобретения является создание подвижного контактора воздушного автоматического выключателя и способа соединения его гибкого проводника, которые могут уменьшить время и стоимость изготовления.
Для достижения этих и других преимуществ и в соответствии с указанными целями данного изобретения создан подвижный контактор воздушного автоматического выключателя, содержащий штыри, контактирующие с неподвижным контактом; гибкие проводники, имеющие каждый один конец, соединенный с каждым из штырей; и соединитель, расположенный на одной стороне штырей, подлежащий соединению со стороной электропитания или стороной нагрузки и имеющий вводные канавки для ввода в них другого конца гибких проводников, при этом вводная канавка имеет удлиненную часть, имеющую постепенно увеличивающуюся ширину от входного отверстия в направлении ввода гибких проводников.
Вводная канавка может иметь поперечное сечение многоугольной формы или в форме круговой дуги.
Гибкие проводники предпочтительно подвергаются пластичной деформации после введения во вводные канавки.
Штырь имеет приемную часть для приема одного конца гибких проводников, и приемная часть может иметь часть боковой стенки, имеющую постепенно уменьшающуюся ширину к входному отверстию в направлении натяжения гибких проводников.
Приемная часть может иметь поперечное сечение многоугольной формы или в форме круговой дуги.
Гибкие проводники могут подвергаться пластичной деформации или могут быть соединены с помощью сварки после размещения в приемной части.
Может быть образовано несколько приемных частей.
Кроме того, приемную часть можно проварить после соединения с одним концом гибких проводников.
Согласно другому аспекту данного изобретения для подвижного контактора воздушного автоматического выключателя, имеющего штыри, контактирующие с неподвижным контактом, соединитель, имеющий один конец, соединенный со стороной электропитания или стороной нагрузки, и гибкие проводники для соединения штырей и соединителя, способ соединения гибкого проводника подвижного контактора воздушного автоматического выключателя содержит образование вводных канавок на контакторе, так что их ширина постепенно увеличивается от входного отверстия в направлении введения гибких проводников; и введение одного конца гибких проводников во вводные канавки.
При этом способ может дополнительно содержать стадию пластичной деформации конца гибких проводников после выполнения стадии введения одного конца гибких проводников во вводные канавки.
Кроме того, способ может дополнительно содержать стадию образования приемной части на штырях для размещения конца гибких проводников и стадию введения конца гибких проводников в приемную часть.
Способ может также содержать стадию сварки приемной части и гибких проводников после выполнения стадии введения гибких проводников в приемную часть.
Способ может также содержать стадию пластичной деформации конца гибких проводников после выполнения стадии введения конца гибких проводников в приемную часть.
Указанные и другие цели, признаки, аспекты и преимущества данного изобретения следуют из приведенного ниже подробного описания данного изобретения со ссылками на прилагаемые чертежи.
Краткое описание чертежей
Прилагаемые чертежи, которые предназначены для обеспечения лучшего понимания изобретения и составляют часть данного описания, иллюстрируют варианты выполнения изобретения и вместе с описанием служат для пояснения принципов изобретения, причем на них изображено:
Фиг.1 – подвижный контактор воздушного автоматического выключателя, согласно уровню техники, на виде сбоку;
Фиг.2 – контактор, согласно Фиг.1, на виде спереди;
Фиг.3 – подвижный контактор воздушного автоматического выключателя, согласно одному варианту выполнения данного изобретения, в изометрической проекции;
Фиг.4 – процесс соединения штыря и соединителя, согласно Фиг.2, в изометрической проекции;
Фиг.5 – соединитель, согласно Фиг.4, на виде спереди;
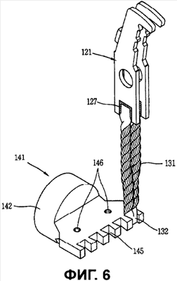
Фиг.6 – состояние соединения между гибкими проводниками и соединителем, согласно Фиг.4;
Фиг.7 и 8 – примеры модификации вводной канавки, согласно Фиг.3, соответственно;
Фиг.9 – пример модификации приемной части штыря, согласно Фиг.4;
Фиг.10 – состояние соединения между штырем и гибкими проводниками, согласно другому варианту выполнения данного изобретения;
Фиг.11 – штырь подвижного контактора воздушного автоматического выключателя, согласно еще одному варианту выполнения данного изобретения, в изометрической проекции; и
Фиг.12 – состояние соединения, согласно Фиг.11.
Подробное описание изобретения
Ниже приводится подробное описание предпочтительных вариантов выполнения данного изобретения, примеры выполнения которых показаны на прилагаемых чертежах.
Как показано на Фиг.3 и 4, подвижный контактор воздушного автоматического выключателя, согласно данному изобретению, включает штыри 121, контактирующие с неподвижным контактом неподвижного контактора (не изображен); гибкие проводники 131, каждый из которых имеет один конец, соединенный с каждым из штырей 121; и соединитель 141, расположенный на одной стороне штырей 121, для соединения со стороной электропитания или стороной нагрузки, и имеющий вводные канавки 152 на своем одном конце для введения другого конца гибких проводников 131, при этом вводные канавки 152 имеют удлиненную часть 154, имеющую постепенно увеличивающуюся ширину от входного отверстия в направлении введения гибкого проводника 131.
Штыри 121 размещены для соединения с внутренней стороной клетки 111, имеющей приемное пространство, разделенное для штырей 121, и поворотная опорная часть 113 расположена на одной стороне клетки 111, так что соединитель 141 может быть соединен с ней с возможностью поворота. Поворотная опорная часть 113 поворачивается относительно клетки 111 вокруг поворотной оси 115.
Штырь 121 выполнен в виде длинной пластины, выполненной из медного (Cu) материала. Подвижный контакт 122 образован на одной стороне каждого штыря 121 для контактирования с неподвижным контактом, и на одном конце каждого из штырей 121 образована изогнутая часть 124, изогнутая горизонтально относительно продольного направления. На другом конце каждого из штырей 121 образована приемная часть 125 для размещения в ней одного конца гибких проводников 131. Приемная часть 125 выполнена в виде прямоугольной вогнутой канавки в направлении толщины.
Гибкие проводники 131 образованы из множества проводов, имеющих небольшой диаметр для обеспечения гибкости. Сжатые части 132 выполнены отдельно на обоих концах каждого из гибких проводников 131 для упрощения ввода в приемную часть 125 и вводную канавку 152.
В то же время соединитель 141 включает соединительную часть 142, соединенную со стороной электропитания или стороной нагрузки, и соединительную часть 145 для проводников, с которой соединены гибкие проводники 131. Соединительная часть 142 имеет форму круглого стержня, а соединительная часть 145 для проводников, имеющая форму относительно тонкой пластины, выполнена интегрально с соединительной частью 142 на одной стороне соединительной части 142. На одной концевой поверхности соединительной части 142 выполнено несколько сквозных соединительных отверстий 144 для соединения со стороной электропитания или стороной нагрузки с помощью фиксирующего болта или т.п.
В соединительной части 145 для проводников выполнены болтовые отверстия 146 для пропускания фиксирующих болтов, соединенных с поворотной опорной частью 113. Несколько вводных канавок 152 выполнено на одном конце соединительной части 145 для проводников для введения в них конца гибких проводников 131. Один конец каждой вводной канавки 152 выполнен с размером, достаточным для введения двух сжатых частей 132, т.е. конца гибких проводников 131, соединенных с приемной частью 125 штырей 121. В этом варианте выполнения соединительная часть 145 для проводников имеет пять вводных канавок 152, так что в них можно вводить гибкие проводники 131, соединенные с десятью штырями 121.
Как показано на Фиг.5, каждая из вводных канавок 152 образована с удлиненной частью 154, имеющей постепенно увеличивающуюся ширину от входного отверстия в направлении введения гибких проводников 131. Как показано на Фиг.6, это предусмотрено для предотвращения отделения введенных сжатых частей 132 каждого из гибких проводников 131 в направлении, противоположном направлению введения, когда каждый из гибких проводников 131 расположен перпендикулярно плоской поверхности соединительной части 145 для проводников, и если каждая из сжатых частей 132 принудительно вводится во входное отверстие. При этом вводные канавки 162, как показано на Фиг.7, могут быть выполнены с поперечным сечением в форме круговой дуги, имеющей удлиненную часть 164 заданной длины от входного отверстия. Как показано на Фиг.8, вводные канавки 172 могут быть выполнены с поперечным сечением прямоугольной формы, имеющим удлиненную часть 174 заданной длины от входного отверстия.
Две сжатые части 132 гибких проводников 131 принудительно вводятся одновременно в одну вводную канавку 152, сжимаются и затем подвергаются пластичной деформации в форму, соответствующую внутренней форме вводной канавки 152. Таким образом, гибкие проводники 131 образованы следующим образом: скручивают множество тонких проводов и на обоих концах гибких проводников выполняют первое сжатие для получения формы для введения во вводную канавку 152 и приемную часть 132 с образованием каждой из сжатых частей 132. Сжатую часть 132, подлежащую введению во вводную канавку 152 вдоль сжатых частей 132, снова сжимают, а затем подвергают пластичной деформации в форму, соответствующую форме вводной канавки 152. В соответствии с этим можно предотвращать отсоединение конца каждого гибкого проводника 131, т.е. сжатой части 132, из входного отверстия в направлении, противоположном направлению введения.
Для такой структуры ниже приводится описание способа соединения между соединителем 141 и гибкими проводниками 131. Сначала принудительно вводят две сжатые части 132 гибкого проводника 131 одновременно в каждую вводную канавку 152 соединителя 141. Затем сжатые части 132, принудительно введенные в соответствующую вводную канавку 152, снова сжимают, как показано на Фиг.5, с образованием тем самым сжатых частей 132, пластично деформированных в форму, соответствующую форме вводной канавки 152.
В то же время способ соединения между гибкими проводниками 131 и штырями 121 состоит в следующем: сначала другую сжатую часть 132 гибких проводников 131 принудительно вводят в каждую приемную часть 125 штыря 121. Затем приемную часть 125 и сжатую часть 132 гибких проводников 131 сваривают вместе с образованием тем самым сварной части 127.
На Фиг.9 показан в изометрической проекции штырь подвижного контактора воздушного автоматического выключателя, согласно другому варианту выполнения данного изобретения. На Фиг.10 показано состояние соединения между штырем и гибкими проводниками, согласно Фиг.9. Одинаковые и/или эквивалентные части указанной выше структуры не показаны для удобства пояснения, а для описания используются те же позиции. Как показано на фигурах, подвижный контактор воздушного автоматического выключателя содержит несколько штырей 121, контактирующих с неподвижным контактом и имеющих приемную часть 185 на одном своем конце, гибкие проводники, имеющие один конец, соединенный с каждым из штырей 121, и соединитель 141, расположенный на одной стороне штырей 121, подлежащий соединению со стороной электропитания или стороной нагрузки и имеющий вводные канавки 152 для введения другого конца гибких проводников 131 с одной их стороны, при этом вводная канавка 152 имеет удлиненную часть 154, имеющую постепенно увеличивающуюся ширину от входного отверстия в направлении введения гибких проводников 131.
На одном конце штыря 121 образована приемная часть 185 для размещения сжатой части 132 гибких проводников 131. Сжатую часть 132 гибких проводников 131 вводят внутрь приемной части 185, а затем подвергают пластичной деформации в форму, соответствующую внутренней форме приемной части 185.
Как показано на Фиг.10, сварная часть 187 образуется у входного отверстия приемной части 185 и проходит в направлении толщины для предотвращения отделения гибких проводников в направлении толщины штыря 121.
Если гибкие проводники 131 проходят в продольном направлении, то приемная часть 185 выполнена с внутренней шириной W1, постепенно уменьшающейся к входному отверстию в продольном направлении штыря 121. Это предусмотрено для предотвращения отделения конца гибких проводников 131, размещенных внутри приемной части 185, от приемной части 185, когда натягиваются гибкие проводники 131. Кроме того, это необходимо для уменьшения сварной части и времени сварки посредством уменьшения соединительной силы, требуемой после процесса сварки. При этом приемная часть 185 может иметь поперечное сечение с формой круговой дуги, как показано на Фиг.7, или иметь поперечное сечение прямоугольной формы, как показано на Фиг.8.
При такой структуре во время соединения штыря 121 и гибких проводников 131 сжатую часть 132 гибких проводников 131 вводят в приемную часть 185 штыря 121. Затем приемную часть 185 и сжатую часть 132 гибких проводников сваривают вместе с образованием за счет этого сварной части 187.
На Фиг.11 показан в изометрической проекции подвижный контактор воздушного автоматического выключателя, согласно еще одному варианту выполнения данного изобретения, а на Фиг.12 показано состояние соединения контактора, согласно Фиг.11. Как показано на фигурах, подвижный контактор воздушного выключателя содержит штыри 121, контактирующие с неподвижным контактом и имеющие несколько приемных частей 195 на одном своем конце, гибкие проводники 131, соединенные одним концом с каждым из штырей 121, и соединитель 141, расположенный на одной стороне штырей 121 для соединения со стороной электропитания или стороной нагрузки и имеющий вводные канавки 152 для введения другого конца гибких проводников 131 в одну его сторону, при этом вводные канавки 152 имеют удлиненную часть 154, имеющую ширину, постепенно увеличивающуюся от входного отверстия в направлении введения гибких проводников 131.
Несколько приемных частей 195 образованы на одном конце штырей 121 для размещения в них сжатой части 135 гибких проводников 131, и несколько сжатых частей 135 образовано на одном конце гибких проводников 131 и сжаты при разделении в соответствии с числом приемных частей 195.
Каждая из сжатых частей 135 гибких проводников 131 размещается в каждой из приемных частей 195 и подвергается пластичной деформации в форму, соответствующую приемной части 195. При этом для более эффективного предотвращения отделения гибких проводников 131 от штырей в направлении толщины провариваемую часть 197 можно подвергать пластичной деформации посредством операции проваривания, так что входное отверстие приемной части 195 становится уже в направлении толщины.
Если гибкие проводники 131 расширяются, то приемная часть 195 выполнена с внутренней шириной W2, постепенно уменьшающейся в направлении входного отверстия. Это необходимо для предотвращения отделения сжатой части 135, то есть конца гибких проводников 131, размещенного внутри приемной части 195, из приемной части 195 при натягивании гибких проводников 131. При этом приемная часть 195 может иметь поперечное сечение с формой круговой дуги, как показано на Фиг.7, или иметь поперечное сечение многоугольной формы, как показано на Фиг.8.
При такой структуре во время соединения штырей 121 и гибких проводников 131 сжатые части 135, образованные на конце гибких проводников 131, принудительно вводят в каждую из приемных частей 195 штыря 121. Затем сжатые части 135, размещенные внутри приемной части 195, сжимают для пластичной деформации в форму, соответствующую внутренней форме приемных частей 195. И для более эффективного предотвращения отделения гибких проводников 131 в направлении толщины штыря 121 можно дополнительно пластично деформировать провариваемую часть 197 с помощью операции проваривания, так что отверстие приемной части 195 в направлении толщины становится уже.
Как указывалось выше, согласно данному изобретению устраняется процесс сварки посредством образования вводной канавки в соединителе, так чтобы удлиненная часть имела ширину, постепенно увеличивающуюся от входного отверстия в направлении введения гибких проводников, за счет чего контролируется деформация за счет сильного нагревания соединителя и предотвращается короткое замыкание гибких проводников. Кроме того, можно получать силу соединения, которая примерно такая же, как при соединении с помощью сварки, и увеличивать проводящую способность.
Кроме того, согласно данному изобретению, можно исключить процессы сварки или уменьшить зоны сварки посредством образования вводной канавки, имеющей удлиненную часть у соединителя, и посредством образования приемной части, имеющей ширину, постепенно уменьшающуюся к входному отверстию в направлении натяжения гибких проводников у штыря. Таким образом, можно контролировать деформацию компонентов за счет операции сварки и можно предотвращать короткое замыкание гибких проводников.
Дополнительно к этому, согласно данному изобретению, оба конца гибких проводников соединяют, соответственно, с соединителем и штырем, а затем подвергают пластичной деформации в форму, соответствующую вводной канавке и приемной части. В соответствии с этим процесс сварки может быть исключен, за счет чего нет необходимости в использовании сварочного оборудования. Процесс изготовления упрощается, за счет чего сокращается время изготовления и уменьшается стоимость изготовления.
Следует также понимать, что поскольку данные признаки можно осуществлять в различных формах без отхода от их характеристик, то указанные выше варианты выполнения не ограничиваются никакими деталями приведенного выше описания, если это не указано особо, а должны пониматься в широком смысле внутри объема, задаваемого прилагаемой формулой изобретения, и поэтому все изменения и модификации, которые входят в объем формулы изобретения или ее эквивалентов, охватываются прилагаемой формулой изобретения.
Формула изобретения
1. Подвижный контактор воздушного автоматического выключателя, содержащий: штыри, контактирующие с неподвижным контактом; гибкие проводники, каждый из которых имеет один конец, соединенный с каждым из штырей; и соединитель, расположенный на одной стороне штырей, предназначенный для соединения со стороной электропитания или стороной нагрузки и имеющий вводные канавки для ввода в них другого конца гибких проводников, при этом вводная канавка имеет удлиненную часть, имеющую постепенно увеличивающуюся ширину от входного отверстия в направлении ввода гибких проводников; и при этом гибкие проводники подвергнуты пластичной деформации после введения в вводную канавку.
2. Подвижный контактор по п.1, в котором вводная канавка имеет поперечное сечение многоугольной формы.
3. Подвижный контактор по п.1, в котором вводная канавка имеет поперечное сечение в форме круговой дуги.
4. Подвижный контактор по п.1, в котором штырь имеет приемную часть для размещения одного конца гибких проводников.
5. Подвижный контактор по п.4, в котором приемная часть имеет часть боковой стенки, имеющую постепенно уменьшающуюся ширину к входному отверстию в направлении натяжения гибких проводников.
6. Подвижный контактор по п.5, в котором приемная часть имеет поперечное сечение многоугольной формы.
7. Подвижный контактор по п.5, в котором приемная часть имеет поперечное сечение в форме круговой дуги.
8. Подвижный контактор по п.5, в котором гибкие проводники подвергнуты пластичной деформации после размещения в приемной части.
9. Подвижный контактор по п.4, в котором гибкие проводники соединены с помощью сварки после размещения в приемной части.
10. Подвижный контактор по п.4, в котором образовано несколько приемных частей.
11. Подвижный контактор по п.10, в котором приемная часть проварена после соединения с одним концом гибких проводников.
12. Способ соединения гибкого проводника подвижного контактора автоматического воздушного выключателя, имеющего штыри, контактирующие с неподвижным контактом, соединитель, имеющий один конец, соединенный со стороной электропитания или стороной нагрузки, и гибкие проводники для соединения штырей и соединителя, в котором выполняют вводные канавки на соединителе, так что их ширина постепенно увеличивается от входного отверстия в направлении введения гибких проводников; вводят один конец гибких проводников во вводные канавки; и проводят пластичную деформацию конца гибких проводников после введения одного конца гибких проводников во вводные канавки.
13. Способ по п.12, в котором выполняют приемную часть на штырях для размещения конца гибких проводников; и вводят конец гибких проводников в приемную часть.
14. Способ по п.13, в котором дополнительно проводят сварку приемной части и гибких проводников после введения гибких проводников в приемную часть.
15. Способ по п.13, в котором проводят пластичную деформацию конца гибких проводников после введения конца гибких проводников в приемную часть.
РИСУНКИ
|