|
|
(21), (22) Заявка: 2008136868/09, 09.02.2007
(24) Дата начала отсчета срока действия патента:
09.02.2007
(30) Конвенционный приоритет:
14.02.2006 FI 20065110
(46) Опубликовано: 20.11.2009
(56) Список документов, цитированных в отчете о поиске:
SU 1272365 А1, 23.11.1986. US 20020109674 А1, 15.08.2002. US 20060007156 A1, 12.01.2006. JP 03156520 A, 04.07.1991. JP 09305307 A, 28.11.1997. WO 9953800 A1, 28.10.1999.
(85) Дата перевода заявки PCT на национальную фазу:
15.09.2008
(86) Заявка PCT:
FI 2007/050070 20070209
(87) Публикация PCT:
WO 2007/093671 20070823
Адрес для переписки:
129090, Москва, ул. Б.Спасская, 25, стр.3, ООО “Юридическая фирма Городисский и Партнеры”, пат.пов. С.А.Дорофееву, рег. 146
|
(72) Автор(ы):
КАРВОНЕН Тони (FI)
(73) Патентообладатель(и):
САНДВИК МАЙНИНГ ЭНД КОНСТРАКШН ОЙ (FI)
|
(54) ПРИСПОСОБЛЕНИЕ В УПРАВЛЯЮЩЕМ УСТРОЙСТВЕ ПРОИЗВОДСТВЕННОЙ МАШИНЫ
(57) Реферат:
Изобретение относится к способу удаления загрязнений из управляющего устройства производственной машины и к управляющему устройству. Управляющее устройство (1) содержит трекболл (4), с которого можно смывать загрязнения. Смывную среду и загрязнения, собранные под трекболом, можно выводить по выпускному каналу наружу из управляющего устройства. Предложенным способом предотвращают попадание загрязнений в пространство (10а) для компонентов, содержащее электронные средства. Выпускной канал может содержать собирающую воронку (11) для сбора загрязнений и направления их посредством шланга (14) к соединительной части (15), содержащей коническую сопрягаемую поверхность (16). Изобретение позволяет устранить нарушения в работе за счет исключения попадания загрязнений внутрь корпуса устройства. 2 н. и 11 з.п. ф-лы, 7 ил.
Предпосылки к созданию изобретения
Изобретение относится к способу удаления загрязнений из управляющего устройства производственной машины, включающему промывку смывной средой загрязнений с трекболла управляющего устройства и направление загрязнений и смывной среды с трекболла, по меньшей мере, по одному выпускному каналу.
Изобретение дополнительно относится к управляющему устройству производственной машины, содержащему корпус, по меньшей мере, с крышкой и нижней частью; по меньшей мере, одно пространство для компонентов; по меньшей мере, один трекболл для генерирования управляющих сигналов; средство для поддержания трекболла в крышке корпуса и, по меньшей мере, один выпускной канал для отвода загрязнений с трекболла.
В производственных машинах, например установках для бурения горных пород, шахтных транспортных средствах, экскаваторах и подобных машинах, используют управляющие устройства и с помощью управляющих элементов в управляющих устройствах подают управляющие команды к управляемой установке или непосредственно к исполнительным механизмам, посредством которых управляют функциональными средствами производственных машин. Установлено, что трекболл является хорошим управляющим элементом производственной машины. В сравнении с другими соответствующими управляющими устройствами, например джойстиками и нажимными кнопками, трекболл обладает недостатком, заключающимся в том, что невозможно его сделать непроницаемым, из-за чего грязь и влага попадают в его структуру и через него – в корпус управляющего устройства. В результате этого могут происходить нарушения в работе и повреждения. Для решения данной проблемы трекболл был усовершенствован таким образом, чтобы можно было отсоединять управляющий шар, после чего можно смывать загрязнения, скопившиеся в корпусе или соответствующем опорном элементе управляющего шара. Кроме того, трекболл снабдили выпускным каналом, по которому можно выводить смывную среду и загрязнения. Недостатком решения известного уровня техники является то, что загрязнения могут попадать в корпус через соединения между выпускным каналом и корпусом и, с другой стороны, загрязнения могут распространяться внутри корпуса из-за плохого уплотнения выпускного приспособления. Загрязнения и влага могут приводить к повреждению электрических устройств в управляющем устройстве и вызывать нарушения в работе.
Сущность изобретения
Целью настоящего изобретения является создание нового усовершенствованного приспособления в управляющем устройстве производственной машины.
Способ согласно изобретению отличается тем, что производят изолирование соединения между трекболлом и выпускным каналом и пространством для компонентов, содержащим электронные средства управляющего устройства; направляют загрязнения по выпускному каналу к выпускному отверстию в наружной поверхности корпуса управляющего устройства и производят уплотнение между выпускным каналом и выпускным отверстием в корпусе управляющего устройства.
Управляющее устройство согласно изобретению отличается тем, что трекболл и выпускной канал изолируют от пространства для компонентов, содержащего электронные средства управляющего устройства; выпускной канал соединяют с выпускным отверстием и производят уплотнение между выпускным каналом и выпускным отверстием в корпусе.
Идея согласно изобретению заключается в том, что предотвращают попадание загрязнений с трекболла и из выпускного канала в пространство для компонентов, содержащее электронные средства управляющего устройства.
Изобретением обеспечивают преимущество, заключающееся в том, что загрязнения и смывную среду выводят из управляющего устройства управляемым способом без возникновения опасности их попадания в пространство для компонентов, содержащее электронные средства и, возможно, другие чувствительные компоненты. Если пространство, занимаемое электронными средствами, остается чистым и сухим, то могут быть исключены нарушения в работе.
Идея варианта исполнения изобретения заключается в том, что наружная поверхность управляющего устройства содержит выпускное отверстие, и в том, что выпускной канал соединен с выпускным отверстием. Загрязнения и смывную среду отводят управляемым способом с трекболла по выпускному каналу к выпускному отверстию, расположенному в наружной поверхности управляющего устройства. Такой тип конструкции прост, и не требуется каких-либо специальных приспособлений для размещения сливных каналов и шлангов с наружной стороны управляющего устройства.
Идея варианта исполнения изобретения заключается в том, что выпускной канал и отверстие являются частями конструкции трекболла. Нижняя поверхность опорного элемента трекболла может при этом выходить на наружную поверхность управляющего устройства. Отверстие в опорном элементе может служить в качестве выпускного канала и отверстия. Данное решение хорошо подходит для ситуаций, в которых управляющее устройство имеет, по меньшей мере, около трекболла небольшую глубину. Данный тип трекболла может быть расположен в выступающей части, изолированной от действительного пространства для компонентов. Выступающая часть может быть расположена около боковой поверхности корпуса.
Идея варианта исполнения изобретения заключается в том, что управляющее устройство содержит собирающую воронку, расположенную под трекболлом. Собирающую воронку устанавливают для того, чтобы уплотнить пространство под трекболлом. Дно собирающей воронки содержит выпускное отверстие, соединенное с выпускным каналом. При этом с помощью воронки собирают всякие загрязнения и смывную среду, попадающие под трекбол, и отводят их в выпускной канал. Такую отдельную собирающую воронку просто изготовить. Установку воронки в пространстве под трекболлом можно также выполнить просто и быстро.
Идея варианта исполнения изобретения заключается в том, что дно корпуса содержит выпускное отверстие, открытое к наружной поверхности корпуса, а на внутренней стороне корпуса имеется соединительная часть, открытая сверху и содержащая коническую сопрягаемую поверхность.
Идея варианта исполнения изобретения заключается в том, что ко дну собирающей воронки присоединен отдельный шланг. Нижний конец шланга расположен у соединительной части, посредством чего наружная поверхность нижнего конца шланга по существу непроницаемо прилегает к конической сопрягаемой поверхности соединительной части. Шланг и соединительную часть плотно соединяют друг с другом путем сопряжения шланга с конической поверхностью. При этом нет необходимости в отдельных крепежных элементах. Воронка и шланг могут быть закреплены как части крышки корпуса, и при установке крышки на место второй конец шланга вдавливают в соединительную часть. Этим существенно облегчают сборку управляющего устройства и операции по техническому обслуживанию.
Идея варианта исполнения изобретения заключается в том, что шланг, трубку или соответствующий канал, соединенный с собирающей воронкой, проводят через соединительную часть и таким образом доводят до наружной поверхности корпуса.
Идея варианта исполнения изобретения заключается в том, что собирающая воронка содержит направленную вниз трубчатую секцию, нижнюю часть которой соединяют по существу непроницаемо с соединительной частью корпуса.
Идея варианта исполнения изобретения заключается в том, что соединительная часть содержит направленную вверх трубчатую секцию, расположенную так, чтобы она выступала в направлении дна собирающей воронки, и так, чтобы можно было образовать по существу непроницаемое соединение.
Идея варианта исполнения изобретения заключается в том, чтобы, по меньшей мере, один из этих элементов (соединительная часть или дно собирающей воронки) был снабжен конической сопрягаемой поверхностью для соединения друг с другом по существу непроницаемо соединительной части и воронки. При этом не требуются отдельные уплотнительные средства для образования непроницаемого соединения между компонентами, подлежащими соединению.
Идея варианта исполнения изобретения заключается в том, что собирающая воронка сходится конически по направлению к выпускному отверстию. При этом с помощью воронки эффективно направляют собранные загрязнения к выпускному отверстию и к выпускному каналу.
Идея варианта исполнения изобретения заключается в том, что нижняя часть управляющего устройства около трекболла содержит сходящуюся вниз внутреннюю поверхность и выпускное отверстие. Вода, которой производят промывку, и загрязнения стекают с трекболла в нижнюю часть корпуса и по наклонной поверхности к выпускному отверстию, открытому с наружной стороны корпуса.
Идея варианта исполнения изобретения заключается в том, что управляющее устройство содержит одно или большее число пространств для компонентов, в которых содержатся электронные средства, и одно или большее число пространств для компонентов, в которых содержится трекболл. Пространства отделены друг от друга, по меньшей мере, одной по существу непроницаемой перегородкой, которая предотвращает попадание загрязнений и смывной среды в отделение для электронных средств.
Краткое описание чертежей
Ниже более подробно описано несколько вариантов исполнения изобретения со ссылками на прилагаемые чертежи, на которых изображено:
на Фиг.1 – схематически вид сверху управляющего устройства производственной машины;
на Фиг.2 – схематически разрез управляющего устройства;
на Фиг.3 – схематически разрез приспособления, в котором собирающая воронка, расположенная под трекболом, соединена с трубчатой соединительной частью на дне корпуса;
на Фиг.4 – схематически разрез приспособления, в котором собирающая воронка, расположенная под трекболом, содержит трубчатую секцию, проходящую до соединительной части в корпусе;
на Фиг.5 – вид сбоку управляющего устройства, в котором трекболл расположен в выступающем отделении;
на Фиг.6 – вид сбоку управляющего устройства, в котором трекболл расположен в пространстве для компонентов, изолированном от отделения для электронных средств;
на Фиг.7 – схематически разрез другого приспособления, в котором шланг или подобное средство соединено с собирающей воронкой, расположенной под трекболом, и пропущено через соединительную часть на дне корпуса.
Для большей ясности на чертежах изображено несколько вариантов исполнения изобретения в упрощенном виде. Подобные части на чертежах обозначены одинаковыми номерами позиций.
Подробное описание нескольких вариантов исполнения изобретения
На Фиг.1 изображено управляющее устройство 1 производственной машины, которое может содержать один или большее число джойстиков 2, нажимных кнопок 3 и трекболлов 4, которые использует оператор для передачи управляющих сигналов для управления действиями производственной машины. Управляющие сигналы могут передаваться по коммуникационным линиям для передачи данных к управляемым установкам или непосредственно к исполнительному механизму.
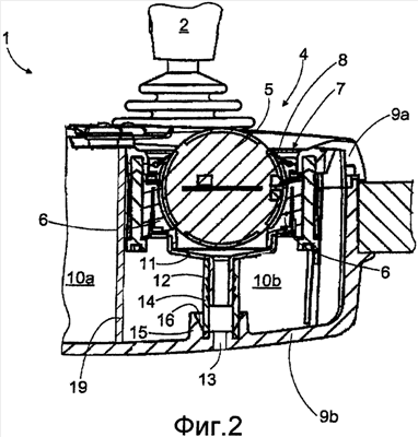
На Фиг.2 изображена возможная конструкция трекболла 4. Трекболл 4 содержит управляющий шар 5, который можно поворачивать в различных направлениях на его опорном элементе 6. Опорный элемент 6 может содержать отверстие, края которого могут быть выполнены скругленными в соответствии с формой наружной поверхности управляющего шара 5. Опорный элемент 6 может содержать датчики или подобные средства для определения перемещений управляющего шара 5 и для преобразования их в электрические сигналы. Кроме того, управляющий шар 5 можно удерживать сверху с помощью фиксирующего кольца 7, которое может содержать уплотнения 8, располагаемые между управляющим шаром 5 и фиксирующим кольцом 7. Управляющий шар 5 может выступать снизу ниже поверхности опорного элемента 6. При отсоединении фиксирующего кольца 7 можно снимать управляющий шар 5; в таком случае в управляющем устройстве 1 остается только опорный элемент 6 трекболла 4. Опорный элемент 6 может быть прикреплен к крышке 9a корпуса 9 управляющего устройства 1. Крышкой 9a и нижней частью 9b корпуса 9 ограничивают пространство 10 для компонентов управляющего устройства, в котором располагают необходимые электрические и механические переключатели и другие компоненты. Нижняя часть 9b корпуса может быть установлена на производственной машине. Крышка 9a корпуса может быть в свою очередь легко открыта и отсоединена.
Под трекболлом 4 может быть расположена собирающая воронка 11. Воронка 11 может быть выполнена как отдельная часть из пластика, например, литьевым формованием. Воронка 11 может быть выполнена в форме раструба или, по меньшей мере, ее дно может сходиться от верха ко дну. Верхняя часть воронки 11 может быть сопряжена по существу непроницаемо с нижней сопрягаемой поверхностью опорного элемента 6. Воронка 11 и сопрягаемая поверхность опорного элемента 6 могут быть частично расположены одна внутри другой. Кроме того, нижняя часть воронки 11 может содержать трубчатую секцию 12, выступающую на расстояние по направлению к выпускному отверстию 13 в нижней части 9b корпуса. Шланг 14 может быть расположен между трубчатой секцией 12 и выпускным отверстием 13. Первый конец шланга 14 может быть расположен вокруг трубчатой секции 12, а второй конец шланга 14 может быть сопряжен по существу непроницаемо с соединительной частью 15, соединенной с выпускным отверстием 13. Соединительная часть 15 может быть выступающей частью, сформованной в нижней части 9b корпуса, и может содержать коническую сопрягаемую поверхность 16, сходящуюся в направлении выпускного отверстия 13. Наружная поверхность второго конца шланга 14 может быть прижата по существу непроницаемо к конической сопрягаемой поверхности 16 соединительной части 15. Шланг 14 может быть выполнен из эластичного материала, например силикона или подобного материала, который хорошо прилегает к сопрягаемой поверхности 16. Кроме того, трубчатая секция 12 воронки 11 может содержать заплечики, выступы или подобные средства, с помощью которых можно улучшить уплотнение между шлангом 14 и воронкой 11 и обеспечить фиксацию шланга 14 без каких-либо хомутиков или соответствующих фиксирующих элементов. Длина шланга 14 может быть также заранее определена таким образом, чтобы она была немного больше, например на 1-2 мм, расстояния между воронкой 11 и соединительной частью 15. Затем при установке крышки 9a на место создают силу сжатия для плотного прижима наружной поверхности второго конца шланга 14 к сопрягаемой поверхности 16.
При установке крышки 9a управляющего устройства 1 на место второй конец шланга 14 одновременно садится автоматически в сопрягаемую поверхность 16 соединительной части 15. Соединение компонентов, относящихся к средствам для удаления воды, таким образом, не требует специальных действий при отсоединении и фиксации крышки 9a, что естественно облегчает сборку и техническое обслуживание.
На Фиг.3 проиллюстрирована принципиальная схема второго варианта исполнения. Для большей ясности управляющий шар 5 не показан на чертеже. Дно собирающей воронки 11 может содержать относительно короткую трубчатую секцию 12, нижняя наружная поверхность которой может быть расположена непосредственно около конической сопрягаемой поверхности 16 соединительной части 15. Воронка 11 или, по меньшей мере, ее трубчатая секция 12 может быть выполнена, по меньшей мере, из в какой-то степени эластичного материала. Соединительная часть 15 может быть выполнена в виде трубчатого выступа, идущего от внутренней поверхности нижней части 9b к воронке 11. В этом случае не требуется отдельный шланг между воронкой 11 и соединительной частью 15. Возможен также вариант, в котором сопрягаемую поверхность 16 соединительной части 15 располагают вокруг наружной конической поверхности 11a собирающей воронки 11; в таком случае собирающая воронка 11 не обязательно должна содержать трубчатую секцию 12, и с другой стороны, сопрягаемая поверхность 16 соединительной части 15 не обязательно должна быть конической.
На Фиг.4 проиллюстрирована принципиальная схема третьего варианта исполнения. Для большей ясности на чертежах показаны только части, относящиеся к средствам для удаления загрязнений. Дно собирающей воронки 11 может содержать относительно длинную трубчатую секцию 12, нижняя наружная поверхность которой может быть расположена около конической сопрягаемой поверхности 16 соединительной части 15. Воронка 11 или, по меньшей мере, ее трубчатая секция 12 может быть выполнена, по меньшей мере, из в какой-то степени эластичного материала. Такой тип конструкции очень прост в изготовлении и сборке.
Возможен также вариант, в котором соединительная часть 15 является отдельной частью, которая может быть расположена на внутренней поверхности нижней части 9b корпуса у выпускного отверстия 13 и которая может быть закреплена, например, с помощью зажима по форме или путем приклеивания. Отдельная соединительная часть 15 может быть выполнена из эластичного материала.
На Фиг.2 собирающая воронка 11, трубчатая секция 12 воронки, шланг 14 и соединительная часть 13 образуют выпускной канал. На Фиг.3 и 4 выпускной канал может содержать собирающую воронку 11, трубчатую секцию 12 и соединительную часть 13.
На Фиг.5 проиллюстрирована принципиальная схема четвертого варианта исполнения. Управляющее устройство 1 может содержать выступающую часть 17, в которой расположен трекболл 4. Выступающая часть 17 может быть существенно меньше по глубине, чем остальная часть управляющего устройства 1, так как не требуется, чтобы в выступающей части 17 было действительное пространство 10 для компонентов, а достаточно того, чтобы в ней мог быть закреплен, по меньшей мере, опорный элемент 6 трекболла 4. Глубина выступающей части 17 может быть меньше диаметра управляющего шара 5, и, таким образом, управляющий шар 5 может также быть частично видимым с нижней стороны управляющего устройства 1. В данном варианте исполнения сама конструкция трекболла 4 содержит выпускной канал и отверстие 13.
В альтернативном варианте исполнения в выступающей части 17 нижней частью 9b корпуса может быть полностью укрыт управляющий шар 5 с нижней стороны управляющего устройства 1, за исключением выпускного отверстия 13 в нижней части 9b, которое может быть расположено около трекболла 4. Внутренняя поверхность 18 нижней части 9b может быть выполнена сходящейся в направлении выпускного отверстия; в таком случае жидкость, попавшая в выступающую часть 17, будет стекать естественным образом в направлении к выпускному отверстию и из управляющего устройства 1. Таким образом, в данном варианте исполнения не обязательно требуются собирающая воронка, шланг или соединительная часть. Данный тип сливной системы может быть пристроен к пространствам для компонентов, в которых пространство отделено перегородкой 19, например, от влагочувствительных компонентов или в которых трекболл является единственным компонентом. Жидкость, стекающая вниз на дно пространства для компонентов, таким образом, не создает каких-либо проблем.
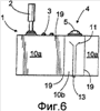
На Фиг.6 изображено управляющее устройство 1, в котором пространство 10b для компонентов, содержащее трекболл 4, изолировано перегородками 19 от других пространств 10a для компонентов, содержащих, например, электронные средства. Таким образом предотвращают попадание загрязнений, влаги и смывной среды в пространство 10a для компонентов из пространства 10b для компонентов, содержащего трекболл. Сливная система может быть одним из решений в вариантах исполнения, описанных со ссылками на упомянутые выше чертежи. Кроме того, с целью обеспечения безопасности перегородка 19 может быть расположена между пространствами 10a, 10b для компонентов, даже если сливная система непроницаемо соединена с трекболлом 4 и выпускной канал тщательно уплотнен в месте сопряжения с корпусом. Пример такого решения показан на Фиг.2.
На Фиг.7 изображен еще один вариант исполнения, в котором шланг 12 или соответствующая трубка, служащая в качестве выпускного канала, проведена через соединительную часть 15 таким образом, что ее самый дальний конец выходит наружу из корпуса. Наружную поверхность шланга 12 или соответствующего выпускного канала затем уплотняют в месте сопряжения с сопрягаемой конической поверхностью 16 соединительной части 15. Можно также установить фиксированную трубчатую часть на удлинении собирающей воронки 11 так, чтобы она проходила через соединительную часть 15.
В некоторых случаях отличительные особенности, описанные в данной заявке, можно использовать как таковые, независимо от других отличительных особенностей. С другой стороны, отличительные особенности, представленные в данной заявке, можно, если это необходимо, комбинировать для образования различных сочетаний.
Чертежи и относящееся к ним описание предназначены только для иллюстрации идеи изобретения. Изобретение можно варьировать в деталях в объеме, определенном формулой изобретения.
Формула изобретения
1. Способ удаления загрязнений из управляющего устройства производственной машины, включающий: смывание смывным средством загрязнений с трекболла в управляющем устройстве (1), и направление загрязнений и смывного средства с трекболла (4), по меньшей мере, по одному выпускному каналу, отличающийся тем, что изолируют соединение между трекболлом (4) и выпускным каналом, и пространством (10а) для компонентов, содержащим электронные средства управляющего устройства (1); направляют загрязнения по выпускному каналу к выпускному отверстию (13) в наружной поверхности корпуса (9) управляющего устройства; и уплотняют сопряжение между выпускным каналом и выпускным отверстием (13) в корпусе (9) управляющего устройства (1).
2. Способ по п.1, отличающийся тем, что уплотняют сопряжение между выпускным каналом и, по меньшей мере, одной конической сопрягаемой поверхностью (16) в корпусе (9) управляющего устройства (1).
3. Способ по п.2, отличающийся тем, что собирают загрязнения в собирающей воронке (11), установленной с обеспечением непроницаемости под трекболлом (4); и направляют загрязнения наружу из корпуса (9) с помощью шланга (14), присоединенного к собирающей воронке (11).
4. Способ по п.1, отличающийся тем, что между пространством (10а) для компонентов, содержащим электронные средства, и пространством (10b) для компонентов, содержащим трекболл, дополнительно устанавливают, по меньшей мере, одну перегородку (19), посредством которой предотвращают попадание загрязнений с трекболла в пространство для электронных средств.
5. Управляющее устройство производственной машины, содержащее: корпус (9) содержащий, по меньшей мере, крышку (9а) и нижнюю часть (9b) и, по меньшей мере, одно пространство (10а, 10b) для компонентов; по меньшей мере, один трекболл (4) для генерирования управляющих сигналов, средство для поддержания трекболла (4) в крышке (9а) корпуса; и по меньшей мере, один выпускной канал для отвода загрязнений с трекболла (4), отличающееся тем, что трекболл (4) и выпускной канал изолированы от пространства (10а) для компонентов, содержащего электронные средства управляющего устройства (1); наружная поверхность корпуса (9) управляющего устройства (1) содержит выпускное отверстие (13); выпускной канал соединен с выпускным отверстием (13); и выпускной канал уплотнен в месте сопряжения с выпускным отверстием (13) в корпусе (9).
6. Управляющее устройство по п.5, отличающееся тем, что управляющее устройство (1) содержит собирающую воронку (11), расположенную под трекболлом (4); собирающая воронка (11) установлена с обеспечением непроницаемости в пространство под трекболлом (4); и дно собирающей воронки (11) содержит отверстие, соединенное с выпускным каналом.
7. Управляющее устройство по п.6, отличающееся тем, что нижняя часть (9b) корпуса содержит выпускное отверстие (13), открытое к наружной поверхности корпуса; внутри корпуса (9), у выпускного отверстия (13), расположена открытая сверху соединительная часть (15), содержащая сопрягаемую коническую поверхность (16); отдельный шланг (14) соединен с дном собирающей воронки (11); и нижний конец шланга (14) сопряжен с соединительной частью (15), при этом наружная поверхность нижнего конца шланга (14), по существу, непроницаемо сопряжена с сопрягаемой конической поверхностью (16) соединительной части (15).
8. Управляющее устройство по п.7, отличающееся тем, что шланг (14) пропущен через соединительную часть (15) и, таким образом, проходит до наружной поверхности корпуса (9).
9. Управляющее устройство по п.6, отличающееся тем, что нижняя часть (9b) корпуса содержит выпускное отверстие (13), открытое к наружной поверхности корпуса (9); внутри корпуса (9), у выпускного отверстия (13), расположена открытая сверху соединительная часть (15); и собирающая воронка (11) содержит направленную вниз трубчатую секцию (12), нижняя часть которой, по существу, непроницаемо сопряжена с соединительной частью (15).
10. Управляющее устройство по п.6, отличающееся тем, что нижняя часть (9b) корпуса содержит выпускное отверстие (13), открытое к наружной поверхности корпуса (9); внутри корпуса (9), у выпускного отверстия (13), расположена соединительная часть (15); соединительная часть (15) содержит направленную вверх трубчатую секцию, выполненную таким образом, чтобы она выступала в направлении нижней части собирающей воронки (11); и, соединительная часть и/или нижняя часть собирающей воронки (11)] снабжена конической сопрягаемой поверхностью (16) для соединения друг с другом, по существу, непроницаемо соединительной части (15) и собирающей воронки (11).
11. Управляющее устройство по п.6, отличающееся тем, что дно, по меньшей мере, собирающей воронки (11) выполнено коническим, и оно сходится в направлении к отверстию собирающей воронки (11).
12. Управляющее устройство по любому из пп.6-11, отличающееся тем, что между собирающей воронкой (11) и соединительной частью расположен шланг (14), изготовленный из эластичного материала; и шланг (14) выполнен более длинным, чем расстояние между собирающей воронкой (11) и соединительной частью (15), благодаря чему при установке на место крышки (9а) управляющего устройства (1) на нижнюю часть (9b) шланг (14) сжимается и создает сжимающую силу, за счет которой шланг (14) прижимается к конической сопрягаемой поверхности (16) соединительной части (15).
13. Управляющее устройство по п.5, отличающееся тем, что управляющее устройство (1) содержит, по меньшей мере, одно пространство (10а) для компонентов, содержащее электронные средства, и, по меньшей мере, одно пространство (10b) для компонентов, содержащее трекболл (4), которые дополнительно отделены друг от друга, по меньшей мере, одной, по существу, непроницаемой перегородкой (19).
РИСУНКИ
|
|