|
(21), (22) Заявка: 2007146638/28, 19.12.2007
(24) Дата начала отсчета срока действия патента:
19.12.2007
(43) Дата публикации заявки: 27.06.2009
(46) Опубликовано: 20.11.2009
(56) Список документов, цитированных в отчете о поиске:
SU 705389 A, 25.12.1979. SU 1191846 A, 15.11.1985. SU 1780055 A1, 07.12.1992. SU 1035742 A1, 15.08.1983. RU 2274869 С1, 20.04.2006. US 3667034 А, 30.05.1972. US 5072186 A, 10.12.1991.
Адрес для переписки:
410000, г.Саратов, Главпочтамт, а/я 73, пат.пов. В.Д. Куликову
|
(72) Автор(ы):
Ганеев Эдуард Анварович (RU), Волосов Вячеслав Георгиевич (RU), Монахов Борис Сергеевич (RU), Бикташев Рашид Жафярович (RU)
(73) Патентообладатель(и):
Общество с ограниченной ответственностью Электротехнический завод “ГЭКСАР” (ООО ЭТЗ “ГЭКСАР”) (RU)
|
(54) СПОСОБ ЭКСПРЕСС-КОНТРОЛЯ КАЧЕСТВА ОБМОТОК ЭЛЕКТРОМАГНИТНЫХ УСТРОЙСТВ (ВАРИАНТЫ)
(57) Реферат:
Изобретение относится к электротехнике и может быть использовано для оперативного контроля работоспособности электромагнитных устройств (ЭУ), в частности электрических генераторов и двигателей, а также трансформаторов, непосредственно на рабочем месте в отключенном от электрической сети состоянии. Сущность: к обмотке ЭУ подключают последовательно или параллельно конденсатор, рассчитанный на резонансное состояние с испытуемой обмоткой при резонансе соответственно напряжений или токов. Подают напряжение от электрической сети переменного тока стандартной частоты на электрическую цепь, содержащую испытуемую обмотку ЭУ и конденсатор. Измеряют угол сдвига фаз между приложенным напряжением и протекающим через обмотку ЭУ током. По величине угла сдвига фаз судят о состоянии обмотки ЭУ. Технический результат: отсутствие необходимости съема и последующего монтажа на оборудование ЭУ при периодической поверке его качества на стенде в цеховых условиях, сокращение времени и эксплуатационных расходов, повышение технологичности диагностирования, надежности оборудования, практическое исключение аварийных ситуаций. 2 н. и 4 з.п. ф-лы, 2 ил.
Изобретение относится к электротехнике, в частности к способам контроля работоспособности электромагнитных устройств (ЭУ), и может быть использовано при проведении экспресс-контроля качества обмоток ЭУ, предпочтительно электрических машин (электрических генераторов и двигателей), а также трансформаторов, реле, дросселей и т.п., для определения работоспособности всех обмоток ЭУ и в целом их технической надежности при выпуске продукции и непосредственно на рабочем месте в отключенном от электрической сети состоянии.
Известны методы испытания электрических машин в соответствии с ГОСТами: ГОСТ 11828-86 (2003) «Машины электрические вращающиеся. Общие методы испытаний», ГОСТ 25941-83 (2003) «Машины электрические вращающиеся. Методы определения потерь и коэффициента полезного действия (МЭК 34-2-72, МЭК 34-2А-74)», ГОСТ 11929-87 «Машины электрические вращающиеся. Общие методы испытаний. Определение уровня шума», ГОСТ 20815-93 (2003) «Машины электрические вращающиеся. Механическая вибрация некоторых видов машин с высотой оси вращения 56 мм и более. Измерение, оценка и допустимые значения (МЭК 34-14-82)», ГОСТ 27222-91 (СТ МЭК 279-69, СТ СЭВ 1107-78) «Машины электрические вращающиеся. Измерение сопротивления обмоток машин переменного тока без отключения от сети», по которым на стендовом оборудовании выполняются следующие электротехнические испытания машин: измерение изоляции обмоток относительно корпуса машины, измерение активного и реактивного сопротивления обмоток, проверка электрической прочности межвитковой изоляции обмоток.
К недостаткам стендовых испытаний и поверок электрических машин по аналогам относятся: необходимость съема и установки электрических машин на оборудование, простой оборудования во время длительной поверки на стенде при низкой производительности испытаний, необходимость изготовления и использования специальных стендов. Это приводит к снижению качества оперативного контроля электротехнического состояния электрических машин.
Известен способ контроля коммутации машин постоянного тока, выполненных с обмоткой последовательного возбуждения, состоящий в подключении индикатора искрения и последовательно включенного конденсатора в цепь машины, при этом индикатор искрения с конденсатором подключают в цепь обмотки независимого возбуждения (см. патент РФ на изобретение 1035742, МПК Н02К 23/12, опубл. 15.08.1983 г.). Реализация данного способа осуществляется с помощью устройства, состоящего из конденсатора и индикатора, включаемого в дополнительную обмотку возбуждения электродвигателя. Известный способ позволяет определять качество коммутации якоря по изменению магнитного потока в зазоре главных полюсов электрических машин.
Несмотря на простоту этот способ контроля имеет недостаток, заключающийся в контроле только одного параметра машины – нарушения коммутации. Это также приводит к снижению качества оперативного контроля электротехнического состояния электрических машин.
Наиболее близким по своей технической сущности к предложенному изобретению является способ контроля электротехнического состояния электрических машин, использующий подключение к обмоткам машины конденсатора, индикатора и источника постоянного напряжения, а также наблюдение по индикатору технического состояния машины, при этом к обмоткам отключенной от питающей сети машины периодически через коммутирующее устройство подается напряжение с обкладок заряженного от источника постоянного напряжения конденсатора и по индикатору определяется характер переходного процесса, причем в случае исправного состояния машины характер переходного процесса колебательный, в противном случае характер переходного процесса апериодический (см. патент РФ на изобретение 2274869, МПК G01R 31/34, опубл. 20.04.2006 г.). Способ позволяет проводить контроль параметров состояния электрических машин путем подключения к обмоткам диагностического устройства и снятия характеристик переходного процесса, по которым судят о качестве технического состояния электрических машин.
Известный способ контроля состоит в том, что к обмоткам электрической машины периодически через коммутирующее устройство подается напряжение с обкладок заряженного конденсатора от источника постоянного тока. По индикатору, в который входит аналого-цифровой преобразователь (АЦП) и персональная электронная вычислительная машина (ПЭВМ), определяется характер переходного процесса. При этом в случае исправного состояния машины характер процесса – колебательный, в противном случае (обрыв, межвитковое замыкание обмоток, нарушение коммутации якоря и прочие дефекты) – характер переходного процесса апериодический.
Однако несмотря на оперативность контроля известный способ анализа состояния электрических машин имеет недостаток, заключающийся в том, что по качественному характеру временной развертки напряжения индикатора трудно отличить степень перехода от периодического сигнала к апериодическому при изменении величины периода сигнала. Плавное увеличение периода сигнала говорит о частичном нарушении эксплуатационных свойств испытуемого изделия. Это снижает достоверность оперативного контроля параметров состояния электрических машин. Кроме того, установка для контроля электротехнического состояния электрических машин и поверка качества работы по известному способу относительно сложны.
Задачей настоящего изобретения является создание простого способа экспресс-контроля качества обмоток ЭУ для определения их работоспособности путем проверки электрической и механической прочности изоляции обмоток ЭУ.
Техническим результатом, достигаемым при решении настоящей задачи, является уменьшение времени контроля и повышение технологичности диагностирования электротехнического состояния обмоток ЭУ за счет отсутствия монтажных и демонтажных работ.
Указанный технический результат достигается тем, что в способе экспресс-контроля качества обмоток электромагнитных устройств (ЭУ), использующем подключение к обмоткам ЭУ конденсатора, подачу напряжения, согласно изобретению подают напряжение от электрической сети переменного тока стандартной частоты на электрическую цепь, содержащую последовательно соединенные испытуемую обмотку ЭУ и конденсатор, рассчитанный на резонансное состояние с испытуемой обмоткой при резонансе напряжений, измеряют угол сдвига фаз между приложенным напряжением и протекающим через обмотку ЭУ током, по величине которого судят о состоянии обмотки ЭУ.
Для измерения разности фаз используют цифровой измеритель разности фаз.
При исправных обмотках ЭУ угол сдвига фаз между приложенным напряжением и протекающим через обмотку ЭУ током лежит в диапазоне 1-20°.
Указанный технический результат достигается также тем, что в способе экспресс-контроля качества обмоток электромагнитных устройств (ЭУ), использующем подключение к обмоткам ЭУ конденсатора, подачу напряжения, согласно изобретению подают напряжение от электрической сети переменного тока стандартной частоты на электрическую цепь, содержащую параллельно соединенные испытуемую обмотку ЭУ и конденсатор, рассчитанный на резонансное состояние с испытуемой обмоткой при резонансе токов, измеряют угол сдвига фаз между приложенным напряжением и общим током, по величине которого судят о состоянии обмотки ЭУ.
Для измерения разности фаз используют цифровой измеритель разности фаз.
При исправных обмотках ЭУ угол сдвига фаз между приложенным напряжением и протекающим через обмотку ЭУ током лежит в диапазоне 1-20°.
Предлагаемые варианты способа отличаются от известных способов контроля качества обмоток ЭУ тем, что создается электрический резонанс в электрической цепи индуктивности испытуемой обмотки ЭУ и подключенного параллельно или последовательно ей конденсатора, измеряется угол сдвига фаз между током и напряжением электрической цепи, в которую включена испытуемая обмотка ЭУ. По уровню сдвига фаз однозначно поочередно определяют работоспособность всех обмоток ЭУ и в целом их техническую надежность.
В результате отпадает необходимость в съеме и последующем монтаже на оборудование ЭУ при периодической поверке их качества на стенде в цеховых условиях, сокращаются эксплуатационные расходы, повышается надежность оборудования, практически исключаются аварийные ситуации при данном виде контроля.
Последовательное включение конденсатора с испытуемой обмоткой ЭУ позволяет проверять электрическую прочность на пробой при воздействии повышенным напряжением (резонанс напряжений). Параллельное включение конденсатора и испытуемой обмотки ЭУ позволяет проверять механическую прочность изоляции каждой обмотки за счет пондеромоторных сил воздействия (резонанс токов).
Измерение угла сдвига фаз между приложенным напряжением и протекающим через обмотку ЭУ током позволяет оперативно оценить электротехническое состояние ЭУ, например отсутствие межвиткового замыкания в обмотках ЭУ, их обрыв, межвитковую изоляцию обмоток ЭУ, а также замыкание на корпус ЭУ.
Все варианты выполнения предложенного способа экспресс-контроля качества обмоток электромагнитных устройств направлены на решение одной и той же технической задачи при достижении общего технического результата.
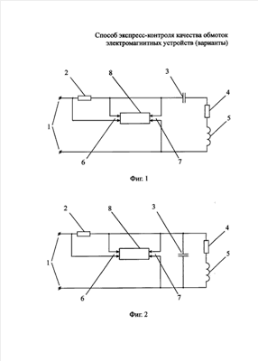
Изобретение иллюстрируется следующими чертежами, где на фиг.1 показана блок-схема контроля рабочего состояния обмотки ЭУ в режиме резонанса напряжений (при последовательном включении конденсатора относительно испытуемой обмотки ЭУ); на фиг.2 – блок-схема контроля рабочего состояния обмотки ЭУ в режиме резонанса токов (при параллельном включении конденсатора относительно испытуемой обмотки ЭУ).
Позиции на чертежах обозначают следующее:
1 – сетевой источник электрического тока с частотой 50 Гц;
2 – активное сопротивление, с которого снимается напряжение, пропорциональное общему току в неразветвленной части электрической цепи;
3 – конденсатор, рассчитанный на резонансное состояние с обмоткой испытуемых ЭУ;
4 – активное сопротивление обмотки испытуемых ЭУ;
5 – индуктивное сопротивление обмотки испытуемых ЭУ;
6 – токовый вход фазометра 7;
7 – фазометр;
8 – вход фазометра 7 по напряжению.
Способ экспресс-контроля качества обмоток ЭУ заключается в следующем.
В электрической цепи индуктивности обмотки испытуемого ЭУ, например электрического генератора, двигателя, а также трансформатора, реле, дросселя и т.п., создают резонансное состояние синусоидального напряжения или тока.
По первому варианту осуществления способа экспресс-контроля качества обмоток ЭУ при подаче переменного синусоидального напряжения от сетевого источника 1 электрического тока с частотой 50 Гц на последовательно соединенные активное сопротивление 2, конденсатор 3 и испытуемая обмотка ЭУ (с активным 4 сопротивлением и индуктивным 5 сопротивлением) возникает резонанс напряжений (фиг.1).
По второму варианту осуществления способа экспресс-контроля качества обмоток ЭУ при подаче переменного синусоидального напряжения от сетевого источника 1 электрического тока с частотой 50 Гц на электрическую цепь, содержащую последовательно включенное активное сопротивление 2, параллельно соединенные конденсатор 3 и испытуемая обмотка ЭУ (с активным 4 сопротивлением и индуктивным 5 сопротивлением) возникает резонанс токов (фиг.2).
На токовый вход 6 измерителя разности фаз (фазометра 7) подается напряжение с сопротивления 2, пропорциональное току, а на другой вход 8 фазометра 7 подается напряжение с конденсатора 3 и испытуемой обмотки ЭУ (с активным 4 сопротивлением и индуктивным 5 сопротивлением). Измеряют угол сдвига фаз между приложенным напряжением и общим током, по величине угла сдвига фаз судят об электротехническом состоянии ЭУ. При этом при исправной обмотке ЭУ цифровой фазометр 7 показывает угол сдвига фаз, лежащий в диапазоне 1-20°. При неисправной обмотке ЭУ показания цифрового фазометра 7 смещаются к углу сдвига фаз в 90°.
В качестве цифрового фазометра 7 может быть использован, например, известный измеритель типа Ф2-34, который предназначен для прецизионных измерений фазовых сдвигов и их приращений между двумя синхронными гармоническими сигналами в широком диапазоне частот (диапазон частот: 0,5-5·106 Гц, пределы измерения фазовых сдвигов: 0-360°). Прибор имеет режимы ручного и дистанционного кодового управления и вывод результатов измерений в двоично-десятичном коде на цифропечатающее устройство.
Проведенные эксперименты на серии электродвигателей типа МСП – 0,15, МСП – 0,25 показали следующее: продолжительность операции проверки электродвигателей сократилась с 50 минут до 20 минут; выходной контроль других электромагнитных аппаратов сократился в 3 раза; увеличился гарантийный срок службы стрелочных электродвигателей переменного тока с 3 до 7 лет, а стрелочных электродвигателей постоянного тока до 5 лет (вместо 2 лет при известных способах контроля); срок службы стрелочных электродвигателей как переменного, так и постоянного тока увеличился с 15 до 20 лет.
Использование изобретения позволит оперативно контролировать работоспособность и надежность дальнейшей эксплуатации ЭУ без их съема с оборудования, укомплектованного данным ЭУ. В результате отпадает необходимость в съеме и последующем монтаже на оборудование ЭУ при периодической поверке их качества на стенде в цеховых условиях, сокращаются эксплуатационные расходы, повышается надежность оборудования. При испытании ЭУ рассматриваемым способом в режиме резонанса напряжения при напряжении, превышающем рабочее напряжение, проверяется электрическая прочность изделия на период дальнейшей эксплуатации.
Механическая прочность ЭУ проверяется при испытаниях ЭУ в режиме резонанса токов, когда микровибрации обмоток ЭУ превышают пусковые и рабочие условия эксплуатации изделий.
Таким образом, предложенный способ оперативного контроля качества обмоток ЭУ позволяет отбраковывать ненадежные изделия при заключительных заводских испытаниях, а также при периодической поверке ЭУ, эксплуатируемых на оборудовании, что практически исключает аварийные ситуации.
Формула изобретения
1. Способ экспресс-контроля качества обмоток электромагнитных устройств (ЭУ), использующий подключение к обмоткам ЭУ конденсатора, подачу напряжения, отличающийся тем, что подают напряжение от электрической сети переменного тока стандартной частоты на электрическую цепь, содержащую последовательно соединенные испытуемую обмотку ЭУ и конденсатор, рассчитанный на резонансное состояние с испытуемой обмоткой при резонансе напряжений, измеряют угол сдвига фаз между приложенным напряжением и протекающим через обмотку ЭУ током, по величине которого судят о состоянии обмотки ЭУ.
2. Способ по п.1, отличающийся тем, что для измерения разности фаз используют цифровой измеритель разности фаз.
3. Способ по п.1, отличающийся тем, что при исправных обмотках ЭУ угол сдвига фаз между приложенным напряжением и протекающим через обмотку ЭУ током лежит в диапазоне 1-20°.
4. Способ экспресс-контроля качества обмоток электромагнитных устройств (ЭУ), использующий подключение к обмоткам ЭУ конденсатора, подачу напряжения, отличающийся тем, что подают напряжение от электрической сети переменного тока стандартной частоты на электрическую цепь, содержащую параллельно соединенные испытуемую обмотку ЭУ и конденсатор, рассчитанный на резонансное состояние с испытуемой обмоткой при резонансе токов, измеряют угол сдвига фаз между приложенным напряжением и общим током, по величине которого судят о состоянии обмотки ЭУ.
5. Способ по п.4, отличающийся тем, что для измерения разности фаз используют цифровой измеритель разности фаз.
6. Способ по п.4, отличающийся тем, что при исправных обмотках ЭУ угол сдвига фаз между приложенным напряжением и общим током лежит в диапазоне 1-20°.
РИСУНКИ
|