|
|
(21), (22) Заявка: 2008133133/28, 11.08.2008
(24) Дата начала отсчета срока действия патента:
11.08.2008
(46) Опубликовано: 20.11.2009
(56) Список документов, цитированных в отчете о поиске:
RU 2284503 C1, 27.09.2006. SU 1388768 A1, 15.04.1988. SU 1437747 A1, 15.11.1988. US 6199424 B1, 13.03.2001.
Адрес для переписки:
426067, г.Ижевск, ул. Т. Барамзиной, 34, Институт прикладной механики УрО РАН
|
(72) Автор(ы):
Тарасов Валерий Васильевич (RU), Чуркин Александр Викторович (RU), Постников Вячеслав Александрович (RU)
(73) Патентообладатель(и):
Институт прикладной механики Уральского отделения Российской академии наук (RU)
|
(54) УСТРОЙСТВО ДЛЯ ИЗУЧЕНИЯ АНИЗОТРОПИИ ТРЕНИЯ
(57) Реферат:
Изобретение относится к испытаниям материалов на трение и может быть использовано при оценке фрикционных характеристик поверхностей с анизотропией микрогеометрии. Технический результат направлен на повышение точности определения траектории смещения образца при испытаниях в условиях анизотропии трения. Устройство для изучения анизотропии трения содержит основание с держателем образца, каретку с держателем контртела и узел его нагружения, привод перемещения держателя, а также измеритель силы анизотропного трения. Каретка контртела образует рамку, причем одна сторона ее закреплена на приводе перемещения и снабжена измерительной линейкой, а другая выполнена в виде цилиндрической оси, на которой установлен ползун на элементах качения с возможностью бокового смещения в горизонтальной плоскости и поворота вокруг оси, оснащенный стрелкой-указателем, причем с противоположной стороны на ползуне закреплена тяга с держателем контртела. 1 ил.
Изобретение относится к испытаниям материалов на трение и может быть использовано при оценке фрикционных характеристик поверхностей с анизотропией микрогеометрии.
Известен целый ряд устройств, позволяющих изучать фрикционные характеристики при трении различных материалов (сила/коэффициент трения, износ и т.д.), например, серийно производимые универсальные машины трения УМТ-1 (современная модификация – УМТ 2168), СМТ-1 («Точприбор», г.Иваново) [см. стр.31 в кн. Смазочные материалы: Антифрикционные и противоизносные свойства. Методы испытаний: Справочник./ Р.М.Матвеевский, В.Л.Лашхи, И.А.Буяновский и др. – М.: Машиностроение, 1989. – 224 с.] и др.
Основным недостатком устройств-аналогов является невозможность проведения достоверных испытаний образцов с учетом анизотропии их поверхности, включающее измерение параметров траектории движения образца под действием сил трения.
Наиболее близким по технической сущности к заявляемому устройству является выбранное в качестве прототипа устройство для измерения силы трения (патент РФ 2284503, G01N 19/02, 2006, Бюл. 27, «Устройство для измерения силы трения»), содержащее основание с держателем образца, каретку с держателем контртела, узел его нагружения, привод перемещения держателя и измеритель силы анизотропного трения.
Недостатком известного устройства является невозможность прямого наблюдения (фиксирования) траектории движения (бокового смещения) контртела при испытаниях в условиях анизотропии трения. Параметры траектории могут быть получены лишь расчетным путем через компоненты силы анизотропного трения, что усложняет получение результатов и может быть даже ошибочным при неверном выборе расчетной модели.
Задачей изобретения является повышение точности определения траектории смещения образца при испытаниях в условиях анизотропии трения.
Поставленная задача повышения точности определения траектории смещения образца при испытаниях в условиях анизотропии трения достигается тем, что в конструкции устройства для изучения анизотропии трения, содержащего основание с держателем образца, каретку с держателем контртела и узел его нагружения, привод перемещения держателя, а также измеритель силы анизотропного трения, каретка контртела образует рамку, причем одна сторона ее закреплена на приводе перемещения и снабжена измерительной линейкой, а другая выполнена в виде цилиндрической оси, на которой установлен ползун на элементах качения с возможностью бокового смещения в горизонтальной плоскости и поворота вокруг оси, оснащенный стрелкой-указателем. С противоположной стороны на ползуне закреплена тяга с держателем контртела.
Задача повышения точности определения траектории смещения образца при испытаниях в условиях анизотропии трения достигается тем, что при перемещении контртела в направлении главного движения (по оси X) оно имеет дополнительную степень свободы в перпендикулярном направлении (по оси Y). При этом величина смещения непосредственно фиксируется с помощью средств измерения установленных на каретке (измерительная линейка) и ползуне (стрелка). Средства измерения параметров траектории могут иметь и иной вид, например, в виде оптического или индуктивного датчика положения и т.п.
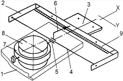
На чертеже представлено устройство для изучения анизотропии трения.
Устройство содержит образец 1 (его держатель условно не показан), каретку 2, выполненную в виде рамки, одна сторона которой закреплена на приводе перемещения 3, а другая выполнена в виде цилиндрической оси 4, на которой установлен ползун 5 на элементах качения с возможностью бокового смещения в горизонтальной плоскости и поворота вокруг оси, оснащенный стрелкой-указателем 6. На противоположной от стрелки стороне ползуна закреплена тяга с держателем 7 контртела 8.
Каретка 2 снабжена измерительной линейкой 9 для фиксирования смещения контртела 8 относительно образца 1 с помощью стрелки-указателя 6.
Ползун 5 представляет из себя подшипниковый узел (показан схематично), который смонтирован на шести подшипниках качения – по три справа и слева от корпуса ползуна, расположенных под углом 120°. Это обеспечивает надежное центрирование и свободное перемещение ползуна 5 вдоль оси 4 (боковое смещение) и одновременно независимый поворот вокруг этой оси. Регулировка подшипников позволяет полностью исключить радиальный люфт ползуна 5 и обеспечивает его самоустановку под действием сил анизотропного трения и собственного веса образца 8, играющего здесь роль усилия нагружения. Усилие нагружения в данном устройстве может регулироваться за счет дополнительных грузов, устанавливаемых на образец 8 сверху.
Устройство работает следующим образом.
На закрепленный образец 1 устанавливается контртело 8 в держателе 7, который жестко связан с ползуном 5. Ползун 5 устанавливают в среднее (по длине цилиндрической оси 4) положение. При этом расположенная на ползуне стрелка-указатель 6 совпадает с осью Х направления главного движения (исходное, нулевое положение), в котором перемещается каретка 2, установленная на приводе 3. Плотное прилегание поверхностей трения обеспечивается за счет поворота ползуна 5 с контртелом 8 вокруг оси 4 и его самоустановки на поверхности образца 1.
При включении привода движения 3, контртело 8 под действием сил анизотропного трения начинает смещаться вдоль оси 4 в направлении Y вправо или влево от нулевого положения в зависимости от характера анизотропии контактирующих поверхностей образца 1 и контртела 8. Одновременно стрелка-указатель 6 будет смещаться в соответствующем направлении, ее перемещение можно фиксировать по шкале измерительной линейки 9 или других измерительных устройств аналогичного принципа действия.
Устройство позволяет фиксировать параметры траектории движения в условиях анизотропии трения для пар тел «изотропное – анизотропное» и «анизотропное – анизотропное».
Формула изобретения
Устройство для изучения анизотропии трения, содержащее основание с держателем образца, каретку с держателем контртела и узел его нагружения, привод перемещения держателя, а также измеритель силы анизотропного трения, отличающийся тем, что каретка контртела образует рамку, причем одна сторона ее закреплена на приводе перемещения и снабжена измерительной линейкой, а другая выполнена в виде цилиндрической оси, на которой установлен ползун на элементах качения с возможностью бокового смещения в горизонтальной плоскости и поворота вокруг оси, оснащенный стрелкой-указателем, причем с противоположной стороны на ползуне закреплена тяга с держателем контртела.
РИСУНКИ
|
|