|
(21), (22) Заявка: 2007123496/28, 22.06.2007
(24) Дата начала отсчета срока действия патента:
22.06.2007
(43) Дата публикации заявки: 27.12.2008
(46) Опубликовано: 20.11.2009
(56) Список документов, цитированных в отчете о поиске:
SU 1265472 A1, 23.10.1986. SU 103324 A, 30.11.1956. SU 1260697 A1, 30.09.1986. SU 1787266 A3, 07.01.1993. JP 4184207 А, 01.07.1992.
Адрес для переписки:
141190, Московская обл., г. Фрязино, ул. Вокзальная, 2А, ФГУП “НПП “Исток”, патентный отдел
|
(72) Автор(ы):
Гуревич Лев Евсеевич (RU), Николаичев Борис Алексеевич (RU), Пархоменко Светлана Игоревна (RU)
(73) Патентообладатель(и):
Федеральное государственное унитарное предприятие “Научно-производственное предприятие “Исток” (ФГУП НПП “Исток”) (RU)
|
(54) СПОСОБ ИЗМЕРЕНИЯ НАПРЯЖЕНИЙ В ПОЛОМ ИЗДЕЛИИ И ТОЛЩИНЫ ЕГО СТЕНКИ ПОЛЯРИЗАЦИОННО-ОПТИЧЕСКИМ МЕТОДОМ И УСТРОЙСТВО ДЛЯ ЕГО ОСУЩЕСТВЛЕНИЯ
(57) Реферат:
Заявленное изобретение относится к измерению напряжений стенки в полом изделии. Способ определения окружных напряжений стенки в полом изделии основан на поляризационно-оптическом методе. При реализации способа просвечивают полое изделие, расположенное в иммерсионной жидкости, поляризованным светом. Анализируют наблюдаемую картины двупреломления лучей поляризованного света от прохождения ими упомянутого изделия. По результатам анализа определяют окружные напряжения в упомянутом изделии. При этом при определении окружных напряжений просвечивание полого изделия, расположенного в иммерсионной жидкости, поляризованным светом осуществляют изнутри полого изделия, а анализ наблюдаемой картины двупреломления лучей поляризованного света осуществляют от прохождения ими одной из диаметрально противоположных частей стенки упомянутого изделия. Технический результат: повышение точности измерений, упрощение конструкции и расширение функциональных возможностей. 2 н.п. ф-лы, 1 ил.
Изобретение относится к измерительной технике, а именно измерениям напряжений в полом изделии и толщины его стенки поляризационно-оптическим методом, и может быть использовано в широких областях техники, в том числе электронной.
Поляризационно-оптический метод основан на эффекте двупреломления лучей поляризованного света при просвечивании последним прозрачного материала и изделий из него с последующим анализом картины двупреломления лучей поляризованного света от прохождения ими упомянутого изделия.
На практике это, как правило, полые изделия, выполненные из стекла.
В случае полых стеклянных изделий цилиндрической формы имеют место напряжения осевые и окружные.
Во втором случае анализируется картина двупреломления лучей поляризованного света, возникающая при просвечивании упомянутого изделия лучом поляризованного света вдоль диаметра его поперечного сечения.
В случае измерения напряжений в полых стеклянных изделиях сложной формы используют их погружение в иммерсионную жидкость с коэффициентом преломления, близким коэффициенту преломления материала упомянутого изделия, так как вне иммерсионной жидкости указанное измерение практически невозможно из-за явлений преломления и отражения света на поверхности упомянутого изделия.
При этом становится возможным и измерение толщины стенки упомянутого изделия [1].
Известно измерение напряжений в изделиях из стекла, заключающееся в исследовании картины двупреломления, наблюдаемой в устройстве-поляриметре при просвечивании изделия из стекла лучами поляризованного света. При этом с помощью поворота анализатора поляриметра осуществляют гашение исследуемого светлого участка картины двупреломления и рассчитывают напряжения в этом участке упомянутого изделия по углу поворота анализатора поляриметра и известным формулам [2].
Устройство представляет собой оптическую систему из источника света, поляризатора света, ванны с прозрачными стенками, заполненную иммерсионной жидкостью и анализатора, расположенными соосно.
При этом источник поляризованного света расположен вне ванны с прозрачными стенками, заполненной иммерсионной жидкостью.
Данное устройство не позволяет производить измерение толщины стенки изделия.
Известны способ и устройство для измерения напряжений в полом стеклянном изделии и толщины его стенки поляризационно-оптическим методом. Способ заключается в просвечивании поляризованным светом полого стеклянного изделия насквозь, через диаметрально противоположные части обеих его стенок и последующем анализе наблюдаемой картины двупреломления лучей поляризованного света [3] – прототип.
Устройство включает источник света, поляризатор, ванну с прозрачными стенками, заполненную иммерсионной жидкостью, в которую помещают полое стеклянное изделие и анализатор света.
Упомянутые элементы устройства расположены соосно и в указанной выше последовательности.
Следует подчеркнуть, что источник поляризованного света, как и в аналоге, расположен вне ванны с прозрачными стенками, заполненной иммерсионной жидкостью.
Недостатком как способа, так и устройства является невысокая точность измерений, так как наблюдаемая картина двупреломления лучей поляризованного света является суммарной от двух диаметрально противоположных частей стенки полого стеклянного изделия, что соответственно привносит при анализе погрешность в измерения.
Более того, измерение окружных напряжений полых стеклянных изделий больших габаритов связано с определенными трудностями и неудобствами с точки зрения наличия и больших габаритов ванны с иммерсионной жидкостью и соответственно ее объема, тем более, когда необходимо провести локальные и экспресс-измерения.
Следует отметить, что те же недостатки характерны и при измерении толщины стенки полого стеклянного изделия.
Более того, этот способ очень сложен, а устройство громоздко.
Техническим результатом изобретения является повышение точности, упрощение и расширение возможности.
Технический результат достигается тем, что:
1. В известном способе измерения напряжений в полом изделии и толщины его стенки поляризационно-оптическим методом в иммерсионной жидкости либо в воздушной атмосфере, заключающимся в просвечивании полого изделия поляризованным светом и анализе наблюдаемой картины двупреломления лучей поляризованного света от прохождения ими упомянутого изделия.
При этом при измерении окружных напряжений полого изделия просвечивание поляризованным светом осуществляют изнутри полого изделия, а анализ наблюдаемой картины двупреломления лучей поляризованного света осуществляют от прохождения ими одной из диаметрально противоположных частей стенки полого изделия;
2. В известном устройстве для измерения напряжений в полом изделии и толщины его стенки в иммерсионной жидкости поляризационно-оптическим методом, включающем источник света, ванну с прозрачными стенками, заполненную иммерсионной жидкостью, поляризатор и анализатор света, расположенные соосно.
При этом поляризатор света расположен внутри ванны с прозрачными стенками, заполненной иммерсионной жидкостью.
В случае измерения в полом изделии типа колбы поляризатор света расположен внутри ванны с прозрачными стенками, заполненной иммерсионной жидкостью, и при этом внутри полого изделия.
В случае измерения полого изделия типа колбы больших и очень больших габаритов, в том числе экспресс-локальных измерений, ванна с прозрачными стенками, заполненная иммерсионной жидкостью, снабжена патрубком для отвода воздуха из полости упомянутого изделия, при этом патрубок расположен вне прохождения просвечивающего луча света.
Предложенные способ и устройство измерения напряжений в полом изделии и толщины его стенки поляризационно-оптическим методом, в которых при измерении окружных напряжений просвечивание поляризованным светом осуществляют изнутри полого изделия, а анализ наблюдаемой картины двупреломления лучей поляризованного света осуществляют от прохождения ими одной из диаметрально противоположных частей стенки упомянутого изделия, позволят:
во-первых, повысить точность измерений благодаря обеспечению возможности проведения анализа наблюдаемой картины двупреломления лучей поляризованного света от прохождения ими только одной из диаметрально противоположных частей стенки полого изделия и, следовательно, снижению погрешности измерений,
во-вторых, значительно упростить и расширить возможности способа и устройства, в том числе и особенно при работе с полыми изделиями больших и очень больших габаритов.
Последнее обеспечивает вариант предложенного устройства, в котором ванна с прозрачными стенками, заполненная иммерсионной жидкостью, снабжена патрубком для отвода воздуха из полости изделия.
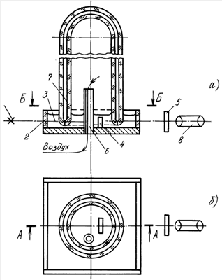
Изобретение поясняется чертежом.
На чертеже (а, б) изображен вариант устройства и вид сверху, в котором ванна с прозрачными стенками, заполненная иммерсионной жидкостью, снабжена патрубком, где
1 – источник света,
2 – ванна с прозрачными стенками,
3 – иммерсионная жидкость,
4 – поляризатор света,
5 – анализатор света,
6 – патрубок для отвода воздуха,
7 – полое изделие.
В случае измерения толщины стенки, предложенное устройство снабжено дополнительным средством 8, например оптическим измерительным микроскопом.
Пример.
Рассмотрим измерение напряжений и толщины стенки поляризационно-оптическим методом на примере полого изделия типа колбы, например колбы для термоса, выполненной из силикатного стекла, далее полое изделие из стекла типа колбы.
Далее речь пойдет об окружных напряжениях.
В ванне с прозрачными стенками 2, заполненной иммерсионной жидкостью 3, над патрубком для отвода воздуха 6 размещают полое изделие из стекла типа колбы 7 и плавно погружают в иммерсионную жидкость 3 его часть, например область горловины колбы, окружные напряжения и толщину стенки которой необходимо измерить.
При этом полое изделие из стекла типа колбы 7 расположено соосно с другими элементами устройства, а именно источником света 1, поляризатором 4 и анализатором 5 света соответственно.
При этом поляризатор света 4 расположен внутри ванны с прозрачными стенками 2, и при этом внутри полого изделия из стекла типа колбы 7.
Далее просвечивают указанную часть упомянутого изделия 7 светом от источника 1, который после прохождения поляризатора света 4 становится поляризованным.
И проводят анализ картины двупреломления лучей поляризованного света с помощью анализатора света 5 от прохождения ими только одной из диаметрально противоположных частей стенки упомянутого изделия 7.
При определении окружных напряжений, как было указано выше, анализируется картина двупреломления лучей поляризованного света, возникающая при просвечивании упомянутого изделия 7 лучом поляризованного света вдоль диаметра его поперечного сечения.
При измерении толщины стенки устройство снабжено дополнительным средством 8, например оптическим измерительным микроскопом.
Таким образом, предложенный способ измерения напряжений в полом изделии и толщины его стенки и устройство для его осуществления позволят повысить точность измерений, упростить и расширить возможности измерения.
Это особенно актуально в случае необходимости проведения экспресс-локальных измерений окружных напряжений полых изделий больших и очень больших габаритов в процессе того или иного технологического процесса.
Источники информации
2. Саркисов П.Г., Агарков А.С.Технический анализ и контроль производства стекла и изделий из него. – М.: Стройиздат, 1976. с.146-149.
3. Заявка на изобретение RU (11) 99107129 (13) А (51) 7 G01B 9/00, G01B 11/02. Измерение толщины боковой стенки стеклянного сосуда, опубл. 2001.01.27 – прототип.
Формула изобретения
1. Способ определения окружных напряжений стенки в полом изделии поляризационно-оптическим методом, заключающийся в просвечивании полого изделия, расположенного в иммерсионной жидкости, поляризованным светом и анализе наблюдаемой при этом картины двупреломления лучей поляризованного света от прохождения ими упомянутого изделия и по результатам анализа определяют окружные напряжения в упомянутом изделии, при этом при определении окружных напряжений просвечивание полого изделия, расположенного в иммерсионной жидкости, поляризованным светом осуществляют изнутри полого изделия, а анализ наблюдаемой картины двупреломления лучей поляризованного света осуществляют от прохождения ими одной из диаметрально противоположных частей стенки упомянутого изделия.
2. Устройство для измерения окружных напряжений стенки в полом изделии поляризационно-оптическим методом, включающее источник света, ванну с прозрачными стенками, заполненную иммерсионной жидкостью, поляризатор и анализатор света, расположенные соосно, при этом поляризатор света расположен внутри ванны с прозрачными стенками, заполненной иммерсионной жидкостью.
РИСУНКИ
|