|
(21), (22) Заявка: 2008127477/06, 09.07.2008
(24) Дата начала отсчета срока действия патента:
09.07.2008
(46) Опубликовано: 20.11.2009
(56) Список документов, цитированных в отчете о поиске:
RU 2035673 C1, 20.05.1995. SU 1834470 A1, 20.07.1995. SU 1000722 A2, 28.02.1983. SU 407160 A1, 21.11.1973. US 7313921 B2, 01.01.2008.
Адрес для переписки:
125364, Москва, Химкинский б-р, 15, кв.42, А.И. Абросимову
|
(72) Автор(ы):
Абросимов Александр Иванович (RU), Гвоздик Виктор Иванович (RU), Минкин Марк Абрамович (RU)
(73) Патентообладатель(и):
Абросимов Александр Иванович (RU), Гвоздик Виктор Иванович (RU), Минкин Марк Абрамович (RU)
|
(54) ГРАВИТАЦИОННАЯ ТЕПЛОВАЯ ТРУБА
(57) Реферат:
Данная тепловая труба предназначена преимущественно для замораживания грунта. Труба содержит герметичный заправляемый теплоносителем корпус с зонами испарения, конденсации и транспортной зоной, а также термоэлектрические элементы, холодные поверхности которых имеют тепловой контакт с наружной поверхностью стенки корпуса в зоне конденсации, а горячие поверхности – с радиаторами. Особенностью трубы является выполнение корпуса с наружной поверхностью стенки, имеющей в поперечном сечении в зоне конденсации прямоугольную форму (60) при не изменяющемся по длине корпуса внутреннем поперечном сечении в этой зоне. Термоэлектрические преобразователи (6) установлены на всех четырех сторонах наружной поверхности стенки корпуса, а радиаторы выполнены в виде оребренных пластин (8) таким образом, что они образуют охватывающую корпус полость (9), свободный внутренний объем которой заполнен низкотеплопроводным материалом с небольшим коэффициентом водопоглощения. Благодаря предлагаемому выполнению обеспечивается повышение теплопередающей способности тепловой трубы. 11 з.п. ф-лы, 7 ил.
Изобретение относится к теплотехнике, а именно к теплопередающим устройствам, и касается конструктивного выполнения гравитационной тепловой трубы, предназначенной для замораживания грунта.
Известны конструкции тепловых труб, в которых используются термоэлектрические преобразователи (см., например, авторское свидетельство СССР 389364, опубл. 05.07.1973 [1]; авторское свидетельство СССР 826189, опубл. 30.04.1981 [2]; патент Российской Федерации 2035673, опубл. 20.05.1995 [3].
Труба по авторскому свидетельству [1] имеет корпус с капиллярно-пористым наполнителем на его внутренней поверхности, разделенный на отсеки с зонами испарения и конденсации. Отсеки отделены друг от друга перегородками в виде батарей термоэлектрических элементов, горячие поверхности которых обращены в сторону зоны испарения, а холодные – в сторону зоны конденсации.
Труба по авторскому свидетельству [2] имеет корпус с зонами испарения, транспорта и конденсации и установленную на подшипниках внутри корпуса перфорированную втулку с винтовой нарезкой на внешней поверхности. Вращением этой втулки обеспечивается принудительная подача жидкой фазы теплоносителя из зоны конденсации в зону испарения.
К предлагаемой гравитационной тепловой трубе наиболее близка тепловая труба по патенту [3]. Эта труба имеет герметичный корпус с зонами испарения, транспорта и конденсации, выполненный с возможностью заправки теплоносителем, причем корпус в зоне конденсации имеет переменное сечение с сужением. Труба содержит также термоэлектрические преобразователи, холодные поверхности контактируют с противоположными наружными сторонами стенки корпуса в зоне конденсации, а горячие поверхности – с установленными на них радиаторами.
Наличие указанного сужения корпуса в зоне конденсации приводит к увеличению гидравлического сопротивления движению пара от зоны испарения к поверхности конденсации и поэтому отрицательно сказывается на теплопередающей способности трубы. Кроме того, имеет место теплоперенос от радиаторов на корпус в зоне конденсации, который тем выше, чем больший температурный напор обеспечивают применяемые термоэлектрические преобразователи. Этот теплоперенос дополнительно усиливается наличием свободных наружных поверхностей стенки корпуса между поверхностями, с которыми контактируют термоэлектрические преобразователи. Влага, содержащаяся в наружном воздухе, охлаждающем радиаторы, имеет в данной конструкции возможность конденсироваться на корпусе в зоне конденсации и других холодных элементах, что также ведет к снижению теплопередающей способности тепловой трубы.
Предлагаемое изобретение направлено на достижение технического результата, заключающегося в повышении теплопередающей способности тепловой трубы. Ниже при изложении сущности предлагаемого изобретения и описании частных случаев его выполнения будут названы и другие виды достигаемого технического результата.
Предлагаемая гравитационная тепловая труба, как и указанная наиболее близкая к ней известная по патенту [3], содержит герметичный корпус с зоной испарения, транспортной зоной и зоной конденсации, выполненный с возможностью заправки теплоносителем, а также термоэлектрические элементы, холодные поверхности которых имеют тепловой контакт с наружной поверхностью стенки корпуса в зоне конденсации, а горячие поверхности – с радиаторами.
Для достижения названного технического результата в предлагаемой гравитационной тепловой трубе в отличие от наиболее близкой к ней известной корпус выполнен с наружной поверхностью стенки, имеющей в поперечном сечении в зоне конденсации прямоугольную форму, при постоянном по длине корпуса внутреннем поперечном сечении в этой зоне термоэлектрические преобразователи установлены на всех четырех сторонах наружной поверхности стенки корпуса, а радиаторы выполнены в виде оребренных пластин. При этом последние образуют охватывающую корпус полость, свободный внутренний объем которой заполнен низкотеплопроводным материалом с малым коэффициентом водопоглощения.
Прямоугольная форма наружной стенки корпуса в зоне конденсации при отсутствии сужения внутреннего поперечного сечения в сочетании с размещением термоэлектрических преобразователей со всех четырех сторон стенки обеспечивают более интенсивное охлаждение в зоне конденсации без увеличения гидравлического сопротивления движению пара. Одновременно такие форма корпуса и размещение термоэлектрических преобразователей создают возможность выполнения радиаторов с образованием указанной замкнутой полости. Это, в свою очередь, в сочетании с заполнением полости материалом с указанными свойствами препятствует теплопереносу от радиаторов на корпус в зоне конденсации и доступу к нему и другим холодным элементам влаги, содержащейся в окружающем воздухе. В итоге описанная совокупность взаимосвязанных факторов способствует увеличению теплопередающей способности предлагаемой трубы.
Предпочтительно такое выполнение предлагаемой тепловой трубы, при котором корпус в зоне конденсации представляет собой квадратную трубу, на плоских гранях наружной поверхности которой установлены указанные термоэлектрические преобразователи. При этом термоэлектрические преобразователи расположены на каждой грани наружной поверхности корпуса со смещением по длине корпуса относительно термоэлектрических преобразователей, установленных на соседних гранях, и напротив термоэлектрических преобразователей, установленных на противоположной грани. Оребренные пластины радиаторов прижаты к термоэлектрическим преобразователям и вместе с ними – к наружной поверхности стенки корпуса.
Прижатие может быть осуществлено, например, с помощью болтового соединения, болты которого проходят между термоэлектрическими преобразователями, установленными на противоположных друг другу гранях поверхности стенки корпуса. Болты изготовлены из материала с высоким тепловым сопротивлением.
Указанная квадратная труба в зоне конденсации может быть выполнена с перегородками между противоположными гранями. Это позволит сохранить плоскую форму наружной поверхности граней и низкое контактное тепловое сопротивление между элементами конструкции при необходимых сжимающих усилиях.
Корпус в зоне конденсации может быть выполнен также в виде круглой трубы, заключенной в монолитно соединенную с ней квадратную трубу, с образованием между этими двумя трубами угловых зазоров. Последние заполнены или заглушены водонепроницаемым материалом с хорошей теплопроводностью. Прижатие оребренных пластин радиаторов к термоэлектрическим преобразователям в этом случае может производиться с помощью болтов или винтов из материала с высоким тепловым сопротивлением, проходящих через отверстия в этих пластинах и резьбовые отверстия в стенке квадратной трубы, выполненные в пределах указанных угловых зазоров.
Такое выполнение предотвращает деформации корпуса в зоне размещения термоэлектрических преобразователей и перенос тепла от радиаторов к корпусу по прижимающим болтам, а водонепроницаемый материал с высокой теплопроводностью препятствует проникновению в угловые зазоры влаги и ее конденсации на холодных внутренних поверхностях, одновременно улучшая отвод тепла от круглой трубы.
Вокруг оребренных пластин радиаторов может быть установлен непроницаемый с боков кожух, в верхней части которого размещен вентилятор. В этом случае ребра на оребренных пластинах радиаторов ориентированы параллельно продольной оси корпуса. При такой ориентации ребер и наличии вентилятора обеспечивается лучший отвод тепла от радиаторов.
Во всех описанных выше случаях термоэлектрические преобразователи могут иметь тепловой контакт с наружной поверхностью стенки корпуса непосредственно или через теплопроводящие элементы. Последние выполнены из материала с хорошей теплопроводностью, например в виде параллелепипедов из сплава на основе алюминия или на основе меди. Наличие теплопередающих элементов позволяет увеличить расстояние между холодным корпусом зоны конденсации и горячими радиаторами и тем самым уменьшить паразитные натечки теплоты на корпус.
Предлагаемое изобретение иллюстрируется чертежами фиг.1-7.
На фиг.1 представлен общий вид гравитационной тепловой трубы с термоэлектрическими преобразователями, расположенными на прямоугольной наружной поверхности стенки корпуса.
На фиг.2 представлено продольное сечение А-А зоны конденсации фиг.1.
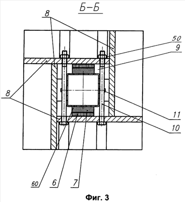
На фиг.3 представлено поперечное сечение Б-Б зоны конденсации фиг.1.
На фиг.4 дано поперечное сечение Б-Б зоны конденсации фиг.1 с корпусом, упрочненным перегородками.
На фиг.5 изображено поперечное сечение Б-Б зоны конденсации фиг.1 при выполнении корпуса в виде круглой трубы, заключенной в монолитно соединенную с ней квадратную трубу.
На фиг.6 представлена гравитационная тепловая труба с принудительным охлаждением оребренных пластин радиаторов.
На фиг.7 изображено поперечное сечение В-В зоны конденсации фиг.6.
Предлагаемая гравитационная тепловая труба (фиг.1) содержит герметичный корпус 1, в рабочем или подготовленном к работе состоянии заправленный теплоносителем 2 и имеющий зону 3 испарения, транспортную зону 4 и зону 5 конденсации. Знаками “+” на фиг.1 условно показано наличие термоэлектрических преобразователей. Теплоноситель в тепловой трубе находится в состоянии насыщения, при котором большая часть объема корпуса занята паром, а небольшая – конденсатом в виде жидкости. Для заполнения теплоносителем корпус 1 имеет заправочный штенгель (на чертежах не показан).
В зоне 5 конденсации (фиг.2, 3) на гранях корпуса, имеющего вид квадратной трубы 60, установлены термоэлектрические преобразователи 6, подключенные к источнику питания (на чертежах не показан). Термоэлектрические преобразователи своей холодной поверхностью через теплопередающие элементы 7 в виде параллелепипеда из сплава на основе алюминия или на основе меди прижаты к наружной поверхности стенки корпуса 1, а их горячие поверхности контактируют с оребренными пластинами 8 радиаторов. Их ребра в данном случае ориентированы перпендикулярно оси корпуса в зоне конденсации. Возможно также не показанное на чертежах размещение термоэлектрических преобразователей непосредственно на наружной поверхности корпуса.
На каждой грани квадратной трубы 60 установлен один ряд термоэлектрических преобразователей 6. Они расположены на некотором расстоянии один от другого таким образом, что термоэлектрические преобразователи, установленные на соседних гранях наружной поверхности корпуса, имеют смещение относительно друг друга по длине корпуса (ср. расположение групп преобразователей 6, установленных на стенке корпуса, параллельной на фиг.2 фронтальной плоскости, и преобразователей 6, установленных на боковых стенках корпуса и показанных на фиг.2 в разрезе). Термоэлектрические преобразователи, установленные на противоположных гранях квадратной трубы, расположены напротив друг друга. К этим термоэлектрическим преобразователям прижаты оребренные пластины 8 радиаторов. Элементы для прижатия, одновременно служащие для прижатия термоэлектрических преобразователей к поверхности корпуса (через теплопередающие элементы или непосредственно), могут представлять собой, например, болты 10 с гайками 50, проходящие в зазоре между термоэлектрическими преобразователями (фиг.3). Болты могут дополнительно удерживаться, например, скобами 11, закрепленными на тех плоских гранях наружной поверхности квадратной трубы, параллельно которым проходят болты (фиг.3, фиг.2). Болты 10 выполнены из материала, имеющего высокое тепловое сопротивление. Как известно, эквивалентами болтового соединения являются винтовое и шпилечное (см. А.Ф.Крайнев. Детали машин. Словарь-справочник. Изд. “Машиностроение”, Москва, 1992, с.22 [4]).
Оребренные пластины 8 радиаторов образуют полость 9 (фиг.3), охватывающую корпус в зоне конденсации. Свободный внутренний объем этой полости заполнен низкотеплопроводным материалом с небольшим коэффициентом водопоглощения.
Для повышения формоустойчивости стенок квадратной трубы в зоне конденсации при воздействии усилий, прижимающих термоэлектрические преобразователи 6 с теплопередающими элементами 7 (или непосредственно термоэлектрические преобразователи, если теплопередающие элементы не используются) к стенке квадратной трубы 60, внутри корпуса между противоположными сторонами квадрата могут быть установлены перегородки 12 (фиг.4). При этом обеспечивается более низкое контактное тепловое сопротивление теплопередачи от термоэлектрического преобразователя к корпусу, что позволяет получить небольшие перепады температуры в контактах вышеназванных элементов.
Этой же цели служит показанное на фиг.5 выполнение корпуса 1 в зоне конденсации в виде круглой трубы 70, заключенной в монолитно соединенную с ней квадратную трубу 13, с образованием между этими двумя трубами угловых зазоров 15. Такой корпус может быть изготовлен из алюминиевого сплава методом экструзии. Угловые зазоры 15 заполнены или заглушены водонепроницаемым материалом с хорошей теплопроводностью.
Прижатие оребренных пластин 8 радиаторов к термоэлектрическим преобразователям 6 (и вместе с ними непосредственно или через теплопередающие элементы 7 – к поверхности корпуса) в этом случае производится с помощью болтов 14 или винтов из материала с высоким тепловым сопротивлением, проходящих через отверстия в этих пластинах и резьбовые отверстия в стенке квадратной трубы, выполненные в пределах указанных угловых зазоров 15.
При выполнении корпуса в зоне конденсации, показанном на фиг.5, в транспортной зоне и зоне испарения корпус представляет собой продолжение только круглой трубы. Если корпус в зоне конденсации усилен поперечными перегородками, то в транспортной зоне и зоне испарения их оставлять нельзя.
При выполнении корпуса в зоне конденсации, показанном на фиг.4, когда он усилен перегородками, в транспортной зоне и зоне испарения перегородки отсутствуют.
При необходимости увеличения теплосброса с радиаторов во всех описанных выше случаях вокруг оребренных пластин 8 может быть установлен непроницаемый с боков кожух 16 (фиг.6), в верхней части которого размещен вентилятор 17. В этом случае ребра на оребренных пластинах 8 радиаторов ориентированы вдоль оси корпуса в зоне конденсации (фиг.7).
Предлагаемая гравитационная труба работает следующим образом. При подаче на термоэлектрические преобразователи 6 постоянного напряжения от источника питания на их плоских поверхностях возникают перепад температур и поток теплоты. Под действием этих факторов температура стенки корпуса в зоне 5 конденсации понижается, что сопровождается конденсацией пара теплоносителя и понижением давления в зоне конденсации. Понижение давления в корпусе трубы приводит к вскипанию конденсата в зоне 3 испарения. Образовавшийся пар поднимается в зону конденсации, жидкая фаза теплоносителя стекает в зону испарения под действием силы тяжести, и цикл повторяется. Теплота грунта, в который погружена часть корпуса, соответствующая зоне 2 испарения, переносится паром в зону 5 конденсации в виде скрытой теплоты испарения, затем переносится термоэлектрическими элементами 6 от стенки корпуса к оребренным пластинам 8 радиаторов и удаляется с их ребер в окружающую среду, например в воздух. При наличии кожуха 16 и вентилятора 17 это удаление происходит более интенсивно.
Предлагаемая гравитационная тепловая труба по сравнению с наиболее близкой известной трубой обладает более высокой теплопередающей способностью и благодаря этому может быть использована в более широком интервале температур окружающей среды и обеспечить более низкие температуры охлаждаемого объекта.
Современные термоэлектрические преобразователи на основе эффекта Пельтье, например двухкаскадные, позволяют получить перепад температур между холодной и горячей поверхностями до 70°С и могут работать, начиная с температуры окружающего воздуха минус 45°С. Поэтому предлагаемая труба с такими преобразователями может быть использована как в зимний, так и в летний периоды для укрепления фундаментов и опор различных сооружений, а также для предотвращения деформации насыпей автомобильных и железных дорог и других объектов, сооружаемых на вечномерзлых грунтах.
Источники информации
1. Авторское свидетельство СССР 389364, опубл. 05.07.1973.
2. Авторское свидетельство СССР 826189, опубл. 30.04.1981.
3. Патент Российской Федерации 2035673, опубл. 20.05.1995.
4. А.Ф.Крайнев. Детали машин. Словарь-справочник. Изд. “Машиностроение”, Москва, 1992.
Формула изобретения
1. Гравитационная тепловая труба, содержащая герметичный корпус с зонами испарения, конденсации и транспортной зоной, выполненный с возможностью заправки его теплоносителем, а также термоэлектрические элементы, холодные поверхности которых имеют тепловой контакт с наружной поверхностью стенки корпуса в зоне конденсации, а горячие поверхности – с радиаторами, отличающаяся тем, что корпус выполнен с наружной поверхностью стенки, имеющей в поперечном сечении в зоне конденсации прямоугольную форму при не изменяющемся по длине корпуса внутреннем поперечном сечении в этой зоне, термоэлектрические преобразователи установлены на всех четырех сторонах наружной поверхности стенки корпуса, а радиаторы выполнены в виде оребренных пластин таким образом, что они образуют охватывающую корпус полость, свободный внутренний объем которой заполнен низкотеплопроводным материалом с малым коэффициентом водопоглощения.
2. Тепловая труба по п.1, отличающаяся тем, что корпус в зоне конденсации выполнен в виде квадратной трубы, на плоских гранях наружной поверхности которой установлены указанные термоэлектрические преобразователи, при этом термоэлектрические преобразователи расположены на каждой грани наружной поверхности корпуса со смещением по длине корпуса относительно термоэлектрических преобразователей, установленных на соседних гранях, и напротив термоэлектрических преобразователей, установленных на противоположной грани, оребренные пластины радиаторов прижаты к термоэлектрическим преобразователям.
3. Тепловая труба по п.2, отличающаяся тем, что указанная квадратная труба в зоне конденсации выполнена с перегородками между ее противоположными гранями.
4. Тепловая труба по п.2, отличающаяся тем, что прижатие оребренных пластин выполнено с помощью болтового соединения, болты которого проходят между термоэлектрическими преобразователями, установленными на противоположных друг другу гранях, при этом болты изготовлены из материала с высоким тепловым сопротивлением.
5. Тепловая труба по п.4, отличающаяся тем, что указанная квадратная труба в зоне конденсации выполнена с перегородками между ее противоположными гранями.
6. Гравитационная тепловая труба по п.1, отличающаяся тем, что корпус в зоне конденсации выполнен в виде круглой трубы, заключенной в монолитно соединенную с ней квадратную трубу с образованием между этими двумя трубами угловых зазоров, последние заполнены или заглушены с торцов водонепроницаемым материалом с высокой теплопроводностью.
7. Тепловая труба по п.6, отличающаяся тем, что прижатие оребренных пластин радиаторов выполнено с помощью болтов или винтов из материала с высоким тепловым сопротивлением, проходящих через отверстия в этих пластинах и резьбовые отверстия в стенке квадратной трубы, выполненные в пределах указанных угловых зазоров.
8. Тепловая труба по любому из пп.1-7, отличающаяся тем, что термоэлектрические преобразователи имеют непосредственный тепловой контакт с наружной поверхностью стенки корпуса.
9. Тепловая труба по любому из пп.1-7, отличающаяся тем, что термоэлектрические преобразователи имеют тепловой контакт с наружной поверхностью стенки корпуса через теплопроводящие элементы.
10. Тепловая труба по любому из пп.1-7, отличающаяся тем, что вокруг оребренных пластин радиаторов установлен непроницаемый с боков кожух, в верхней части которого размещен вентилятор, при этом ребра на оребренных пластинах радиаторов ориентированы параллельно продольной оси корпуса в зоне конденсации.
11. Тепловая труба по п.10, отличающаяся тем, что термоэлектрические преобразователи имеют непосредственный тепловой контакт с наружной поверхностью стенки корпуса.
12. Тепловая труба по п.10, отличающаяся тем, что термоэлектрические преобразователи имеют тепловой контакт с наружной поверхностью стенки корпуса через теплопроводящие элементы.
РИСУНКИ
|