|
|
(21), (22) Заявка: 2007134562/06, 18.02.2005
(24) Дата начала отсчета срока действия патента:
18.02.2005
(43) Дата публикации заявки: 27.03.2009
(46) Опубликовано: 20.11.2009
(56) Список документов, цитированных в отчете о поиске:
RU 2088865 C1, 27.08.1997. RU 2039914 C1, 20.07.1995. US 6817193 B2, 16.11.2004. JP 2001066003 A, 16.03.2001. WO 03019085 A1, 06.03.2003.
(85) Дата перевода заявки PCT на национальную фазу:
18.09.2007
(86) Заявка PCT:
EP 2005/001720 20050218
(87) Публикация PCT:
WO 2006/087005 20060824
Адрес для переписки:
129090, Москва, ул. Б.Спасская, 25, строение 3, ООО “Юридическая фирма Городисский и Партнеры”, пат.пов. С.А.Дорофееву, рег. 146
|
(72) Автор(ы):
ХАЙНБОКЕЛЬ Бернд (DE)
(73) Патентообладатель(и):
КЭРРИЕР КОРПОРЕЙШН (US)
|
(54) СПОСОБ УПРАВЛЕНИЯ ВЫСОКИМ ДАВЛЕНИЕМ В ПЕРИОДИЧЕСКИ ФУНКЦИОНИРУЮЩЕЙ СУПЕРКРИТИЧЕСКИ ХОЛОДИЛЬНОЙ СХЕМЕ
(57) Реферат:
Изобретение относится к холодильной технике. Способ относится к управлению периодически функционирующей суперкритически холодильной схемой (2), содержащей в направлении потока компрессор, отводящий тепло теплообменник (10), регулирующий вентиль (12), связанный с выпускным отверстием (14) отводящего тепло теплообменника (10), и устройство (16) управления для управления регулирующим вентилем (12). Способ включает следующие стадии: (а) (в субкритическом режиме) управления регулирующим вентилем (12) так, чтобы поддерживать предварительно определенное «субкритическое давление», обеспечивающее предварительно определенный недогрев жидкого хладагента у выпускного отверстия (14) отводящего тепло теплообменника (10), (b) (в суперкритическом режиме) управления регулирующим вентилем (12) так, чтобы поддерживать предварительно определенное «суперкритическое давление» суперкритического хладагента у выпускного отверстия (14) отводящего тепло теплообменника (10), и (с) (в граничном режиме в граничной области, находящейся рядом с критической точкой) управления регулирующим вентилем (12) в зависимости от «давления непрерывности», которое определяется на основании предварительно определенных «субкритического давления» и «суперкритического давления» стадий (а) и (b). Техническим результатом является создание способа управления периодически функционирующей суперкритически холодильной схемой в граничной области, находящейся рядом с критической точкой. 4 н. и 15 з.п. ф-лы, 3 ил.
Настоящее изобретение относится к способу управления высоким давлением хладагента в периодически функционирующей суперкритически холодильной схеме, которая прокачивает по замкнутой системе при использовании хладагент в предварительно определенном направлении потока и которая содержит в направлении потока компрессор, отводящий тепло теплообменник, регулирующий вентиль, связанный с выпускным отверстием отводящего тепло теплообменника, и устройство управления для управления регулирующим вентилем.
Известны различные способы управления высоким давлением в хладагенте, находящемся за отводящим тепло теплообменником, то есть газоохладителе и/или конденсаторе, как в субкритических, так и в суперкритических эксплуатационных условиях. Например, поплавковый регулирующий вентиль представляет собой известное устройство для регулирования высокого давления в субкритически функционирующей холодильной схеме. В зависимости от уровня жидкости в поплавковом регулирующем вентиле поплавок открывает или закрывает выпускное отверстие для выпуска жидкого хладагента в холодильную схему, и обычно к ресиверу, в котором хладагент собирается и сохраняется до его выдачи потребителю (потребителям) охлаждения. С другой стороны, газообразный хладагент не будет поднимать поплавок, так что выпускное отверстие будет оставаться закрытым. Соответственно, давление превращения в жидкое состояние в отводящем тепло теплообменнике будет подниматься, гарантируя подачу текучего хладагента к поплавковому регулирующему вентилю.
В суперкритическом эксплуатационном режиме за отводящим тепло теплообменником жидкий хладагент присутствовать не будет, и поплавковый регулирующий вентиль не сможет оказывать воздействие на регулирование высокого давления. Однако, в суперкритическом режиме существует корреляция между температурой выпуска газоохладителя и высоким давлением хладагента, для которой КПД (коэффициент полезного действия) находится на максимальном значении. Соответствующая формула для вычисления такого оптимального высокого давления в суперкритическом режиме специалистам в данной области техники известна, и посредством регулирующего вентиля, связанного с выпускным отверстием отводящего тепло теплообменника и газоохладителя, соответственно, давлением хладагента можно управлять, основываясь на этой формуле.
Периодически функционирующие суперкритически холодильные схемы, например, с CO2 в качестве хладагента, периодически действуют в суперкритическом эксплуатационном режиме, с выходящим из газоохладителя хладагентом, находящимся в газообразном состоянии. Они также периодически действуют в субкритическом, или “нормальном” режиме, где хладагент, выходящий из конденсатора, находится в текучем состоянии. Действует ли холодильная схема в суперкритическом или в субкритическом режиме, зависит от температуры среды, относительно которой хладагент охлаждается и конденсируется, соответственно, в отводящем тепло теплообменнике. Как таковая, среда обычно является окружающим воздухом, субкритический эксплуатационный режим также упоминается как “зимний режим”, тогда как суперкритический эксплуатационный режим также упоминается как “летний режим”. Альтернативной средой могут быть вода или морская вода.
Управление высоким давлением хладагента в граничной области, находящейся рядом с критической точкой, где суперкритический эксплуатационный режим переходит в субкритический эксплуатационный режим и наоборот, представляет собой проблему, связанную с такими холодильными схемами.
Соответственно, задачей настоящего изобретения является создание способа управления периодически функционирующей суперкритически холодильной схемой в граничной области, находящейся рядом с критической точкой.
В соответствии с вариантом осуществления настоящего изобретения эта задача решается посредством способа управления периодически функционирующей суперкритически холодильной схемой для прокачивания хладагента в предварительно определенном направлении потока, содержащей в направлении потока компрессор, отводящий тепло теплообменник, регулирующий вентиль, связанный с выпускным отверстием отводящего тепло теплообменника, и устройство управления для управления регулирующим вентилем, при этом способ включает следующие стадии:
(а) в субкритическом режиме, управления регулирующим вентилем так, чтобы поддерживать предварительно определенное “субкритическое давление”, обеспечивающее предварительно определенное переохлаждение жидкого хладагента у выпускного отверстия отводящего тепло теплообменника;
(b) в суперкритическом режиме, управления регулирующим вентилем так, чтобы поддерживать предварительно определенное “суперкритическое давление”, которое оптимизировано для получения оптимальной эффективности, суперкритического хладагента у выпускного отверстия отводящего тепло теплообменника; и
(c) в граничном режиме в граничной области, находящейся рядом с критической точкой, управления регулирующим вентилем в зависимости от “давления непрерывности”, которое определяется на основании предварительно определенного “субкритического давления” и предварительно определенного “суперкритического давления” этапов (а) и (b).
В соответствии с настоящим изобретением регулирующий вентиль управляет высоким давлением для субкритического режима, суперкритического режима, а также граничного режима. В суперкритическом режиме устройство управления управляет регулирующим вентилем по существу как в предшествующей технике, то есть на основании известной корреляции, для получения оптимальной эффективности, возможно, отрегулированной с помощью коэффициента, учитывающего конкретный тип отводящего тепло теплообменника; таким образом, чтобы достигалась оптимальная эффективность или почти оптимальная эффективность для холодильной схемы. В субкритическом режиме устройство управления управляет регулирующим вентилем подобно поплавковому регулирующему вентилю так, чтобы для прохождения через регулирующий вентиль обеспечивался только жидкий хладагент.
Предварительно определенный недогрев жидкого хладагента у выпускного отверстия отводящего тепло теплообменника обеспечивается для того, чтобы гарантировать, что жидкий хладагент будет проходить через регулирующий вентиль.
В то время как управление в суперкритическом режиме и субкритическом режиме является относительно традиционным, проблемы существуют главным образом в граничной области около критической точки, то есть в области перехода между субкритическим и суперкритическим функционированием. Соответствующие расчеты субкритического давления и суперкритического давления для критической точки могут существенно изменяться. В действительности, легкий сдвиг параметров, например температуры хладагента, и т.д., может приводить к существенному скачку давления, приводя к нарушениям и прерывистости в управлении регулирующего вентиля. Чтобы адресоваться к этой проблеме, для целей управления определяется граничная область вокруг или рядом с критической точкой, и “давление непрерывности” рассчитывается и/или определяется на основании предварительно определенного “субкритического давления” и предварительно определенного “суперкритического давления”. Соответственно, определенное таким образом “давление непрерывности” служит для непрерывного соединения субкритического давления с суперкритическим давлением. Таким образом, непрерывное управление регулирующим вентилем и давлением хладагента, соответственно, может осуществляться даже вблизи от критической точки.
В соответствии с вариантом осуществления настоящего изобретения давление непрерывности определяют на стадии (с) посредством определения “субкритического давления” и “суперкритического давления” для конкретного эксплуатационного состояния в соответствии со стадиями (а) и (b) и выбора более высокого давления из “субкритического давления” и “суперкритического давления”. Это конкретное решение включает расчет “субкритического давления” и/или “суперкритического давления” вне критической точки в суперкритической области и субкритической области, соответственно. Хотя соответствующие расчеты не имеют смысла с физической точки зрения, однако, соответствующие величины можно использовать для управления регулирующим вентилем, и таким образом, высоким давлением у выпускного отверстия отводящего тепло теплообменника. Соответствующие величины могут рассчитываться также в “реальном масштабе времени”, но также могут быть основаны на более ранних вычислениях и хранящихся, например, в виде справочных таблиц в памяти. Этот способ, в частности, является предпочтительным, если имеется пересечение между кривой давления для суперкритического давления и кривой давления для субкритического давления около диапазона критического давления, то есть в пределах граничной области, как определено для этого конкретного применения.
В соответствии с другим предпочтительным вариантом осуществления настоящего изобретения давление непрерывности определяют на стадии (с) на основании интерполяции для величин давления в пределах граничной области между “субкритическим давлением” на нижнем пределе граничной области, как определено, и “суперкритическим давлением” на верхнем пределе граничной области. Интерполяция может иметь тип способа наилучшего приближения при стремлении соответствовать настолько близко, насколько возможно, кривым суперкритического давления и субкритического давления, соответственно, в той области, где это применимо. Также можно просто соединять “субкритическое давление” на нижнем пределе граничной области и “суперкритическое давление” на верхнем пределе граничной области прямой линией. Граничная область не обязательно должна быть симметричной относительно критической точки. Граничная область также может быть полностью с одной стороны от критической точки.
В соответствии с вариантом осуществления настоящего изобретения стадия (а) включает определение “субкритического давления” на основании температуры и линии давления насыщения хладагента и принимая во внимание недогрев хладагента по сравнению с давлением насыщения.
В соответствии с вариантом осуществления настоящего изобретения недогрев хладагента по сравнению с давлением насыщения составляет недогрев до 10 градусов Кельвина и предпочтительно находится между 2 градусами Кельвина и 6 градусами Кельвина.
В соответствии с вариантом осуществления настоящего изобретения “суперкритическое давление” определяют на стадии (b) на основании температуры хладагента так, чтобы коэффициент полезного действия холодильной схемы находился по существу на оптимальном значении. Как упомянуто выше, для каждой температуры у выпускного отверстия отводящего тепло теплообменника может быть определено конкретное давление, которое приводит к оптимальному КПД. Соответствующая формула известна в конкретной области, и предпочтительным является вычисление высокого давления в суперкритической области, основанное на такой формуле. Температура у выпускного отверстия отводящего тепло теплообменника может быть измерена с помощью известных устройств, например, термопар и других температурных датчиков. Нет никакой необходимости измерять точную температуру, а достаточно измерить любую величину, указывающую температуру, и принимать во внимание зависимость такой величины от правильной температуры при вычислении или определении соответствующего давления.
В соответствии с вариантом осуществления настоящего изобретения регулирующий вентиль является вентилем регулирования давления, и в зависимости от эксплуатационного режима, соответствующее одно из “субкритического давления”, “давления непрерывности” и “суперкритического давления” управляет функционированием вентиля регулирования давления.
Настоящее изобретение также относится к холодильной схеме для прокачивания хладагента в предварительно определенном направлении потока, содержащей в направлении потока компрессор, отводящий тепло теплообменник, регулирующий вентиль, связанный с выпускным отверстием отводящего тепло теплообменника, и устройство управления, выполненное с возможностью управления регулирующим вентилем:
(а) в субкритическом режиме, так, чтобы поддерживать предварительно определенное “субкритическое давление”, обеспечивающее предварительно определенный недогрев жидкого хладагента у выпускного отверстия отводящего тепло теплообменника;
(b) в суперкритическом режиме, так, чтобы поддерживать предварительно определенное “суперкритическое давление”, которое оптимизировано для получения оптимальной эффективности, суперкритического хладагента у выпускного отверстия отводящего тепло теплообменника; и
(c) в граничном режиме в граничной области, находящейся рядом с критической точкой, в зависимости от “давления непрерывности”, которое определяется на основании предварительно определенного “субкритического давления” и предварительно определенного “суперкритического давления” (а) и (b).
Устройство управления также может рассчитывать соответствующие давления на основании связанных с ними величин, подобных характеристикам хладагента, температуре и т.д., на фактическом основании. В качестве альтернативы соответствующие давления могут быть определены на основании величин, хранящихся в памяти такого устройства управления, подобно справочным таблицам, и т.д. Также можно использовать комбинацию фактического расчета с хранящимися величинами.
Устройство управления может быть объединено с регулирующим вентилем. Также можно объединять устройство управления регулирующего вентиля с главным устройством управления холодильной схемы.
Настоящее изобретение дополнительно относится к устройству охлаждения, содержащему холодильную схему в соответствии с вариантом осуществления настоящего изобретения и/или действующему с помощью способа по варианту осуществления настоящего изобретения. Устройством охлаждения может быть система охлаждения для супермаркета, чтобы обеспечивать охлаждение для шкафов показа и т.д., или промышленная система охлаждения и т.д.
Ниже более подробно описаны варианты осуществления настоящего изобретения со ссылкой на чертежи, на которых:
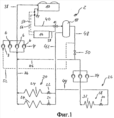
На фиг.1 изображена холодильная схема, которая является вариантом осуществления настоящего изобретения;
На фиг.2 – диаграмма р-Т для детализирования варианта осуществления настоящего изобретения; и
На фиг.3 – диаграмма р-Т, подобная диаграмме на фиг.2.
На фиг.1 изображена холодильная схема 2 для прокачивания хладагента, подобного СO2, в предварительно определенном направлении потока. Эту холодильную схему 2 можно использовать в субкритическом режиме, то есть в “зимнем режиме”, также как в суперкритическом режиме, то есть в “летнем режиме”. Холодильная схема содержит в направлении потока компрессорную установку 4, то есть в конкретном варианте осуществления установку индивидуальных компрессоров 6, 8, отводящий тепло теплообменник 10, регулирующий вентиль 12, который связан с выпускным отверстием 14 отводящего тепло теплообменника 10, и устройство 16 управления для управления регулирующим вентилем 12 и, возможно, всей холодильной схемой 2.
Холодильная схема 2 дополнительно содержит ресивер 18 и один или множество потребителей 20 охлаждения, каждый из которых содержит потребительское дросселирующее устройство 22, а также потребительский испаритель 24. Потребителями 20 охлаждения являются так называемые “среднетемпературные” потребители, которые в случае применения системы охлаждения в супермаркете представляют собой шкафы показа для молочных продуктов, мяса, овощей, фруктов и т.д., которым требуются температуры охлаждения выше или близкие к точке замерзания. “Низкотемпературная” холодильная схема 26 может в качестве альтернативы или дополнительно обеспечиваться низкотемпературным потребителем (потребителями) 28 охлаждения, каждый из которых содержит низкотемпературное дросселирующее устройство 30 и низкотемпературный испаритель 32. Установка 34 низкотемпературных петлевых компрессоров повышает давление хладагента до давления всасывания многокомпрессорной установки 4. Всасывающая линия 36 соединяет среднетемпературных потребителей 20 охлаждения с установкой 4 компрессоров. Линия 38 высокого давления соединяет выпускное отверстие компрессорной установки 4 со входом отводящего тепло теплообменника 10, а выпускная линия 40 теплообменника подсоединяет выпускное отверстие теплообменника 10 к ресиверу 18. Жидкостная линия 42 соединяет жидкостной участок ресивера 18 с потребителями 20 охлаждения с жидкостной отводной линией 44, подсоединяющей низкотемпературный потребитель 28 охлаждения. Обратная линия 46 соединяет выпускное отверстие низкотемпературной компрессорной установки 34 со всасывающей линией 36. Линия 48 мгновенно испаряющегося газа подсоединяет газовый участок ресивера 18 через дросселирующее устройство 50 мгновенно испаряющегося газа к обратной линии 46 и/или через обратную линию 52 мгновенно испаряющегося газа к компрессору 8 в компрессорной установке 4.
В холодильной схеме 2, как показано в настоящем варианте осуществления, регулирующий вентиль 12 служит в качестве промежуточного дросселирующего устройства для расширения охлажденного хладагента высокого давления до уровня промежуточного давления внутри ресивера 18. Как правило, при работе выпускаемый хладагент в линиях 38 высокого давления имеет относительно высокое давление и высокую температуру. Уровень высокого давления в типичной холодильной схеме CO2 может быть до 120 бар и обычно составляет приблизительно от 40 до 100 бар, и предпочтительно свыше 75 бар в летнем режиме, и от 40 до 70 бар, и предпочтительно приблизительно 45 бар в зимнем режиме. Уровень промежуточного давления обычно не зависит от летнего и зимнего режима и находится между приблизительно 30 и 40 барами и предпочтительно составляет 36 бар. Также давление во всасывающей линии 36 обычно не зависит от летнего и зимнего режима и обычно находится между 25 и 35 барами и предпочтительно составляет 28 бар.
Устройство 16 управления принимает вводимую информацию через линии 54 и/или 56. Например, линия 54 может обеспечивать информацию о температуре хладагента у выпускного отверстия 14 отводящего тепло теплообменника 10, а сигнальная линия 56 может обеспечивать информацию о давлении. Дополнительная линия 58 управления обеспечивает управляющие сигналы для регулирующего вентиля 12. Управляющие сигналы могут представлять собой желательный уровень давления, который должен поддерживать регулирующий вентиль 12 в случае вентиля регулирования давления. В качестве альтернативы управляющие сигналы указывают состояние открытия регулирующего вентиля 12, то есть состояние открытия на х%, где х% находится между 0% (вентиль закрыт) и 100% (вентиль полностью открыт). Устройство 16 управления рассчитывает на основании соответствующей информации, подобной температуре, характеристикам хладагента и т.д., соответствующее управляющее давление, зависящее от эксплуатационного режима, и обеспечивает соответствующую информацию для регулирующего вентиля 12, чтобы поддерживать правильный уровень давления в выпускной линии 40 теплообменника.
На фиг.2 изображена р-Т-диаграмма для хладагента СO2 у выпускного отверстия 14 отводящего тепло теплообменника и регулирующего вентиля 12, соответственно. На фиг.2, в частности, с помощью искусственной линии 60 показано критическое давление при давлении 73,8 бара хладагента СO2, а с помощью искусственной линии 62 – его критическая температура, составляющая 31,1°С. Пересечение искусственных линий 60 и 62 в общем упоминается как “критическая точка”. Кривые 64, 66, 68, 70, 72, 74 и 76 показывают желательное давление хладагента, зависящее от температуры. В частности, кривая 66 является линией давления насыщения хладагента СО2 с кривыми 68, 70, 72, 74 и 76, являющимися соответствующими кривыми, но с недогревом на 2 градуса Кельвина (= кривой 68), на 4 градуса Кельвина (= кривой 70), на 6 градусов Кельвина (= кривой 72), на 8 градусов Кельвина (= кривой 74) и на 10 градусов Кельвина (= кривой 76), по сравнению с кривой 66 давления насыщения. Кривая 64, с другой стороны, указывает теоретическую величину давления в суперкритическом состоянии хладагента для получения оптимального КПД (коэффициента полезного действия) в зависимости от температуры хладагента.
Можно отметить, что кривая 64 для суперкритического давления экстраполируется от суперкритической области в субкритическую область в левую сторону, в то время как кривые 66, 68, 70, 72, 74, 76 для субкритического давления экстраполируются в суперкритическую область. В частности, кривые 66-76 субкритического давления не имеют никакого физического значения вне критической точки, и в частности, выше критического давления. Эта ситуация является аналогичной для экстраполяции кривой 64 суперкритического давления в субкритическую область.
Как можно видеть, кривая 64 для суперкритического давления и кривая 66 для давления насыщения в субкритической области не пересекаются в критической точке или около критической точки. Таким образом, если управление субкритическим давлением выполняется на основании кривой 66 около критической точки, а управление суперкритическим давлением выполняется на основании кривой 64 в суперкритической области около критической точки, имеется существенный промежуток давления, составляющий почти 10 бар, таким образом, чтобы при изменении температуры хладагента относительно критической температуры в 31,1°С будет происходить скачок давления назад и вперед между субкритическим давлением и суперкритическим давлением, приводя к нарушению непрерывности управления. Хотя для других температур недогрева, например для недогрева на 2 градуса Кельвина или для недогрева на 4 градуса Кельвина, пересечение между кривыми 70, 72 субкритического давления и кривой 64 суперкритического давления передвигается к переходу от субкритической к суперкритической области, тем не менее такое нарушение непрерывности существует.
Чтобы решить эту проблему нарушения непрерывности управления, в соответствии с вариантом осуществления настоящего изобретения определяется граничная область рядом с переходом между субкритической и суперкритической областями. Граничная область может быть определена между конкретными температурными величинами. Также можно определять граничную область как область между конкретными величинами давления. Ширина такой граничной области зависит от конкретных кривых, хладагента, величины недогрева и т.д. и может также зависеть от конкретного способа определения давления непрерывности, то есть интерполяции, выбора более высокой величины давления и т.д. Типичная ширина граничной области может находиться между 2 и 10 градусами Кельвина. В частности, в случае пересечения между кривой субкритического давления и кривой суперкритического давления рядом с критическим давлением нет никакой необходимости фактически определять пределы граничного режима. В таком случае можно использовать кривую субкритического давления в температурном диапазоне ниже точки пересечения и кривой суперкритического давления, когда температура находится выше точки пересечения.
Например, если кривая 72 субкритического давления (недогрев на 4 градуса Кельвина) и кривая 64 суперкритического давления используются для управления высоким давлением у выпускного отверстия 14 отводящего тепло теплообменника, точка пересечения между этими кривыми будет слегка ниже критической температуры, приблизительно при 30,7°С, и управление регулирующим вентилем 12 будет выполняться на основании более высокой величины для субкритического давления и суперкритического давления, то есть на основании кривой 72 субкритического давления для температур ниже 30,7°С и на основании кривой 64 суперкритического давления для температур выше такой величины.
В качестве альтернативного примера, если регулирование давления необходимо обеспечивать на основании кривой 76 субкритического давления (недогрев на 10 градусов Кельвина) в субкритической области и кривой 64 суперкритического давления в суперкритической области, очевидно, что нет никакого пересечения между такими кривыми, насколько они показаны на фиг.2. Пересечение может быть существенно выше критической температуры. В таком случае определение “давления непрерывности” на основании “способа более высокой кривой” не может быть функциональным. Вместо этого может использоваться альтернативный способ интерполяции. С этой целью граничная область может быть определена, например, между 28 и 33°С, а кривая 78 давления непрерывности может быть установлена между точками 80 и 82 пересечения кривой 76 с нижним пределом граничной области и точкой 82 пересечения между кривой 64 и верхним пределом граничной области (фиг.3). Следует отметить, что в примере на фиг.3 верхний и нижний пределы граничной области выбраны случайно. Также могут использоваться другие пределы граничной области. В этом примере, как показано на фиг.3, кривая 78 давления непрерывности является прямой линией между точками 80 и 82 пересечения.
Таким образом, в соответствии с вариантами осуществления изобретения, как представлено в данном описании, может быть достигнуто непрерывное регулирование высоким давлением хладагента у выпускного отверстия отводящего тепло теплообменника 10.
Формула изобретения
1. Способ управления периодически функционирующей суперкритически холодильной схемой (2) для прокачивания хладагента в предварительно определенном направлении потока, содержащей в направлении потока компрессор, отводящий тепло теплообменник (10), регулирующий вентиль (12), связанный с выпускным отверстием (14) отводящего тепло теплообменника (10), и устройство (16) управления для управления регулирующим вентилем (12), при этом способ включает следующие стадии: (a) в субкритическом режиме – управление регулирующим вентилем (12) так, чтобы поддерживать предварительно определенное «субкритическое давление», обеспечивающее предварительно определенный недогрев жидкого хладагента у выпускного отверстия (14) отводящего тепло теплообменника (10), (b) в суперкритическом режиме – управление регулирующим вентилем (12) так, чтобы поддерживать предварительно определенное «суперкритическое давление», которое оптимизировано для получения оптимальной эффективности, суперкритического хладагента у выпускного отверстия (14) отводящего тепло теплообменника (10), и (c) в граничном режиме в граничной области, находящейся рядом с критической точкой, – управление регулирующим вентилем (12) в зависимости от «давления непрерывности», которое определяется на основании предварительно определенного «субкритического давления» и предварительно определенного «суперкритического давления» стадий (а) и (b).
2. Способ по п.1, в котором давление непрерывности определяют на стадии (c) посредством определения «субкритического давления» и «суперкритического давления» для конкретного эксплуатационного состояния в соответствии со стадиями (а) и (b) и выбора более высокого давления из «субкритического давления» и «суперкритического давления».
3. Способ по п.1, в котором давление непрерывности определяют на стадии (с) на основании интерполяции для величин давления в пределах граничной области между «субкритическим давлением» на нижнем пределе граничной области и «суперкритическим давлением» на верхнем пределе граничной области.
4. Способ по любому из пп.1-3, в котором стадия (а) включает определение «субкритического давления» на основании температуры и линии давления насыщения хладагента и принимая во внимание недогрев хладагента по сравнению с давлением насыщения.
5. Способ по п.4, в котором недогрев хладагента по сравнению с давлением насыщения составляет до 10К и предпочтительно находится между недогревом на 6К и 2К.
6. Способ по любому из пп.1-3, в котором стадия (b) включает определение «суперкритического давления» на основании температуры хладагента так, чтобы коэффициент полезного действия холодильной схемы (2) находился по существу на оптимальном значении.
7. Способ по п.4, в котором стадия (b) включает определение «суперкритического давления» на основании температуры хладагента так, чтобы коэффициент полезного действия холодильной схемы (2) находился по существу на оптимальном значении.
8. Способ по п.5, в котором стадия (b) включает определение «суперкритического давления» на основании температуры хладагента так, чтобы коэффициент полезного действия холодильной схемы (2) находился по существу на оптимальном значении.
9. Способ по любому из пп.1-3, в котором регулирующий вентиль (12) является вентилем регулирования давления и в котором в зависимости от эксплуатационного режима соответствующее одно из «субкритического давления», «давления непрерывности» и «суперкритического давления» управляет функционированием вентиля регулирования давления.
10. Способ по п.4, в котором регулирующий вентиль (12) является вентилем регулирования давления и в котором в зависимости от эксплуатационного режима соответствующее одно из «субкритического давления», «давления непрерывности» и «суперкритического давления» управляет функционированием вентиля регулирования давления.
11. Способ по п.5, в котором регулирующий вентиль (12) является вентилем регулирования давления и в котором в зависимости от эксплуатационного режима соответствующее одно из «субкритического давления», «давления непрерывности» и «суперкритического давления» управляет функционированием вентиля регулирования давления.
12. Способ по п.6, в котором регулирующий вентиль (12) является вентилем регулирования давления и в котором в зависимости от эксплуатационного режима соответствующее одно из «субкритического давления», «давления непрерывности» и «суперкритического давления» управляет функционированием вентиля регулирования давления.
13. Способ по п.7, в котором регулирующий вентиль (12) является вентилем регулирования давления и в котором в зависимости от эксплуатационного режима соответствующее одно из «субкритического давления», «давления непрерывности» и «суперкритического давления» управляет функционированием вентиля регулирования давления.
14. Способ по п.8, в котором регулирующий вентиль (12) является вентилем регулирования давления и в котором в зависимости от эксплуатационного режима соответствующее одно из «субкритического давления», «давления непрерывности» и «суперкритического давления» управляет функционированием вентиля регулирования давления.
15. Холодильная схема (2) для прокачивания хладагента в предварительно определенном направлении потока, содержащая в направлении потока компрессор, отводящий тепло теплообменник (10), регулирующий вентиль (12), связанный с выпускным отверстием (14) отводящего тепло теплообменника (10), и устройство (16) управления, выполненное с возможностью управления регулирующим вентилем (12) (a) в субкритическом режиме так, чтобы поддерживать предварительно определенное «субкритическое давление», обеспечивающее предварительно определенный недогрев жидкого хладагента у выпускного отверстия (14) отводящего тепло теплообменника (10), (b) в суперкритическом режиме так, чтобы поддерживать предварительно определенное «суперкритическое давление», которое оптимизировано для получения оптимальной эффективности, суперкритического хладагента у выпускного отверстия (14) отводящего тепло теплообменника (10), и (c) в граничном режиме в граничной области, находящейся рядом с критической точкой, в зависимости от «давления непрерывности», которое определяется на основании предварительно определенного «субкритического давления» и предварительно определенного «суперкритического давления» (а) и (b).
16. Холодильная схема (2) по п.15, в которой регулирующий вентиль (12) представляет собой вентиль регулирования давления.
17. Холодильная схема (2) по п.15 или 16, в которой устройство (16) управления объединено с регулирующим вентилем (12).
18. Устройство охлаждения, содержащее холодильную схему (2) по п.15 или 16.
19. Устройство охлаждения, содержащее холодильную схему (2) по п.17.
РИСУНКИ
|
|