|
|
(21), (22) Заявка: 2008119854/06, 19.05.2008
(24) Дата начала отсчета срока действия патента:
19.05.2008
(46) Опубликовано: 20.11.2009
(56) Список документов, цитированных в отчете о поиске:
RU 2306485 C1, 20.09.2007. RU 2112602 C1, 10.06.1998. RU 2306486 C1, 20.09.2007. US 2496281 A, 07.02.1950. US 4961389 A, 09.10.1990.
Адрес для переписки:
454080, г.Челябинск, пр. им. В.И. Ленина, 76, ЮУрГУ, технический отдел
|
(72) Автор(ы):
Осинцев Владимир Валентинович (RU), Осинцев Константин Владимирович (RU), Карнаухов Николай Владимирович (RU)
(73) Патентообладатель(и):
Государственное образовательное учреждение высшего профессионального образования “Южно-Уральский государственный университет” (RU), Закрытое акционерное общество “Ураллесэнерго”-Урал”, ЗАО “Ураллесэнерго”-Урал” (RU)
|
(54) ЗОЛОУЛОВИТЕЛЬ ОСАДИТЕЛЬНОГО ТИПА
(57) Реферат:
Устройство относится к энергетике и может быть использовано на котлах, сжигающих древесные отходы. Золоуловитель содержит, по крайней мере, один вихревой золоконцентратор с осесимметричным кольцевым каналом, встроенным в него лопаточным завихрителем, патрубком прямоточного ввода газозолового потока, окном прямоточного выпуска очищенного газового потока, окном бокового выпуска золонасыщенного потока, вертикальную призматическую четырехгранную осадительную камеру, имеющую лобовую стену с, по крайней мере, одним окном ввода золонасыщенного потока, заднюю стену с окном выпуска очищенного газа, боковые стены, потолочное перекрытие, под с золовыводящим окном, внутреннюю полость со встроенным узлом из вертикальных золоосадительных пластин, а также плоский вертикально-щелевой патрубок золонасыщенного потока, соединяющий окно бокового выпуска золоконцентратора и окно ввода золонасыщенного потока лобовой стены золоосадительной камеры. Особенностью устройства является установка в центре окна бокового выпуска золоконцентратора дополнительного лопаточного завихрителя, выполнение окна прямоточного выпуска очищенного газа в виде диафрагмы, выполнение плоского вертикально-щелевого соединительного патрубка золонасыщенного потока в виде раскрывающегося в сторону пода осадительной камеры одностороннего диффузора, выполнение узла золоосадительных пластин во внутренней полости осадительной камеры в виде, по крайней мере, одного вертикального короба-ловушки с задней, боковыми и лобовой стенами, имеющим на лобовой стене собственное продольно-вертикальное окно, общее для ввода золонасыщенного и вывода очищенного газов, и подовое золовыводящее окно. Изобретение позволяет повысить эффективность золоулавливания из продуктов сгорания перед дымовыми трубами котлов, сжигающих древесные отходы. 4 ил.
Изобретение относится к энергетике и может быть использовано на котлах, сжигающих древесные отходы.
Известен золоуловитель, содержащий циклонный золоконцентратор с патрубковой системой тангенциального ввода газозоловых потоков, окнами прямоточного выпуска очищенных газовых потоков и подовыми окнами для вывода золы (Аэродинамический расчет котельных установок. Нормативный метод. Издание третье, под ред. С.И.Мочана. Энергия, Л., 1977, гл.III-Д. Золоуловители, с.89). Недостаток золоуловителя – низкая эффективность вывода золы из потоков продуктов сгорания перед дымовыми трубами котлов, сжигающих древесные отходы.
Известен золоуловитель скрубберного типа, содержащий циклонную камеру с патрубком тангенциального ввода газозоловых потоков, оснащенную системой водоорошения, окнами прямоточного выпуска очищенных газов и подовым окном вывода водозоловой смеси (патент RU 2306485; МПК F23J 3/04 от 05.06.2006 г., БИ 26 от 2007 г.). Недостаток золоуловителя – низкая эффективность вывода золы из потоков продуктов сгорания перед дымовыми трубами при сжигании древесных отходов, а также потребность в большом расходе воды на орошение, возникающая необходимость в очистке стоков.
Известен золоуловитель матерчатого типа, содержащий многорукавный газоход с фильтрующими элементами (Котельные установки. Том 2. Котельные агрегаты. Вспомогательные устройства и эксплуатация котельных установок. К.Ф.Роддатис, Э.И.Ромм, Н.А.Семененко и др. Госэнергоиздат, М-Л., 1946, с.464-465, рис.). Недостаток изобретения – невысокая надежность и сложность эксплуатации матерчатых элементов при очистке продуктов сгорания с крупными частицами золы после котлов, сжигающих древесные отходы.
Известен вихревой пылеконцентратор с осесимметричным кольцевым каналом, встроенным в него лопаточным завихрителем, патрубковой системой прямоточного ввода пылегазового потока, окном прямоточного выпуска газового потока с примесью мелкодисперсной пыли низкой концентрации, а также окном бокового выпуска пыле- и золонасыщенного потока, подключенным соединительным патрубком к системе пылегазовыпуска (“Проектирование топок с твердым шлакоудалением”. Дополнение к нормативному методу теплового расчета котельных агрегатов. Под редакцией В.В.Митора и Ю.Л.Маршака. Руководящие указания. Вып.42. Л.: 1981, с.82-87). Недостаток устройства – невысокая эффективность пыле(золо)улавливания из потоков продуктов сгорания перед дымовыми трубами котлов, сжигающих древесные отходы.
Наиболее близким аналогом является золоуловитель осадительного типа, содержащий, по крайней мере, один вихревой золоконцентратор с осесимметричным кольцевым каналом, встроенным в него лопаточным завихрителем, патрубком прямоточного ввода газозолового потока, окном прямоточного выпуска очищенного газового потока, окном бокового выпуска золонасыщенного потока, вертикальную призматическую четырехгранную осадительную камеру, имеющую лобовую стену с, по крайней мере, одним окном ввода золонасыщенного потока, заднюю стену с окном выпуска очищенного газа, боковые стены, потолочное перекрытие, под с золовыводящим окном, внутреннюю полость со встроенным узлом из вертикальных золоосадительных пластин, а также плоский вертикально-щелевой патрубок золонасыщенного потока, соединяющий окно бокового выпуска золоконцентратора и окно ввода золонасыщенного потока лобовой стены золоосадительной камеры (Аэродинамический расчет котельных установок. Нормативный метод. Издание третье, под ред. С.И.Мочана. Энергия, Л., 1977, гл.III-Д. Золоуловители, с.73-78). Недостаток устройства – невысокая эффективность золоулавливания из потоков продуктов сгорания перед дымовыми трубами котлов, сжигающих древесные отходы, а также необходимость в эксплуатационных энергозатратах для создания в установке электрического поля.
Задача изобретения – повышение эффективности золоулавливания из потоков продуктов сгорания перед дымовыми трубами котлов, сжигающих древесные отходы.
Для этого в золоуловителе осадительного типа, содержащем, по крайней мере, один вихревой золоконцентратор с осесимметричным кольцевым каналом, встроенным в него лопаточным завихрителем, патрубком прямоточного ввода газозолового потока, окном прямоточного выпуска очищенного газового потока, окном бокового выпуска золонасыщенного потока, вертикальную призматическую четырехгранную осадительную камеру, имеющую лобовую стену, по крайней мере, с одним окном ввода золонасыщенного потока, заднюю стену с окном выпуска очищенного газа, боковые стены, потолочное перекрытие, под с золовыводящим окном, внутреннюю полость со встроенным узлом из вертикальных золоосадительных пластин, а также плоский вертикально-щелевой патрубок золонасыщенного потока, соединяющий окно бокового выпуска золоконцентратора и окно ввода золонасыщенного потока лобовой стены золоосадительной камеры, согласно изобретению в центре окна бокового выпуска золоконцентратора установлен дополнительный лопаточный завихритель, а окно прямоточного выпуска очищенного газа выполнено в виде диафрагмы, плоский вертикально-щелевой соединительный патрубок золонасыщенного потока выполнен в виде раскрывающегося в сторону пода осадительной камеры одностороннего диффузора, узел золоосадительных пластин во внутренней полости осадительной камеры выполнен в виде, по крайней мере, одного вертикального короба-ловушки с задней, боковыми и лобовой стенами, имеющего на лобовой стене собственное продольно-вертикальное окно, общее для ввода золонасыщенного и вывода очищенного газов, и подовое золовыводящее окно.
Наличие дополнительного лопаточного завихрителя и диафрагмы в золоконцентраторе с одновременным выполнением соединительного патрубка в виде плоского раскрывающегося в сторону пода осадительной камеры диффузора обеспечивает эффективный вывод наиболее крупных частиц в осадительную камеру, а выполнение узла из золоосадительных пластин в виде вертикального короба-ловушки с заднией, боковыми и лобовой стенами, имеющего собственное продольно-вертикальное окно ввода насыщенного золой и вывода очищенного газов, и подовое золовыводящее окно обеспечивает эффективное осаждение золовых частиц на поверхность пластин и их стекание в сборный бункер.
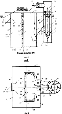
Сущность изобретения поясняется чертежами, где на фиг.1 представлена схема предлагаемого золоуловителя осадительного типа с одним золоконцентратором и одним коробом-ловушкой в осадительной камере, продольный разрез; на фиг.2 – разрез по А-А на фиг.1, вид в плане; на фиг.3 – вариант конструкции золоуловителя с двумя золоконцентраторами и несколькими коробами-ловушками в осадительной камере; на фиг.4 – вариант конструкции золоуловителя с тремя золоконцентраторами и одним коробом-ловушкой в осадительной камере.
Золоуловитель осадительного типа на фиг.1, 2 содержит вихревой золоконцентратор 1, имеющий осесимметричный кольцевой канал 2, встроенный в него лопаточный завихритель 3, патрубок прямоточного ввода зологазового потока 4 (далее по тексту патрубок прямоточного ввода), окно прямоточного выпуска очищенного газового потока 5, окно бокового выпуска золонасыщенного потока 6, вертикальную призматическую четырехгранную осадительную камеру 7, имеющую лобовую стену 8 с окном ввода золонасыщенного потока 9, заднюю стену 10 с окном выпуска очищенного газа 11, боковые стены 12, 13, потолочное перекрытие 14, под 15 с золовыводящим окном 16, внутреннюю полость 17 со встроенным узлом из вертикальных золоосадительных пластин 18, а также плоский вертикально-щелевой патрубок золонасыщенного потока 19, соединяющий окно бокового выпуска золонасыщенного потока 6 золоконцентратора 1 и окно ввода золонасыщенного потока 9 лобовой стены 8 золоосадительной камеры 7. Особенностью золоуловителя является установка в центре окна бокового выпуска золонасыщенного потока 6 золоконцентратора 1 дополнительного лопаточного завихрителя 20, выполнение окна прямоточного выпуска очищенного газа 5 в виде диафрагмы, выполнение плоского вертикально-щелевого соединительного патрубка 19 золонасыщенного потока между золоконцентратором 1 и осадительной камерой 7 в виде раскрывающегося в сторону подового окна 16 осадительной камеры 7 одностороннего диффузора, выполнение узла золоосадительных пластин 18 во внутренней полости 17 осадительной камеры 7 в виде вертикального короба-ловушки с задней 21, боковыми 22 и лобовой 23 стенами, имеющего на лобовой стене 23 собственное продольно-вертикальное окно 24, общее для ввода насыщенного золой и вывода очищенного газов, и подовое золовыводящее окно 25.
Работа золоуловителя осадительного типа по фиг.1, 2 осуществляется путем подачи в золоконцентратор 1 через патрубок прямоточного ввода 4 зологазового потока 26, эвакуируемого из котла (на фиг.1, 2 не показан), сжигающего древесные отходы. Из патрубка прямоточного ввода 4 зологазовый поток 26 направляется в осесимметричный кольцевой канал 2 со встроенными в него лопаточным завихрителем 3. В лопаточном завихрителе 3 наиболее крупные частицы 27 отжимаются к периферии осесимметричного кольцевого канала 2 и через боковые окна выпуска золонасыщенного потока 6 поступают в соединительный патрубок 19. В дополнительном лопаточном завихрителе 20 и на диафрагменной поверхности 28 окна прямоточного выпуска очищенного газового потока 5 происходит дополнительный вывод частиц в соединительный патрубок 19. Основная масса очищенного газа 29 с мелкодисперсной золой через окно прямоточного выпуска очищенного газового потока 5 отводится к дымососу и в дымовую трубу (на фиг.1, 2 не показана), часть газа с отсеянными крупными частицами золы 27 через соединительный патрубок 19 направляется в окно ввода золонасыщенного потока 9 осадительной камеры 7; во внутренней полости 17 осадительной камеры 7 высококонцентрированная зологазовая смесь попадает в узел золоосадительных пластин 18 и оставляет в ней крупные частицы золы 27. Крупные частицы золы 27 накапливаются на узле золоосадительных пластин 18 и стекают вниз к подовому золовыводящему окну 25, далее через основное золовыпускное окно 16 пода 15 в бункер-накопитель золы (на фиг.1, 2 не показан). Очищенный поток газа 30 из осадительной камеры 7 поступает в окно выпуска очищенного газа 11 задней стены 10 осадительной камеры 7 и далее к дымососу и в дымовую трубу. Разделением зологазового потока 26 в золоконцентраторе 1 на основную массу очищенного газа 29 и высококонцентрированный зологазовый поток с крупными частицами золы 27 позволяет снизить расход и скорость газа в осадительной камере 7 до величины, меньшей, чем скорость витания крупных частиц золы 27 во взвешенном состоянии, что и удерживает последние от выноса из узла золоосадительных пластин 18.
Изобретение может быть реализовано также в золоуловителе, представленном на фиг.3. Здесь введены те же обозначения, что и для описанного выше устройства на фиг.1, 2. К этому золоуловителю можно подключить сразу два котла, работающих на древесных отходах, в соответствии с числом патрубков прямоточного ввода 4 и золоконцентраторов 1.
Работа золоуловителя по фиг.3 аналогична работе золоуловителя по фиг.1, 2. Эффективность золоуловителя по фиг.3 повышена путем использования двух золоконцентраторов 1.
Изобретение может быть реализовано также в золоуловителе, представленном на фиг.4. Здесь введены те же обозначения, что и для описанного выше устройства на фиг.1, 2.
Работа золоуловителя по фиг.4 осуществляется тем путем, что и золоуловителя по фиг.1, 2. По числу имеющихся золоконцентраторов к устройству можно подключить сразу три котла, работающих на древесных отходах.
Таким образом, устройство золоуловителя многофункционально, способно работать как от одного котла (фиг.2), так и двух (фиг.3), трех (фиг.4) котлов – по количеству подводящих патрубков 4 и золоконцентраторов 1.
Практическое использование предлагаемого золоуловителя связано с котлами, сжигающими древесные отходы, в частности с топками скоростного типа, имеющих значительный вынос крупнофракционных частиц золы. Установкой предлагаемого устройства на фиг.1, 3 на котлах КЕ – 6,5-13 (6,5 тонн пара в час) достигнута существенная эффективность золоулавливания древесной золы. В частности, по сравнению с демонтированной циклонной установкой объем собираемой в подбункере золы увеличился в 4-5 раз. Дальнейшее повышение эффективности устройства зависит от большого числа факторов как режимного, так и конструктивного характера. Их определение связано с наладочным испытанием установки и последующими конструктивными проработками узлов и деталей. Данные факторы вынесены за границы предложения, в заявке не рассматриваются.
Формула изобретения
Золоуловитель осадительного типа, содержащий, по крайней мере, один вихревой золоконцентратор с осесимметричным кольцевым каналом, встроенным в него лопаточным завихрителем, патрубком прямоточного ввода газозолового потока, окном прямоточного выпуска очищенного газового потока, окном бокового выпуска золонасыщенного потока, вертикальную призматическую четырехгранную осадительную камеру, имеющую лобовую стену с, по крайней мере, одним окном ввода золонасыщенного потока, заднюю стену с окном выпуска очищенного газа, боковые стены, потолочное перекрытие, под с золовыводящим окном, внутреннюю полость со встроенным узлом из вертикальных золоосадительных пластин, а также плоский вертикально-щелевой патрубок золонасыщенного потока, соединяющий окно бокового выпуска золоконцентратора и окно ввода золонасыщенного потока лобовой стены золоосадительной камеры, отличающийся тем, что в центре окна бокового выпуска золоконцентратора установлен дополнительный лопаточный завихритель, а окно прямоточного выпуска очищенного газа выполнено в виде диафрагмы, плоский вертикально-щелевой соединительный патрубок золонасыщенного потока выполнен в виде раскрывающегося в сторону пода осадительной камеры одностороннего диффузора, узел золоосадительных пластин во внутренней полости осадительной камеры выполнен в виде, по крайней мере, одного вертикального короба-ловушки с задней, боковыми и лобовой стенами, имеющего на лобовой стене собственное продольно-вертикальное окно, общее для ввода золонасыщенного и вывода очищенного газов, и подовое золовыводящее окно.
РИСУНКИ
|
|