|
|
(21), (22) Заявка: 2007110884/06, 23.03.2007
(24) Дата начала отсчета срока действия патента:
23.03.2007
(43) Дата публикации заявки: 27.09.2008
(46) Опубликовано: 20.11.2009
(56) Список документов, цитированных в отчете о поиске:
SU 1830121 A3, 23.07.1993. RU 2285179 С2, 10.10.2006. RU 2269052 С2, 27.01.2006. RU 2278313 C2, 20.06.2006. US 3937249 A, 10.02.1976. US 3756276 A, 04.09.1973. JP 57154565 A, 24.09.1982.
Адрес для переписки:
620014, г.Екатеринбург, ул. Сакко и Ванцетти, 48, кв.4, Г.Г.Халаеву
|
(72) Автор(ы):
Халаев Григорий Григорьевич (RU)
(73) Патентообладатель(и):
Халаев Григорий Григорьевич (RU)
|
(54) КЛАПАН ОБРАТНЫЙ
(57) Реферат:
Изобретение относится к нефтегазодобывающей промышленности и предназначено для использования в насосах, перекачивающих вязкие жидкости, в частности в скважинных штанговых насосах, применяемых для механизированной добычи нефти из скважин. Клапан обратный содержит корпус с камерой. В камере размещены клетка, седло и взаимодействующий с седлом запорный орган с направляющей, уплотнительной поверхностью и цилиндрическим хвостовиком. В корпусе установлена разрезная защитная втулка. В направлении оси корпуса выполнены расточки с буртиками. С одной стороны в корпусе установлено седло с зазором между внутренним диаметром расточки и седлом. Седло зафиксировано в корпусе патрубком через резьбовые элементы. С другой стороны в корпусе установлена клетка с каналами для протока жидкости и с центральным отверстием. Клетка фиксируется резьбовым кольцом. Над седлом через центральное отверстие клетки установлен запорный орган с хвостовиком и резьбовым наконечником и с кольцевым зазором для протока жидкости между запорным органом и камерой. На торце запорного органа установлен грузовой винт для изменения его веса. Седло, перегородка, запорный орган и разрезная защитная втулка выполнены из коррозионно-стойкого полимерного материала. Изобретение направлено на повышение надежности, на повышение удобства обслуживания и на сокращение ремонтов скважин, оснащенных штанговыми насосами с вышеупомянутым клапаном. 5 ил.
Изобретение относится к нефтегазодобывающей промышленности и может быть использовано в насосах, перекачивающих вязкие жидкости, в частности в скважинных штанговых насосах, применяемых для механизированной добычи нефти из скважин.
Известны клапаны обратные, содержащие седло, запорный орган, выполненный в виде шарика (см. Уплотнения и уплотнительная техника: Справочник. Л.А.Кондаков и другие. 2-е издание перераб. и доп. – М.: Машиностроение, 1994 г., стр.225, рис.7, 10, п).
Недостатком известного клапана является сложность изготовления, особенно в индивидуальной притирке седла и шарика, что исключает их взаимозаменяемость, надежность в процессе эксплуатации.
Известен клапан обратный, содержащий корпус с камерой, в которой размещены клетка, седло и взаимодействующий с седлом запорный орган с направляющей, уплотнительной поверхностью и хвостовиком (SU 1830121 A3, кл. F16К 15/02, 23.07.1993).
Недостатками известного клапана являются ненадежность в процессе эксплуатации, особенно из-за электрохимической коррозии поверхностей, обеспечивающих их герметичность в скважине, сложность в изготовлении, требующая индивидуального притира седла и запорного органа.
Задача изобретения состоит в исключении как индивидуальной притирки седел и запорных органов, так и в исключении процессов электрохимической коррозии их поверхностей в скважинах, в обеспечении взаимозаменяемости, в повышении надежности и в сокращении ремонтов скважин, оснащенных штанговыми насосами, в удобстве обслуживания и их конкурентоспособности.
Технический результат достигается тем, что клапан обратный, содержащий корпус с камерой, в которой размещены клетка, седло и взаимодействующий с седлом запорный орган с направляющей, уплотнительной поверхностью и хвостовиком, отличающийся тем, что в корпусе установлена разрезная защитная втулка, в направлении оси корпуса выполнены расточки с буртиками и установлены с одной стороны седло с зазором, образованным между внутренним диаметром расточки и седлом, фиксируемым в корпусе патрубком через резьбовые элементы, а с другой стороны клетка с каналами для протока жидкости и с центральным отверстием, фиксируемая резьбовым кольцом, при этом над седлом через центральное отверстие клетки установлен запорный орган с цилиндрическим хвостовиком и резьбовым наконечником и с кольцевым зазором для протока жидкости между запорным органом и камерой, причем на торце запорного органа установлен грузовой винт для изменения его веса, при этом седло, перегородка, запорный орган и разрезная защитная втулка выполнены из коррозионно-стойкого полимерного материала.
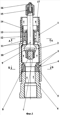
На фиг.1 изображен клапан обратный в открытом положении в скважине.
На фиг.2 изображен клапан обратный в закрытом положении в скважине.
На фиг.3 сечение А-А на фиг.1.
На фиг.4 сечение Б-Б на фиг.1.
На фиг.5 сечение В-В на фиг.3.
Клапан обратный содержит:
– корпус клапана 1,
– камеру 2, выполненную в корпусе 1,
– расточку с буртиком 3,
– седло 4,
– уплотняемую поверхность 5 седла 4, выполненную, например, конической,
– патрубок 6,
– запорный орган 7,
– винт грузовой 8 для расчетного изменения веса запорного органа 7 в зависимости от коэффициента вязкости нефти (жидкости),
– уплотнительную поверхность 9, выполненную, например, конической на запорном органе 7,
– цилиндрический хвостовик 10 запорного органа 7,
– расточку с буртиком 11,
– клетку 12,
– центральное отверстие 13, выполненное в клетке 12,
– резьбовое кольцо 14,
– резьбовой наконечник 15,
– винт предохранительный 16,
– каналы для протока жидкости 17, выполненные в клетке 12,
– разрезную защитную втулку 18 (фиг.2),
– кольцевой зазор ( 2) 19 между запорным органом 7 и камерой 2 для протока жидкости (фиг.2),
– зазор ( 3) 20 между внутренним диаметром расточки и седлом, обеспечивается при стационарной сборке клапана обратного (фиг.4),
– ремонтный зазор ( 1) 21 (фиг.2).
В статическом положении элементы конструкции клапана обратного взаимодействуют следующим образом.
В камеру 2, выполненную в корпусе клапана 1, устанавливают предварительно сжатую для обеспечения сборки через расточку с буртиком 3 или расточку с буртиком 11 разрезную защитную втулку 18.
В расточку с буртиком 3, выполненную в корпусе клапана 1, устанавливают седло 4 и фиксируют через резьбовые элементы патрубком 6.
В расточку с буртиком 11 устанавливают клетку 12 совместно с запорным органом 7, проходящим цилиндрической хвостовой частью 10 через центральное отверстие 13, выполненное в клетке 12, и фиксируют с помощью резьбового кольца 14 в корпусе клапана 1.
Через резьбовые элементы на цилиндрический хвостовик 10 устанавливают наконечник 15 с образованием размера ( 1) 21 и дополнительно через резьбовой наконечник 15 устанавливают винт предохранительный 16 в цилиндрический хвостовик 10.
В собранном виде клапан обратный соединяют, например, через резьбовые элементы с плунжером вставного насоса, если клапан нагнетательный или, например, с корпусом вставного насоса, если клапан всасывающий.
Для не вставных насосов аналогично (Середа Н.Г. и др. Спутник нефтяника и газовика. Справочник. – М.: Недра, стр.224) (не показано).
В динамическом положении, в скважине, элементы конструкции клапана обратного взаимодействуют следующим образом.
При движении плунжера вставного насоса вверх (на устье скважины движение балансира станка-качалки вверх) клапан обратный, выполняющий функцию всасывающего клапана, открывается (фиг.1), а клапан обратный, выполняющий функцию нагнетательного клапана, в результате взаимодействия уплотнительной поверхности 9, выполненной на запорном органе 7 и уплотняемой поверхности 5, выполненной на седле 4, под действием давления столба жидкости в лифте насосно-компрессорных труб и дополнительно под действием давления нефтесбора закрывается и нефть через кольцевой зазор ( 2) 19 (фиг.2) и каналы для протока жидкости 17 (фиг.3), выполненные в клетке 12 всасывающего клапана по направлению, указанному стрелками на фиг.1, заполняет объем между нагнетательным и всасывающим клапанами.
Одновременно при движении балансира станка-качалки вверх (при закрытом нагнетательном клапане) нефть по лифту насосно-компрессорных труб нагнетается на устье скважины и далее в нефтесбор.
При движении плунжера вставного насоса вниз (на устье скважины движение балансира станка-качалки вниз) клапан обратный, выполняющий функцию всасывающего клапана, под действием давления столба жидкости в лифте насосно-компрессорных труб и дополнительно под действием давления нефтесбора закрывается, а клапан обратный, выполняющий функцию нагнетательного клапана, открывается и нефть через кольцевой зазор ( 2) 19 и каналы для протока жидкости, выполненные в клетке 12 нагнетательного клапана, заполняет объем между внутренним диаметром насосно-компрессорных труб и штанговой подвески.
Наличие в конструкции клапана обратного разрезной защитной втулки 18 (фиг.2), выполненной из полимерного материала, например, из полиамида, исключает отложения парафинов в процессе эксплуатации в камере 2 и предохраняет камеру от воздействия коррозии и тем самым обеспечивает проход нефти через клапан в процессе эксплуатации.
Наличие зазора ( 3) 20 между внутренним диаметром расточки 3 и седлом 4 (фиг.4) при стационарной сборке клапана обратного исключает искажение уплотняемой поверхности 5 седла 4 при эксплуатации клапана обратного в скважине при пластовых температурах до 100°С и выше из-за различных коэффициентов расширения материалов, используемых на изготовление корпуса и седла.
Выполнение ребер клетки 12 под острым углом (фиг.5) уменьшает гидравлическое сопротивление жидкости, проходящей через клапан, и тем самым обеспечивает открытие и закрытие клапана в соответствии с частотой качания балансира станка-качалки на устье скважины.
Дополнительно наличие грузового винта 8 позволяет изменить вес запорного органа 7 в зависимости от коэффициента вязкости нефти и обеспечить регулирование как открытия, так и закрытия клапана в соответствии с частотой качания балансира станка-качалки на устье скважины.
Использование полимерного материала для изготовления запорного органа 7, седла 4, клетки 12 исключает отложения парафинов внутрь клапана и исключает электрохимическую коррозию уплотнительной 9 и уплотняемой 5 поверхностей запорного органа 7 и седла 4, что увеличивает надежность эксплуатации клапана в скважине.
При ремонтных операциях для восстановления герметичности клапана необходимо выдержать зазор ( 1=1 мм ÷ 2 мм, фиг.2) 21 подрезкой клетки 12 или резьбового наконечника 15.
Предложенное новое техническое решение клапана обратного отличается от известных технических решений новизной, просто в изготовлении, надежно в эксплуатации, ремонтопригодно, конкурентоспособно и его использование в скважинных штанговых насосах, применяемых для механизированной добычи нефти из скважин, обеспечит положительный технико-экономический эффект.
Формула изобретения
Клапан обратный, содержащий корпус с камерой, в которой размещены клетка, седло и взаимодействующий с седлом запорный орган с направляющей, уплотнительной поверхностью и хвостовиком, отличающийся тем, что в корпусе установлена разрезная защитная втулка, в направлении оси корпуса выполнены расточки с буртиками и установлены с одной стороны седло с зазором, образованным между внутренним диаметром расточки и седлом, фиксируемым в корпусе патрубком через резьбовые элементы, а с другой стороны – клетка с каналами для протока жидкости и с центральным отверстием, фиксируемая резьбовым кольцом, при этом над седлом через центральное отверстие клетки установлен запорный орган с цилиндрическим хвостовиком и резьбовым наконечником и с кольцевым зазором для протока жидкости между запорным органом и камерой, причем на торце запорного органа установлен грузовой винт для изменения его веса, при этом седло, перегородка, запорный орган и разрезная защитная втулка выполнены из коррозионно-стойкого полимерного материала
РИСУНКИ
|
|