|
(21), (22) Заявка: 2008120101/11, 20.05.2008
(24) Дата начала отсчета срока действия патента:
20.05.2008
(46) Опубликовано: 20.11.2009
(56) Список документов, цитированных в отчете о поиске:
RU 2125189 C1, 20.01.1999. RU 2260148 C2, 10.09.2005. JP 2000136810 A, 16.05.2000. SU 626258 A, 14.08.1978. RU 56978 U1, 27.09.2006.
Адрес для переписки:
183038, г.Мурманск, ул. Коминтерна, 15, ОАО “Мурманское морское пароходство”, Служба технического развития, пат. пов. О.А. Кузьминой
|
(72) Автор(ы):
Цветков Алексей Петрович (RU)
(73) Патентообладатель(и):
Открытое акционерное общество “Мурманское морское пароходство” (RU)
|
(54) БЫСТРОРАЗЪЕМНОЕ СОЕДИНЕНИЕ
(57) Реферат:
Изобретение относится к машиностроению и может быть применено в конструкциях, требующих частого и быстрого разъема. Быстроразъемное соединение содержит установленный в отверстиях соединяемых деталей цилиндрический стержень, имеющий конец с головкой и свободный конец, а также пружину-фиксатор. Пружина-фиксатор снабжена крепежными деталями и выполнена с двумя параллельными ветвями с концами, закрепленными посредством крепежных деталей на соединяемой детали с противоположной относительно головки стержня стороны. Свободный конец стержня выполнен с параллельно расположенными относительно друг друга двумя лысками и соответственно двумя канавками. Лыски и канавки расположены относительно друг друга взаимно перпендикулярно. Лыски выполнены размерами, позволяющими свободное прохождение свободного конца стержня между ветвями пружины-фиксатора. Канавки выполнены размерами, обеспечивающими полное утапливание в них ветвей пружины-фиксатора в момент завершения соединения деталей и рабочем положении. В результате повышается эффективность эксплуатации устройства за счет обеспечения простоты и надежности конструкции, возможность сборки и разборки соединения одной рукой, а также возможность сборки и разборки без доступа к концу стержня со стороны пружины-фиксатора. 2 з.п. ф-лы, 5 ил.
Изобретение относится к машиностроению, в частности к конструкциям быстроразъемных соединений различного назначения, и может быть применено в конструкциях, требующих частого и быстрого разъема.
Известно быстроразъемное соединение, содержащее подковообразную скобу с двумя проушинами, в овальных отверстиях которых установлен цилиндрический штырь с головками по обоим концам, одна из которых выполнена соответствующей по размерам и форме отверстиям в проушинах скобы (см. авт. св. СССР 1267079 на изобретение «Быстроразъемное соединение», МПК (4) F16B 21/04. Дата подачи от 03.09.1984. Опубликовано 30.10.1986. Автор – Б.А.Воскобойников).
Известное быстроразъемное устройство не отличается надежностью соединения, так как при возможных падениях, сильных ударах штырь свободно может выйти из отверстия, поскольку для этого достаточно его вертикального перемещения.
Известно быстроразъемное соединение, содержащее установленный в отверстиях соединяемых деталей корпус с подпружиненным толкателем в его центральном отверстии, выполненный с двумя диаметрально расположенными лысками разной длины, объединенными между собой кольцевой проточкой, крышку, закрепленную на соединяемой детали с возможностью взаимодействия с толкателем, фиксатор, выполненный в виде пластины, закрепленной на соединяемой детали с противоположной относительно крышки стороны (см. авт. св. СССР 1082996 на изобретение «Быстроразъемное соединение», МПК (5) F16B 21/06. Дата подачи 08.10.1981. Опубликовано 30.03.1984. Авторы – Н.А.Аксельрод, А.П.Лешуков, Э.А.Мезенцев).
Известное соединение достаточно сложное и, как следствие, сложно в эксплуатации.
Анализ отобранной в процессе поиска информации о существующем уровне техники в данной области позволил выявить наиболее близкое к заявляемому быстроразъемное соединение, содержащее имеющий кольцевую проточку стержень с головкой и пружиной, размещенной на стержне, выполненной винтовой конической и взаимодействующей с головкой стержня посредством витка наименьшего диаметра, частично утопленного в кольцевой проточке стержня, откидной стопор, установленный в пазу хвостовика стержня (см. патент РФ 2125189 на изобретение «Быстроразъемное соединение», МПК (6) F16B 21/06, F16B 21/02. Дата подачи заявки 1996.12.24. Опубликовано 1999.01.20. Патентообладатель – Нижневолжский научно-исследовательский институт сельского хозяйства – прототип).
Известное соединение достаточно сложно в эксплуатации и не обеспечивает его достаточную надежность.
Таким образом, известные быстроразъемные соединения не отличаются простотой и надежностью конструкций в эксплуатации.
Заявляемое в качестве изобретения быстроразъемное соединение позволяет достичь нового технического результата – повышение эффективности эксплуатации устройства за счет обеспечения простоты и надежности конструкции в эксплуатации.
Следующая совокупность существенных признаков характеризует сущность предложенного изобретения и способствует достижению нового технического результата.
Быстроразъемное соединение, содержащее установленный в отверстиях соединяемых деталей цилиндрический стержень, имеющий конец с головкой и свободный конец и выполненный с канавкой, пружину-фиксатор, отличающееся тем, что пружина-фиксатор снабжена крепежными деталями и выполнена с двумя параллельными ветвями с концами, закрепленными посредством крепежных деталей на соединяемой детали с противоположной относительно головки стержня стороны, свободный конец стержня выполнен с параллельно расположенными относительно друг друга двумя лысками и соответственно двумя канавками, причем лыски и канавки расположены относительно друг друга взаимно перпендикулярно, при этом лыски выполнены размерами, позволяющими свободное прохождение свободного конца стержня между ветвями пружины-фиксатора, канавки выполнены размерами, обеспечивающими полное утапливание в них ветвей пружины-фиксатора в момент завершения соединения деталей и рабочем положении.
Результат достигается и тем, что пружина-фиксатор выполнена либо в виде U-образной пружины с двумя петлеобразными свободными и одним изогнутым концами, либо в виде двух ветвей со свободными петлеобразными концами с обеих сторон, либо выполнена замкнутой овальной с двумя параллельными ветвями и двумя изогнутыми концами, либо в виде двух параллельных стержней круглого либо прямоугольного сечения.
Для достижения нового технического результата крепежные детали, предназначенные для крепления пружины-фиксатора, выполнены в виде стопорной шайбы, болтов и упорной пластины.
Итак, анализ выявленной информации о существующем уровне техники в данной области и сущность предложенного изобретения показали, что последнее отвечает критерию патентоспособности «новизна».
Цилиндрический стержень заводят в отверстия соединяемых деталей так, чтобы лыски стержня вошли между ветвями пружины-фиксатора, и поворачивают на 90 градусов влево либо вправо, пока ветви пружины-фиксатора не войдут в канавки, обеспечивая фиксацию соединяемых деталей.
Это возможно благодаря тому, что свободный конец стержня выполнен с параллельно расположенными относительно друг друга двумя лысками и соответственно двумя канавками, а лыски и канавки расположены относительно друг друга взаимно перпендикулярно, а также потому, что лыски выполнены размерами, позволяющими свободное прохождение свободного конца стержня между ветвями пружины-фиксатора, а канавки выполнены размерами, обеспечивающими полное утапливание в них ветвей пружины-фиксатора в момент завершения соединения деталей и рабочем положении.
Выполнение пружины-фиксатора, например, в виде U-образной пружины с двумя свободными петлеобразными концами и двумя параллельными ветвями, а крепежных деталей в виде стопорной шайбы, болтов, предназначенных для крепления свободных петлеобразных концов U-образной пружины-фиксатора на соединяемой детали с противоположной относительно головки стержня стороны, и упорной пластины, предназначенной для предотвращения отгибания при сборке изогнутого конца U-образной пружины-фиксатора, обеспечивает надежную и простую фиксацию цилиндрического стержня от проворачивания и выпадения из соединения.
Иное выполнение пружины-фиксатора, например, в виде двух ветвей со свободными петлеобразными концами с обеих сторон либо ее выполнение замкнутой овальной с двумя параллельными ветвями и двумя изогнутыми концами, либо в виде двух параллельных стержней круглого либо прямоугольного сечения с использованием крепежных деталей также обеспечивает надежную и простую фиксацию цилиндрического стержня от проворачивания и выпадения из соединения. Поскольку ветви пружины-фиксатора также полностью утапливаются в канавках стержня, а крепежные детали обеспечивают надежное крепления концов пружины-фиксатора на соединяемой детали в момент завершения соединения деталей и рабочем положении.
Следовательно, обеспечивается повышение эффективности эксплуатации устройства за счет обеспечения легкости, простоты и надежности конструкции в эксплуатации.
Таким образом, заявляемая совокупность существенных признаков изобретения обеспечивает получение нового технического результата во всех случаях, на которые распространяется испрашиваемый объем правовой охраны.
В ходе проведенного заявителем поиска информации в области машиностроения обнаружены отдельные отличительные признаки заявленного изобретения среди известных объектов того же назначения. Однако совокупность существенных признаков предлагаемого изобретения, способствующая достижению нового технического результата, и ее влияние на последний не обнаружена из существующего уровня техники.
Именно совокупность существенных отличительных признаков позволяет получить новый технический результат – повышение эффективности эксплуатации устройства за счет обеспечения простоты и надежности конструкции.
Следовательно, предлагаемое изобретение обладает таким критерием патентоспособности, как «изобретательский уровень».
Предлагаемое изобретение поясняется с помощью чертежей, где:
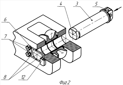
на фиг.1 изображено быстроразъемное соединение в сборе;
на фиг.2, фиг.3 и фиг.4 – последовательность сборки/разборки соединения;
на фиг.5 изображено расположение канавок и лысок на свободном конце стержня.
Быстроразъемное соединение содержит установленный в отверстиях соединяемых деталей 1, 2 цилиндрический стержень 3 со свободным концом 4 и концом с головкой 5, пружину-фиксатор 6 с концами 7 и двумя параллельными ветвями 8, стопорную шайбу 9, болты 10 и упорную планку 11 (см. фиг.1 и 2).
Быстроразъемное соединение показано конкретно для соединения следующих деталей: 1 – проушина, 2 – шкив (ролик). Последний предназначен для движения по нему троса (не показан).
Конкретный пример выполнения быстроразъемного соединения показан, когда пружина-фиксатор 6 выполнена U-образной с двумя свободными концами 7, двумя ветвями 8 и изогнутым концом 12.
При этом форма выполнения пружины-фиксатора 6 возможна любой с разнообразными концами, но при наличии двух параллельных ветвей 8. Например, либо в виде двух ветвей 8 со свободными петлеобразными концами с обеих сторон, либо выполнена замкнутой овальной с двумя параллельными ветвями 8 и двумя изогнутыми концами, либо в виде двух параллельных стержней 8 круглого либо прямоугольного сечения.
Стопорная шайба 9 и болты 10 предназначены для крепления петлеобразных концов 7 U-образной пружины-фиксатора 6 на соединяемой детали, проушине 1, с противоположной относительно головки 5 стержня 3 стороны. Упорная пластина 11 предназначена для предотвращения отгибания изогнутого конца 12 U-образной пружины-фиксатора 6 от проушины 1 при сборке соединения.
Таким образом, посредством U-образной пружины-фиксатора 6 стержень 3 зафиксирован в проушине 1 от проворачивания и выпадения.
Свободный конец 4 стержня 3 (см. фиг.5) выполнен с параллельно расположенными относительно друг друга двумя лысками 13 и двумя канавками 14. Причем лыски 13 и канавки 14 расположены относительно друг друга взаимно перпендикулярно.
Канавки 14 и лыски выполнены с размерами, соответствующими размерам пружины-фиксатора 6, с возможностью размещения в них ветвей 8 U-образной пружины-фиксатора 6 в момент завершения соединения деталей, проушины 1 и шкива 2, и рабочем положении.
Соединение и разъединение деталей, проушины 1, шкива 2, происходит следующим образом (см. фиг.2, 3 и 4).
Цилиндрический стержень 3 заводят в отверстия проушины 1 и шкива 2 так, чтобы лыски 13 стержня 3 вошли между ветвями 8 U-образной пружины-фиксатора 6. Затем стержень 3 поворачивают на 90 градусов влево либо вправо, пока ветви 8 пружины-фиксатора 6 не войдут в канавки 14 стержня 3.
Разборку быстроразъемного соединения производят в обратном порядке.
Таким образом, в результате использования изобретения достигается новый технический результат – облегчения сборки/разборки устройства за счет простоты и надежности конструкции и эксплуатации. Кроме того, обеспечивается возможность использования предлагаемой конструкции в разъемных соединениях без свободного доступа к концу стержня со стороны пружины-фиксатора.
Следовательно, предлагаемое изобретение соответствует критерию патентоспособности «промышленная применимость».
Формула изобретения
1. Быстроразъемное соединение, содержащее установленный в отверстиях соединяемых деталей цилиндрический стержень, имеющий конец с головкой и свободный конец и выполненный с канавкой, пружину-фиксатор, отличающееся тем, что пружина-фиксатор снабжена крепежными деталями и выполнена с двумя параллельными ветвями с концами, закрепленными посредством крепежных деталей на соединяемой детали с противоположной относительно головки стержня стороны, свободный конец стержня выполнен с параллельно расположенными относительно друг друга двумя лысками и соответственно двумя канавками, причем лыски и канавки расположены относительно друг друга взаимно перпендикулярно, при этом лыски выполнены размерами, позволяющими свободное прохождение свободного конца стержня между ветвями пружины-фиксатора, канавки выполнены размерами, обеспечивающими полное утапливание в них ветвей пружины-фиксатора в момент завершения соединения деталей и рабочем положении.
2. Соединение по п.1, отличающееся тем, что пружина-фиксатор выполнена либо в виде U-образной пружины с двумя петлеобразными свободными и одним изогнутым концами, либо в виде двух ветвей со свободными петлеобразными концами с обеих сторон, либо выполнена замкнутой овальной с двумя параллельными ветвями и двумя изогнутыми концами, либо в виде двух параллельных стержней круглого либо прямоугольного сечения.
3. Соединение по п.1 или 2, отличающееся тем, что крепежные детали, предназначенные для крепления пружины-фиксатора, выполнены в виде стопорной шайбы, болтов и упорной пластины.
РИСУНКИ
|