|
|
(21), (22) Заявка: 2007144953/11, 03.12.2007
(24) Дата начала отсчета срока действия патента:
03.12.2007
(43) Дата публикации заявки: 10.06.2009
(46) Опубликовано: 20.11.2009
(56) Список документов, цитированных в отчете о поиске:
RU 52589 U1, 10.04.2006. DE 102004043510 А1, 30.03.2006. Медведков В.И. и др. Автомобили КамА3-5320 и Урал-4320. Учебное пособие. – М.: ДОСААФ СССР, 1981, с.86-91, с.227-278. US 5427141 А, 27.06.1995. DE 29716937 U1, 30.10.1997. SU 1044509 А1, 30.09.1983.
Адрес для переписки:
456300, Челябинская обл., г. Миасс, пр. Автозаводцев, 1, ОАО “АЗ “Урал”
|
(72) Автор(ы):
Смирнов Игорь Геннадьевич (RU), Михайлов Николай Константинович (RU)
(73) Патентообладатель(и):
Открытое акционерное общество “Автомобильный завод “Урал” (RU)
|
(54) ТОРМОЗ ВСПОМОГАТЕЛЬНЫЙ С АВТОМАТИЧЕСКИМ ОТКРЫТИЕМ ЗАСЛОНКИ
(57) Реферат:
Изобретение относится к области машиностроения и предназначено для снижения скорости автомобиля на затяжных спусках. Тормоз содержит корпус и заслонку с рычагом. Заслонка и рычаг закреплены на вале. Вал установлен во втулках в отверстиях корпуса. Заслонка, размещенная в отверстии корпуса, закреплена на вале с обеспечением разности площадей полотна заслонки справа и слева от оси вала. Ось вала смещена относительно продольной оси симметрии корпуса. Во втулках выполнены пазы, стенки которых контактируют с полотном заслонки, обеспечивая вращение втулок вместе с заслонкой. Достигается стабильное противодавление в системе выпуска отработанных газов при торможении и при любой частоте вращения коленчатого вала, а также исключение выдавливания прокладок в соединениях трубопроводов. 1 ил.
Тормоз вспомогательный компрессионного типа относится к области машиностроения и предназначен для снижения скорости автомобиля на затяжных спусках.
Известен тормоз вспомогательный, установленный на автомобилях Урал-4320 и КамАЗ-5320, содержащий корпус и заслонку, закрепленную на вале тормоза. Вал установлен во втулках, размещенных в отверстиях корпуса. На одном конце вала жестко закреплен рычаг, соединенный вилкой с приводом. Привод заслонки осуществляется пневмоцилиндром и имеет два фиксированных положения. При включении вспомогательного тормоза поршень пневмоцилиндра перемещается до упора, сжимая возвратную пружину и устанавливая заслонку поперек потока отработанных газов, а требуемое противодавление создается зазорами между заслонкой и сферической поверхностью отверстия в корпусе тормоза (1,2,3).
Известная конструкция вспомогательного тормоза не обеспечивает неподвижность заслонки в крайних положениях из-за наличия люфта в соединении рычага с вилкой штока пневмоцилиндра, который увеличивается с износом отверстий в рычаге и вилке и износом соединительного пальца. Все это приводит к вибрации заслонки в корпусе вспомогательного тормоза при движении автомобиля. Наличие зазоров в соединении вала со втулкой и втулки с отверстием в корпусе приводит к протечке отработанных газов через горловину тормоза и снижению требуемого противодавления в системе при закрытой заслонке. Образование нагара в зазорах приводит к повышенному износу втулок и вала заслонки и в конечном итоге к заклиниванию заслонки в корпусе вспомогательного тормоза. Снижение требуемого противодавления при номинальных оборотах двигателя не обеспечивает эффективное использование вспомогательного тормоза и увеличивает нагрузку на тормозные механизмы и их износ.
Известен также тормоз вспомогательный, заслонка которого в рабочем положении расположена под углом к оси отверстия в корпусе и контактирует своей овальной поверхностью с поверхностью отверстия корпуса, а требуемое противодавление создается отверстиями в полотне заслонки. При этом заслонка закреплена на вале тормоза. Вал вращается во втулках, размещенных в отверстиях корпуса и ограниченных от вращения и осевого перемещения, например, штифтами. В транспортном положении заслонка устанавливается вдоль потока отработанных газов, а рычаг вала заслонки контактирует с упором, установленным на кронштейне крепления пневмоцилиндра привода тормоза вспомогательного (4).
Данная конструкция вспомогательного тормоза исключает вибрацию заслонки в крайних положениях, уменьшает протечку отработанных газов, но не обеспечивает автоматическую регулировку величины требуемого противодавления, что в случае повышения величины требуемого противодавления может привести к «зависанию» клапанов двигателя и нарушению герметичности путем выдавливания прокладок в соединении трубопроводов.
Целью настоящего изобретения является обеспечение стабильного противодавления в системе выпуска отработанных газов путем автоматического открытия заслонки вспомогательного тормоза при любой частоте вращения коленчатого вала.
Для достижения этой цели заслонка, закрепленная на вале тормоза, в рабочем положении устанавливается под углом в корпусе тормоза и контактирует своей овальной поверхностью с поверхностью отверстия в корпусе тормоза. Вал заслонки устанавливается со смещением относительно продольной оси симметрии корпуса. Величина смещения обеспечивает необходимую разность площадей полотна заслонки справа и слева относительно оси вала. При этом при возрастании противодавления в системе выпуска газов выше допустимого разность моментов сил, действующих на заслонку справа и слева от оси вала, становится больше разности моментов сил, создаваемых пневмоцилиндром и возвратной пружиной пневмоцилиндра, и заслонка приоткрывается, увеличивая проходное сечение для выпуска газов. При снижении противодавления разность моментов сил, действующих на заслонку справа и слева от оси вала уменьшается до величины меньшей разности моментов сил, создаваемых пневмоцилиндром и возвратной пружиной, и заслонка закрывается.
С целью снижения величины смещения и создания требуемого противодавления в полотне заслонки с меньшей площадью располагается отверстие для пропуска отработанных газов. Вал заслонки устанавливается во втулках, которые вращаются вместе с ним, для чего во втулках выполнены пазы с размерами по толщине заслонки, стенки которых контактируют с полотном заслонки.
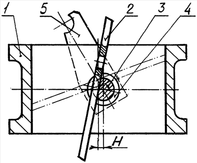
На чертеже изображен в разрезе общий вид тормоза вспомогательного, который состоит из корпуса 1, заслонки 2, закрепленной на вале 3. Вал установлен во втулках 4 и смещен относительно оси отверстия корпуса на величину “Н”. Вращения вала, заслонки и втулок осуществляется рычагом 5, соединенным с пневмоцилиндром. Во втулках 4 выполнены пазы, контактирующие с полотном заслонки.
Тормоз вспомогательный работает следующим образом: при нажатии на кнопку пневматического крана управления в кабине автомобиля сжатый воздух подается в пневмоцилиндр, поршень которого перемещается, сжимая возвратную пружину, и своим штоком воздействует на рычаг 5, поворачивает вал 3 и заслонку 2 до соприкосновения заслонки с поверхностью отверстия в корпусе тормоза, ограничивающей угол поворота заслонки. При возрастании противодавления в системе выпуска отработанных газов выше допустимого предела заслонка 2 приоткрывается, увеличивая проходное сечение для выпуска отработанных газов и воздействуя на шток пневмоцилиндра рычагом 5, перемещает поршень к исходному положению. При снижении противодавления в системе заслонка 2 возвращается в рабочее положение под действием пневмоцилиндра. При опускании кнопки крана управления воздух из пневмоцилиндра выходит в атмосферу, поршень цилиндра под действием возвратной пружины возвращается в исходное положение, воздействуя на рычаг 5, устанавливает заслонку 2 вдоль потока отработанных газов.
На дату подачи заявки разработаны рабочие чертежи тормоза вспомогательного со смещением оси вала относительно оси симметрии корпуса и изготовлены опытные образцы.
Литература
1. Автомобили КамАЗ. Техническое описание и инструкция по эксплуатации, Москва, Машиностроение, 1981 г., стр. 167.
2. Автомобиль-тягач Урал-4320 и его модификации. Руководство по эксплуатации Автоэкспорт – СССР – Москва, стр. 150.
3. Патент РФ на полезную модель 52589. 10.04.06 г.
4. Чертеж с кронштейном и пневмоцилиндром: ФРГ 42086120ИВ50-7005 (KS5511-00).
Формула изобретения
Тормоз вспомогательный компрессионного типа, содержащий корпус и заслонку с рычагом, закрепленные на валу, установленном во втулках в отверстиях корпуса, отличающийся тем, что заслонка, размещенная в отверстии корпуса, закреплена на валу с обеспечением разности площадей полотна заслонки справа и слева от оси вала, для чего ось вала смещена относительно продольной оси симметрии корпуса, во втулках выполнены пазы, стенки которых контактируют с полотном заслонки, обеспечивая вращение втулок вместе с заслонкой.
РИСУНКИ
|
|