|
|
(21), (22) Заявка: 2008112831/06, 02.04.2008
(24) Дата начала отсчета срока действия патента:
02.04.2008
(46) Опубликовано: 20.11.2009
(56) Список документов, цитированных в отчете о поиске:
RU 2258819 С2, 10.02.2005. SU 1502867 A1, 23.08.1989. RU 2163681 C2, 27.02.2001. US 3301244 A, 31.01.1967. RU 2228452 С2, 10.05.2004. RU 2046972 C1, 27.10.1995. FR 2491147 A, 02.04.1982.
Адрес для переписки:
690080, г.Владивосток, ул. Космонавтов, 1, кв.40, И.П. Печкину
|
(72) Автор(ы):
Печкин Илья Петрович (RU)
(73) Патентообладатель(и):
Печкин Илья Петрович (RU)
|
(54) СПОСОБ ПОВЫШЕНИЯ ЭФФЕКТИВНОСТИ РАБОТЫ ПОРШНЕВОГО ДВИГАТЕЛЯ ВНУТРЕННЕГО СГОРАНИЯ
(57) Реферат:
Изобретение относится к области энергомашиностроения. Технический результат заключается в повышении эффективности работы поршневого двигателя внутреннего сгорания. Сущность изобретения заключается в том, что возвратно-поступательное движение поршень совершает путем качательного движения подпружиненного кривошипно-коромыслового механизма, связанного с валом нагрузки. На щеках механизма установлены два зубчатых сектора. Другой конец механизма может фиксироваться зубьями собачки, а пружина позволяет механизму качаться на полуосях, при этом один зубчатый сектор передает вращение зубчатому ободу храпового колеса, связанного с валом нагрузки, другой сектор позволяет осуществлять поворот механизма в процессе впуска. При объединении одноцилиндровых двигателей в многоцилиндровый двигатель одноименные процессы в разных цилиндрах многоцилиндрового двигателя осуществляют либо поочередно, либо группами, либо одновременно с помощью электрической системы управления, включающей управляющий барабан, связанный с валом нагрузки. 15 ил.
Изобретение относится к области энергомашиностроения, в частности усовершенствует способ повышения эффективности работы поршневого двигателя внутреннего сгорания, предназначенный для энергетических установок, например, на электростанциях, на кораблях, тепловозах, автомобилях и в авиации.
В двигателестроении известен способ работы поршневого двигателя внутреннего сгорания (описание изобретения к патенту RU 2163681 С2, 7 F02B 75/32 за 2001 г.). Сущность способа состоит в том, что кулачковый вал преобразует вращательное движение в неподвижное и возвратно-поступательное движение поршня, в результате этого в цилиндре двигателя происходят процессы впуска, сжатия, рабочего такта и выпуска газов продуктов сгорания. При этом цикл управляющего вала имеет два скоростных и два затяжных такта.
Недостатком способа является то, что при объединении одноцилиндровых двигателей в многоцилиндровый двигатель одноименные процессы в разных цилиндрах осуществляются только поочередно. Это не позволяет отбирать от двигателя мощность в широких пределах, поэтому для этих целей используют коробки передач.
Известен также способ повышения эффективности работы поршневого двигателя внутреннего сгорания (описание изобретения к патенту RU 2258819 С2, 7 F02В 75/32 за 2005 г.). Сущность данного способа состоит в том, что неподвижное и возвратно-поступательное движение поршень совершает за счет преобразования механической энергии пружины и кулачка, вращающегося на валу сельсина-приемника синхронно с сельсином-датчиком, в результате этого в цилиндре двигателя происходят процессы впуска, сжатия, рабочего такта и выпуска газов продуктов сгорания, причем при объединении одноцилиндровых двигателей в многоцилиндровый двигатель используют автоматическую систему управления, в результате этого одноименные процессы в разных цилиндрах многоцилиндрового двигателя осуществляют либо поочередно, либо группами, либо одновременно.
Использование электрической системы управления в устройстве для осуществления известного способа позволяет осуществлять отбор мощности у многоцилиндровых двигателей в широких пределах без вспомогательных устройств. Однако сельсинный способ управления двигателем не пригоден для двигателей большой мощности.
Наиболее близким к заявленному изобретению является способ преобразования вращательного движения кривошипа коленчатого вала в возвратно-поступательное движение поршня, в результате чего в цилиндре поршневого двигателя внутреннего сгорания осуществляются процессы впуска, сжатия, рабочего такта и выпуска газов продуктов сгорания (Ваншейдт В.А. Судовые двигатели внутреннего сгорания. Судпромгиз, – Л.: 1962, с.81).
Недостатком способа повышения эффективности работы поршневого двигателя внутреннего сгорания является то, что кривошип коленчатого вала, являясь движителем поршня, проходит четыре мертвые зоны за цикл. В них поршень парализован, так как стоит на месте или движется крайне медленно. Поэтому устройства для реализации известного способа преобразуют вращательное движение в возвратно-поступательное движение поршня неэффективно. Это не позволяет получить высокую эффективную мощность (Ne) в устройствах для реализации способа.
Исходя из вышеизложенного была поставлена задача разработать такой способ работы поршневого двигателя внутреннего сгорания, в устройствах для реализации которого можно будет получать хорошие основные технические характеристики параметров.
Поставленная задача решается заявленным способом повышения эффективности работы поршневого двигателя внутреннего сгорания, включающим преобразование качательного движения подпружиненного кривошипно-двухкоромыслового механизма в возвратно-поступательное движение поршня, в результате чего в цилиндре двигателя происходят процессы впуска, сжатия, сгорания, рабочего такта и выпуска газов продуктов сгорания.
При объединении одноцилиндровых двигателей в многоцилиндровый двигатель одноименные процессы в разных цилиндрах многоцилиндрового двигателя совершают либо поочередно, либо группами, либо одновременно путем электрической системы управления.
В заявленном способе признаками изобретения, общими для него и для его наиболее близкого аналога, являются:
– кривошип коленчатого вала преобразует вращательное движение в возвратно-поступательное движение поршня, в результате чего в рабочем цилиндре двигателя происходят процессы впуска, сжатия, сгорания, рабочего такта и выпуска газов продуктов сгорания.
В заявленном способе признаками изобретения, отличающими его от наиболее близкого аналога, являются:
– возвратно-поступательное движение поршень совершает путем преобразования качательного движения кривошипно-двухкоромыслового механизма, в результате чего в рабочем цилиндре двигателя происходят процессы впуска, сжатия, сгорания, рабочего такта и выпуска газов продуктов сгорания;
– электрическая система управления обеспечивает соединение одноцилиндровых двигателей в многоцилиндровый двигатель таким образом, что одноименные процессы в разных цилиндрах осуществляют либо поочередно, либо группами, либо одновременно.
Данная совокупность отличительных признаков изобретения вместе с общими признаками заявленного способа и наиболее близкого его аналога обеспечивают получение положительного эффекта изобретения во всех случаях, на которые распространяется испрашиваемый объем правовой охраны.
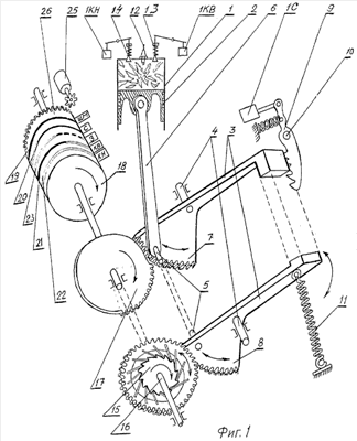
На фиг.1 изображена кинематическая схема устройства для реализации способа повышения эффективности работы поршневого двигателя внутреннего сгорания.
На фиг.2 – идеальная диаграмма работы четырехтактного одноцилиндрового ДВС, построенная по способу Гриневецкого-Мазинга в координатах: давление (Р) кГс/см2, угол поворота коленчатого вала ( °) в градусах.
На фиг.3 – диаграмма хода поршня четырехтактного одноцилиндрового ДВС, построенная по способу Брикса в координатах: ход поршня (n) в мм, угол поворота коленчатого вала ( °) в градусах.
На фиг.4 – реальная индикаторная диаграмма работы четырехтактного одноцилиндрового ДВС в координатах: давление (Р) кГс/см2, угол поворота коленчатого вала ( °) в градусах.
На фиг.5 – индикаторная диаграмма работы четырехтактного четырехцилиндрового двигателя в координатах: давление (Р) кГс/см2, угол поворота коленчатого вала ( °) в градусах.
На фиг.6 – индикаторная диаграмма работы четырехтактного четырехцилиндрового ДВС при 1500 об/мин, а после переключения скорости – при 5000 об/мин в координатах: давление (Р) кГс/см2, угол поворота коленчатого вала ( °) в градусах.
На фиг.7 – силы, действующие на коленвал со стороны поршней во время работы четырехтактного четырехцилиндрового ДВС при 1500 об/мин, а после переключения скорости при 5000 об/мин:
1) силы, возникающие во время протекания вспомогательных процессов (F1);
2) силы, возникающие во время протекания рабочих тактов в цилиндрах ДВС (F2);
3) силы, возникающие во время протекания процессов сгорания топливовоздушной смеси (F3);
4) силы, действующие на коленвал во время отключения нагрузки в момент переключения скорости.
На фиг.8 – индикаторные диаграммы цилиндров четырехтактного четырехцилиндрового ДВС, одни и те же процессы в которых совершаются поочередно (по аналогии последовательного соединения электрических источников).
На фиг.9 – диаграмма эффективных мощностей цилиндров, одноименные процессы в которых совершаются поочередно.
На фиг.10 – индикаторные диаграммы цилиндров четырехтактного четырехцилиндрового ДВС, одни и те же процессы в которых совершаются группами (по аналогии смешанного соединения электрических источников).
На фиг.11 – диаграмма эффективных мощностей цилиндров, одноименные процессы в которых совершаются группами.
На фиг.12 – индикаторные диаграммы цилиндров четырехтактного четырехцилиндрового ДВС, одноименные процессы в которых совершаются одновременно (по аналогии параллельного соединения электрических источников).
На фиг.13 – диаграмма эффективных мощностей цилиндров, одноименные процессы в которых совершаются одновременно.
На фиг.14 – однолинейная электрическая схема управления устройством для реализации способа повышения эффективности работы поршневого двигателя внутреннего сгорания.
На фиг.15 – кинематическая схема газораспределения первого рабочего цилиндра на управляющем барабане.
Обозначение электроаппаратуры, механизмов в схеме управления ДВС:
ЭДП – электродвигатель постоянного тока;
ЭП – выключатель электропитания 12 V;
Щ – щеткодержатель: ЩМ – малого барабана; ЩС – среднего барабана; ЩБ – большого барабана;
Токоприемники приводов: С – зубчатой собачки; KB – клапана выпуска; КН – клапана наполнения; З – зажигания.
1 ВР; 2 ВР; 3 ВР – выключатели выбора режима;
1P; 2P; 3Р – катушки магнитных пускателей выбора режима;
1МП-0; 2МП-0; 3МП-0; 4МП-0 – катушки магнитных пускателей электропитания нулевой отметки на управляющем барабане;
1МП-90; 2МП-90; 3МП-90; 4МП-90 – катушки магнитных пускателей на 90-градусной отметке на управляющем барабане;
1МП-180; 2МП-180; 3МП-180; 4МП-180 – катушки магнитных пускателей на 180-градусной отметке на управляющем барабане;
1МП-270; 2МП-270; 3МП-270; 4МП-270 – катушки магнитных пускателей на 270-градусной отметке на управляющем барабане;
1C; 2С; 3С; 4С – катушки приводов зубчатых собачек 1, 2, 3 и 4 цилиндров;
1КB; 2КB; 3КВ; 4КB – катушки приводов клапанов выпуска отработавших газов;
1КН; 2КН; 3КН; 4КН – катушки приводов клапанов наполнения цилиндров топливовоздушной смесью.
Устройство для реализации способа повышения эффективности работы поршневого двигателя внутреннего сгорания содержит цилиндр 1, поршень 2, кривошипно-двухкоромысловый механизм 3. На обеих щеках кривошипно-двухкоромыслового механизма 3 установлены зубчатые сектора 7 и 8. Другой конец кривошипно-двухкоромыслового механизма может фиксироваться на одном из зубьев зубчатой собачки 9, которая совершает качательные движения на валике 10. Пружина 11 позволяет кривошипно-двухкоромысловому механизму 3 качаться на полуосях 4. На верхней крышке цилиндра 1 установлены свеча зажигания 12, клапан 13 выпуска газов продуктов сгорания с приводом 1КB, а также клапан 14 наполнения цилиндра горючей смесью с приводом 1КН. Зубчатый обод храпового колеса 15 вращает вал нагрузки 16, на котором вращаются зубчатый сектор 17 и управляющий диэлектрический барабан 18. На управляющем барабане 18 имеются три ступени, на которых симметрично закреплены: сплошное 19 токопроводящее кольцо, а также полукольца-датчики 20, 21, 22 и 23. Вокруг барабанов в веерном порядке на отметках 0°, 90°, 180°, 270° и 360° установлены токоприемники С, КB, КН, ЩМ, ЩС, ЩБ и З (см. фиг.1, 13, 14). Выходной вал 16 заканчивается маховиком 26, который вращает стартер 25 при запуске.
Перед запуском ДВС водитель (оператор) включает выключатель 1 ВР выбора режима магнитного пускателя IP, при замыкании контактов которого напряжение 12 V появится на сплошном кольце 19 барабана 18 с малым диаметром через щеткодержатель ЩМ. Одновременно ток появится на полукольцах-датчиках 20, 21, 22 и 23, которые соединены между собой. Вместе с этим напряжение 12 V появится в катушках магнитных пускателей 1МП-0, 2МП-90, 3МП-180 и 4МП-270. Это позволит во время запуска двигателя соединить валы 16 одноцилиндровых двигателей в составе четырехцилиндрового двигателя таким образом, чтобы одноименные процессы в разных цилиндрах совершались поочередно с интервалом в 90° (см. фиг.8, 9 и 14). Запуск ДВС осуществляют с помощью стартера 25, малая шестерня последнего вращает при запуске зубчатый обод маховика 26.
Рассмотрим, как включится в работу первый цилиндр многоцилиндрового двигателя. Во время вращения управляющего барабана 18 с малым диаметром полукольцо-датчик 20 приблизится, а затем коснется токоприемника С на отметке 0°. Это позволит передать ток с вращающегося полукольца-датчика 20 на токоприемник С, замкнутые контакты 1С1 магнитного пускателя 1МП-0 в катушку привода 1C зубчатой собачки 9 первого рабочего цилиндра. После этого шток привода 1C сожмет пружину и повернет зубчатую собачку 9 вправо (см. фиг.1), освободив хвостовик кривошипно-двухкоромыслового механизма 3. Под действием пружины 11 кривошипно-двухкоромысловый механизм вместе с шатуном 6, поршнем 2 поднимутся вверх и сожмут горючую смесь в цилиндре 1. В районе верхней точки хода поршня топливовоздушная смесь воспламенится от искры свечи 12 и сгорит. Под действием высокого давления поршень 2 поменяет свое направление и начнет двигаться вниз, увлекая за собой шатун 6, кривошипно-двухкоромысловый механизм 3, который при этом будет поворачивать зубчатый сектор 8 против часовой стрелки. Зубчатый сектор 8 передаст вращательное движение зубчатому ободу храпового колеса 15, которое связано с валом нагрузки 16. Другой конец кривошипно-двухкоромыслового механизма растянет пружину 11. Вместе с этим полукольцо-датчик 21 приблизится, а затем коснется токоприемника KB на отметке 0°, после чего напряжение 12 V через замкнутые контакты 1КВ1 магнитного пускателя 1МП-0 поступит в катушку 1KB привода клапана 13 выпуска отработавших газов в первом рабочем цилиндре. Очевидно, поэтому давление в полости первого цилиндра будет падать.
Под действием механической энергии пружины 11 кривошипно-двухкоромысловый механизм поменяет свое направление и начнет поворачиваться по часовой стрелке на полуосях 4. Таким образом поршень 2 поднимется к верхней точке и вытеснит газы продуктов сгорания в атмосферу. В это время полукольцо-датчик 21 покинет токоприемник KB на отметке 0° и закроет клапан 13 выпуска газов продуктов сгорания. Процесс наполнения осуществляет вращающийся на валу 16 зубчатый сектор 17, который путем зубчатого сектора 7 поворачивает кривошипно-двухкоромысловый механизм 3 против часовой стрелки и через шатун 6 опускает поршень 2 вниз. Одновременно полукольцо-датчик 22 коснется токоприемника КН первого рабочего цилиндра на отметке 0°. После чего напряжение 12 V через замкнутые контакты 1КН1 магнитного пускателя 1МП-0 поступит в катушку 1КН привода клапана 14 наполнения первого рабочего цилиндра горючей смесью. В нижнем положении поршня прекратится вращательное движение кривошипно-двухкоромыслового механизма против часовой стрелки. В это время прекратиться подача тока в катушку 1КН привода клапана 14 наполнения первого рабочего цилиндра. Таким образом, в первом цилиндре закончится такт наполнения. Очевидно, при вращении против часовой стрелки кривошипно-двухкоромысловый механизм растянет пружину 11 и зафиксируется на одном из зубьев зубчатой собачки 9. Таким образом, в первом рабочем цилиндре закончился полный цикл, и рабочий цилиндр снова будет готов выполнять следующий четырехтактный цикл. За один оборот управляющего барабана 18 во всех четырех цилиндрах совершатся аналогичные процессы. Причем одноименные процессы с интервалом в 90° будут совершаться в разных цилиндрах при вращении вала нагрузки 16 с управляющим барабаном 18.
При таком режиме выходная мощность (эффективная мощность Ne) двигателя будет равняться цилиндровой мощности, т.е. небольшой, так как рабочие процессы в разных цилиндрах многоцилиндрового двигателя будут совершаться поочередно с интервалом в 90°. Очевидно, в любой момент времени на выходной вал 16 будет действовать мощность одного цилиндра (Nц). Это можно наглядно увидеть на диаграмме (фиг.8, 9).
Для того чтобы увеличить выходную мощность двигателя в два раза, оператор (водитель) должен отключить выключатель 1ВР, а затем включить выключатель режима 2ВР. Это позволит отключить катушку магнитного пускателя IP и подать напряжение 12 V в катушку магнитного пускателя 2Р. После включения последнего ток через щеткодержатель ЩС поступит на сплошное кольцо 19. После этого напряжение 12 V появится на полукольцах-датчиках 20, 21, 22 и 23 среднего барабана. Кроме того, ток появится в катушках магнитных пускателей 1МП-0, 2МП-0, а также 3МП-180 и 4МП-180. Это позволит присоединить валы одноцилиндровых двигателей, входящих в состав четырехцилиндрового двигателя, таким образом, чтобы одноименные процессы совершались сразу в двух цилиндрах, т.е. в первом и втором на отметке 0° и в третьем и четвертом на отметке 180°. Для примера рассмотрим, каким образом будут совершать одноименные процессы сразу два цилиндра. Во время вращения среднего управляющего барабана 18 полукольцо-датчик 20 приблизится, а затем прикоснется к токоприемнику С на отметке 0°. Это позволит подать напряжение 12 V с полукольца-датчика 20 на токоприемник С, замкнутые контакты 1С1 магнитного пускателя 1МП-0 на катушку 1C привода зубчатой собачки 9 первого рабочего цилиндра. Одновременно ток появится в катушке 2С привода зубчатой собачки 9 второго рабочего цилиндра. С полукольца-датчика 20 на токоприемник С, а затем на катушку 2С привода зубчатой собачки 9 второго рабочего цилиндра. Таким образом, зубчатые собачки 9 синхронно повернутся в первом и во втором цилиндрах и освободят хвостовики кривошипно-двухкоромысловых механизмов в обоих цилиндрах. Под действием пружин 11 кривошипно-двухкоромысловые механизмы 3 вместе с шатунами 6 и поршнями 2 поднимутся вверх, сжимая при этом топливовоздушную смесь в двух цилиндрах одновременно. В районе верхних точек хода поршней горючие смеси воспламенятся и сгорят от искры свечей 12 в двух цилиндрах одновременно. Под действием высокого давления поршни первого и второго цилиндров поменяют свои направления и опустятся вниз, а с помощью шатунов 6 повернут зубчатые сектора 7 первого и второго цилиндров против часовой стрелки. Это позволит передать вращательное движение валу нагрузки 16 одновременно двумя зубчатыми ободами храповых колес 15 первого и второго цилиндров и тем самым передать эффективную мощность (Ne) сразу от двух цилиндров, т.е. в два раза большую. Этот эффект можно наглядно увидеть на диаграммах фиг.10 и 11. Кроме того, кривошипно-двухкоромысловые механизмы 3 обоих цилиндров синхронно растянут пружины 11 в первом и во втором цилиндрах, а в нижних положениях поршни обоих цилиндров поменяют свои направления и начнут двигаться вверх под действием механических энергий пружин 11 первого и второго цилиндров.
В это время полукольцо-датчик 21 приблизится, а затем коснется токоприемника KB на отметке 0°. После чего напряжение 12 V через контакты 1КВ1 магнитного пускателя 1МП-0 поступит в катушку 1KB привода клапана 13 выпуска отработавших газов первого рабочего цилиндра. Одновременно ток появится в катушке привода 2KB клапана 13 выпуска отработавших газов второго рабочего цилиндра. Таким образом, оба поршня будут освобождать полости двух цилиндров от отработавших газов.
Тем временем вращающиеся на валу 16 зубчатые сектора 17 первого и второго цилиндров коснутся зубьев секторов 7 первого и второго цилиндров и начнут поворачивать их против часовой стрелки вместе с кривошипно-двухкоромысловыми механизмами. Вместе с этим полукольцо-датчик 22 коснется токоприемника КН на отметке 0°. После чего напряжение 12 V через замкнутые контакты 1КН1 магнитного пускателя 1МП-0 поступит в катушку 1КН привода клапана 13 наполнения первого цилиндра горючей смесью, а через контакты 2КН1 магнитного пускателя 2МП-0 ток попадет в катушку 2КН привода клапана 13 наполнения второго цилиндра горючей смесью. Вскоре конец полукольца-датчика 22 приблизится, а затем покинет отметку 0° на среднем барабане. После этого прекратится подача горючей смеси в первый и второй рабочие цилиндры. В это время концы кривошипно-двухкоромысловых механизмов 3 первого и второго цилиндров зафиксируются на зубьях собачек 9. Таким образом, в первом и во втором цилиндрах совершились синхронно одноименные процессы четырехтактного цикла. За один оборот среднего управляющего барабана одноименные процессы будут совершаться при данном режиме сразу в двух цилиндрах, т.е. в первом и во втором на отметке 0° и в третьем и в четвертом на отметке 180° (см. фиг.14).
Очевидно, эффективная мощность (Ne) при данном режиме увеличилась в два раза. Это можно увидеть на диаграммах (см. фиг.10, 11).
Если обстановка потребует увеличения мощности двигателя, водитель (оператор) отключит выключатель режима 2ВР, а затем включит выключатель ЗВР. Это позволит совершать одни и те же процессы сразу во всех цилиндрах четырехцилиндрового двигателя на отметке 0°. При таком режиме эффективная мощность двигателя возрастет в четыре раза, т.е. будет равна сумме цилиндровых мощностей (Nц×4= Ne) всех четырех цилиндров. Это можно наглядно увидеть на диаграммах (см. фиг.12 и 13).
Прежде чем перейти к изложению технико-экономических преимуществ подкреплю убедительными примерами цель изобретения. В настоящее время в мире выпускают ДВС транспортных средств по проектам, которые были предложены более века назад и были созданы без научных, технических знаний. Это привело к тому, что отрасль двигателестроения отстала от других отраслей, в частности от энергетики, железнодорожного транспорта, более чем на век.
Согласно теоретическим основам, разработанным русским ученым В.И.Гриневецким и его последователями, ДВС (см. фиг.2) должен работать по индикаторной диаграмме Гриневецкого-Мазинга (Мазинг Е.К. Тепловой процесс ДВС, ОНТИ, 1937). Это, по сути дела, идеальная диаграмма работы четырехтактного ДВС в координатах: давление (Р) кГс/см2 в цилиндре в функции от угла поворота коленчатого вала ( °) в градусах. Если посмотреть на диаграмму фиг.2, то станет ясно, что четырехтактный двигатель должен иметь два скоростных (2с) и два затяжных (2з) такта в цикле. Схематически это можно будет выразить так: 2с×2з×2с×2з Однако коленчатый вал, являясь движителем поршня (управляющим валом), не позволяет последнему совершать скоординированные движения. Это связано с тем, что коленвал совершает движения по диаграмме, построенной по способу Брикса (см. фиг.3) в координатах: ход поршня (n) в мм в функции от угла поворота коленчатого вала ( °) в градусах (Ваншейдт В.А. Судовые ДВС. Судпромгиз. – Л: 1962, с.427). Из диаграммы фиг.3 видно, что цикл коленчатого вала четырехтактного двигателя имеет иное чередование тактов: один скоростной (1с), далее идет один затяжной (1з), потом снова один скоростной (1с) и т.д. Схематически это будет выглядеть так: 1c×1з×1c×1з Если сравнить диаграммы термодинамического и механического циклов, приведенные на фиг.2 и 3, то станет ясно, что включать в параллельную работу их нельзя, так как они не скоординированы. Очевидно, первооткрыватели ДВС об этом не знали, поэтому поручили деталям цилиндропоршневой группы выполнять функции нескольких механизмов: компрессора, вентилятора и двигателя (Ваншейдт В.А. Судовые ДВС. Судпромгиз. – Л: 1962, с.18). Как ни странно, эти противоречия до сих пор не осознали двигателисты.
Таким образом, реальная диаграмма четырехтактного двигателя приняла иной вид (см. фиг.4), отличающийся от диаграмм фиг.2 и 3. На диаграмме фиг.4 видно, что в одном затяжном (1з) такте наполнения (термодинамического цикла фиг.2) размещаются один скоростной (1с) и два затяжных (2з) такта коленчатого вала (диаграммы фиг.3). Далее скоростной (1с) такт – сжатия (термодинамического цикла фиг.2) совпал со скоростным (1с) тактом коленвала (диаграммы фиг.3). Вместе с этим сверхскоростной (1сс) рабочий такт (термодинамического цикла фиг.2) опережает рабочий скоростной такт (1с) коленчатого вала (диаграммы фиг.3) на затяжной (1з) процесс. По опытным данным рабочий такт в ДВС протекает наиболее эффективно при достижении максимальных параметров давления и температуры газов продуктов сгорания в цилиндре двигателя. Эти утверждения подтверждают законы квантовой механики (Страховский Г.М., Успенский А.В. – Основы квантовой электроники. М.: Высшая школа, 1973, с.6-7), согласно которым рабочее тело (продукты сгорания), имея температуру Tz=2000 К, испускает короткие волны, которые распространяются самопроизвольно со скоростью, близкой к скорости света, т.е. 300000 км/сек.
Очевидно, в этот момент и нужно как можно быстрее осуществлять процесс преобразования внутренней энергии в механическую работу. Однако если посмотреть на диаграмму фиг.4, то станет ясно, что в момент, когда продукты сгорания имеют высокие параметры, поршень – механизм, осуществляющий преобразование внутренней энергии в механическую работу, «отдыхает» в «мертвой зоне» – затяжном такте коленвала (см. фиг.4). Когда поршень с коленчатым валом начнут двигаться «быстро», т.е. совершать скоростной такт, продукты сгорания остынут, отдав большую долю энергии стенкам цилиндра, который в этот момент омывался водой. Кроме того, во время процесса сгорания топлива до прихода поршня в верхнюю «мертвую» точку образуется механическая энергия, которая с силой F3 давит на шейку кривошипа коленвала соседнего цилиндра с другой стороны (см. фиг.4). Двигателисты знают, что эффективная мощность (Ne) двигателя возрастает с увеличением частоты вращения коленчатого вала. Это объясняется прежде всего тем, что при быстром сжатии топливовоздушной смеси она рационально сгорает, образуя при этом больше энергии. Однако с увеличением частоты вращения резко уменьшается время, отведенное на протекание вспомогательных процессов. Это вызывает сжатие диаграмм (см. фиг.6 и 7). Таким образом, при увеличении частоты вращения значение эффективной мощности увеличивается медленно, а коэффициент наполнения цилиндра ( v) уменьшается быстро. Кроме того, с увеличением оборотов увеличиваются внутренние потери, возрастают резонансные явления во всасывающем и выпускном трактах.
За последнее десятилетие мощности ДВС транспортных средств непрерывно растут. Так, двигатель джипа мощностью 200 кВт имеет восемь цилиндров. Очевидно, что цилиндровая мощность такого двигателя будет равна 200 кВт. Отсюда, если помножить количество цилиндров на их цилиндровую мощность (Nц×8=200×8=1600 кВт), получится астрономическая мощность. Однако использовать эту возможность в ДВС с механическим управлением невозможно, да и не безопасно, потому что такую мощность не сможет выдержать кривошипно-шатунная система данного ДВС.
Несложный расчет, приведенный специалистами ФГУП НАМИ, показывает, что «для езды по городу автомобилю массой около тонны со скоростью около 60 км/час нужно всего 6 киловатт – в тридцать раз меньше! Даже при крейсерской скорости автомобиля на трассе – 90 км/час – достаточно мощности 10-12 кВт. Для чего же такой огромный запас? Ведь не с потолка же конструкторы автомобилей выбирают двигатель? Автомобилисты знают, что этот запас мощности нужен для быстрых разгонов, например, при обгоне, а также для преодоления подъемов. Однако такие режимы составляют ничтожную долю времени движения автомобиля. Ну, а после разгона приходится тормозить» (Н.Гулиа, «Из пушки по воробьям», журнал «ТМ»).
Очевидно, что расход топлива двигателя зависит от степени его загруженности. Таким образом, современный двигатель с механической системой управления не способен работать в экономически чистом режиме, т.е. обеспечивать полноту сгорания топлива в непрерывно меняющихся условиях движения.
Двигатель с электрической системой управления близок к универсальному. Во-первых, он будет работать в экологически чистом режиме в широком диапазоне нагрузок, т.е. обеспечивать полноту сгорания топлива в цилиндрах одноцилиндровых двигателей, входящих в состав многоцилиндрового двигателя, до конечных, безвредных для окружающей среды продуктов сгорания. Во-вторых, он сможет снабжать автомобиль энергией в непрерывно меняющихся условиях движения в широких пределах. Для этого не потребуется «надстройка» – коробка передач, автомат и т.д. Это можно увидеть на диаграммах фиг.8, 9, 10, 11, 12, 13. Если посмотреть на диаграммы, то станет ясно, что с увеличением выходной мощности появляются взаимоисключающие возможности. Так, при увеличении эффективной мощности (Ne) в два раза (см. фиг.10, 11) одноцилиндровые двигатели соединяются попарно с интервалом 180°. При этом частота вращения управляющего барабана увеличивается также в два раза. Вместе с этим увеличивается длина полуколец-датчиков, обеспечивая эффективное протекание всех процессов четырехтактного цикла (см. фиг.14). При увеличении мощности в четыре раза (см. фиг.12, 13) одноцилиндровые двигатели, входящие в состав четырехцилиндрового двигателя, совершают рабочие процессы синхронно с интервалом в 360°. Очевидно, что частота вращения управляющего барабана при этом увеличивается в четыре раза. При этом длина полуколец-датчиков также увеличивается в четыре раза. Естественно, такие переключения сможет совершать при работающем двигателе только автоматическая система управления. Вместе с этим в предлагаемом устройстве будут установлены электроконтактные датчики (в нижней части цилиндра), которые будут фиксировать изменения давления: газов продуктов сгорания, отработавших газов, воздуха в начале процесса наполнения, а также в начале процесса сжатия. С помощью автоматической системы управления путем датчиков можно будет не только контролировать, но и вносить корректировку в процессы, обеспечивая постоянство нагрузки на цилиндры многоцилиндрового двигателя. Очевидно, что все эти существенные признаки позволят улучшить основные характеристики параметров ДВС.
Благодаря вышеизложенным преимуществам устройство для реализации способа будет иметь большую агрегатную мощность по сравнению с современными ДВС (при меньших размерах), которую при этом можно будет неограниченно увеличивать, удовлетворяя растущие потребности использования двигателей для решения многочисленных научных и технических проблем, а также в обороне страны.
Формула изобретения
Способ повышения эффективности работы поршневого двигателя внутреннего сгорания, включающий преобразование вращательного движения кривошипа коленчатого вала в возвратно-поступательное движение поршня, в результате чего в цилиндре двигателя происходят процессы впуска, сжатия, сгорания, рабочего такта и выпуска газов продуктов сгорания, отличающийся тем, что возвратно-поступательное движение поршень совершает путем качательного движения подпружиненного кривошипно-коромыслового механизма, связанного с валом нагрузки, причем на щеках механизма установлены два зубчатых сектора, другой конец механизма может фиксироваться зубьями собачки, а пружина позволяет механизму качаться на полуосях, при этом один зубчатый сектор передает вращение зубчатому ободу храпового колеса, связанного с валом нагрузки, другой сектор позволяет осуществлять поворот механизма в процессе впуска, а при объединении одноцилиндровых двигателей в многоцилиндровый двигатель одноименные процессы в разных цилиндрах многоцилиндрового двигателя осуществляют либо поочередно, либо группами, либо одновременно с помощью электрической системы управления, включающей управляющий барабан, связанный с валом нагрузки.
РИСУНКИ
|
|