|
|
(21), (22) Заявка: 2005105901/06, 02.03.2005
(24) Дата начала отсчета срока действия патента:
02.03.2005
(30) Конвенционный приоритет:
03.03.2004 FR 0402172
(43) Дата публикации заявки: 10.08.2006
(46) Опубликовано: 20.11.2009
(56) Список документов, цитированных в отчете о поиске:
US 3989410 А, 02.11.1976. US 3768924 А, 30.10.1973. US 4582467 А, 15.04.1986. US 3814539 А, 15.04.1974. GB 947553 А, 22.01.1964. RU 2147690 C1, 20.04.2000. RU 1816046 С, 20.04.1990.
Адрес для переписки:
129010, Москва, ул. Б.Спасская, 25, стр.3, ООО “Юридическая фирма Городисский и Партнеры”, пат.пов. Е.И.Емельянову
|
(72) Автор(ы):
МАРШИ Марк (FR)
(73) Патентообладатель(и):
СНЕКМА (FR)
|
(54) ГАЗОТУРБИННЫЙ ДВИГАТЕЛЬ, НАПРИМЕР АВИАЦИОННЫЙ ТУРБОРЕАКТИВНЫЙ ДВИГАТЕЛЬ
(57) Реферат:
Газотурбинный двигатель содержит лопаточное колесо с лопатками, выполненными полыми и охлаждаемыми изнутри при помощи принудительной циркуляции охлаждающего воздуха. Каждую лопатку устанавливают на периферии диска ротора. С диском ротора соединяют диск-лабиринт, с образованием контура подачи охлаждающего воздуха, сообщающегося с полостями циркуляции воздуха, выполненными в упомянутых лопатках, и открывающего у основания ножек лопаток, соединенных с упомянутым диском ротора, диск-лабиринт, направляющий воздух к этим ножкам лопаток. Между наружным краем диска-лабиринта и диском ротора вставлен кольцевой стопорный фланец, содержащий стопорный заплечик, образующий наружный кольцевой захват, в который заходит наружный край упомянутого диска-лабиринта, и опорный заплечик (74), образующий внутренний кольцевой захват, заходящий в осевую окружную выемку упомянутого диска ротора. Стопорный фланец содержит каналы для подвода потока воздуха к ножкам лопаток. Изобретение позволяет избежать деформации диска-лабиринта. 5 з.п. ф-лы, 5 ил.
Настоящее изобретение относится к газотурбинным двигателям, в частности к авиационному турбореактивному двигателю с охлаждением лопаток ротора турбины высокого давления, вращаемого энергией рабочих газов, выходящих из кольцевой камеры сгорания.
Классический турбореактивный двигатель содержит несколько турбин и, в частности, турбину высокого давления, в которой лопаточное колесо выполнено за кольцевым выходом камеры сгорания, куда непрерывно впрыскивается топливо и нагнетается воздух под давлением для поддержания горения. Лопаточное колесо позволяет приводить во вращение воздушный компрессор, обеспечивающий подачу воздуха непосредственно в камеру сгорания.
Лопатки колеса должны охлаждаться. Для этого, как известно, используют полые лопатки. Каждая лопатка содержит полость, внутри которой поддерживают принудительную циркуляцию охлаждающего воздуха. Часть воздуха, подаваемого компрессором, огибает камеру сгорания, попадает в лопатки и выбрасывается из них за лопаточное колесо в поток рабочих газов.
Лопаточное колесо состоит из вращающегося диска, называемого также диском ротора, соединенным с приводным валом компрессора. Лопатки устанавливают в гнезда, выполненные на периферии вращающегося диска. Обычно профиль такого гнезда называют «елочкой», и каждая лопатка содержит утолщение, называемое «ножкой лопатки», форма которой соответствует форме гнезда и которую вставляют в это гнездо. Между дном гнезда и ножкой лопатки оставляют канал. Полость, выполненная в лопатке, сообщается с этим каналом.
Для того чтобы воздух попадал в каналы, как известно, с вращающимся диском соединяют диск, называемый «лабиринтом». Последний устанавливают напротив одной стороны вращающегося диска, и он выполнен с возможностью направления части воздуха, подаваемого компрессором, к каналам под ножками лопаток.
Известен способ жесткого соединения диска-лабиринта с диском ротора вблизи ножек лопаток при помощи кулачковых соединений, что усложняет изготовление обоих дисков. Действительно, механическая обработка кулачков с удалением заусенцев является длительной и дорогостоящей операцией. Кроме того, желательно, насколько возможно, избегать любых геометрических форм малого радиуса или содержащих разрывы, являющихся причиной концентрации напряжений, снижающих срок службы детали. В частности, это требование особенно актуально для кулачков.
В патенте США 6540477 описан монтаж диска-лабиринта с периферической опорой на вращающийся диск, но такое решение, не использующее кулачкового соединения, не позволяет избежать деформации диска-либиринта под одновременным воздействием центробежной силы и тепла, которая может привести к утечке воздуха и потере эффективности системы охлаждения.
Настоящее изобретение предлагает решение всех этих проблем при помощи монтажа без кулачкового соединения и позволяет противостоять деформации диска-лабиринта.
В частности, настоящее изобретение относится к газотурбинному двигателю, содержащему лопаточное колесо с лопатками, выполненными полыми и охлаждаемыми изнутри при помощи принудительной циркуляции охлаждающего воздуха, при этом каждую лопатку устанавливают на периферии диска ротора, при этом в данном типе двигателя с диском ротора соединяют диск-лабиринт, с формированием контура подачи охлаждающего воздуха, сообщающегося с полостями циркуляции воздуха, выполненными в лопатках, и открывающего у основания ножек лопаток, соединенных с диском ротора, диск-лабиринт, направляющий воздух к этим ножкам лопаток, отличающемуся тем, что между наружным краем диска-лабиринта и диском ротора вставляют кольцевой стопорный фланец, содержащий стопорный заплечик, образующий наружный кольцевой захват, в который заходит наружный край упомянутого диска-лабиринта, и опорный заплечик, образующий внутренний кольцевой захват, заходящий в осевую окружную выемку упомянутого диска ротора, причем упомянутый стопорный фланец содержит каналы для подвода потока воздуха к ножкам лопаток.
Стопорный фланец содержит отверстия, находящиеся напротив гнезд, выполненных по периферии диска ротора и предназначенных для установки ножек лопаток.
Предпочтительно диск-лабиринт устанавливают с предварительным осевым напряжением в положении периферической опоры на стопорный фланец.
Настоящее изобретение и его другие преимущества будут более очевидны из нижеследующего, представленного исключительно в качестве примера, описания газотурбинного двигателя, выполненного согласно изобретению, со ссылками на прилагаемые чертежи, в числе которых:
фиг.1 изображает частичный схематический вид турбореактивного двигателя в соответствии с настоящим изобретением, в частности содержащего турбину высокого давления и систему ее охлаждения.
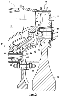
Фиг.2 – вид в увеличенном масштабе фрагмента фиг.1.
Фиг.3 представляет частичное изображение в разобранном виде в перспективе со стороны стрелки III фиг.2.
Фиг.4 представляет схему взаимодействий между частями, соединенными в соответствии с настоящим изобретением.
Фиг.5 – вид варианта выполнения, аналогичный фиг.2.
Все показанные на чертежах детали являются осимметричными с осью Y’-Y, причем для подвижных деталей эта ось является осью вращения. В частности, на фиг.1-3 показана часть турбореактивного двигателя 11 и, в частности, турбина 12 высокого давления, соединенная с кольцевой камерой 16 сгорания. В основном турбина содержит лопаточное колесо 14, приводимое во вращение за счет действия газов, выходящих из камеры 16 сгорания. Кольцевой выход 18 этой камеры оснащен неподвижными лопатками 20, направляющими газы к лопаткам 22 упомянутого лопаточного колеса. В дне камеры 16 сгорания кольцеобразно установлены форсунки 26. Камера установлена внутри кольцевого картера 28, содержащего кольцо воздухозаборных отверстий 30, в которые под давлением поступает воздух от компрессора (не показан на чертежах), вращаемого полым валом 34 с осью Y’-Y, на котором установлено лопаточное колесо 14. Основная часть воздуха под давлением, поступающего в картер 28, попадает в камеру сгорания, где она обеспечивает процесс горения.
Лопаточное колесо 14 содержит диск 36 ротора, закрепленный на валу 34 при помощи болтов 38. По своей наружной периферии этот диск содержит удлиненные гнезда 40 с постоянным поперечным сечением, известный из предшествующего уровня профиль которых называют «елочкой». Эти гнезда равномерно распределены в окружном направлении по периферии диска 36 ротора. В гнезда устанавливают лопатки 22. Для этого каждая лопатка содержит утолщение или ножку 44 лопатки, профиль которой соответствует профилю радиально наружной части гнезда, в котором устанавливают эту ножку лопатки. Тем не менее, между дном каждого гнезда и установленной в нем ножкой 44 лопатки остается канал. Как будет показано ниже, каналы 46 предназначены для прохождения воздуха, охлаждающего лопатки, находящиеся напротив кольцевого выхода 18 камеры 16 сгорания.
Как известно, каждая лопатка содержит полость 48, внутри которой поддерживают принудительную циркуляцию охлаждающего воздуха, поступающего из картера 28. Таким образом, часть нагнетаемого компрессором воздуха огибает камеру 16 сгорания и циркулирует внутри лопаток 22, после чего выбрасывается из них в основном через отверстия, выполненные вдоль задних кромок лопаток. Выбрасываемый воздух смешивается с потоком рабочих газов, проходящим через лопаточное колесо 14, причем этот поток направляется к другой турбине, не показанной на чертежах. Каждая полость 48, предназначенная для циркуляции воздуха, сообщается у основания ножки 44 лопатки с вышеуказанным каналом 46. На выходе лопаточного колеса концы гнезд (и, следовательно, каналы 46) перекрыты кольцевым фланцем 50. Спереди на диске 36 ротора закрепляют диск-лабиринт 52, ограничивающий вместе с ним контур подачи охлаждающего воздуха, сообщающийся с совокупностью каналов 46, находящихся под ножками лопаток.
Диск-лабиринт 52 соединяют с диском 36 ротора и с валом 34 при помощи этого же набора болтов 38. Он содержит ребра 54 жесткости, направленные в сторону диска ротора. Кольцевые зубья 56, 58, взаимодействующие с соответствующими кольцевыми поверхностями 60, 62, выполненными заодно с картером 28, образуют стыки. Для отбора части воздуха, нагнетаемого в картер 28, между рядом выпускных отверстий 6, выполненных в стенке картера, и рядом впускных отверстий 66, выполненных в стенке диска-лабиринта, устанавливают сопло 64 кольцевой конструкции. Таким образом, воздух под давлением непрерывно нагнетается в кольцевое пространство, ограниченное между диском-лабиринтом и диском ротора. Это кольцевое пространство сообщается с каналами 46, как будет показано ниже.
Согласно отличительному признаку настоящего изобретения между наружным краем 71 диска-лабиринта 52 и упомянутым диском ротора 14 устанавливают кольцевой стопорный фланец 70 для стабилизации положения упомянутого наружного края 71 диска-лабиринта, когда последний имеет тенденцию к деформированию под действием центробежной силы и тепла. Для этого стопорный фланец 70 содержит стопорный заплечик 72, образующий наружный кольцевой захват 71, в который заходит наружный край диска-лабиринта, и опорный заплечик 74, образующий внутренний кольцевой захват 75, заходящий в осевую окружную выемку 76 диска 36 ротора. Кроме того, стопорный фланец содержит каналы для прохождения потока воздуха к ножкам лопаток. В частности, стопорный фланец содержит отверстия 78, находящиеся напротив концов гнезд 40, выполненных по периферии диска ротора и предназначенных для установки упомянутых ножек лопаток соответственно. Установку стопорного фланца 70 относительно диска 36 ротора осуществляют таким образом, чтобы отверстия 78 находились в продолжении гнезд. Кроме того, предпочтительно, чтобы каждое отверстие 78, выполненное в стопорном фланце 70, имело контур, аналогичный контуру поперечного сечения канала 46, образованного в находящемся напротив гнезде под соответствующей ножкой лопатки. Этот отличительный признак проиллюстрирован на фиг.3. Благодаря такой конструкции избегают потери напора в этой части контура воздушного потока.
Как видно из схемы на фиг.4, центробежная сила В, действующая через диск-лабиринт на стопорный фланец в опорной точке, находящейся на заплечике 72, вызывает противодействие А в опорной точке, находящейся на заплечике 74. Если g является осевым смещением между А и В, то момент gA порождает усилие f радиально наружной части стопорного диска, направленное в сторону диска 36 ротора, при этом f=Ag/L, где L является радиальным расстоянием между заплечиком 74 и опорной точкой усилия f. Таким образом, усилие f позволяет воспрепятствовать утечке воздуха между диском ротора и стопорным фланцем, увеличивая опорное усилие стопорного фланца на диск ротора.
Кроме того, диск-лабиринт 52 устанавливают с предварительным напряжением в положении периферической опоры на стопорный фланец 70. В случае необходимости, может быть установлена прокладка 80 между диском-лабиринтом и стопорным фланцем в зоне периферической опоры между краем диска-лабиринта и стопорным фланцем. Диск-лабиринт 58 содержит периферическое утолщение для его установки в стопорном заплечике 72 стопорного фланца.
В варианте, показанном на фиг.5, элементы конструкции, аналогичные элементам варианта выполнения, показанного на фиг.1-3, обозначены теми же цифровыми позициями, и их описание опускается. Этот вариант отличается тем, что стопорный фланец 70а продлен радиально во внутреннюю сторону за пределы опорного заплечика 74 напротив диска-лабиринта 52. Он выполнен таким образом, что по существу оказывается прижатым к нервюрам 54 этого диска-лабиринта. Таким образом, более четко определяют контур потока охлаждающего воздуха вдоль диска-лабиринта 52 между нервюрами 54 последнего.
Во время работы часть сжатого воздуха, нагнетаемого в картер 28, выходит через его отверстия 66 и направляется к полым лопаткам 22 лопаточного колеса для их охлаждения вместо того, чтобы обеспечивать горение в камере 16 сгорания. Стопорный фланец 70 или 70а удерживает наружный край диска-лабиринта и препятствует любой утечке воздуха по периферии диска-лабиринта.
Формула изобретения
1. Газотурбинный двигатель, содержащий лопаточное колесо (14) с лопатками, выполненными полыми и охлаждаемыми изнутри при помощи принудительной циркуляции охлаждающего воздуха, при этом каждую лопатку (22) устанавливают на периферии диска ротора, причем в данном типе двигателя с диском ротора соединяют диск-лабиринт (52) с образованием контура подачи охлаждающего воздуха, сообщающегося с полостями (48) циркуляции воздуха, выполненными в упомянутых лопатках, и открывающего у основания ножек (44) лопаток, соединенных с упомянутым диском ротора, диск-лабиринт, направляющий воздух к этим ножкам лопаток, при этом между наружным краем диска-лабиринта и диском ротора вставляют кольцевой стопорный фланец (70), содержащий стопорный заплечик (72), образующий наружный кольцевой захват, в который заходит наружный край упомянутого диска-лабиринта, и опорный заплечик (74), образующий внутренний кольцевой захват, заходящий в осевую окружную выемку упомянутого диска ротора, причем упомянутый стопорный фланец содержит каналы (78) для подвода потока воздуха к ножкам лопаток.
2. Газотурбинный двигатель по п.1, отличающийся тем, что стопорный фланец (70) содержит отверстия (78), находящиеся напротив гнезд (40), выполненных по периферии диска ротора и предназначенных для установки вышеуказанных ножек лопаток соответственно.
3. Газотурбинный двигатель по п.1 или 2, отличающийся тем, что стопорный фланец (70а) продолжен радиально внутрь за пределы опорного заплечика напротив диска-лабиринта (52).
4. Газотурбинный двигатель по п.1, отличающийся тем, что диск-лабиринт (52) устанавливают с предварительным осевым напряжением в положении периферической опоры на стопорный фланец.
5. Газотурбинный двигатель по п.4, отличающийся тем, что между диском-лабиринтом и стопорным фланцем в зоне вышеуказанной периферической опоры устанавливают прокладку (80).
6. Газотурбинный двигатель по п.2, отличающийся тем, что каждое отверстие (78), выполненное в стопорном фланце, имеет контур, аналогичный контуру поперечного сечения канала (48), образованного в находящемся напротив гнезде под соответствующей ножкой лопатки.
РИСУНКИ
|
|