|
|
(21), (22) Заявка: 2008109425/03, 11.03.2008
(24) Дата начала отсчета срока действия патента:
11.03.2008
(46) Опубликовано: 20.11.2009
(56) Список документов, цитированных в отчете о поиске:
RU 2076200 С1, 27.03.1997. RU 2230184 С1, 10.06.2004. RU 2085567 С1, 27.07.1997. RU 2230894 С1, 20.04.2004. SU 834346 А, 30.05.1981. RU 2019687 С1, 15.09.1994. RU 2079657 С1, 20.05.1997. RU 2097543 С1, 27.11.1997. RU 2090742 С1, 20.09.1997. RU 2155862 С1, 10.09.2000.
Адрес для переписки:
630091, г.Новосибирск-91, Красный пр-кт, 54, ИГД СО РАН
|
(72) Автор(ы):
Белобородов Василий Николаевич (RU), Ткачук Андрей Константинович (RU)
(73) Патентообладатель(и):
Институт горного дела Сибирского отделения Российской академии наук (RU)
|
(54) СПОСОБ РАЗУПРОЧНЕНИЯ РАЗРАБАТЫВАЕМОЙ ПОРИСТОЙ СРЕДЫ
(57) Реферат:
Изобретение относится к горному делу и строительству и применяется при разупрочнении горных пород, угольных пластов, грунтов, прочих пористых материалов. Способ включает нагнетание в массив 1 через скважины 2 растворов поверхностно-активных веществ, в которые вводят, по меньшей мере, один газообразующий агент, получая газообразный агент непосредственно в порах и трещинах разрабатываемой пористой среды, который используют в качестве средства для разупрочнения разрабатываемой пористой среды. Используемый газообразующий агент способен к каталитическому разложению при контакте с разрабатываемой пористой средой, содержащей естественные катализаторы. Катализаторы подают в скважину. Используют газообразующие агенты, из которых получают газообразный агент при их химическом взаимодействии. Газообразный агент получают при повышенной температуре, оказывая термическое воздействие на разрабатываемую пористую среду после нагнетания растворов ПАВ и газообразующих агентов. ПАВ и газообразующие агенты нагнетают в массив раздельно. Перед нагнетанием растворов ПАВ и газообразующих агентов в скважинах создают разрежение. Изобретение позволяет повысить эффективность разупрочнения. 6 з.п. ф-лы, 1 ил.
Техническое решение относится к горному делу и строительству и может найти применение при разупрочнении горных пород, угольных пластов, грунтов, прочих пористых материалов.
Известен способ отбойки пород при проходке горных выработок (авт. свид. СССР 787647, кл. Е21С 37/00, опубл. в БИ 46, 1980 г.), включающий бурение шпуров, их заряжение, обработку горных пород поверхностно-активными веществами (ПАВ), которую производят перед бурением шпуров через предварительно пробуренную скважину длиной, в 1,5÷2 раза большей суточного прохождения горной выработки.
Недостатком этого способа является небольшая глубина проникновения растворов ПАВ, макромолекулы которых не могут проникнуть в микропоры массива и снизить величину поверхностной энергии в большом объеме. Особенно неэффективен способ в средах (уголь), где микропористость в несколько раз превышает объем трещин и макропор, в которые проникает раствор ПАВ свободно.
Известен также способ разупрочнения угольного пласта (авт. свид. СССР 1456605, кл. E21F 5/00, E21C 41/04, опубл. в БИ 5, 1989 г.), включающий бурение системы скважин на участках пласта и подачу в них под давлением углекислого газа. При бурении скважин определяют температуру угля участка пласта, определяют разупрочняющее пороговое давление и при температуре участка пласта, равной или меньшей критической температуры углекислого газа, подачу углекислого газа в скважины производят под давлением, равным или большим порогового, затем выдерживают скважины при этом давлении до установления режима равновесия, после чего осуществляют выпуск углекислого газа из скважины.
Этот способ позволяет более эффективно воздействовать на поверхность микропор среды, благодаря тому, что способность молекул углекислого газа проникать в глубину угольного массива в 30÷40 раз выше, чем молекул растворов ПАВ. Однако углекислый газ проявляет свои поверхностно-активные свойства только в поле поверхностных сил микропор, не воздействуя на поверхность макропор, что ограничивает эффект разупрочнения.
Наиболее близким к предложенному техническому решению является способ разупрочнения горных пород и углей (патент РФ 2076200, кл. Е21В 37/00, опубл. в БИ 9, 1997 г.), включающий нагнетание в массив через скважины адсорбирующегося газообразного агента и растворов ПАВ.
Недостатками этого способа являются сложность его реализации, связанная с необходимостью тщательной герметизации устья скважины, а также недостаточная эффективность, так как газ испаряется до того, как достигнет зоны разупрочнения.
Задачей предлагаемого технического решения является повышение эффективности разупрочнения разрабатываемой пористой среды и упрощение реализации способа за счет получения газообразных агентов непосредственно в зоне разупрочнения из газообразующих агентов.
Для решения указанной задачи в способе разупрочнения разрабатываемой пористой среды, включающем нагнетание в массив через скважины растворов ПАВ, согласно техническому решению в растворы ПАВ вводят по меньшей мере один газообразующий агент, получая газообразный агент непосредственно в порах и трещинах разрабатываемой пористой среды.
Повышения эффективности разупрочнения разрабатываемой пористой среды в предлагаемом техническом решении достигают за счет получения газообразного агента непосредственно в зоне разупрочнения в порах и трещинах разрабатываемой пористой среды, что позволяет наиболее полно использовать избыточное давление газообразного агента непосредственно в зоне разупрочнения. Упрощения реализации способа достигают за счет подачи в зону разупрочнения только растворов ПАВ и газообразующих агентов без подачи газообразных агентов, что всегда затруднительно.
Целесообразно использовать газообразующий агент, способный к каталитическому разложению при контакте с разрабатываемой пористой средой, содержащей естественные катализаторы. В этом случае повышения эффективности и упрощения реализации способа достигают за счет подачи подобранного для разрабатываемой пористой среды газообразующего агента, позволяющего без дополнительной подачи катализатора получать в зоне разупрочнения газообразный агент.
В разрабатываемых средах, не содержащих естественные катализаторы, целесообразно использовать газообразующий агент, способный к каталитическому разложению, при этом в скважину подают катализаторы. Это позволяет значительно повысить эффективность процесса разупрочнения разрабатываемой пористой среды за счет возможности получения газообразного агента в любой пористой среде (прежде всего в среде, не содержащей естественные катализаторы).
Целесообразно использовать газообразующие агенты, из которых получают газообразный агент при их химическом взаимодействии. Такое решение позволяет без подачи в скважину катализаторов получать газообразный агент при химическом взаимодействии газообразующих агентов, что расширяет круг доступных выделяемых газообразных агентов и повышает таким образом эффективность способа.
В случаях разупрочнения наиболее прочных пористых сред для реализации тех же задач целесообразно газообразный агент получать при повышенной температуре, применяя газообразующие агенты, выделяющие газ лишь при повышенной температуре, и оказывая термическое воздействие на разрабатываемую пористую среду после нагнетания растворов ПАВ и газообразующих агентов. Таким образом исключается преждевременное разложение газообразующих агентов и сопутствующие ему потери газообразного агента. При нагревании газообразный агент, преобразовавшись из газообразующего, адсорбируется на поверхности пор и микротрещин. Происходит расширение микропор, их соединение между собой (невозможное в особо прочных средах без термовоздействия), т.е. увеличение макропористости и проницаемости разрабатываемой пористой среды, что значительно повышает эффективность способа.
При разупрочнении разрабатываемой пористой среды, когда длина скважин достаточно велика (более 20 м), одновременная подача нескольких газообразующих агентов в растворе ПАВ нецелесообразна, поскольку выделение газообразного агента происходит прежде достижения контакта ПАВ и газообразующего агента с пористой средой. В этом случае повышения эффективности предлагаемого способа достигают за счет того, что растворы ПАВ и газообразующие агенты нагнетают в массив раздельно, исключая их взаимодействие до контакта с пористой средой, что позволяет наиболее эффективно воздействовать на разрабатываемую пористую среду.
Целесообразно перед нагнетанием растворов ПАВ и газообразующих агентов в скважинах создавать разрежение. Создание в зоне разупрочнения разрежения, например, с помощью вакуумных насосов позволяет значительно увеличить зону проникновения ПАВ и газообразующих агентов в разрабатываемую пористую среду и этим повысить эффективность разупрочнения.
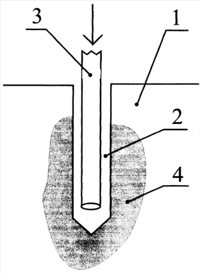
Сущность технического решения поясняется примером его реализации и чертежом, на котором схематично показан пример реализации способа разупрочнения пористой среды из одной скважины.
Способ реализуют следующим образом.
В массиве разрабатываемой пористой среды 1 (грунта, горной породы, угольных пластов, бетона и т.п.) бурят скважины 2 (см. чертеж). Если свойства среды позволяют, то устье скважины 2 герметизируют и создают разрежение. В скважину подают через инъекторы 3 ПАВ, в раствор которых вводят, по меньшей мере, один газообразующий агент, например, вводят 5÷10% раствор перекиси водорода, разложение которого происходит при контакте с разрабатываемой пористой средой, содержащей естественные катализаторы ее разложения (окислы металлов). В пористых средах 1, не содержащих последние, катализаторы (например, раствор бихроматов щелочных металлов) подают в скважину 2 для получения газообразного агента из газообразующего.
Можно подавать несколько газообразующих агентов в ПАВ, из которых получают газообразный агент при их химическом взаимодействии, например 5÷10% раствор кислоты и раствор, содержащий 5÷10% карбонатов щелочных металлов или аммония. Можно также подавать в качестве газообразующего агента раствор нитрита аммония, а затем, после его глубокого проникновения, оказывать термическое воздействие, что вызовет его термическое разложение в порах и трещинах пористой среды. Термическое воздействие можно оказывать подачей в скважину теплоносителя, пропуская через пористую среду электроток, воздействуя полями СВЧ и другими известными способами.
Проникая в трещины, поры и микропоры пористой среды, газообразный агент, образовавшийся при взаимодействии газообразующих агентов, или в результате химического взаимодействия газообразующего агента со средой, или при его нагревании, адсорбируется на поверхности пор и микротрещин в радиусе нескольких метров от скважины. В результате взаимодействия на границе «газ – твердое тело» понижается величина свободной поверхностной энергии (так называемый «Эффект Ребиндера»), что приводит к расширению микропор и их соединению между собой, т.е. к увеличению макропористости и проницаемости разрабатываемой пористой среды. Также избыточное давление выделяющегося в порах газообразного агента способствует дополнительному разупрочнению пористой среды.
Жидкие ПАВ, взаимодействуя с поверхностями крупных трещин и макропор, образованных после контакта газообразных агентов с микротрещинами и порами среды, значительно снижают свободную энергию на их поверхности, приводя к дальнейшему разупрочнению ослабляемой пористой среды. Образуется зона 4 разупрочненной пористой среды.
При больших глубинах разрабатываемой пористой среды 1 для избежания преждевременного образования газообразных агентов и их улетучивания разложение одного из газообразующих агентов или химическое взаимодействие нескольких газообразующих агентов целесообразно производить непосредственно на границе «разупрочнитель – разрабатываемая пористая среда». Поэтому взаимодействие газообразующего агента и ПАВ производят на этой границе, т.е. в разрабатываемую пористую среду 1 при длинах скважин 2 более 20 м газообразующие агенты и ПАВ подают раздельно.
Как показали проведенные на грунте экспериментальные исследования, предлагаемая технология позволяет значительно снизить его прочностные характеристики и повысить на 30÷50% эффективность разупрочнения пористой среды по сравнению с известными способами.
Формула изобретения
1. Способ разупрочнения разрабатываемой пористой среды, включающий нагнетание в массив через скважины растворов поверхностно-активных веществ (ПАВ), отличающийся тем, что в растворы ПАВ вводят, по меньшей мере, один газообразующий агент, получая газообразный агент непосредственно в порах и трещинах разрабатываемой пористой среды, который используют в качестве средства для разупрочнения разрабатываемой пористой среды.
2. Способ по п.1, отличающийся тем, что используют газообразующий агент, способный к каталитическому разложению при контакте с разрабатываемой пористой средой, содержащей естественные катализаторы.
3. Способ по п.1, отличающийся тем, что используют газообразующий агент, способный к каталитическому разложению, при этом катализаторы подают в скважину.
4. Способ по п.1, отличающийся тем, что используют газообразующие агенты, из которых получают газообразный агент при их химическом взаимодействии.
5. Способ по любому из пп.1-4, отличающийся тем, что газообразный агент получают при повышенной температуре, оказывая термическое воздействие на разрабатываемую пористую среду после нагнетания растворов ПАВ и газообразующих агентов.
6. Способ по любому из пп.1-4, отличающийся тем, что ПАВ и газообразующие агенты нагнетают в массив раздельно.
7. Способ по любому из пп.1-4, отличающийся тем, что перед нагнетанием растворов ПАВ и газообразующих агентов в скважинах создают разрежение.
РИСУНКИ
|
|