|
|
(21), (22) Заявка: 2008123477/03, 09.06.2008
(24) Дата начала отсчета срока действия патента:
09.06.2008
(46) Опубликовано: 20.11.2009
(56) Список документов, цитированных в отчете о поиске:
US 3500908 А, 17.03.1970. SU 1671839 A1, 23.08.1991. SU 1645453 A1, 30.04.1991. RU 2038461 C1, 27.06.1995. CA 750813 A, 17.01.1967.
Адрес для переписки:
423236, Республика Татарстан, г. Бугульма, ул. М. Джалиля, 32, “ТатНИПИнефть”, Сектор создания и развития промышленной собственности
|
(72) Автор(ы):
Махмутов Ильгизар Хасимович (RU), Страхов Дмитрий Витальевич (RU), Зиятдинов Радик Зяузятович (RU), Асадуллин Марат Фагимович (RU), Оснос Владимир Борисович (RU)
(73) Патентообладатель(и):
Открытое акционерное общество “Татнефть” им. В.Д. Шашина (RU)
|
(54) УСТЬЕВОЕ УСТРОЙСТВО ДЛЯ ОСВОБОЖДЕНИЯ КОЛОННЫ ТРУБ ИЗ СКВАЖИНЫ
(57) Реферат:
Изобретение относится к нефтегазодобывающей промышленности, в частности к устьевым устройствам для освобождения аварийной колонны труб, прихваченной в скважине. Устройство включает демпфер, установленный между подъемником и генератором вертикальных импульсов, соединенным с колонной труб. Демпфер включает вертикальный герметичный цилиндр с поршнем, внутренняя полость которого заполнена газом. Генератор вертикальных импульсов сверху соединен с демпфером, а снизу – с колонной труб. Генератор содержит трубчатый корпус, дополнительный цилиндр, кольцевой поршень, пружину, упор, груз. Кольцевой поршень герметично вставлен в дополнительный цилиндр и взаимодействует снизу с кольцевым подпружиненным вверх от упора грузом. Груз выполнен с возможностью возвратно-поступательного перемещения по трубчатому корпусу и взаимодействия снизу при перемещении вверх с дополнительным цилиндром. Надпоршневая полость дополнительного цилиндра выполнена с возможностью сообщения с импульсным насосом. Упрощается конструкция, снижается стоимость изготовления и металлоемкость. 1 ил.
Изобретение относится к нефтегазодобывающей промышленности, в частности к устьевым устройствам для освобождения аварийной колонны труб, прихваченной в скважине.
Известна устьевая установка генерации и передачи акустической энергии для освобождения прихваченной колонны труб в буровой скважине (US 4429743, Е21В 37/08; Е21 В 41/00, опубл. 07.02.1974 г.), включающая орбитальный массовый генератор, предназначенный для генерации акустической энергии с резонатором, соединенный на устье с колонной труб, подъемник и демпфер, установленный между генератором и подъемником и выполненный в виде поршневого вертикального амортизатора, заполненного жидкостью или газожидкостной смесью.
Недостатками данной устьевой установки являются:
во-первых, сложность конструкции, обусловленная большим количеством узлов и деталей;
во-вторых, высокая стоимость изготовления и металлоемкость (орбитальный массовый генератор предназначен для генерации акустической энергии с резонатором).
Наиболее близким по технической сущности является устьевое устройство для освобождения колонны труб из скважины (патент US 3500908, Е21В 37/08; Е21В 41/00, опубл. 07.02.1974 г.), включающее демпфер, установленный между подъемником и генератором вертикальных импульсов, который снизу соединен с колонной труб, причем демпфер выполнен в виде верхней и нижней горизонтальных пластин с вертикальными телескопически вставленными друг в друга цилиндром и штоком, между упорами которых установлены пружины, а генератор вертикальных импульсов выполнен в виде установленных в корпусе пар соединенных вертикальных зубчатых колес со смещенным центром тяжести, подобранных так, что при вращении зубчатых колес их суммарный импульс был направлен по оси колонны труб.
Недостатками данной устьевой установки являются:
во-первых, сложность конструкции, обусловленная большим количеством узлов и деталей;
во-вторых, высокая точность изготовления зубчатых колес, напрямую влияющая на дороговизну устройства в изготовлении, в обратном случае может произойти заклинивание зубчатых колес в процессе работы;
в-третьих, усилие по оси колонны, создаваемое на прихваченную колонну труб равнозначно по усилию вверх и вниз, что снижает эффективность извлечения прихваченной колонны труб из скважины.
Задачей изобретения является упрощение конструкции устройства, снижение стоимости его изготовления, снижение металлоемкости, а также увеличение усилий, направленных вверх.
Поставленная задача решается устьевым устройством для освобождения колонны труб из скважины, включающим демпфер, установленный между подъемником и генератором вертикальных импульсов, который снизу соединен с колонной труб.
Новым является то, что демпфер включает вертикальный герметичный цилиндр с поршнем, внутренняя полость которого заполнена газом, при этом генератор вертикальных импульсов сверху соединен с демпфером, а снизу – с колонной труб, причем генератор вертикальных импульсов содержит трубчатый корпус, дополнительный цилиндр, кольцевой поршень, пружину, упор, груз, при этом кольцевой поршень герметично вставлен в дополнительный цилиндр и взаимодействует снизу с кольцевым подпружиненным вверх от упора грузом, который выполнен с возможностью возвратно-поступательно перемещения по трубчатому корпусу и взаимодействия снизу при перемещении вверх с дополнительным цилиндром, причем надпоршневая полость дополнительного цилиндра выполнена с возможностью сообщения с импульсным насосом.
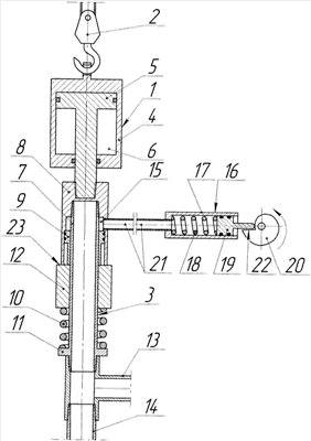
На чертеже изображено предлагаемое устьевое устройство для освобождения колонны труб из скважины в продольном разрезе.
Устьевое устройство для освобождения колонны труб из скважины (не показано) включает демпфер 1 (см. чертеж), установленный между подъемником 2 (условно показан крюкоблок) и генератором вертикальных импульсов 3.
Демпфер 1 включает вертикальный герметичный цилиндр 4 с герметично вставленным в него поршнем 5, внутренняя полость 6 которого заполнена газом (например, азотом под давлением 30,0 МПа).
Генератор вертикальных импульсов 3 содержит трубчатый корпус 7, дополнительный цилиндр 8, кольцевой поршень 9, пружину 10, упор 11, груз 12.
Кольцевой поршень 9 герметично вставлен в дополнительном цилиндре 8 и взаимодействует снизу с кольцевым подпружиненным вверх посредством пружины 10 от упора 11 трубчатого корпуса 7 грузом 12, который выполнен с возможностью возвратно-поступательного перемещения по трубчатому корпусу 7 и взаимодействия снизу при перемещении вверх с дополнительным цилиндром 8.
Сверху трубчатый корпус 7 посредством дополнительного цилиндра 8 соединен с поршнем 5 демпфера 1.
Снизу трубчатый корпус 7 посредством тройника 13 соединен с колонной труб 14.
Надпоршневая полость 15 дополнительного цилиндра 8 выполнена с возможностью сообщения с импульсным насосом 16.
Устьевое устройство для освобождения колонны труб из скважины работает следующим образом.
Устройство собирают на устье скважины, как показано на чертеже, после чего с помощью подъемника 2 производят натяжку устройства и соответственно прихваченной в скважине колоны труб 14.
Приводят в действие импульсный насос 16, который может быть любой известной конструкции, например, такой, который показан на чертеже. Насос 16 состоит из гидроцилиндра 17 и герметично вставленного и подпружиненного от гидроцилиндра 17 посредством пружины 18 поршня 19, при этом с помощью двигателя (любой известной конструкции) передает вращательное движение кулачку 20, который вращается в направлении, указанном на чертеже. В процессе своего вращения кулачок 20 воздействует на поршень 19 импульсного насоса 16, при этом поршень перемещается влево, сжимая пружину 18 и нагнетая давление в надпоршневой полости 15 дополнительного цилиндра 8 посредством гибкого патрубка 21, гидравлически сообщающего импульсный насос с дополнительным цилиндром 8.
В результате кольцевой поршень 9 перемещается вниз относительно остающихся неподвижными трубчатого корпуса 7 генератора вертикальных импульсов 3 и дополнительного цилиндра 8, воздействуя на груз 12, который одновременно с кольцевым поршнем также перемещается вниз относительно трубчатого корпуса 7 генератора вертикальных импульсов 3, сжимая пружину 10, упертую в упор 11.
Сжатие пружины 10 и соответственно перемещение вниз кольцевого поршня 9 и груза 12 происходит до тех пор, пока кулачок 20 не провернется на 1 оборот и не перещелкнет выступ 22.
В это время поршень 19 за счет возвратного усилия пружины 18 резко возвращается обратно относительно гидроцилиндра 17 и занимает исходное положение (см. чертеж).
Одновременно с этим благодаря тому, что давление в надпоршневой полости 15 дополнительного цилиндра 8 падает и за счет возвратной силы пружины 10, кольцевой поршень 9 вместе с грузом 12 резко перемещается вверх относительно остающихся неподвижными трубчатого корпуса 7 генератора вертикальных импульсов 3 и дополнительного цилиндра 8, при этом происходит удар верхнего торца 23 груза 12 о нижний торец дополнительного цилиндра 8, который передает вверх ударное усилие на поршень 5 демпфера 1, а поскольку дополнительный цилиндр 8 жестко соединен с прихваченной колонной труб 14 посредством трубчатого корпуса 7 генератора вертикальных импульсов 3 и тройника 13, то происходит резкий рывок (удар, направленный вверх) прихваченной колонны труб 14 вверх.
Поскольку сверху дополнительный цилиндр 8 жестко соединен с поршнем 5 и внутренняя полость 6 цилиндра 4 демпфера 1 заполнена газом, то происходит гашение ударного усилия вверх, воспринимаемого подъемником 2. Таким образом, происходит один цикл работы устьевого устройства для освобождения колонны труб из скважины.
В дальнейшем цикл повторяется, как описано выше, и количество ударов, направленных вверх (рывков, прихваченной колонны труб 14), соответствует количеству оборотов кулачка 20, приводимого в движение двигателем (не показано).
При необходимости в любой момент при освобождении при наличии циркуляции можно произвести промывку прихваченной колонны труб 14 посредством тройника 13.
Предлагаемое устьевое устройство для освобождения колонны труб из скважины имеет простую конструкцию и сравнительно с прототипом дешево в изготовлении и имеет меньшую металлоемкость, при этом конструкция устройства позволяет значительно увеличить усилия направленные вверх по оси колонны труб, что повышает эффективность извлечения прихваченной колонны труб в скважине.
Формула изобретения
Устьевое устройство для освобождения колонны труб из скважины, включающее демпфер, установленный между подъемником и генератором вертикальных импульсов, который снизу соединен с колонной труб, отличающееся тем, что демпфер включает вертикальный герметичный цилиндр с поршнем, внутренняя полость которого заполнена газом, при этом генератор вертикальных импульсов сверху соединен с демпфером, а снизу – с колонной труб, причем генератор вертикальных импульсов содержит трубчатый корпус, дополнительный цилиндр, кольцевой поршень, пружину, упор, груз, при этом кольцевой поршень герметично вставлен в дополнительный цилиндр и взаимодействует снизу с кольцевым подпружиненным вверх от упора грузом, который выполнен с возможностью возвратно-поступательного перемещения по трубчатому корпусу и взаимодействия снизу при перемещении вверх с дополнительным цилиндром, причем надпоршневая полость дополнительного цилиндра выполнена с возможностью сообщения с импульсным насосом.
РИСУНКИ
|
|