|
|
(21), (22) Заявка: 2008114120/03, 10.04.2008
(24) Дата начала отсчета срока действия патента:
10.04.2008
(46) Опубликовано: 20.11.2009
(56) Список документов, цитированных в отчете о поиске:
SU 883351 А, 23.11.1981. RU 22962 U1, 10.05.2002. RU 2137913 C1, 29.09.1999. RU 2098607 C1, 10.12.1997. GB 2383065 A, 18.06.2003.
Адрес для переписки:
423230, Республика Татарстан, г. Бугульма, ул. М. Джалиля, 32, “ТатНИПИнефть”, Сектор создания и развития промышленной собственности
|
(72) Автор(ы):
Ибрагимов Наиль Габдулбариевич (RU), Ахмадишин Фарит Фоатович (RU), Кашапов Ильгиз Камаевич (RU), Мелинг Константин Викторович (RU), Кашапов Ренат Ильгизович (RU)
(73) Патентообладатель(и):
Открытое акционерное общество “Татнефть” им. В.Д. Шашина (RU)
|
(54) УСТРОЙСТВО ДЛЯ ПРОДОЛЬНОЙ РЕЗКИ ТРУБ В СКВАЖИНЕ
(57) Реферат:
Изобретение относится к нефтегазодобывающей промышленности, в частности к оборудованию для резки труб в скважине с целью вскрытия продуктивных пластов, ремонта. Устройство содержит корпус с режущим инструментом, выполненным в виде размещенных на осях накатных роликов с формообразующей поверхностью с возможностью ограниченного радиального перемещения под действием клина с центральным каналом и распорной поверхностью, сопряженной у основания с накатной частью ролика, гидротолкатель, сообщенный с центральным каналом и взаимодействующий с возможностью ограниченного перемещения с клином и корпусом. Клин с центральным каналом оснащен резьбами для соединения со скважинным оборудованием. Диаметр отверстий роликов больше диаметра оси на величину радиального хода роликов. Распорная поверхность клина включает верхнюю рабочую и нижнюю транспортную распорную поверхности для взаимодействия с роликами соответственно в рабочем и транспортном положении. В нижней части клина расположен гидротолкатель, на поршне которого размещен с возможностью перемещения вверх цилиндр. Корпус, подпружиненный относительно верхней части клина, размещен на клине с возможностью ограниченного перемещения вверх под действием цилиндра гидротолкателя и продольной силы, направленной вверх при разрезании трубы. Упрощается конструкция, повышается надежность работы, уменьшаются затраты на изготовление и обслуживание. 4 ил.
Изобретение относится к оборудованию для резки труб в скважине с целью вскрытия продуктивных пластов, резки ремонтных патрубков, пластырей, перекрывателей и т.п.
Известно устройство для разрезания ремонтного патрубка в скважине (патент RU 2188300 С2, МПК Е21В 29/00, опубл. в Бюл. 24 от 27.08.02).
Устройство содержит корпус и клиновой нож, установленный в пазу корпуса. Разрезание патрубка производится перемещением корпуса с ножом сверху вниз.
Недостатком этого способа является то, что не обеспечивается жесткость системы СПИД (станок, приспособление, инструмент, деталь) при резании патрубка, что является причиной выкрашивания и поломки режущих кромок ножа.
Наиболее близким по технической сущности к заявляемому является способ создания перфорационных щелевых каналов в обсадной колонне и устройство для его осуществления (а.с. 883351, МПК Е21В 43/114, опубл. в Бюл. 43 от 23.11.81).
Устройство для продольной резки труб, в скважине содержащее корпус с режущим инструментом, выполненным в виде накатных роликов с формообразующей поверхностью с возможностью ограниченного радиального перемещения под действием клина с распорной поверхностью, сопряженной у основания с накатной частью ролика, и гидротолкатель, сообщенный с центральным каналом и взаимодействующий с возможностью ограниченного перемещения с клином и корпусом.
Недостатком этого устройства является то, что вращение ролика происходит на оси, жестко соединенной с обоймой, при этом под действием усилия клиньев, передающегося через обойму на ось, происходит износ трущихся пар оси и ролика, при этом теряется максимальный размер выдвижения роликов и возможно сваривание трением оси и ролика. Существенным недостатком этого устройства является низкая надежность вследствие возможности зашламления полости пружин и обоймы, а также дороговизна в изготовлении из-за большого количества деталей, трудоемких в изготовлении.
Технической задачей предлагаемого устройства является упрощение конструкции, повышение надежности работы, уменьшение финансовых затрат на изготовление и обслуживание.
Техническая задача решается устройством для продольной резки труб, в скважине содержащее корпус с режущим инструментом, выполненным в виде размещенных на осях накатных роликов с формообразующей поверхностью с возможностью ограниченного радиального перемещения под действием клина с центральным каналом и распорной поверхностью, сопряженной у основания с накатной частью ролика, гидротолкатель, сообщенный с центральным каналом и взаимодействующий с возможностью ограниченного перемещения с клином и корпусом.
Новым является то, что клин с центральным каналом оснащен резьбами для соединения со скважинным оборудованием, диаметр отверстий роликов больше диаметра оси на величину радиального хода роликов, распорная поверхность клина включает верхнюю рабочую и нижнюю транспортную распорные поверхности для взаимодействия с роликами соответственно в рабочем и транспортном положении, при этом в нижней части клина расположен гидротолкатель, на поршне которого размещен с возможностью перемещения вверх цилиндр, причем корпус, подпружиненный относительно верхней части клина, размещен на клине с возможностью ограниченного перемещения вверх под действием цилиндра гидротолкателя и продольной силы, направленной вверх при разрезании трубы.
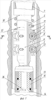
На фиг.1 изображено устройство с продольным разрезом в рабочем положении, на фиг.2 – поперечное сечение устройства по А-А фиг.1, на фиг.3 – устройство с продольным разрезом в транспортном положении, на фиг.4 – поперечное сечение устройства по Б-Б фиг.3.
Устройство содержит корпус 1 (фиг.1) с жестко закрепленными осями 2, режущим инструментом, выполненным в виде накатных роликов 3 с отверстиями 4 для установки на оси 2, причем диаметр отверстий 4 ролика 3 больше диаметра оси 2 на величину радиального хода роликов 3, клин 5 с центральным каналом 6, имеющим резьбовой конец 7 и верхнюю (рабочую) распорную поверхность 8, сопряженную у основания с накатной частью ролика 3, и нижнюю (транспортную) распорную поверхность 9 (фиг.3). В верхней части клина 5 (фиг.1) имеется поверхность 10 для упора пружины 11, а ниже поверхности 10 имеется поверхность 12, ограничивающая сжатие пружины 11 упором в нее корпуса 1. В нижней части клина 5 расположен гидротолкатель 13, внутренняя проточка которого снабжена упором 14 (фиг.3), при этом поршневая полость 15 (фиг.1) гидротолкателя 13 сообщена с центральным каналом 6 отверстием 16.
Устройство работает следующим способом.
На трубах (не показаны) устройство, соединенное резьбой 7, спускают в зону, откуда необходимо произвести продольное разрезание трубы 17. Во время спуска устройства корпус 1 (фиг.3) с роликами 3 (фиг.4), установленными на осях 2, и гидротолкателем 13 (фиг.3) под действием пружины 11 находится в нижней части клина 5, при этом ролики 3 взаимодействуют с нижней распорной поверхностью 9, то есть устройство находится в транспортном положении и ролики 3 могут не касаться стенок разрезаемой трубы. В транспортном и рабочем положениях устройства ось 2 (фиг.2 и 4) и ролик 3 несоосны. Далее по трубам (не показаны) подается под давлением жидкость через центральный канал 6 (фиг.1) и отверстие 16 в поршневую полость 15 гидротолкателя 13. Под действием давления жидкости происходит ограниченное перемещение гидротолкателя 13 с корпусом 1 и роликами 3 вверх до соприкосновения упора 14 гидротолкателя 13 с клином 5, при этом сжимается пружина 11 и корпус 1 с роликами 3 приходят в рабочее положение, то есть распираются клином 5, и верхняя распорная поверхность 8 клина 5 взаимодействует с накатной частью ролика 3, который перемещен в радиальном направлении за счет разницы диаметра оси 2 (фиг.2) и диаметра отверстия 4 ролика 3. При дальнейшим опускании колонны труб (не показаны) с клином 5 (фиг.4) происходит прокатывание роликов 3 по верхней распорной поверхности 8 с продольным разрезанием трубы 17, одновременно продолжается сжатие пружины 11 корпусом 1 до его упора в поверхность 12 клина 5. Затем сбрасывают давление в центральном канале 6 поршневой полости 15 и производят подъем клина 5. При подъеме клина 5 корпус 1 вместе с катящимися роликами 3 перемещается в нижнюю часть клина 5. Под воздействием пружины 11 корпус 1 с роликами 3 и гидротолкателем 13 возвращаются в транспортное положение (фиг.3). Затем производят спуск устройства до места, где прекратилось резание трубы, поднимают давление в центральном канале 6, в поршневой полости 15 через отверстие 16 и повторяют все операции при необходимости несколько раз.
Устройство для резки труб в скважине обеспечивает упрощение конструкции, повышение надежности работы, уменьшение финансовых затрат на изготовление и обслуживание применением несложных по конструкции, технологичных в изготовлении деталей, а также уменьшением их количества, отсутствием трения скольжения в режущем инструменте, обеспечением жесткости системы СПИД (станок, приспособление, инструмент, деталь), замыкая усилия резания в точке симметрии, а также отсутствием требований по смазке и охлаждению.
Формула изобретения
Устройство для продольной резки труб в скважине, содержащее корпус с режущим инструментом, выполненным в виде размещенных на осях накатных роликов с формообразующей поверхностью с возможностью ограниченного радиального перемещения под действием клина с центральным каналом и распорной поверхностью, сопряженной у основания с накатной частью ролика, гидротолкатель, сообщенный с центральным каналом и взаимодействующий с возможностью ограниченного перемещения с клином и корпусом, отличающееся тем, что клин с центральным каналом оснащен резьбами для соединения со скважинным оборудованием, диаметр отверстий роликов больше диаметра оси на величину радиального хода роликов, распорная поверхность клина включает верхнюю рабочую и нижнюю транспортную распорные поверхности для взаимодействия с роликами соответственно в рабочем и транспортном положении, при этом в нижней части клина расположен гидротолкатель, на поршне которого размещен с возможностью перемещения вверх цилиндр, причем корпус, подпружиненный относительно верхней части клина, размещен на клине с возможностью ограниченного перемещения вверх под действием цилиндра гидротолкателя и продольной силы, направленной вверх при разрезании трубы.
РИСУНКИ
|
|