Патент на изобретение №2373309

Published by on




РОССИЙСКАЯ ФЕДЕРАЦИЯ



ФЕДЕРАЛЬНАЯ СЛУЖБА
ПО ИНТЕЛЛЕКТУАЛЬНОЙ СОБСТВЕННОСТИ,
ПАТЕНТАМ И ТОВАРНЫМ ЗНАКАМ
(19) RU (11) 2373309 (13) C1
(51) МПК

D05B1/26 (2006.01)

(12) ОПИСАНИЕ ИЗОБРЕТЕНИЯ К ПАТЕНТУ

Статус: по данным на 17.09.2010 – может прекратить свое действие

(21), (22) Заявка: 2008105682/12, 14.02.2008

(24) Дата начала отсчета срока действия патента:

14.02.2008

(46) Опубликовано: 20.11.2009

(56) Список документов, цитированных в отчете о
поиске:
RU 9847 U1, 16.05.1999. RU 2120509 C1, 20.10.1998. WO 03008181 A2, 30.01.2003. GB 1365872 A, 04.09.1974. GB 928538 A, 12.06.1963. US 3812801 A, 28.05.1974.

Адрес для переписки:

153000, г.Иваново, пр. Ф. Энгельса, 21, ком.Г-359, ИГТА, проректору по научной работе

(72) Автор(ы):

Новоселов Артем Юрьевич (RU),
Веселов Валерий Викторович (RU),
Сурикова Марина Владимировна (RU)

(73) Патентообладатель(и):

Государственное образовательное учреждение высшего профессионального образования “Ивановская государственная текстильная академия” (ИГТА) (RU)

(54) УСТРОЙСТВО ДЛЯ ГЕРМЕТИЗАЦИИ МЕСТ НИТОЧНЫХ СОЕДИНЕНИЙ ШВЕЙНЫХ ИЗДЕЛИЙ

(57) Реферат:

Изобретение относится к области швейного оборудования и может использоваться при изготовлении швейных изделий специального назначения и бытовой водозащитной одежды из текстильных материалов с водоотталкивающей заключительной отделкой, а также из материалов с пленочными покрытиями. Устройство содержит емкость для герметизирующего состава, компрессор, регулятор давления, систему трубопроводов, систему отсоса воздуха и сопла. Для обеспечения необходимого уровня точечной локализации герметизирующего состава в зоне мест прокола иглой ниточных соединений вдоль направления ниточной строчки в конструкцию устройства дополнительно введен контроллер, связанный с датчиком угла поворота, установленным на главном валу швейной машины. Другим выходом контроллер соединен с электромагнитным пневмоклапаном, связанным через пневматический трубопровод с емкостью, содержащей жидкофазный герметик. Изобретение обеспечивает контроль необходимого уровня точечной локализации герметизирующего состава в зоне мест прокола иглой ниточных соединений. 4 ил.

Изобретение относится к области швейного оборудования и может использоваться при изготовлении швейных изделий специального назначения и бытовой водозащитной одежды из текстильных материалов с водоотталкивающей заключительной отделкой, а также из материалов с пленочными покрытиями.

Известно устройство для герметизации мест ниточных соединений деталей одежды [1], включающее емкость для подачи герметизирующего состава, систему трубопроводов и установленную в поддоне швейной машины пневмокамеру, кинематически связанную с зубчатой рейкой механизма перемещения материалов. Однако данное устройство не способно обеспечивать достаточную согласованность и точность при нанесении полимера в места перфорации ткани иглой, поскольку в основу синхронизации технологических процессов стачивания и герметизации заложен пневмомеханический способ подачи герметика, в конструкции не предусмотрено достаточного количества элементов контрольно-регулирующей аппаратуры, применяются морально устаревшие и некондиционные узлы и детали, что в совокупности приводит к неточности нанесения герметика в каждый прокол ткани иглой.

Известно устройство для блокирования отверстий, образованных иглой при стачивании на швейной машине [2], принятое за прототип, включающее емкость с герметизирующим составом, компрессор, регулятор давления, нагнетающий и всасывающий трубопроводы, манометр, подающее и отсасывающее сопла и пневмокамеру, кинематически связанную с зубчатой рейкой швейной машины. Существенным недостатком прототипа является то, что вследствие ориентации его исполнительных механизмов на пневмомеханическое управление и отсутствия унифицированных пневматических и автоматических элементов в конструкции он не обеспечивает необходимый контроль над управлением технологическим процессом герметизации и не позволяет осуществлять гибкую настройку и регулировку его параметров, тем самым не давая возможности получить требуемый технологический эффект гидрофобизации мест ниточного соединения, под которым, в первую очередь, понимается получение полностью водонепроницаемого ниточного шва, обладающего минимальной жесткостью.

Техническим результатом заявляемого устройства является обеспечение необходимого уровня точечной локализации герметизирующего состава в зоне мест прокола иглой ниточных соединений вдоль направления ниточной строчки.

Указанный технический результат достигается тем, что в устройство для герметизации мест ниточных соединений швейных изделий, содержащее емкость для герметизирующего состава, компрессор, регулятор давления, систему трубопроводов, систему отсоса воздуха и сопла, согласно изобретению дополнительно введен контроллер, связанный одним выходом с датчиком угла поворота, установленным на главном валу швейной машины, а другим выходом – с электромагнитным пневмоклапаном, соединенным через пневматический трубопровод с емкостью, содержащей жидкофазный герметик.

Устройство для герметизации мест ниточных соединений швейных изделий позволяет добиваться исключительной точности при управлении процессом нанесения полимерной композиции в места перфорации ткани иглой благодаря тому, что автоматическая подсистема «датчик угла поворота – программируемый контроллер – электромагнитный пневмоклапан» позволяет с прецизионной точностью отследить время подхода прокола иглы к подающему герметик соплу и за счет своего высокого быстродействия впрыснуть микродозу герметика в канал прокола иглой.

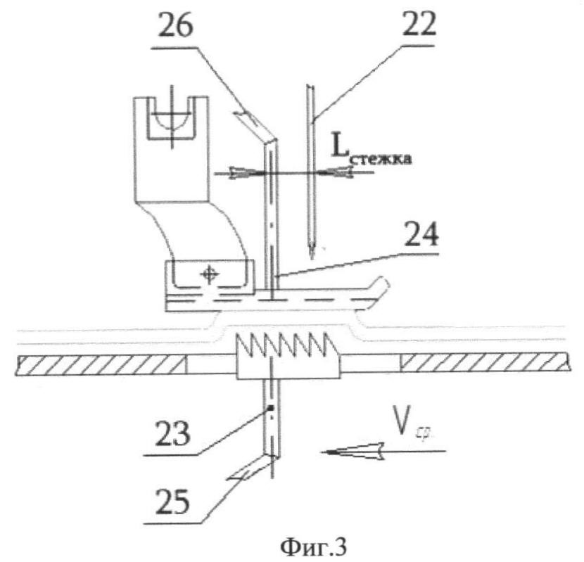
На чертежах представлено: на фиг.1 показан общий трехмерный вид швейной машины с заявляемым устройством, на фиг.2 – структурная схема заявляемого устройства, на фиг.3 – схема расположения сопел, на фиг.4 – схема подачи герметика в прокол иглы с образованным в нем переплетением ниток.

В устройство для герметизации мест ниточных соединений швейных изделий к универсальной стачивающей швейной машине 1 (фиг.1) входят датчик угла поворота 2, закрепленный на главном валу машины, и два модульных блока 3 и 4.

Основной модульный блок 3 состоит из металлического корпуса, в котором на специальных DIN-рейках установлены программируемый контроллер 5 (фиг.2), соединенный электрическим кабелем с панелью оператора 6, предохранители 7 и 8 на входе электрической цепи контроллера 5, элементы нагнетающей пневмолинии 9, соединенные последовательно при помощи ПВХ-трубки и цанговых быстросъемных фитингов: регулятор давления 10, регулятор расхода воздуха 11 и электронный манометр 12. Модульный блок 3 содержит электрические и пневматические коммутационные линии.

Вспомогательный модульный блок 4 состоит из установленного на нижней поверхности стола швейной машины металлического корпуса, в котором на специальных DIN-рейках установлены компрессор 13, связанный с электромагнитным клапаном 14 и последовательно соединенными при помощи ПВХ-трубки и цанговых быстросъемных фитингов элементами вакуумной линии 15: регулятором расхода воздуха 16, вакуумным регулятором 17, фильтром-влагоуловителем 18, механическим вакуумметром 19 и емкостями 20 и 21 нагнетающей и всасывающей пневматических линий соответственно. Кроме того, блок 4 содержит электрические и пневматические коммутационные линии.

На прижимной лапке и игольной пластинке швейной машины за иглой 22 (фиг.3) установлены при помощи шарнирно-резьбовых соединений сопла подачи и отсоса 23 и 24 соответственно, соединенные с трубопроводами 25 и 26 нагнетающей и всасывающей линий.

Устройство работает следующим образом.

В начале цикла стежкообразования игла 22 швейной машины 1 начинает движение вниз за счет изменения величины углового перемещения главного вала машины, на котором закреплен датчик угла поворота 2, осуществляя таким образом прокол материала. Датчик 2 фиксирует приращение угла поворота главного вала и передает информацию через электрическое проводное соединение в программируемый контроллер 5. Контроллер 5 по заранее записанной в его память программе, в момент, когда игла 22, проколов ткань, осуществляет движение вверх, подает команду на дискретный выход контроллера, соединенный с нормально закрытым электромагнитным клапаном 14, к которому присоединена нагнетающая пневматическая линия 9, питающаяся от компрессора 13. Клапан 14 при подаче на него напряжения открывается на некоторое время, осуществляя импульсную подачу воздуха при соответствующем давлении и расходе в емкость 20 с герметизирующим составом. Поскольку в емкости 20, таким образом, создается избыточное давление, микродоза жидкофазного герметика вытесняется и по подающему трубопроводу 25 поступает в подающее сопло 23 (фиг.3), закрепленное с нижней стороны игольной пластины и далее впрыскивается точно в отверстие от прокола ткани иглой, которое в этот момент уже переместилось на требуемую длину стежка.

Наряду с подающим герметик соплом 23 на лапке швейной машины соосно ему закреплено отсасывающее сопло 24, соединенное с вакуумной пневматической линией 15, питающейся от компрессора 13, через всасывающий трубопровод 26. Посредством данного сопла в канале прокола иглы создается постоянный вакуум определенной величины, что повышает градиент заполнения прокола с образованным в нем переплетением ниток жидкофазным гидрофобизирующим составом.

Преимущество изобретения состоит в том, что при реализации технологии гидрофобизации швов водозащитных изделий на данном комплексе при оптимальных соотношениях величин вязкости гидрофобизирующего раствора и давления подачи его на нижнюю поверхность ниточной строчки было достигнуто точечное нанесение жидкофазного полимерной композиции с максимальной глубиной зоны обработки. Также было экспериментально установлено (прибор фирмы Wapertest FF-13, Венгрия и прибор ПВД-2 завода «Ивмашприбор» (Иваново, Россия)), что уровень водозащитных свойств швейного изделия по сравнению с необработанным швом увеличился в 2 раза в динамических условиях и на 40-50% в статических условиях. Герметизируемые при стачивании швы в условиях циклического растяжения и изгиба имеют водоупорность, в 20-30 раз большую, чем негерметизированные. Была доказана устойчивость обработки к агрессивным факторам: снижение водоупорности после химической чистки на 15%, после 5 стирок на 27%. Максимальное нанесение гидрофобизирующего вещества непосредственно по линии строчки и постепенное уменьшение его при удалении от шва гарантируют сохранение эластичности ниточного соединения и отсутствие скачкообразного повышения жесткости в зоне обработки.

Источники информации

1. Патент 2120509, РФ, МКИ D05В 1/26. Устройство для герметизации ниточной строчки. / Никольская B.C., Веселов В.В., Метелева О.В., Репьев А.А., Журавлева Е.В., Немихина М.В. – 95112247/12; заявлено 18.07.1995; опубликовано 20.10.1998; Бюл.29.

2. Свидетельство на полезную модель 9847, РФ, МКИ D05В 1/26. Устройство для блокирования отверстий, образованных иглой при стачивании. / Немихина М.В., Метелева О.В., Веселов В.В., Цапалов Б.М. Опубл. 19.05.99.

Формула изобретения

Устройство для герметизации мест ниточных соединений швейных изделий, содержащее емкость для герметизирующего состава, компрессор, регулятор давления, систему трубопроводов, систему отсоса воздуха и сопла, отличающееся тем, что в устройство дополнительно введен контроллер, связанный с датчиком угла поворота, установленным на главном валу швейной машины, другим выходом контроллер соединен с электромагнитным пневмоклапаном, связанным через пневматический трубопровод с емкостью, содержащей жидкофазный герметик.

РИСУНКИ

Categories: BD_2373000-2373999