Патент на изобретение №2373156

Published by on




РОССИЙСКАЯ ФЕДЕРАЦИЯ



ФЕДЕРАЛЬНАЯ СЛУЖБА
ПО ИНТЕЛЛЕКТУАЛЬНОЙ СОБСТВЕННОСТИ,
ПАТЕНТАМ И ТОВАРНЫМ ЗНАКАМ
(19) RU (11) 2373156 (13) C1
(51) МПК

C02F1/463 (2006.01)

(12) ОПИСАНИЕ ИЗОБРЕТЕНИЯ К ПАТЕНТУ

Статус: по данным на 17.09.2010 – действует

(21), (22) Заявка: 2008114678/15, 04.04.2008

(24) Дата начала отсчета срока действия патента:

04.04.2008

(46) Опубликовано: 20.11.2009

(56) Список документов, цитированных в отчете о
поиске:
RU 2043308 С1, 10.09.1995. SU 569545 А, 25.08.1977. SU 701964 А, 05.12.1979. SU 1792922 А1, 07.02.1993. US 5385653 А, 31.01.1995.

Адрес для переписки:

195221, Санкт-Петербург, а/я 59, пат.пов. А.М.Маркову

(72) Автор(ы):

Мухамедзянов Ринат Файзрахманович (RU),
Семаков Николай Васильевич (RU)

(73) Патентообладатель(и):

Закрытое акционерное общество “Водолей-М” (RU)

(54) УСТРОЙСТВО ДЛЯ ОЧИСТКИ ВОДЫ

(57) Реферат:

Изобретение относится к области очистки питьевой воды. Устройство содержит корпус, в котором расположен реактор электрохимической очистки воды. Внутри реактора размещена кассета, содержащая электроды электрохимической очистки воды. Внутри упомянутого реактора также расположены серебряные электроды для электрохимического растворения серебра в воде. В корпусе установлен блок фильтров для обработки воды после электрохимической очистки, блок ультразвуковой обработки блока фильтров и насос для подачи воды из реактора в блок фильтров. Электроды электрохимической очистки, серебряные электроды для электрохимического растворения серебра и блок ультразвуковой обработки, насос подсоединены к блоку питания через блок управления. Технический результат заключается в создании конструкции высокой степени очистки за счет электрохимической очистки воды и дополнительного обеззараживания фильтра, фильтрующего остатки шлама. 8 з.п. ф-лы, 5 ил.

Изобретение относится к устройствам очистки питьевой воды, в которых основная очистка осуществляется электрохимическим способом и может быть использовано для очистки воды в бытовых условиях.

Устройства электрохимической очистки воды обладают наиболее широким спектром удаляемых из воды загрязнений. При этом после обработки практически не меняется характерный для региона солевой состав, так как при очистке удаляются, в основном, примеси, внесенные в воду за счет деятельности человеческого общества. При электрохимической обработке воды не происходит накопления в устройстве удаляемых примесей, следовательно, качество обработанной воды остается неизменным в течение всего срока его эксплуатации.

Известно устройство для электрохимической очистки загрязненной жидкости по патенту США 4321125, С02С 5/12, публикация 23.03.1982.

В аппарате для электрохимической очистки электролизер и флотатор совмещены в одном корпусе. Пакет растворимых электродов установлен в нижней части корпуса аппарата. В верхней части корпуса выполнено отверстие для выхода очищенной воды и шлама. Подвод очищаемой жидкости осуществляется сбоку. На корпусе также установлена емкость для отстоя переливающейся из корпуса смеси воды и шлама и отделения очищенной жидкости от шлама.

Известно устройство для электрохимической очистки питьевой воды по патенту RU 2180322, C02F 1/463, публикация 10.03.2002, которое содержит реактор с пакетом параллельных растворимых электродов, в котором пакет растворимых электродов установлен над электродами электрофлотации. Верхняя часть реактора выполнена в форме усеченного конуса, на котором закреплена емкость шламосборника, а на верхнем отверстии реактора установлена крышка в форме обратного конуса.

Известно также устройство для электрохимической очистки питьевой воды патент RU 2236381, C02F 1/463, публикация 20.04.2004. Устройство содержит электродный блок электрокоагуляции с пакетом параллельных катодов и растворимых анодов, электроды электрофлотации и реактор, в верхней части которого закреплена емкость шламосборника. В верхнем отверстии реактора установлена крышка в форме обратного конуса с возможностью вертикального перемещения. Электродный блок выполнен в отдельном корпусе.

Известно устройство для электрохимической очистки питьевой воды по патенту RU 2203226, C02F 1/463, публикация 27.04.2003.

Устройство содержит флотационную камеру, электролизер с пакетом растворимых электродов, установленный под флотационной камерой и фильтр, размещенный вдоль стенок флотационной камеры, образуя с ее стенками полость для сбора очищенной воды и ее вывода через отверстие в флотационной камере.

Известно изобретение RU 2043308 «Способ электрохимической очистки питьевой воды», C02F 15/46, публикация 10.09.1995. В данном изобретении описано устройство, в котором в верхней части емкости помещен пакет растворимых электродов в виде параллельных пластин. Часть электродов – аноды – выполнена из алюминиевого сплава, другая часть электродов – катоды – из сплава железа. Данное изобретение является наиболее близким аналогом. Устройство также предполагает наличие фильтра, который используется для фильтрации очищенной воды от остатков шлама.

Однако и устройства электрохимической очистки требуют усовершенствования. Эти устройства являются устройствами периодического действия. Так как требуется удалять из очищенной воды шлам, в блоке фильтров, где осуществляется очистка от шлама, может в паузы между использованием фильтра, развиваться болезнетворная флора.

Технический результат, достигаемый в заявляемом изобретении, заключается в создании конструкции высокой степени очистки за счет электрохимической очистки воды и дополнительного обеззараживания фильтра, фильтрующего остатки шлама. За счет этого достигается увеличение срока надежной работы фильтра. При этом также достигается дополнительное обеззараживание очищенной воды и придание ей новых потребительских свойств.

Данный результат достигается тем, что устройство для очистки воды содержит корпус, в котором расположен реактор электрохимической очистки воды. Внутри реактора размещена кассета, содержащая электроды электрохимической очистки воды. Внутри упомянутого реактора также расположены серебряные электроды для электрохимического растворения серебра в воде. В корпусе установлен блок фильтров для обработки воды после электрохимической очистки, блок ультразвуковой обработки блока фильтров и насос для подачи воды из реактора в блок фильтров. Электроды электрохимической очистки, серебряные электроды для электрохимического растворения серебра и блок ультразвуковой обработки, насос подсоединены к блоку питания через блок управления.

Устройство для очистки воды содержит реактор электрохимической очистки воды. Первоначальные процессы очистки воды происходят там. Обрабатываемая вода под воздействием выделенных в процессе электролиза воды газов поднимается вверх между электродами кассеты, где насыщается гидроксидами металла анода и пузырьками газов, водорода и кислорода, образующимися в процессе электролиза. Ламинарное течение обрабатываемой воды в пространстве между электродами создает условия для перемешивания воды с пузырьками газа и мицеллами и хлопьями гидроксида металла анодов, как электродов коагуляции. В пространстве между электродами осуществляется электрокоагуляция и в большой степени происходит обеззараживание воды.

Далее поток воды со шламом выходит в свободный объем реактора, где шлам всплывает вверх, а поток воды сначала распространяется вдоль поверхности, а затем уходит вниз. Пузырьки водорода и кислорода, захватывая мельчайшие частички взвесей, поднимаются вверх, осуществляя процессы флотации. С помощью мельчайших газовых пузырьков, образующихся в процессе электролиза, флотируются практически все тонкодисперсные взвеси веществ, гидроксиды тяжелых металлов, полимеры, жиры, масла, нефтепродукты и так далее.

В свободном объеме поток жидкости приобретает турбулентный характер, перемещается слоями, опускаясь к дну свободной зоны реактора, что способствует протеканию процессов флотации. Поток воды, опустившийся к дну частично, снова поступает в междуэлектродное пространство, где снова подвергается процессу электролиза и электрокоагуляции.

Повышение степени очистки происходит за счет того, что вода проходит многократно между электродами за счет конвекционных потоков, обеспеченных конструкцией реактора. Вода, поднимающаяся между электродами и подвергающаяся очистке путем процессов электрокоагуляции и электрофлотации, поднимается вверх и естественным образом попадает в свободный, незанятый электродами, объем корпуса реактора. Поток распространяется параллельно поверхности воды, а затем опускается вниз вдоль противоположных стенок корпуса реактора. У дна корпуса реактора поток частично втягивается в межэлектродное пространство, а частично закручивается в виде вихря в центре боковых объемов корпуса реактора, препятствуя образованию застойной зоны. Круговорот воды в реакторе поддерживается непрерывно во время подачи напряжения на электроды кассеты и некоторое время после снятия напряжения.

После окончания электрохимической очистки шлам может сливаться, или оставаться в реакторе и сливаться после очистки основного объема воды в блоке фильтров. Для удобства слива шлама в боковой стенке реактора выполнен слив, позволяющий сливать остатки воды с содержащимся в ней шламом, не открывая крышки устройства.

После электрохимической очистки воды подается напряжение на серебряные электроды для электрохимического растворения серебра в воде. Насыщение воды ионами серебра осуществляется путем электрохимического растворения серебра электродов в водной среде.

Далее, посредством насоса, очищенная вода, которая насыщена ионами серебра, подается в блок фильтров, где очищается от остатков шлама.

Периодически включается блок ультразвуковой обработки блока фильтров. Ультразвуковой обработке подвергается прежде всего фильтрующий материал блока фильтров. Обработка ультразвуковым кавитирующим излучением позволяет подавить рост микроорганизмов, объектов микрофлоры в блоке фильтров, что позволяет обеспечить чистоту воды даже при значительных перерывах в работе устройства очистки воды. Этой же задаче, то есть поддержке чистоты блока фильтров способствует наличие в реакторе серебряных электродов. Часть серебра, осаждающаяся на фильтрующем материале блока фильтров, также способствует подавлению микрофлоры.

Питание на все электроды, блок ультразвуковой обработки, насос подается от блока питания. Блок управления обеспечивает последовательность и временные режимы работы устройства.

В данном устройстве очистки воды обеспечивается высокая степень чистоты воды за длительное время работы устройства. Это обеспечивается тем, что реактор электрохимической очистки воды обеспечивает очистку воды от всех органических примесей, сохраняя при этом солевой состав воды. Далее в фильтре производится очистка воды от шлама, в котором нет уже органических примесей.

Наличие блока ультразвуковой обработки блока фильтров позволяет поддерживать в чистом состоянии блок фильтров, в нем убиваются попавшие туда микроорганизмы и не зарождается микрофлора. Поддержке в рабочем состоянии устройства способствуют также серебряные электроды в реакторе. Поэтому устройство работает эффективно и долго.

В частных случаях выполнения реактор электрохимической очистки содержит крышку, которая выполнена с возможностью установки в ней упомянутой кассеты с электродами электрохимической очистки и устройства для подачи электрического напряжения на электроды кассеты.

Кроме того, электроды электрохимической очистки могут быть расположены вертикально, центральный электрод выполнен сплошным, а в боковых электродах выполнены окна для прохода в свободный объем реактора водного потока, поднимающегося между электродами. Кассета может быть размещена в центральной части реактора над его дном, а объем, который занимает кассета внутри реактора, составляет не более трети всего внутреннего объема корпуса реактора. Центральный электрод – растворимый анод – может быть выполнен из алюминиевого сплава, а боковые электроды – катоды – выполнены из нержавеющей стали. Электроды эффективнее всего устанавливать параллельно. Окна в боковых электродах выполняются на уровне залива очищаемой воды и могут иметь форму, не препятствующую свободному выходу конвективных потоков в реакторный объем, например прямоугольную.

Такое выполнение блока электродов позволяет организовать эффективный поток очищаемой воды, многократно проходящий в объеме реактора.

В частном случае выполнения крышка реактора может быть выполнена съемной или поворотной.

Насос может быть подсоединен к патрубку, расположенному в дне корпуса реактора, а выход насоса подключен к упомянутому блоку фильтров.

Изобретение поясняется чертежами.

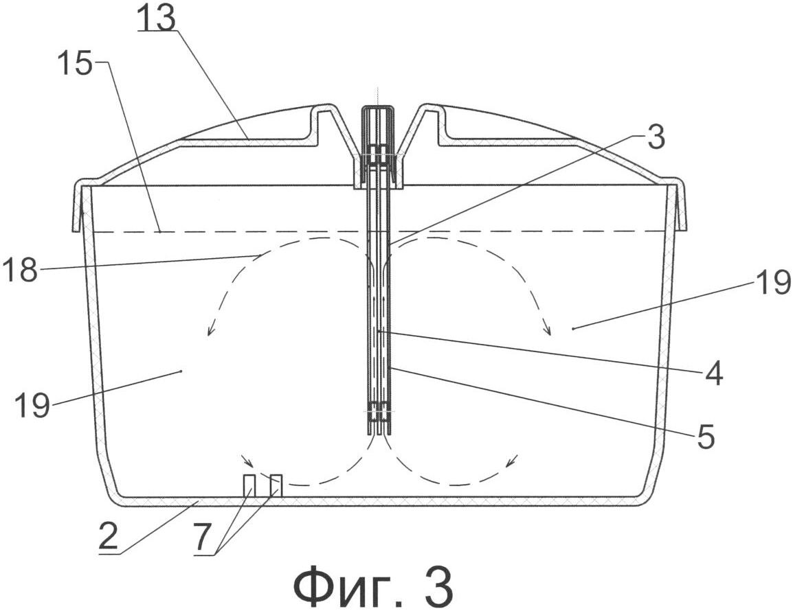
На Фиг.1 приведена схема устройства в виде вертикального разреза корпуса, на Фиг.2 приведен общий вид кассеты с электродами, на Фиг.3 и Фиг4 приведены схемы потоков в реакторе, на Фиг 5 (вид сверху) приведена схема расположения блоков устройства.

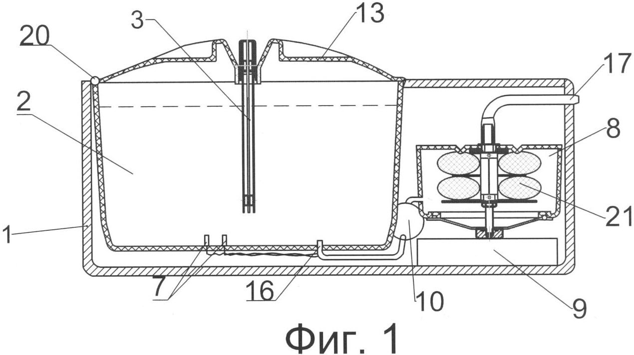
Устройство для очистки воды (Фиг.1-2) содержит корпус 1, в котором расположен реактор 2 электрохимической очистки воды. Внутри реактора размещена кассета 3, содержащая электроды электрохимической очистки воды. Электроды электрохимической очистки расположены вертикально, центральный электрод 4 – растворимый анод, – выполнен из алюминиевого сплава, а боковые электроды 5 – катоды – выполнены из нержавеющей стали. В боковых электродах 5 выполнены окна 6 для прохода в свободный объем реактора 2 конвективного водного потока, поднимающегося между электродами 4, 5. Кассета 3 размещена в центральной части реактора 2 над его дном. Окна 6 в боковых электродах 5 выполнены на уровне 15 залива очищаемой воды. Окна 6 электродов могут иметь прямоугольную форму.

Крышка 13 реактора 2 выполнена шарнирной (Фиг.1) или съемной (Фиг.3, Фиг.4). Кассета 3 с электродами 4, 5 и устройство 14 для подачи электрического напряжения на электроды кассеты 3 могут быть съемно установлены на крышке 13.

Внутри реактора 2 также расположены серебряные электроды 7 для электрохимического растворения серебра в воде. В корпусе 1 установлен блок 8 фильтров для обработки воды после электрохимической очистки, блок 9 ультразвуковой обработки блока фильтров и насос 10 для подачи воды из реактора в блок 8 фильтров. Насос 10 подсоединен к патрубку 16, расположенному в дне корпуса реактора, а выход насоса 10 подключен к блоку 8 фильтров, который содержит фильтрующий материал 21. В корпусе 1 также расположен блок 11 питания и блок 12 управления. Блок 11 питания электрически подсоединен через бок 12 управления к устройству 14 для подачи электрического напряжения на электроды кассеты 3, электроды 7 и насос 10.

Реактор 2 устройства очистки по уровень 15 заполняется водой. На электроды 4 и 5 подается напряжение, которое может достигать 24 В, сила тока от 0,5 до 2 ампер. В процессе электрохимической обработки в междуэлектродном пространстве образуются гидроксиды металлов и пузырьки газов, продукты электролиза воды. В пространстве между электродами образуется зона формирования коагулянта и начинаются процессы коагуляции. Продолжается и завершается процесс коагуляции в реакторном объеме в условиях конвективного перемешивания обрабатываемой воды. В процессе электрохимической обработки поток воды (см. Фиг.3-4) выходит через окна 6 в свободный объем реактора, распространяется вдоль поверхности, постепенно приобретает характер турбулентного и начинает совершать круговое движение, снова поступая в пространство между электродами 4 и 5 кассеты 3. Часть потока совершает круговое движение в свободных зонах 19 реактора 2. Благодаря такому движению потока в свободном объеме происходят процессы флотации. Пузырьки газов захватывают мельчайшие частички шлама и поднимают их вверх, где у поверхности воды 15 образуется шлам (коагулянт с сорбированными на нем загрязнениями), содержащий выведенные из воды примеси. В процессе обработки некоторое количество твердых примесей может осаждаться на дно реактора 2.

Процесс электрохимической обработки воды длится от 3 до 15 мин, затем подача электроэнергии прекращается, но процесс коагуляции продолжается еще некоторое время. После этого очищенная вода может быть отделена от шлама.

После этого напряжение подается на серебряные электроды 7 и происходит электрохимическое растворение серебра в обрабатываемой воде. Ионы серебра насыщают воду и оказывают дополнительное бактерицидное воздействие.

Далее вода посредством насоса 10 подается в блок фильтров 8 и проходит через фильтрующий материал 21, и подается на потребление. Часть ионов серебра задерживается в фильтровальном материале 21.

Периодически, посредством блока 12 управления, включается блок 9 ультразвуковой обработки блока 8 фильтров, что способствует стерилизации прежде всего фильтровального материала 21. Благодаря ультразвуковой кавитирующей обработке и наличию внесенного серебра в блок фильтров в фильтровальном материале не зарождается микрофлора и выходящая из устройства вода является биологически безопасной.

Устройство очистки воды обеспечивает надежную очистку и подготовку питьевой воды, сохраняя солевой баланс жидкости, при этом устройство может работать долго, обеспечивая потребителя чистой водой.

Формула изобретения

1. Устройство для очистки воды, характеризующееся тем, что содержит корпус, в котором расположен реактор электрохимической очистки воды, внутри реактора размещена кассета, содержащая электроды электрохимической очистки воды, внутри упомянутого реактора также расположены серебряные электроды для электрохимического растворения серебра в воде, в упомянутом корпусе установлен блок фильтров для обработки воды после электрохимической очистки, блок ультразвуковой обработки блока фильтров и насос для подачи воды из реактора в блок фильтров, при этом упомянутые электроды электрохимической очистки, серебряные электроды для электрохимического растворения серебра и блок ультразвуковой обработки, насос подсоединены к блоку питания через блок управления.

2. Устройство по п.1, характеризующееся тем, что упомянутый реактор электрохимической очистки содержит крышку, которая выполнена с возможностью установки в ней упомянутой кассеты с электродами электрохимической очистки и устройства для подачи электрического напряжения на электроды кассеты.

3. Устройство по п.2, характеризующееся тем, что упомянутая крышка выполнена съемной или поворотной.

4. Устройство по п.1, характеризующееся тем, что упомянутые электроды электрохимической очистки расположены вертикально, центральный электрод выполнен сплошным, а в боковых электродах выполнены окна для прохода в свободный объем реактора водного потока, поднимающегося между электродами, при этом упомянутая кассета размещена в центральной части реактора над его дном, а объем, который занимает кассета внутри реактора, составляет не более трети всего внутреннего объема корпуса реактора.

5. Устройство по п.4, характеризующееся тем, что центральный электрод – растворимый анод, выполнен из алюминиевого сплава, а боковые электроды – катоды, выполнены из нержавеющей стали.

6. Устройство по п.4, характеризующееся тем, что упомянутые окна в боковых электродах выполнены на уровне залива очищаемой воды.

7. Устройство по п.4, характеризующееся тем, что упомянутые окна электродов имеют прямоугольную форму.

8. Устройство по п.1, характеризующееся тем, что упомянутые электроды установлены параллельно.

9. Устройство по п.1, характеризующееся тем, что упомянутый насос подсоединен к патрубку, расположенному в дне корпуса реактора, а выход насоса подключен к упомянутому блоку фильтров.

РИСУНКИ

Categories: BD_2373000-2373999