|
|
(21), (22) Заявка: 2008119931/12, 21.05.2008
(24) Дата начала отсчета срока действия патента:
21.05.2008
(46) Опубликовано: 20.11.2009
(56) Список документов, цитированных в отчете о поиске:
RU 72634 U1, 27.04.2008. RU 2247586 C1, 10.03.2005. RU 2140308 C1, 27.10.1999. RU 2189264 C2, 20.09.2007. RU 5983 U1, 16.02.1998. GB 1479432 A, 13.07.1977.
Адрес для переписки:
125599, Москва, ул. Бусиновская горка, 1, корп.1, кв.187, Т.Н. Пересторониной
|
(72) Автор(ы):
Крикунов Андрей Андреевич (RU), Криштал Виля Нафтулович (RU), Ленский Анатолий Борисович (RU), Султанов Ильяс Фаритович (RU)
(73) Патентообладатель(и):
Крикунов Андрей Андреевич (RU), Криштал Виля Нафтулович (RU), Ленский Анатолий Борисович (RU), Султанов Ильяс Фаритович (RU)
|
(54) КОМБИНИРОВАННЫЙ КОМПЛЕКС ОБЕСПЕЧЕНИЯ ВЗРЫВОПОЖАРНОЙ И ЭКОЛОГИЧЕСКОЙ БЕЗОПАСНОСТИ РЕЗЕРВУАРНЫХ ПАРКОВ И СКЛАДОВ НЕФТИ И/ИЛИ НЕФТЕПРОДУКТОВ
(57) Реферат:
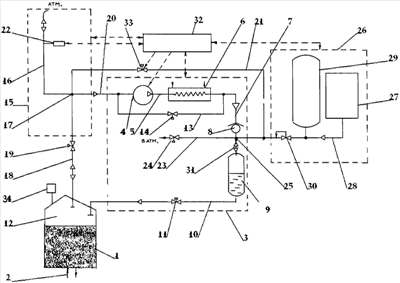
Комплекс содержит резервуар 1, соединенный с устройством 2 слива-налива нефти, газоуравнительную систему 15 с трубопроводом «свечи рассеивания» 16, газоанализатором 22, связанным с атмосферой и с газоуравнительным трубопроводом, сообщающимся с резервуаром 1 и состоящим из ветвей 18 и 20, соединенных в узле 17 с трубопроводом 16 и трубопроводом 21 подачи безопасной смеси нефти и инертной среды; систему поддержания инертной газовой среды 3, компрессор 4 которой соединен с газоуравнительным трубопроводом и с конденсатором-охладителем 6, сообщающимся через выходной тракт 7 компрессора с ресивером 9, соединенным с устройством возврата конденсата 10 в резервуар 1; байпасную линию 13 с клапаном 14, осуществляющую циркуляцию безопасной смеси для недопущения прохождения по трубопроводу 16 недопустимой концентрации кислорода к резервуару; систему получения инертной среды 26, содержащую азотодобывающую станцию 27, соединенную через трубопровод 28 подачи азота с регулятором давления 30 с ресивером 29 и с узлом 25, соединенным с ресивером 9, сбросным трактом 23, используемым в нештатном режиме исчерпания объема ресивера 9, и выходным трактом 7; систему контроля и управления 32, связанную с системами 3, 15, 26, а также с клапаном 33 трубопровода подачи безопасной смеси и инертной среды 21. Повышает эффективность и надежность противопожарных мер с одновременным обеспечением повышения экологической безопасности за счет исключения выбросов в атмосферу углеводородов, остающихся в пределах конструкции комплекса, а также снижает стоимость устройства. 6 з.п. ф-лы, 1 ил.
Изобретение относится к области противопожарной техники, а именно к устройствам для предупреждения возникновения пожаров и обеспечения экологической чистоты, и может быть использовано при эксплуатации резервуарных парков и складов нефти и/или нефтепродуктов, таких как бензин, нефть, мазут и т.п. в химической, нефтехимической, нефтеперерабатывающей, газовой, автомобильной отраслях промышленности, морском и речном флотах, а также в энергетике.
Анализ существующего уровня техники показал, что известна установка предупреждения взрывов и экологической защиты резервуаров с нефтепродуктами, содержащая резервуар, соединенный с устройством слива-налива нефти, систему получения инертной среды, включающую устройство воспроизводства инертной среды, соединенное посредством трубопровода подачи инертной среды, оснащенного регулятором давления, с установленным на нем сборником инертной среды, выполненным в виде ресивера, сбросный тракт с клапаном, компрессор (Патент РФ на изобретение 2211062 С1, МПК А62С 3/06, опубл. 27.08.2003 г., бюл. 24).
Невозможность достижения установкой аналога технического результата, обеспечиваемого заявляемым комбинированным комплексом, обуславливается необходимостью наличия в ней периодически подъезжающего транспортного средства для заполнения резервуара нефтепродуктами и приема вытесняемой из надтопливной полости резервуара парогазовой смеси, что создает необходимость использования либо цистерн, либо жидкостных трубопроводов. Отсутствие газовых линий связи приводит к тому, что в режиме заполнения резервуаров будут происходить выбросы парогазовой среды в атмосферу, что нарушает установленные требования в области обеспечения экологической безопасности, а также создавать взрывопожарную ситуацию за пределами резервуара, особенно в летнее время.
Кроме того, указанное устройство не решает комплексной проблемы по совместной взрывопожарной и экологической безопасности вследствие отсутствия в нем средств, решающих вопросы взрывопожарной безопасности.
Известна система пожарной безопасности при эксплуатации резервуарных парков для хранения нефти и нефтепродуктов, содержащая, по меньшей мере, один резервуар, соединенный с устройством слива-налива нефти и нефтепродуктов, газоуравнительную систему, содержащую газоуравнительный трубопровод, включающий трубопровод подачи и сброса газа из надтопливной полости резервуара, сообщающийся с надтопливной полостью резервуара, соединенный с компрессором и снабженный клапанами, контрольное устройство измерения концентрации кислорода в виде газоанализатора, систему получения инертной среды, включающую сборник инертной среды, выполненный в виде газгольдера, компрессор (Патент РФ на изобретение 2247586 С1, МПК А62С 3/06, опубл. 10.03.2005 г., бюл. 7).
Невозможность достижения указанным техническим решением результата, обеспечиваемого заявляемым устройством, обуславливается тем, что в нем газоуравнительная система включает кольцевые трубопроводы, расположенные вокруг каждого резервуара и размещенные внутри обваловки этого резервуара, что, в свою очередь, запрещено пунктом 2.8.10 Правил ПБ 09-560-03 по причине необходимости постоянного контроля технического состояния технологических труб, что препятствует выполнению условий эксплуатации устройства.
Требование сопоставимости объема кольцевых трубопроводов с объемом резервуара практически является нереализуемым, так как, например, для резервуара объемом 5000 м3 с периметром обваловки порядка 200 м и диаметром кольцевого трубопровода 500 мм число витков трубопровода вокруг резервуара должно быть равным 125, что значительно увеличивает стоимость устройства. Кроме того, в устройстве не предусматриваются возможные нештатные режимы работы парков, что снижает его надежность как предупреждающего взрывооопасность устройства. Кроме того, в системе рассматриваемого аналога не предусматривается обеспечение экологической безопасности (ЭБ).
Из известных устройств наиболее близким к заявляемому является устройство, реализующее предупреждение пожаров и экологическую защиту резервуаров с нефтепродуктами, содержащее, по меньшей мере, один резервуар, соединенный с устройством слива-налива нефти и/или нефтепродуктов и оснащенный предохранительным устройством, систему поддержания инертной газовой среды, включающую, по меньшей мере, один компрессор, соединенный трубопроводом с конденсатором-охладителем, сообщающимся посредством выходного тракта компрессора с ресивером, устройство возврата конденсата, соединенное с надтопливной полостью резервуара, газоуравнительную систему, содержащую трубопровод «свечи рассеивания», связанный с атмосферой, газоуравнительный трубопровод, сообщающийся одним концом с надтопливной полостью резервуара и другим концом – с компрессором, систему получения инертной среды, включающую, по меньшей мере, одно устройство воспроизводства инертной среды, соединенное посредством трубопровода подачи инертной среды, оснащенного запорно-регулирующей арматурой с приводами, с установленным на нем, по меньшей мере, одним сборником инертной среды, и систему контроля и управления, связанную с запорной арматурой и оборудованием системы поддержания инертной газовой среды, а также с компрессором, газоуравнительной системы, с системой получения инертной среды, а также с, по меньшей мере, одним устройством измерения концентрации кислорода, сбросный тракт (Патент РФ 2101055, МПК А62С 3/06, опубл. 10.01.98 г., бюл. 1).
Невозможность достижения технического результата, обеспечиваемого указанным устройством прототипа, обуславливается тем, что в ней не предусмотрено постоянное наличие безопасной концентрации составляющих инертной смеси в полости резервуара не только в режиме его опорожнения при наличии избыточного давления, но и при наполнении, что снижает надежность обеспечения взрывопожарной безопасности (ВПБ). При наличии избыточного давления и всегда имеющая место негерметичность крыши резервуара, вследствие наличия в ней коррозионных отверстий, а также неполного прилегания седла дыхательного клапана, негерметичности пеногенераторов, имеют место выбросы углеводородов в атмосферу, что снижает ЭБ окружающей среды и приводит к более длительной работе компрессора для получения инертной среды и к увеличению энергозатрат, что к соответствующему увеличению стоимости устройства.
В устройстве прототипа не предусмотрены меры по предотвращению взрывов и ЭБ при нештатных ситуациях. При наличии таких ситуаций, а также смол и смолосодержащих веществ в нефтепродуктах, технические характеристики газоуравнительной системы устройства прототипа будут постоянно ухудшаться, вплоть до заклинивания клапана прямого действия и забивки отверстий указанной системы.
Кроме вышеуказанного, следует отметить, что в прототип введена камера сгорания, как устройство дополнительного контроля взрывоопасного состояния парогазовой смеси, которая является по сути инициатором пламени, что противоречит требованиям противопожарной безопасности.
При разработке заявляемого комплекса была поставлена задача повышения надежности обеспечения взрывопожарной и экологической безопасности, а также снижения его стоимости.
При решении упомянутой задачи была разработана комбинированная конструкция, обеспечивающая постоянное поддержание безопасной концентрации кислорода в газовом пространстве резервуара за счет комбинационной подачи газообразного азота и безопасной смеси паров нефтепродуктов с безопасной концентрацией кислорода. При этом в зависимости от вида нефтепродукта, находящегося в резервуаре, значения концентрации кислорода поддерживаются до различных величин, например, для сернистых нефтей она составляет величину до 3% объема, для бензинов – до 5%, для мазутов – до 5-6% и т.д. При указанных значениях концентрации обеспечивается ВПБ полностью, даже при наличии инициаторов пламени, особенно это касается нефтепродуктов с высоким содержанием серы и сернистых соединений, которые взаимодействуют со стенками резервуаров, образуя пирофорные соединения, способные самовозгораться в среде кислорода. Этот технический результат достигается за счет того, что устройство измерения концентрации кислорода установлено на трубопроводе «свечи рассеивания», что позволяет по фиксируемым с него данным исключить попадание атмосферного воздуха с повышенной концентрацией кислорода во внутренние объемы комбинированного комплекса, в том числе в резервуар. Одновременно введена циркуляционная система компрессора с байпасной линией компрессора, благодаря которой осуществлен перевод компрессора в режим холостого хода при прекращении подачи нефти и нефтепродуктов в резервуар, а также предусмотрена возможность работы комплекса при возникновении нештатных ситуаций, в том числе при переполнении ресивера системы получения инертной среды путем сброса безопасной смеси паров в атмосферу, и компенсация безопасной средой объема резервуара при его полном освобождении.
Кроме того, конструкция комбинированного комплекса позволяет использовать для обеспечения ЭБ те же технологические трубопроводы, что и для ВПБ, а также исключить для контроля концентрации кислорода использование огнеопасной и дорогостоящей камеры сгорания путем установки и рационального расположения устройства измерения концентрации кислорода, что снижает стоимость заявленного комплекса и повышает его надежность по сравнению с прототипом.
Одновременно решается проблема повышения ЭБ за счет частичной конденсации паров нефтепродуктов с последующим возвратом конденсата в резервуар и использования оставшейся части паров нефтепродуктов с безопасным содержанием кислорода для компенсации газового объема резервуара в режиме слива из резервуара нефти и нефтепродуктов.
Поставленный технический результат достигается тем, что комбинированный комплекс обеспечения взрывопожарной и экологической безопасности резервуарных парков и складов нефти и/или нефтепродуктов, содержащий, по меньшей мере, один резервуар, соединенный с устройством слива-налива нефти и/или нефтепродуктов, и оснащенный предохранительным устройством, систему поддержания инертной газовой среды, включающую, по меньшей мере, один компрессор, соединенный трубопроводом с конденсатором-охладителем, сообщающимся посредством выходного тракта компрессора с ресивером, устройство возврата конденсата, соединенное с надтопливной полостью резервуара, газоуравнительную систему, содержащую трубопровод «свечи рассеивания», связанный с атмосферой, газоуравнительный трубопровод, сообщающийся одним концом с надтопливной полостью резервуара, и другим концом с компрессором, систему получения инертной среды, включающую, по меньшей мере, одно устройство воспроизводства инертной среды, соединенное посредством трубопровода подачи инертной среды, оснащенного запорно-регулирующей арматурой с приводами, с установленным на нем, по меньшей мере, одним сборником инертной среды, и систему контроля и управления, связанную с запорной арматурой и оборудованием системы поддержания инертной газовой среды, а также с ее компрессором, с газоуравнительной системой, с системой получения инертной среды, а также с, по меньшей мере, одним устройством измерения концентрации кислорода, сбросный тракт.
Новым в устройстве комплекса является то, что в систему поддержания инертной газовой среды введена байпасная линия компрессора с клапаном, соединяющая газоуравнительный трубопровод перед компрессором и выходной тракт компрессора после конденсатора-охладителя, устройство измерения концентрации кислорода установлено на трубопроводе «свечи рассеивания» до узла его соединения с газоуравнительным трубопроводом и с одним концом трубопровода подачи безопасной смеси нефти и/или нефтепродуктов и инертной среды с клапаном, другой конец которого соединен с трубопроводом подачи инертной среды, устройство возврата конденсата выполнено в виде трубопровода конденсата с клапаном, соединенного с ресивером, замкнутого посредством трубопровода приема-выдачи паров нефти и/или нефтепродуктов и слива конденсата с клапаном на сбросный тракт, выходной тракт компрессора и трубопровод подачи инертной среды, причем клапан трубопровода подачи безопасной смеси нефти и/или нефтепродуктов и инертной среды связан с системой контроля и управления.
Кроме того, запорная арматура может быть выполнена в виде электрических или пневматических клапанов и регуляторов давления, устройство воспроизводства инертной среды может быть выполнено в виде в виде азотодобывающей станции, содержащей, по меньшей мере, один газификатор или одну газоразделительную установку, сборник инертной среды может быть выполнен в виде, по меньшей мере, одного ресивера с датчиком давления.
Устройство измерения концентрации кислорода может быть выполнено в виде газоанализатора, и содержать дополнительно, по меньшей мере, один резервный газоанализатор и один резервный компрессор.
Газоуравнительный трубопровод может содержать более одного резервуара, объединенные общим газоуравнительным трубопроводом.
Комплекс представлен на чертеже, где представлена общая схема устройства комплекса, на которой – направление подачи текучей среды, а – соединение трубопроводов.
Комбинированный комплекс обеспечения взрывопожарной и экологической безопасности резервуарных парков и складов нефти и/или нефтепродуктов содержит один или несколько резервуаров 1, соединенных с устройством 2 слива-налива легковоспламеняющегося материала, например нефти и/или нефтепродуктов. Устройство 2 может быть выполнено в виде одного трубопровода, с возможностью переключения его на слив или налив нефтепродуктов, или в виде двух трубопроводов, один из которых подает, а другой отводит нефть, либо иного конструктивного выполнения.
Комплекс содержит систему поддержания инертной газовой среды 3 в резервуаре, включающую компрессор 4, соединенный трубопроводом 5 с конденсатором-охладителем 6, сообщающимся посредством выходного тракта компрессора 7, снабженного обратным клапаном 8, с ресивером 9, содержащим безопасную смесь нефтепродуктов, и связанным с устройством возврата конденсата, выполненным в виде трубопровода конденсата 10 с клапаном 11, присоединенного к надтопливной полости 12 резервуара 1. Для повышения надежности системы поддержания инертной газовой среды 3 возможно использовать не один, а несколько – от одного и более резервных компрессоров 4, которые устанавливаются на общем трубопроводе параллельно друг другу. В системе 3 имеется байпасная линия компрессора, выполненная в виде трубопровода 13 с клапаном 14. В газоуравнительную систему 15 комплекса, являющуюся одновременно и функциональной системой газораспределения, входят трубопровод «свечи рассеивания» 16, соединенный с одной стороны через свечу рассеивания с атмосферой и с другой стороны – с узлом связи 17, соединяющим газоуравнительный трубопровод, имеющий две ветви: трубопровод 18 подачи и сброса газа из надтопливной полости резервуара с клапаном 19 и проводящий трубопровод 20, соединенный со всасывающим патрубком (на чертеже не показан) компрессора 4, а также с трубопроводом 21 подачи безопасной смеси нефти и/или нефтепродуктов и инертной среды в резервуар.
Общее количество смеси нефтепродуктов и инертного газа должно быть достаточным для заполнения одного или нескольких резервуаров. На трубопроводе «свечи рассеивания» 16 смонтировано устройство измерения концентрации кислорода, выполненное, например, в виде газоанализатора 22, установленное на нем до узла связи 17. Для исключения сбоев в работе комплекса возможна установка в нем дополнительных резервных газоанализаторов от одного и более, которые устанавливаются на трубопроводе 16.
Байпасная линия компрессора 13 связывает проводящий трубопровод 20 газоуравнительного трубопровода газоуравнительной системы в его точке, расположенной перед компрессором 4, то есть со стороны всасывающего патрубка (на чертеже не показан) и выходной тракт компрессора 7 со стороны нагнетающего патрубка (на чертеже не показан) компрессора после конденсатора-охладителя 6, образуя циркуляционную линию.
Сбросный тракт 23 содержит клапан 24 и предназначен для сброса безопасной смеси нефтепродуктов из ресивера 9 в атмосферу при превышении в ресивере рабочего давления. Он выполнен в виде трубопровода и соединен с выходным трактом компрессора 7 в узле 25.
В комплексе предусмотрена система получения инертной среды 26, например газообразного азота, которая включает, по меньшей мере, одно устройство воспроизводства инертной среды 27, например азотодобывающую станцию, содержащую, по меньшей мере, один газификатор или одну газоразделительную установку (на чертеже не показаны), соединенную посредством трубопровода 28 подачи инертной среды, например азота, с, по меньшей мере, одним сборником инертной среды, выполненным в виде ресивера 29 для накопления азота и установленным на трубопроводе 28. Сборник может быть выполнен в виде одного или нескольких ресиверов, оснащенных датчиком давления (на чертеже не показан). В качестве азотодобывающей станции могут быть использованы установки короткоцикловой адсорбции, мембранные установки или газификаторы жидкого кислорода.
Трубопровод 28 снабжен регулятором давления 30, установленным на линии подачи инертной среды из ресивера 29, совпадающей с трубопроводом 28, и соединен с узлом 25, подключающим его к сбросному тракту 23 и выходному тракту компрессора 7, а также соединен с трубопроводом подачи безопасной смеси нефти и/или нефтепродуктов и инертной среды 21.
Ресивер 9 соединен посредством трубопровода 31 приема-выдачи паров нефти и/или нефтепродуктов и слива конденсата через узел 25 со сбросным трактом 13 в атмосферу, трубопроводом 28 подачи инертной среды, а также с трубопроводом 21 подачи безопасной смеси нефти и/или нефтепродуктов и инертной среды. Замыкание ресивера на трубопроводы 7, 28 и тракт 23 осуществляется предпочтительно перед точкой соединения трубопроводов 7 и 28.
Система контроля и управления 32 связана с запорной арматурой в виде вышеназванных клапанов и оборудованием системы поддержания инертной газовой среды 3, в том числе с компрессором 4, с газоанализатором 22 газоуравнительной системы 15, с системой получения инертной среды 26, а также с клапаном 33 трубопровода 21 подачи безопасной смеси и/или нефтепродуктов и инертной среды.
Резервуар 1 оснащен предохранительным устройством 34, выполненным в виде, например, дыхательного клапана или мембранного устройства.
Комплекс работает следующим образом.
Работа комплекса осуществляется в трех режимах: налива нефти и/или нефтепродуктов в резервуар, опорожнения резервуара и нештатного режима.
В режиме налива и, следовательно, постепенного наполнения резервуара его надтопливная полость 12 уменьшается, давление повышается и безопасная смесь паров, существовавшая в трубопроводах газоуравнительной системы до налива нефти, и из газового пространства полости 12 резервуара 1 вытесняется, пройдя трубопровод подачи и сброса газа 18, через трубопровод 16 «свечи рассеивания» в атмосферу. При этом газоанализатор 22, установленный на трубопроводе 16, регистрирует значение концентрации кислорода в пределах допустимого или менее него и выдает сигнал через систему контроля и управления 32 на запуск компрессора 4 и закрытие клапана 14 байпасной линии 13 компрессора. При включении компрессора 4 смесь паров с преимущественным содержанием азота и нефтепродуктов с допустимой концентрацией кислорода из резервуара 1 поступает по трубопроводам 18, 20 в конденсатор-охладитель 6, где часть паров углеводородов конденсируется, и далее смесь паров и конденсата поступает по выходному тракту 7 и трубопроводу 31 в ресивер 9, где происходит накопление конденсата и паров нефтепродуктов. Так как объемная производительность компрессора 4 всегда превышает расход выдавливаемой смеси паров, поступающих из надтопливной полости 12 резервуара 1, поступление смеси в трубопровод «свечи рассеивания» 16 и, следовательно, в атмосферу прекращается, так как она вся полностью закачивается компрессором 4, а атмосферный воздух, в свою очередь, начинает поступать в трубопровод « свечи рассеивания» 16.
При достижении величины концентрации кислорода равного или выше допустимого значения газоанализатор 22 выдает сигнал через систему контроля и управления 32 на открытие клапана 14, вследствие чего компрессор 4 переходит на циркуляционный режим работы, то есть на прекращение откачки смеси паров нефти и азота из резервуара 1. При дальнейшем поступлении нефти в резервуар вновь смесь паров из полости резервуара выдавливается в атмосферу через «свечу рассеивания», концентрация кислорода уменьшается и цикл повторяется. Таким образом, в ресивере 9 накапливается инертная смесь с допустимыми параметрами кислорода, а в газоуравнительной системе 15 и в надтопливной полости 12 резервуара 1 находится взрывобезопасная смесь.
В режиме опорожнения резервуара 1 объем газового пространства резервуара увеличивается, давление в нем падает, вследствие чего атмосферный воздух начинает поступать через заборное устройство (на чертеже не показано) трубопровода 16 «свечи рассеивания» в газоуравнительную систему 15. При достижении фронтом атмосферного воздуха места расположения газоанализатора 22 и фиксировании им величины недопустимой концентрации кислорода в газоуравнительной системе, газоанализатор через систему контроля и управления 32 выдает сигнал на открытие клапана 33, вследствие чего накопленная в ресивере 9 смесь паров нефтепродуктов и азота с допустимой концентрацией кислорода начинает поступать через трубопроводы 21 и 18 с клапаном 19 газоуравнительной системы в резервуар 1.
Поступающая смесь осуществляет как компенсацию увеличенного объема надтопливного пространства с концентрацией кислорода в пределах допустимой величины, так и вытеснение смеси в атмосферу воздуха, ранее находившейся в газоуравнительной системе 15, через трубопровод «свечи рассеивания» 16, до тех пор, пока газоанализатор 22 не выдаст сигнал на закрытие клапана 33, то есть на прекращение подачи смеси паров в резервуар 1.
Если в режиме опорожнения резервуара давление в ресивере 9 достигнет нижнего заданного, контролируемого системой контроля и управления 32, предела, то дальнейшая компенсация объема резервуара от ресивера 9 прекращается и дальнейшая подача газообразного азота осуществляется из ресивера 29. Поддержание давления, в свою очередь, в ресивере 29 осуществляется путем включения устройства воспроизводства инертной среды 27 по сигналу из системы контроля и управления 32, откуда газообразный азот под высоким давлением поступает в ресивер 29.
Нештатный режим работы комплекса может возникнуть как в случае полного освобождения резервуара от нефти и/или нефтепродуктов, так и при их наливе в резервуар.
Полное освобождение резервуара может быть произведено в случаях подготовки его для проведения плановых регламентных или ремонтных работ, а также в аварийных ситуациях. В этом случае компенсация полного объема резервуара инертной смесью производится газообразным азотом с допустимой концентрацией кислорода из системы получения инертной среды 26, объемная производительность которой рассчитана из условия равенства объема азота в ресивере 29, пересчитанного на нормальные условия, и наработки устройства 27 воспроизводства инертной среды (азота) полному объему резервуара. Подача инертной среды в резервуар 1 осуществляется из ресивера 29, падение давления в котором компенсируется подачей в него инертной среды из устройства 27 воспроизводства инертной среды, включаемого и выключаемого в автоматическом режиме по сигналу от датчика давления, установленного в ресивере 29.
При наливе резервуара и заполнении его внутреннего объема может возникнуть ситуация, при которой вместимость ресивера 9 системы поддержания инертной газовой среды 3 при закачке в него паров может быть исчерпана. В этом случае автоматически по сигналу от системы контроля и управления 32 открывается клапан 24 сбросного тракта 23 и происходит сброс смеси безопасных паров в атмосферу.
В соответствии с вышеописанным во всех режимах работы комплекса доступ атмосферного воздуха в надтопливную полость резервуара исключается, в результате чего во внутренних полостях комплекса всегда поддерживается содержание кислорода с концентрацией менее или равной безопасной, то есть обеспечивается взрывобезопасность резервуара.
Одновременно обеспечивается ЭБ окружающего пространства и предотвращается загрязнение окружающей среды углеводородами путем недопущения их выбросов в атмосферу за счет накопления в ресивере 9 смеси с безопасной концентрацией и осуществления внутренней циркуляции смеси по байпасной линии. Кроме того, осуществляется возврат в оборот дорогостоящего топлива в виде сконденсированных паров нефтепродуктов по трубопроводу конденсата 10 через клапан 11 за счет наличия избыточного давления в ресивере 9.
При использовании в комплексе более одного или большого количества резервуаров, они объединяются общим газоуравнительным трубопроводом, при этом резервуары находятся в «динамическом» режиме работы, при котором газовый объем опорожняемого резервуара может компенсироваться парами заполняемого.
Возможность осуществления заявляемого технического решения комбинированного комплекса, его реализация подтверждается использованием в практике известных элементов и средств, а также материалов, существующих и применяемых в ранее указанных по тексту отраслях промышленности, а также числе признаков, представленных на уровне функционального обобщения, с достижением технического результата, заключающегося в повышении эффективности и надежности противопожарных мер с одновременным обеспечением повышения экологической безопасности окружающей среды за счет исключения выбросов в атмосферу углеводородов, которые остаются в пределах конструкции комплекса, а также в снижении стоимости устройства за счет использования общих трубопроводов.
Формула изобретения
1. Комбинированный комплекс обеспечения взрывопожарной и экологической безопасности резервуарных парков и складов нефти и/или нефтепродуктов, содержащий, по меньшей мере, один резервуар, соединенный с устройством слива-налива нефти и/или нефтепродуктов, и оснащенный предохранительным устройством, систему поддержания инертной газовой среды, включающую, по меньшей мере, один компрессор, соединенный трубопроводом с конденсатором-охладителем, сообщающимся посредством выходного тракта компрессора с ресивером, устройство возврата конденсата, соединенное с надтопливной полостью резервуара, газоуравнительную систему, содержащую трубопровод свечи рассеивания, связанный с атмосферой, газоуравнительный трубопровод, сообщающийся одним концом с надтопливной полостью резервуара и другим концом с компрессором, систему получения инертной среды, включающую, по меньшей мере, одно устройство воспроизводства инертной среды, соединенное посредством трубопровода подачи инертной среды, оснащенного запорно-регулирующей арматурой с приводами, с установленным на нем, по меньшей мере, одним сборником инертной среды и систему контроля и управления, связанную с запорной арматурой и оборудованием системы поддержания инертной газовой среды, а также с ее компрессором, с газоуравнительной системой, с системой получения инертной среды, а также с, по меньшей мере, одним устройством измерения концентрации кислорода, сбросный тракт, отличающийся тем, что в систему поддержания инертной газовой среды введена байпасная линия компрессора с клапаном, соединяющая газоуравнительный трубопровод перед компрессором и выходной тракт компрессора после конденсатора-охладителя, устройство измерения концентрации кислорода установлено на трубопроводе свечи рассеивания до узла его соединения с газоуравнительным трубопроводом и с одним концом трубопровода подачи безопасной смеси нефти и/или нефтепродуктов и инертной среды с клапаном, другой конец которого соединен с трубопроводом подачи инертной среды, устройство возврата конденсата выполнено в виде трубопровода конденсата с клапаном, соединенного с ресивером, замкнутого посредством трубопровода приема-выдачи паров нефти и/или нефтепродуктов и слива конденсата с клапаном на сбросный тракт, выходной тракт компрессора и трубопровод подачи инертной среды, причем клапан трубопровода подачи безопасной смеси нефти и/или нефтепродуктов и инертной среды связан с системой контроля и управления.
2. Комбинированный комплекс по п.1, отличающийся тем, что запорная арматура выполнена в виде электрических или пневматических клапанов и регуляторов давления.
3. Комбинированный комплекс по п.1, отличающийся тем, что устройство воспроизводства инертной среды выполнено в виде азотодобывающей станции, содержащей, по меньшей мере, один газификатор или одну газоразделительную установку.
4. Комбинированный комплекс по п.1, отличающийся тем, что сборник инертной среды выполнен в виде, по меньшей мере, одного ресивера с датчиком давления.
5. Комбинированный комплекс по п.1, отличающийся тем, что устройство измерения концентрации кислорода выполнено в виде газоанализатора.
6. Комбинированный комплекс по п.1, отличающийся тем, что он содержит, по меньшей мере, один резервный газоанализатор и один резервный компрессор.
7. Комбинированный комплекс по п.1, отличающийся тем, что он содержит более одного резервуаров, объединенных общим газоуравнительным трубопроводом.
РИСУНКИ
|
|