|
|
(21), (22) Заявка: 2008118146/09, 07.11.2006
(24) Дата начала отсчета срока действия патента:
07.11.2006
(30) Конвенционный приоритет:
07.11.2005 KR 10-2005-0106215 03.03.2006 KR 10-2005-0020677
(46) Опубликовано: 27.10.2009
(56) Список документов, цитированных в отчете о поиске:
KR 2000-0039950 А, 05.07.2000. RU 2157598 С2, 10.10.2000. WO 2004/042972 А, 21.05.2004.
(85) Дата перевода заявки PCT на национальную фазу:
06.05.2008
(86) Заявка PCT:
KR 2006/004641 20061107
(87) Публикация PCT:
WO 2007/052990 20070510
Адрес для переписки:
129090, Москва, ул.Б.Спасская, 25, стр.3, ООО “Юридическая фирма Городисский и Партнеры”, пат.пов. А.В.Мицу, рег. 364
|
(72) Автор(ы):
ХВАНГ Сунг-Ох (KR), ОХ Дзае-Квон (KR), ЛИ Дзонг-Хио (KR), ЛИ Коок-Хеуй (KR), ЛИ Биунг-Рае (KR), ЛИ Дзае-Йонг (KR), ДЗУНГ Бо-Сун (KR)
(73) Патентообладатель(и):
САМСУНГ ЭЛЕКТРОНИКС КО., ЛТД. (KR)
|
(54) УСТРОЙСТВО И СПОСОБ ДЛЯ ДОСТАВКИ СОДЕРЖАНИЯ УПРАВЛЕНИЯ УСЛУГАМИ И ИНФОРМАЦИИ СОБЫТИЯ УВЕДОМЛЕНИЯ В СИСТЕМЕ МОБИЛЬНОГО ВЕЩАНИЯ
(57) Реферат:
Предлагаются система и способ для обеспечения управления услугами для услуги мобильного вещания (BCAST) в системе беспроводной связи/вещания, поддерживающей услугу BCAST. Если имеется потребность обеспечить управление услугами в системе мобильного вещания, Источник Подписки на Управление Услугами (SGSS) доставляет исходные данные подписки и предоставления и источник (исходные данные) приобретения и активирования к блоку Адаптации/Распределения Услуг BCAST. Блок Адаптации/Распределения Услуг BCAST затем формирует и обеспечивает управление услугами, используя эти исходные данные. Техническим результатом является доставка информации контента и информации события уведомления, на основании которых провайдер контента генерирует управление услугами BCAST, определяя информационные элементы и атрибуты, необходимые для формирования ассоциированных сообщений, и посылки ответа, указывающего, выполнять ли требования. 4 н. и 24 з.п. ф-лы, 14 ил., 34 табл.
Область техники
Настоящее изобретение, в целом, относится к устройству и способу для передачи сообщения, поддерживающего Услугу Вещания (BCAST). В частности, настоящее изобретение относится к устройству и способу для доставки сообщения уведомления, включающего в себя информацию, указывающую изменение в системе и услуге.
Описание предшествующего уровня техники
Сегодня с развитием технологий связи (обмена) и вещания системы вещания и системы мобильной связи развились в системы, которые способны обеспечить услуги мобильного вещания. Продолжаются обсуждения по мобильным системам вещания, которые способны передавать пакетные данные, а также обычные услуги аудио/видеовещания, по каналу вещания.
Термин “мобильное вещание” относится к технологиям для обеспечения услуг вещания посредством мобильных терминалов, которые способны принимать мобильное вещание, таких как мобильные телефоны, портативные компьютеры (ноутбуки) и персональные цифровые ассистенты (PDA). Чтобы принимать услугу вещания, мобильный терминал сначала должен быть способен обнаружить обеспеченную услугу, и абонент мобильного терминала должен подписаться на услугу вещания так, чтобы он/она могли принимать предоставляемые услуги. Кроме того, чтобы принимать услуги вещания, мобильный терминал должен принять разнообразную информацию управления, предоставляемую системой вещания. Кроме того, система, поддерживающая услуги вещания, должна передавать данные услуги. Если обеспечиваются услуга вещания и разнообразие информации, ассоциированной с ними, мобильный терминал принимает информацию управления услугами и данные услуги вещания. Таким образом, пользователь может просматривать информацию вещания.
Открытый Мобильный Альянс (OMA), группа, изучающая стандарты для взаимодействия между индивидуальными мобильными решениями, главным образом направляет установление различных применяемых стандартов для мобильных игр, услуг Интернет, и т.д. Среди рабочих групп OMA, Рабочая Подгруппа по Мобильному Вещанию OMA браузера и контента (BAC) (BCAST) изучает технологии для обеспечения услуг вещания, используя мобильные терминалы.
В системе мобильного вещания, согласно обсуждениям в OMA, мобильный терминал для приема услуги вещания принимает информацию управления услугами (УУ, SG), включающую в себя информацию описания услуги, информацию начисления оплаты за услугу и информацию о способе приема услуги, и принимает соответствующую услугу, используя информацию управления услугами.
Однако одна или более частей информации управления услугами может измениться в любое время. Поэтому каждый раз, когда, например, конкретная услуга изменяется, информация управления услугами для соответствующей услуги должна быть повторно передана. Кроме того, мобильное вещание характеризуется тем, что с учетом появления нового мобильного терминала информация управления услугами для услуги мобильного вещания повторно передается даже при том, что не имеется никакого изменения в управлении услугами. Появление нового мобильного терминала относится к присутствию нового мобильного терминала, который предварительно не принимал услугу, но теперь принимает услугу. Например, если имеется новый пользователь, желающий принимать услуги вещания посредством включения питания мобильного терминала, или если имеется мобильный терминал, который должен принимать новую информацию управления услугами из-за движения его пользователя, новый мобильный терминал должен принимать управление услугами независимо от мобильных терминалов, которые уже приняли информацию мобильного вещания.
В системе мобильного вещания очень важно надежно доставлять и отвечать на информацию управления услугами. Поэтому существует потребность в системе и способе для доставки информации контента и информации события уведомления, на основании которых провайдер контента генерирует управление услугами BCAST, определяя информационные элементы и атрибуты, необходимые для формирования ассоциированных сообщений, и посылки ответа, указывающего, выполнять ли требования.
Сущность изобретения
Соответственно, обеспечиваются варианты осуществления настоящего изобретения, чтобы в значительной степени решить по меньшей мере вышеупомянутые проблемы и/или недостатки и обеспечить по меньшей мере преимущества, описанные ниже. Варианты осуществления настоящего изобретения обеспечивают устройство и способ для доставки информации контента и события уведомления для формирования информации (руководства) управления услугами в системе мобильного вещания.
Варианты осуществления настоящего изобретения обеспечивают устройство и способ для надежной передачи информации управления услугами в системе мобильного вещания.
Варианты осуществления настоящего изобретения также обеспечивают устройство и способ для приема информации управления услугами и передачи сигнала ответа на него в системе мобильного вещания.
Варианты осуществления настоящего изобретения дополнительно обеспечивают устройство и способ для формирования сообщения, необходимого для передачи информации управления услугами в системе мобильного вещания.
Варианты осуществления настоящего изобретения дополнительно обеспечивают устройство и способ для обнаружения информационного элемента, необходимого для формирования сообщений, связанных с доставкой упомянутого управления услугами и события уведомления.
Варианты осуществления настоящего изобретения дополнительно обеспечивают устройство и способ для передачи ответа на принятые информацию управления услугами и событие уведомления.
Согласно одному аспекту вариантов осуществления настоящего изобретения обеспечивается способ для обеспечения управления услугами для услуги мобильного вещания (BCAST) в системе беспроводной связи/вещания, поддерживающей услугу BCAST, содержащий этапы обнаружения потребности в обеспечении управления услугами в системе мобильного вещания и, если имеется потребность в обеспечении управления услугами в системе мобильного вещания, управления Источником (исходными данными) Подписки на Управление Услугами (SGSS), чтобы доставить источник (исходные данные) подписки и предоставления и источник (исходные данные) приобретения и активирования к блоку Адаптации/Распределения Услуг BCAST, и управления блоком Адаптации/Распределения Услуг BCAST, чтобы генерировать и предоставлять управление услугами, используя эти источники (исходные данные).
Согласно другому аспекту вариантов осуществления настоящего изобретения обеспечивается система для обеспечения управления услугами для услуги мобильного вещания (BCAST) в системе беспроводной связи/вещания, поддерживающей услугу BCAST, содержащая Источник Подписки на Управление Услугами (SGSS) для доставки источника подписки и предоставления и источника приобретения и активирования к блоку Адаптации/Распределения Услуг BCAST, и Блок Адаптации/Распределения Услуг BCAST для генерации управления услугами, используя эти источники, и предоставления управления услугами абонентам.
Согласно другому аспекту вариантов осуществления настоящего изобретения обеспечивается способ обеспечения сообщения уведомления для услуги мобильного вещания (BCAST) в системе беспроводной связи/вещания, поддерживающей услугу BCAST, содержащий этапы определения посредством функционального блока Генерации Уведомления (NTG) в блоке Управления Подпиской на BCAST (BSM), имеет ли место извещение о событии уведомления, запрашивающего формирование сообщения уведомления, и после обнаружения события уведомления – обеспечения NTG для формирования сообщения уведомления согласно событию уведомления и доставки уведомления к функциональному блоку Адаптации Распределения Уведомления (NTDA) в блоке Распределения/Адаптации Услуг BCAST (BSD/A), таким образом предоставляя сообщение уведомления абонентам.
Согласно еще одному аспекту вариантов осуществления настоящего изобретения обеспечивается система для обеспечения сообщения уведомления для услуги мобильного вещания (BCAST) в системе беспроводной связи/вещания, поддерживающей услугу BCAST, содержащая функцию (функциональный блок) События Уведомления (NTE) для обнаружения возникновения изменения в услуге, предоставленной пользователю от (блока) Использования Услуг BCAST (BSA), поддерживающего услугу BCAST, и предоставление извещения о событии уведомления для извещения об упомянутом возникновении, и функциональный блок Генерации Уведомления (NTG) в блоке Управления Подпиской на BCAST (BSM) для, после приема извещения о событии уведомления, формирования сообщения уведомления и передачи сообщения уведомления абоненту.
Краткое описание чертежей
Вышеупомянутые и другие задачи, признаки и преимущества вариантов осуществления настоящего изобретения станут более очевидными из нижеследующего подробного описания при рассмотрении совместно с сопроводительными чертежами, на которых:
фиг.1 иллюстрирует блок-схему, иллюстрирующую примерную архитектуру системы мобильного вещания, которая может доставлять информацию управления услугами мобильному терминалу согласно варианту осуществления настоящего изобретения;
фиг.2 иллюстрирует блок-схему, иллюстрирующую примерные структуры интерфейсов уведомления, как определено в BCAST OMA, для обеспечения сообщений уведомления в системе мобильного вещания согласно варианту осуществления настоящего изобретения;
фиг.3 является диаграммой передачи сигналов, иллюстрирующей примерный поток сообщений между логическими объектами для обеспечения управления услугами в системе мобильного вещания согласно варианту осуществления настоящего изобретения;
фиг.4 является диаграммой передачи сигналов, иллюстрирующей примерный поток сообщения между логическими объектами для обеспечения сообщения уведомления в системе мобильного вещания согласно варианту осуществления настоящего изобретения;
фиг.5 иллюстрирует блок-схему, иллюстрирующую примерную модель данных для управления услугами для формирования управления услугами в BCAST OMA согласно варианту осуществления настоящего изобретения;
фиг.6 иллюстрирует блок-схему, иллюстрирующую примерный стек протоколов, который может быть использован для передачи события уведомления в интерфейсе NT-3 согласно варианту осуществления настоящего изобретения;
фиг.7 является диаграммой передачи сигналов, иллюстрирующей примерный процесс передачи сообщения по интерфейсу NT-3 в BCAST OMA согласно варианту осуществления настоящего изобретения;
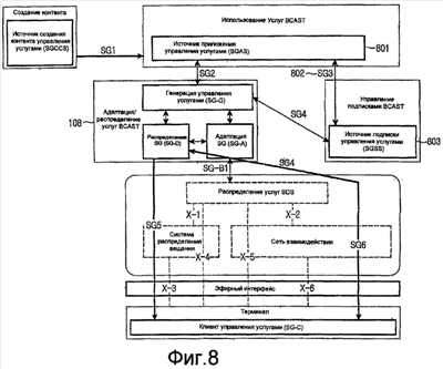
фиг.8 иллюстрирует блок-схему, иллюстрирующую примерную архитектуру BCAST, предложенную в BCAST OMA, для приема информации, связанной с генерацией предоставления, согласно варианту осуществления настоящего изобретения;
фиг.9 иллюстрирует примерную блок-схему последовательности операций на фиг.8;
фиг.10 иллюстрирует блок-схему, иллюстрирующую примерный стек протоколов передачи по (интерфейсу) SG-3 в BCAST OMA согласно варианту осуществления настоящего изобретения;
фиг.11 является диаграммой передачи сигналов, иллюстрирующей примерную доставку сообщения по SG-3 в BCAST OMA согласно варианту осуществления настоящего изобретения;
фиг.12 иллюстрирует блок-схему, иллюстрирующую примерный стек протоколов, используемый для доставки сообщения запроса для предоставления источника (исходных данных) управления услугами или события уведомления по выходному интерфейсу SG-3 или NT-3 согласно варианту осуществления настоящего изобретения;
фиг.13 является диаграммой передачи сигналов, иллюстрирующей примерную доставку источника управления услугами между SGAS и SGSS по SG-3 согласно варианту осуществления настоящего изобретения; и
фиг.14 является диаграммой передачи сигналов, иллюстрирующей примерную доставку события уведомления между NTE и NTG по NT-3 согласно варианту осуществления настоящего изобретения.
Понимается, что на всех чертежах аналогичные ссылочные позиции относятся к аналогичным частям, компонентам и структурам.
Подробное описание примерных вариантов осуществления
Варианты осуществления настоящего изобретения описаны подробно ниже со ссылками на сопроводительные чертежи. В нижеследующем описании подробное описание известных функций и конфигураций, включенных в него, опущено для ясности и осмысленности.
В нижеследующем подробном описании примерные варианты осуществления настоящего изобретения иллюстрируются и описаны для достижения вышеупомянутых и других задач. Имена объектов, определенных в Проекте Партнерства 3-го поколения (3GPP), который является стандартом асинхронной мобильной связи, или BCAST Открытого Альянса по Мобильной связи (Open Mobile Alliance, OMA), который является прикладным стандартом для мобильных терминалов, будут использоваться для удобства, причем стандарты и имена не предназначены для ограничения сущности вариантов осуществления настоящего изобретения, и настоящее изобретение может быть применено к любому количеству систем, имеющих те же самые или подобные технические основы. Подробное описание вариантов осуществления настоящего изобретения сделано ниже со ссылками на BCAST OMA, который является одним из нескольких стандартов мобильного вещания, но варианты осуществления настоящего изобретения им не ограничены.
Фиг.1 иллюстрирует блок-схему, иллюстрирующую примерную архитектуру системы мобильного вещания, которая может доставлять (информацию) управление услугами мобильному терминалу согласно варианту осуществления настоящего изобретения. Таблица 1 и таблица 2 ниже показывают в качестве примеров интерфейсы, используемые между элементами (логическими объектами) согласно фиг.1.
| Таблица 1 |
| Название |
Описание |
| SG1 (103) |
Обмены сервер-сервер для доставки атрибутов контента, таких как информация описания, информация местоположения, возможности целевого терминала, профиль целевого пользователя и т.п., или в форме фрагментов (информации) управления услугами BCAST или в собственном формате. |
| SG2 (106) |
Обмены сервер-сервер для доставки атрибутов услуги BCAST, таких как информация описания услуги/контента, информация планирования, информация местоположения, возможности целевого терминала, профиль целевого пользователя и т.п., в форме фрагментов управления услугами BCAST. |
| SG-B1 (116) |
Обмены сервер-сервер или для доставки специфических для BDS атрибутов из BDS в функциональный блок адаптации управления услугами BCAST, чтобы способствовать адаптации управления услугами к конкретной BDS, или для специфических для BDS адаптации и распределения. |
| SG4 (112) |
Обмены сервер-сервер для доставки информации предоставления, информации покупки, информации подписки, информации активирования в форме фрагментов (информации) управления услугами BCAST. |
| SG5 (117) |
Доставка (информации) управления услугами BCAST через канал вещания по IP. |
| SG6 (118) |
Доставка управления услугами BCAST через канал взаимодействия. Интерактивный доступ для извлечения (информации) управления услугами или дополнительной информации, относящейся к управлению услугами, например, посредством HTTP, SMS или MMS. |
| Таблица 2 |
| Название |
Описание |
| X-1 (124) |
Контрольная точка между Распределением Услуг BDS и BDS. |
| X-2 (125) |
Контрольная точка между Распределением Услуг BDS и Сетью Взаимодействий. |
| X-3 (126) |
Контрольная точка между BDS и Терминалом. |
| X-4 (127) |
Контрольная точка между Распределением Услуг BDS и Терминалом на Канале вещания. |
| X-5 (128) |
Контрольная точка между Распределением Услуг BDS и Терминалом на Канале Взаимодействия. |
| X-6 (129) |
Контрольная точка между Сетью Взаимодействий и Терминалом. |
Со ссылками на фиг.1, блок Создания Контента (СК (СС), или провайдер контента) является провайдером Услуги вещания (BCAST), и услуга BCAST может включать в себя услугу вещания обычного аудио/видео, услугу загрузки файла музыки/данных и т.д. Блок 101 Создания Контента, используя Источник 102 (исходные данные) Создания Контента Управления Услугами (SGCCS), доставляет информацию контента, необходимую для создания управления услугами BCAST, информацию о возможностях мобильных терминалов, профили пользователя и относящуюся ко времени информацию контента к Источнику Приложения Управления Услугами (SGAS) 105 в блоке 104 Использования Услуг BCAST (BSA) через интерфейс 103 SG1 из таблицы 1.
Блок 104 Использования Услуг BCAST обрабатывает данные услуги BCAST, выданные от блока 101 Создания Контента, в форме, подходящей для сети BCAST, таким образом формируя данные услуги BCAST. Кроме того, блок 104 Использования Услуг BCAST генерирует стандартизированные метаданные, которые являются необходимыми для управления мобильным вещанием. SGAS 105 доставляет различные источники (исходные данные), необходимые для формирования управления услугами, такие как информация обслуживания/контента, информация планирования и информация местоположения, включая информацию, переданную от SGCCS 102, к функциональному блоку 109 Формирования (информации) Управления Услугами (SG-G) в блоке 108 Распределения/Адаптации Услуг BCAST (BSD/A) через интерфейс 106 SG2.
Блок 108 Адаптации/Распределения Услуг BCAST имеет функцию установки однонаправленного канала, по которому он будет передавать данные услуги BCAST, обеспеченные от блока 104 Использования Услуг BCAST, функцию определения планирования передачи услуги BCAST и функцию создания информации управления мобильным вещанием. Блок 108 Адаптации/Распределения Услуг BCAST соединен с Системой Распределения Вещания (BDS) 122, которая является сетью для передачи данных услуги BCAST, и Сетью Взаимодействия 123, поддерживающей интерактивную связь.
Информацию Управления услугами, сформированную посредством SG-G 109, доставляют Терминалу 119 посредством функционального блока 110 распределения SG (SG-D) и интерфейса 117 SG5. Если управление услугами доставляется через BDS 122 или Сеть 123 Взаимодействия, поддерживающих интерактивную связь, или если имеется потребность в согласовании с соответствующей системой или сетью, информация управления услугами, сформированная из SG-G 109, согласуется в функциональном блоке 111 Адаптации SG (SG-A) и затем доставляется через SG-D 110 или доставляется к блоку 121 Распределения Услуг BDS через интерфейс 116 SG-B1.
Блок 113 Управления Подпиской на BCAST (BSM) управляет информацией подписки и информацией предоставления услуги для приема услуги BCAST, и информацией устройства для терминала, принимающего услугу BCAST. Источник (исходные данные) Подписки на Управление Услугами (SGSS) 114 в блоке 113 Управления Подпиской BCAST доставляет такие исходные данные в качестве источника и информации приобретения, относящихся к формированию информации управления услугами, подписки, предоставления и активирования, к SG-G 109, который генерирует (информацию) управления услугами через интерфейс 112 SG4.
Блок 121 Распределения Услуг BDS служит для распределения всех принятых услуг BCAST через канал вещания или канал взаимодействия и является объектом, который может существовать или не существовать согласно типу BDS 122. BDS 122 является сетью, которая передает услугу BCAST, и может быть сетью вещания, такой как сеть Вещания Цифрового Видео для портативных устройств (DVB-H), основанных на 3GPP Услугах Одноадресного и Многоадресного Вещания Мультимедийной Информации (MBMS), и основанных на 3GPP2 Услугах Одноадресного и Многоадресного Вещания Мультимедийной Информации (BCMCS). Сеть 123 Взаимодействия передает данные BCAST на основании связи точка-точка или в интерактивном режиме обменивается информацией управления и дополнительной информацией, относящейся к приему услуги BCAST, и может быть, например, существующей сетью сотовой связи.
Терминал 119 является терминалом, который способен принимать услуги BCAST, и может быть подсоединен к сотовой сети связи согласно возможностям терминала. Терминал 119, включающий в себя Клиента 120 (информации) Управления Услугами (SG-C), принимает (информацию) управления услугами, переданную через интерфейс 117 SG5, или принимает сообщение уведомления, переданное через интерфейс 118 SG6, например, через эфирный интерфейс 130, и таким образом выполняя соответствующую операцию для приема услуги BCAST.
Таблицы 3-5 ниже обеспечивают посредством примеров определения функций основных элементов (логических объектов), показанных на фиг.1 в стандарте услуг BCAST OMA.
| Таблица 3 |
| Название |
Описание |
| Создание контента (101) |
При Создании Контента Источник Создания Контента Управления Услугами (SGCCS) может выдавать содержание и атрибуты, такие как информация описания контента, возможности целевого терминала, профиль целевого пользователя, информация синхронизации контента и т.п., и послать их по SG1 в форме стандартизованных фрагментов управления услугами BCAST или в собственном формате. |
| Использование Услуг BCAST (104) |
В Приложении Услуг BCAST Источник Приложения Управления Услугами BCAST (SGAS) обеспечивает информацию описания услуг/контента, информацию планирования, информацию местоположения, возможности целевого терминала, профиль целевого пользователя и т.п. и посылает их по SG2 в форме стандартизованных фрагментов Управления Услугами BCAST. |
| Управление подпиской BCAST (113) |
В Управлении подпиской BCAST Источник Описания Управления Услугами (SGSS) обеспечивает информацию предоставления, информацию приобретения, информацию подписки, информацию активирования и т.п. и посылает их по SG4 в форме фрагментов (информации) Управления Услугами. |
| Таблица 4 |
| Название |
Описание |
| Генерация управления услугами (SG-G) (109) |
Модуль Генерации информации управления услугами (SG-G) в сети является ответственным за прием фрагментов Управления Услугами от различных источников, таких как SGCCS, SGAS и SGSS, по интерфейсам SG2 и SG4. SG-G собирает эти фрагменты, такие как информация услуг и доступа к контенту, согласно стандартизованной схеме и генерирует Управление Услугами, которое посылает к (блоку) Распределения Управления Услугами (SG-D) для передачи. Перед передачей оно необязательно адаптируется в функциональном блоке Адаптации Управления Услугами (SG-A) 111 для соответствия конкретному BDS. |
| Функциональный блок клиента управления услугами (SG-C) (120) |
Функциональный блок Клиента Управления Услугами (SG-C) в терминале является ответственным за прием информации Управления Услугами от нижележащего BDS и обеспечение доступности управления услугами мобильному терминалу. SG-C получает конкретную информацию управления услугами. Он может фильтровать ее для согласования со специфическим для терминала критерием (например, местоположения, профиля пользователя, возможностей терминала и |
 |
т.п.), или он просто получает всю доступную информацию Управления Услугами. Обычно пользователь может просматривать информацию Управления Услугами в меню, списке или табулированном формате. SG-C может посылать запрос к сети через SG6 для получения конкретной информации Управления Услугами или всей информации Управления Услугами. |
| Таблица 5 |
| Название |
Описание |
Распределение управления услугами (SG-D) (110) |
SG-D генерирует поток IP для передачи (информации) управления услугами по интерфейсу SG5 и каналу вещания к SG-C. Перед передачей SG-G может посылать управление услугами к функциональному блоку адаптации управления услугами (SG-A) для адаптации (информации) управления услугами к конкретному BDS согласно атрибутам BDS, посланным блоком распределения услуг BDS по SG-B1. Адаптация может приводить к модификации (информации) управления услугами. Следует заметить, что для целей адаптации SG-A может также посылать атрибуты управления услугами BCAST или фрагменты управления услугами BCAST по SG-B1 к блоку распределения |
 |
услуг BDS для адаптации. Эта адаптация внутри блока распределения услуг BDS лежит вне объема BCAST. SG-D может также принимать запрос на информацию управления услугами и посылать запрошенную информацию управления услугами к терминалу непосредственно через канал взаимодействия. SG-D может также фильтровать информацию управления услугами от SG-G на основе предварительно заданного профиля конечного пользователя. SG-D может также посылать управление услугами к BDS, которая модифицирует управление услугами (например, посредством добавления специфичной для BDS информации) и также распределяет управление услугами к SG-C специфичным для BDS образом. |
Фиг.2 иллюстрирует блок-схему, иллюстрирующую примерные структуры интерфейсов уведомления, как определено в BCAST OMA, для выдачи сообщений уведомления в системе мобильного вещания согласно варианту осуществления настоящего изобретения.
Со ссылками на фиг.2, блок 201 Создания контента (CC) является провайдером услуги BCAST, и услуга BCAST может включать в себя обычные услуги вещания аудио/видео, услугу загрузки файла музыки/данных и т.д. Когда имеется проблема при обеспечении услуги BCAST или когда имеется изменение в услуге BCAST, блок 201 Создания Контента оповещает Функциональный блок События Уведомления (NTE) 202-1, расположенный в блоке 202 Использования Услуг BCAST (BSA) об изменении.
Блок 202 Использования Услуг BCAST обрабатывает данные услуги BCAST, обеспеченные от блока 201 Создания Контента, в форму, соответствующую сети BCAST, таким образом создавая данные услуги BCAST, и формирует стандартизированные метаданные, которые являются необходимыми для управления мобильным вещанием. Кроме того, блок 202 Использования Услуг BCAST оповещает функциональный блок 204-1 Генерации Уведомления (NTG), расположенный в блоке 204 (BSM) Управления Подпиской BCAST, об изменениях в услуге BCAST, обеспеченных от блока 201 Создания Контента.
Блок 203 Распределения/Адаптации Услуг BCAST (BSD/A) ответственен за установку однонаправленного канала, по которому он будет передавать данные услуги BCAST, обеспеченные от блока 202 Использования Услуг BCAST, определяя планирование передачи услуги BCAST и формируя управление мобильным вещанием, и соединен с системой 206 Распределения Вещания (BDS) для выдачи услуги BCAST и Сетью 207 взаимодействий, поддерживающих интерактивный обмен. Кроме того, блок 203 Адаптации/Распределения Услуг BCAST включает в себя функциональный блок 203-1 Адаптации и Распределения Уведомления (NTDA) и принимает сообщение уведомления, переданное от блока 204 Управления Подпиской BCAST, и передает сообщение уведомления к одному или более пользователям через BDS 206 или сеть 207 взаимодействий.
Блок 204 Управления подпиской BCAST управляет информацией подписки для приема услуги BCAST, информацией предоставления услуги и информацией устройства для устройства, принимающего услугу BCAST. В частности блок 204 Управления Подпиской BCAST имеет функциональный блок 204-1 Генерации Уведомления (NTG) и формирует сообщение уведомления посредством приема информации относительно события уведомления от блока 201 Создания Контента или BDS 206, или формирует сообщение уведомления для события услуги BCAST.
Функциональный блок 205 Распределения Услуг BDS служит для распределения всех принятых услуг BCAST через канал вещания или канал взаимодействия и является объектом, который может существовать или не существовать согласно типу BDS 206.
BDS 206 является сетью, которая передает услугу BCAST, и может быть, например, DVB-H, основанной на 3GPP MBMS и основанной на 3GPP2 BCMCS. Кроме того, когда имеется изменение в передаче конкретной услуги BCAST, BDS 206 передает событие уведомления, указывающее изменение, к блоку 203 Адаптации/Распределения Услуг BCAST через интерфейс 231 X-1 или интерфейс 224 NT-B1, если функциональный блок 205 Распределения Услуг BDS существует.
Сеть 207 взаимодействий передает услугу BCAST на основании (режима) точка-точка или в интерактивном режиме обменивается информацией управления и дополнительной информацией, относящейся к приему услуги BCAST, и может быть, например, существующей сотовой сетью связи.
Терминал 208 является терминалом, который способен принимать услуги BCAST, и может быть связан с сотовой сетью связи согласно возможностям терминала. Например, терминал 208 включает в себя терминал, то есть сотовый телефон, который способен соединяться с сотовой сетью связи. Терминал 208 выполняет соответствующую операцию посредством приема сообщения уведомления, переданного через интерфейс 225 NT-5 функциональным блоком 208-1 Клиента Оповещения (NTC), или выполняет соответствующую операцию посредством приема сообщения уведомления, переданного через интерфейс 226 NT-6.
Ниже приведено описание интерфейсов между ключевыми логическими объектами на фиг.2.
NT-1 интерфейс 221 является интерфейсом между функциональным блоком 202-1 События Уведомления, расположенным в блоке 202 Использования Услуг BCAST, и блоком 201 Создания Контента и используется для доставки события уведомления, возникающего в блоке 201 Создания Контента, к функциональному блоку 202-1 События Уведомления.
NT-3 интерфейс 222 является интерфейсом между функциональным блоком 202-1 События Уведомления, расположенным в блоке 202 Использования Услуг BCAST, и функциональным блоком 204-1 Генерации Уведомления в блоке 204 Управления Подпиской BCAST и доставляет информацию, необходимую для формирования события уведомления или сообщения уведомления так, чтобы функциональный блок 204-1 Генерации Уведомления мог генерировать сообщение уведомления.
NT-4 интерфейс 223 является интерфейсом между функциональным блоком 204-1 Генерации Уведомления, расположенным в блоке 204 Управления Подпиской BCAST, и функциональным блоком 203-1 Адаптации Распределения Уведомления в блоке 203 Адаптации/Распределения Услуг BCAST и используется для передачи уведомления, сформированного в функциональном блоке 204-1 Генерации Уведомления, к функциональному блоку 203-1 Адаптации Распределения Уведомления так, чтобы оно было передано через BDS 206 или сеть 207 взаимодействий, или доставки события уведомления, имеющего место в BDS 206, от функционального блока 203-1 Адаптации Распределения Уведомления к функциональному блоку 204-1 Генерации Уведомления.
NT-5 интерфейс 225 является интерфейсом, используемым, когда сообщение уведомления, переданное от функционального блока 203-1 Адаптации Распределения Уведомления блока 203 Адаптации/Распределения Услуг BCAST, непосредственно передается на Терминал 208 через канал вещания. NT-5 интерфейс 225 используется для передачи уведомления к одному или более терминалам.
NT-6 интерфейс 226 является интерфейсом, используемым, когда сообщение уведомления, переданное от функционального блока 203-1 Адаптации Распределения Уведомления блока 203 Адаптации/Распределения Услуг BCAST, непосредственно передается на Терминал 208 через выделенный канал с Терминалом 208 через сеть 207 взаимодействий или через канал вещания, обеспеченный в сети 207 взаимодействий. NT-6 интерфейс 226 используется для передачи уведомления к одному или более терминалам.
NT-B1 интерфейс 224 является интерфейсом между блоком 203 Адаптации/Распределения Услуг BCAST и функциональным блоком 205 Распределения Услуг BDS и используется для установления тракта (пути) передачи, который нужно использовать в BDS 206, посредством блока 203 Адаптации/Распределения Услуг BCAST или пути приема события уведомления, имеющего место в BDS 206.
X-1 интерфейс 231 является интерфейсом между блоком 203 Адаптации/Распределения Услуг BCAST и BDS 206 и используется для установления тракта передачи, который нужно использовать в BDS 206, посредством блока 203 Адаптации/Распределения Услуг BCAST, или тракта приема события уведомления, имеющего место в BDS 206, когда Функциональный блок 205 Распределения Услуг BDS не существует. Когда Функциональный блок 205 Распределения Услуг BDS существует, X-1 интерфейс 231 используется в качестве интерфейса между BDS 206 и функциональным блоком 205 Распределения Услуг BDS для доставки события уведомления, имеющего место в BDS 206.
X-2 интерфейс 232 является интерфейсом между блоком 203 Адаптации/Распределения Услуг BCAST и сетью 207 взаимодействий и используется для установления тракта передачи, который нужно использовать в сети 207 взаимодействий, блоком 203 Адаптации/Распределения Услуг BCAST, когда функциональный блок 205 Распределения Услуг BDS не существует. Когда функциональный блок 205 Распределения Услуг BDS существует, X-2 интерфейс 232 используется в качестве интерфейса между BDS 206 и сетью 207 взаимодействий для установки однонаправленного канала, по которому сообщение уведомления будет передано от сети 207 взаимодействий.
X-3 интерфейс 233 является интерфейсом между BDS 206 и Терминалом 208 и используется для услуги BCAST или всех сообщений, передаваемых через канал вещания.
X-4 интерфейс 234 является интерфейсом канала вещания между функциональным блоком 205 Распределения Услуг BDS и Терминалом 208.
X-5 интерфейс 235 является интерфейсом канала взаимодействия между функциональным блоком 205 Распределения Услуг BDS и Терминалом 208.
X-6 интерфейс 236 является интерфейсом канала взаимодействия, по которому сеть 207 взаимодействий может передавать связанную с услугой BCAST информацию управления.
Функциональный блок 202-1 События Уведомления доставляет информацию, необходимую для формирования сообщения уведомления, к функциональному блоку 204-1 Генерации Уведомления и после распознавания возникновения события требуемого уведомления доставляет информацию относительно события уведомления к функциональному блоку 204-1 Генерации Уведомления. Функциональный блок 204-1 Генерации Уведомления формирует сообщение уведомления посредством приема события уведомления и информации, необходимой для формирования сообщения уведомления, от функционального блока 202-1 События Уведомления, или формирует сообщение уведомления, используя событие уведомления BDS 206, принятое через функциональный блок 203-1 Адаптации Распределения Уведомления, и передает сформированное сообщение уведомления к функциональному блоку 203-1 Адаптации Распределения Уведомления. Сообщение уведомления может быть сформировано: (i) когда имеется потребность уведомить о другом начале услуги, (ii) когда имеется потребность передать новое управление мобильным вещанием после приема уведомления, указывающего изменение в информации услуги, от блока 201 Создания Контента, и (iii) когда конкретное событие происходит в BDS 206 (то есть чрезвычайное событие).
Функциональный блок 203-1 Адаптации Распределения Уведомления служит для передачи сообщения уведомления через NT-5 225 или NT-6 226 и после приема от BDS 206 уведомления, указывающего изменение в конкретной услуге мобильного вещания, например, указывающего настройку скорости передачи данных на основании беспроводной сетевой среды или невозможность услуги, служит для доставки соответствующего события уведомления к функциональному блоку 204-1 Генерации Уведомления через NT-4 223.
Фиг.3 является диаграммой передачи сигналов, иллюстрирующей примерный поток сообщений между логическими объектами для обеспечения управления услугами в системе мобильного вещания согласно варианту осуществления настоящего изобретения. Здесь ссылочная позиция 301 обозначает SGCCS 102 на фиг.1, ссылочная позиция 302 обозначает SGAS 105 на фиг.1, ссылочная позиция 303 обозначает SGSS 114 на фиг.1, и ссылочная позиция 304 обозначает SG-G/D/A 109, 110 и 111 на фиг.1.
Со ссылками на фиг.3, на этапе 311 SGCCS 301 доставляет информацию контента и атрибуты, связанные с услугой BCAST, к SGAS 302. На этапе 312 SGAS 302 доставляет информацию вещания контента/услуги и атрибуты SG-G/D/A 304 согласно формату BCAST, используя атрибуты, обеспеченные от SGCCS 301. На этапе 313 SG-G/D/A 304 посылает запрос об информации предоставления к SGSS 303. На этапе 314 SGSS 303 обеспечивает информацию предоставления к SG-G/D/A 304. На этапе 315 SG-G/D/A 304 формирует управление услугами (SG) в зависимости от этой обеспеченной информации.
Фиг.4 является диаграммой передачи сигналов, иллюстрирующей примерный поток сообщений между логическими объектами для обеспечения уведомления в системе мобильного вещания согласно варианту осуществления настоящего изобретения. Здесь ссылочная позиция 401 обозначает функциональный блок 202-1 События Уведомления (NTE) в блоке 202 Использования Услуг BCAST согласно фиг.2, ссылочная позиция 402 обозначает функциональный блок 204-1 Генерации Уведомления (NTG) в блоке 204 Управления Подпиской BCAST, и ссылочная позиция 403 обозначает функциональный блок 203-1 Адаптации Распределения Уведомления (NTDA) в блоке 203 Адаптации/Распределения Услуг BCAST.
Со ссылками на фиг.4, на этапе 411 и/или 412 событие уведомления, имеющее место в NTE 401 и NTDA 403, доставляется в NTG 402, или событие уведомления происходит в NTG 402 или BDS 206. Если событие уведомления происходит в блоке 201 Создания Контента или BSA 202, NTE 401 доставляет оповещение о Событии на NTG 402 в блок 204 Управления Подпиской BCAST через NT-3 интерфейс 222 на этапе 411. Если событие уведомления генерируется из блока 203 Адаптации/Распределения Услуг BCAST или BDS 206, NTDA 403 доставляет событие уведомления к NTG 402 по NT-4 интерфейсу 223 на этапе 412. На этапе 413 событие уведомления может быть спонтанно сформировано в BSM 204 и затем доставлено в NTG 402.
Как описано выше, NTG 402 обеспечивается самим событием уведомления или через интерфейс 222 NT-3 или интерфейс 223 NT-4. На этапе 414 NTG 402 формирует сообщение уведомления согласно событию уведомления и затем доставляет сообщение уведомления к NTDA 403 через интерфейс 223 NT-4 на этапе 415.
Прежде, чем будет приведено подробное описание вариантов осуществления настоящего изобретения, таблица схемы сообщений, используемая в настоящем изобретении, ниже описана для лучшего понимания изобретения. Термин “Название” обозначает названия (имена) элементов и атрибутов, составляющих соответствующее сообщение. Термин “Тип” обозначает, соответствует ли соответствующее название типу элемента или атрибута. Каждый элемент имеет значения Е1, E2, E3 и E4. Термин Е1 указывает верхний элемент для всего сообщения, E2 указывает подэлемент Е1, E3 указывает подэлемент E2, и E4 указывает подэлемент E3. Атрибут обозначен как “A”, и А указывает атрибут соответствующего элемента. Например, А под Е1 указывает атрибут Е1.
Термин “Категория” используется для индикации, является ли соответствующий элемент или атрибут обязательным, и имеет значение М, если значение является обязательным, и значение O, если значение необязательно. Термин “Количество элементов” указывает отношения между элементами и имеет значения “0”, “0..1”, “1”, “0..n” и “1..n”, где “0” обозначает необязательное отношение, “1” обозначает обязательное отношение, и “n” обозначает возможность наличия множества значений. Например, “0..n” обозначает возможность, что не имеется никакого соответствующего элемента, или что имеются n соответствующих элементов. Термин “Описание” определяет значение соответствующего элемента или атрибута. Термин “Тип данных” указывает тип данных соответствующего элемента или атрибута. Поэтому формат сообщения может быть показан как иллюстрируется ниже в таблице 6.
| Таблица 6 |
| Название |
Тип |
Категория |
Количество элементов |
Описание |
Тип данных |
Хотя несколько информационных элементов, необходимых для формирования запроса/ответа (информации) управления услугами и события уведомления согласно примерному варианту осуществления настоящего изобретения описаны ниже, сообщения, предложенные в вариантах осуществления настоящего изобретения, будут необязательно включать в себя все информационные элементы и могут включать в себя некоторые или все информационные элементы согласно намерениям или потребностям проектировщика.
Фиг.6 иллюстрирует блок-схему, иллюстрирующую примерный стек протоколов, который может быть использован для передачи события уведомления в интерфейсе NT-3 согласно варианту осуществления настоящего изобретения. Сообщение, доставленное по интерфейсу NT-3, может быть доставлено в Форме XML или в виде текста. Соответствующее сообщение описано более подробно ниже со ссылками на фиг.7.
Сообщение по интерфейсу NT-3 передают, используя Интернет Протокол (IP), Протокол Управления Передачей (TCP), и/или протокол передачи гипертекстовых файлов (HTTP), и NTE в BSA запрашивает формирование сообщения уведомления посредством посылки сообщения события уведомления к NTG в BSM посредством HTTP POST (Посылка HTTP). После приема сообщения от NTE NTG может передать результаты о формировании уведомления наряду с сообщением HTTP RESPONSE (Ответ HTTP), или может посылать сообщение результата посредством HTTP POST.
Фиг.7 является диаграммой передачи сигналов, иллюстрирующей примерный процесс передачи сообщения по интерфейсу NT-3, согласно варианту осуществления настоящего изобретения.
На этапе 703 NTE 701 посылает запрос о формировании уведомления к NTG 702. Это сообщение, обеспеченное на этапе 703, показано ниже посредством примера в таблицах 7A-7D. На этапе 704 NTG 702 формирует сообщение уведомления в зависимости от информации, принятой от NTE 701, и затем посылает сообщение завершения формирования сообщения уведомления к NTE 701. Если сообщение уведомления сформировано и послано немедленно, NTG 702 может посылать сообщение результата наряду с сообщением “HTTP Response” в ответ на сообщение запроса, обеспеченное на этапе 703. Однако если для формирования сообщения уведомления требуется время, NTG 702 может посылать сообщение результата NTE 701 посредством NTGReqID и BSAAddress в NTGReq, принятого на этапе 703, используя HTTP POST во время завершения генерации после завершения сеанса связи к NTE 701. Подробности сообщения результата показаны посредством примера в таблице 8 ниже.
На этапе 704 ответы на несколько запросов от NTE 701 могут быть посланы от NTG 702 к NTE 701, используя одно сообщение.
| Таблица 7B |
| Название |
Тип |
Категория |
Количество элементов |
Описание |
Тип данных |
| Validity |
А |
О |
0..1 |
Достоверное время фрагмента сообщения Уведомления. Если Validity задано, сообщение уведомления должно истекать в заданное время. |
Целое (32 бита), выраженное как время NTP |
| Name |
Е2 |
О |
0..N |
Имя или название сообщения уведомления, возможно на множестве языков. Язык выражается, используя встроенный XML атрибут xml:lang с этим элементом. |
Строка |
| Description |
Е2 |
О |
0..N |
Описание Сообщений Уведомления, возможно на множестве языков. Язык выражается, используя встроенный XML атрибут xml:lang с этим элементом. |
Строка |
| Priority |
Е2 |
М |
1 |
Определяет приоритет этого события уведомления. Эта информация применяется для генерации типа представления типа Сообщения Уведомления. |
Целое |
|
Е2 |
О |
0..N |
|
Любой URI |
| Таблица 7D |
| Название |
Тип |
Категория |
Количество элементов |
Описание |
Тип данных |
| Audio |
E3 |
O |
0..N |
Определяет, как получить аудио и тип MIME. Содержит следующие элементы: MIMEtype AudioURI. |
 |
| MIMEtype |
A |
O |
0..1 |
MIME тип аудио. |
Строка |
| AudioURI |
A |
O |
0..1 |
URI, ссылающееся на аудио. |
Любой URI |
Фиг.5 представляет блок-схему, иллюстрирующую примерную модель данных для управления услугами для формирования (информации) управления услугами в BCAST OMA согласно варианту осуществления настоящего изобретения.
Модель данных управления услугами состоит из Административной группы 500 для обеспечения информации верхнего элемента всего управления услугами, группы 510 Предоставления для обеспечения информации подписки и приобретения, Базовой группы 520 для обеспечения базовой информации управления услугами, такой как услуга, контент и планирование услуги, и группы 530 Доступа для обеспечения информации доступа для доступа к услуге или контенту. Каждый элемент описан ниже более подробно.
Контекст 501 Управления услугами обеспечивает способ, с помощью которого терминал может распознавать управление услугами, и также обеспечивает информацию относительно оператора для распределения управления услугами, или информацию местоположения, и информацию соединения с Дескриптором 502 Доставки Управления Услугами.
Дескриптор 502 Доставки Управления Услугами обеспечивает информацию относительно сеанса связи доставки, где расположен Модуль Доставки Управления Услугами (SGDU), содержащий фрагмент, который является минимальным модулем, составляющим информацию управления услугами, и также обеспечивает информацию группирования для SGDU и информацию относительно точки входа для приема сообщения уведомления.
Фрагмент 521 Услуги, верхнее объединение содержания, включенного в услугу вещания в качестве центра полного управления услугами, обеспечивает информацию относительно контента услуги, жанра, местоположения услуги и т.д. Фрагмент 522 Планирования обеспечивает информацию о времени каждого содержания, включенного в услуги Потоковой передачи и Загрузки. Фрагмент 523 контента обеспечивает подробное описание содержания вещания, целевой группы пользователей, местоположения услуги и жанра. Группа 530 Доступа обеспечивает связанную с доступом информацию для разрешения пользователю просматривать услугу, а также обеспечивает способ доставки для соответствующего сеанса связи доступа и информацию сеанса связи. Фрагмент 532 Описания Сеанса связи также может быть включен во фрагмент 531 Доступа группы 530 Доступа и обеспечивает информацию местоположения в форме URI так, чтобы терминал мог обнаруживать соответствующую информацию описания сеанса связи.
Кроме того, фрагмент 532 Описания Сеанса связи обеспечивает адресную информацию и информацию кодека для мультимедийного содержания, существующего в соответствующем сеансе связи. Фрагмент 511 Элемент Приобретения обеспечивает пачку из услуги, контента и времени, чтобы помочь пользователю подписаться на или купить соответствующий элемент приобретения. Фрагмент 512 Данных Приобретения включает в себя подробную информацию приобретения и подписки, такую как информация о ценах и информация активирования для услуги или пачки услуг.
Фрагмент 513 Канала Приобретения обеспечивает информацию доступа для подписки или приобретения. Контекст 501 Управления Услугами позволяет терминалу распознавать (информацию) управления услугами и обеспечивает информацию местоположения или информацию владельца, на основании которых терминал может принимать управление услугами. Дескриптор 502 Доставки Управления Услугами обеспечивает информацию группирования для точки входа для приема (информации) управления услугами и SGDU, указывающего контейнер фрагмента. Блок 540 данных предварительного просмотра и блок 550 данных взаимодействия также могут быть обеспечены.
Информация Управления услугами согласно фиг.5 предпочтительно генерируется в SG-G 109 согласно фиг.1, и информация группы 510 Предоставления (далее – информация предоставления) предпочтительно обеспечивается посредством SGCC 114 согласно фиг.1. Соответствующая информации предоставления доставляется на этапе 314 на фиг.3, и эта информация на этапе 314 может быть доставлена без Запроса на этапе 313. Однако, так как информация на этапе 313 необязательно требуется для получения информации для предоставления, SGCC 114 предпочтительно должен предварительно иметь соответствующую услугу и содержание, или информацию планирования. Поэтому, как описано более подробно ниже, имеется потребность в интерфейсе 802 SG3 для обмена информацией между SGAS 801 и SGSS 803 на фиг.8, и информацию услуги/содержания и ее информацию планирования нужно обеспечить от SGAS 901 к SGSS 902 посредством этапа 903, как показано на фиг.9.
Фиг.10 показывает блок-схему, иллюстрирующую примерный стек протоколов, используемый для передачи информации, относящейся к управлению услугами в интерфейсе SG-3 согласно варианту осуществления настоящего изобретения.
Сообщение, доставленное по SG-3 (например, 802 согласно фиг.8), может быть доставлено в форме XML или текста. Соответствующее сообщение описано более подробно ниже со ссылками на фиг.11.
Сообщение по SG-3 802 доставляют, используя IP, TCP и/или HTTP, и SGAS в BSA передает относящееся к услуге/содержимому сообщение к SGSS в BSM посредством HTTP POST. После приема сообщения от SGAS SGSS может передать результаты о генерации информации предоставления наряду с сообщением HTTP Response, или может посылать сообщение результата посредством HTTP POST.
Фиг.11 является диаграммой передачи сигналов, иллюстрирующей примерный процесс передачи сообщения по SG-3 согласно варианту осуществления настоящего изобретения. Со ссылками на фиг.11 ниже приведено описание процесса передачи сообщения по SG-3.
На этапе 1101 SGAS (например, 901 согласно фиг.9) выдает информацию услуги/контента и информацию планирования в модели данных управления услугами, как описано на фиг.5, к SGSS (например, 902 согласно фиг.9). Информация планирования не может быть обеспечена как часть доставленной информации, и соответствующее планирование может быть сформировано в BSD/A и затем выдано, в то время как SGSS 803 формирует (информацию) управления услугами. Сообщение, обеспеченное на этапе 1101, показывается посредством примера в таблице 9 ниже. В таблице 9 Услуга сопровождается информацией ServiceInfo из таблиц 10A-10D, Содержание (контент) сопровождается информацией ContentInfo из таблиц 11А-11D, и Планирование сопровождается информацией ScheduleInfo из таблиц 12A-12Н. На этапе 1102 SGSS 902 формирует информацию предоставления для управления услугами с информацией, выданной от SGAS 901, и затем посылает сообщение завершения генерации к SGAS 901.
Если информация управления услугами немедленно сформирована и послана, SGSS 902 может посылать сообщение результата наряду с сообщением HTTP Response в ответ на сообщение запроса, обеспеченное на этапе 1101. Однако, если требуется время для формирования информации Предоставления в информации управления услугами, SGSS 902 может посылать сообщение результата к SGAS 901 посредством HTTP POST с использованием SGASProvReqId и BSAAddress во время завершения генерации после завершения сеанса связи к SGSS 902. Подробности сообщения результата показываются посредством примера в таблице 13 ниже. На этапе 1102 ответы на несколько запросов от SGAS могут быть посланы от SGSS 902 к SGAS 901 с использованием одного сообщения.
| Таблица 10A |
| Название |
Тип |
Категория |
Количество элементов |
Описание |
Тип данных |
| ServiceInfo |
 |
 |
 |
Задает информацию |
 |
 |
 |
 |
 |
услуги. Содержит следующие атрибуты: id Version type ServiceProtection. Содержит следующие элементы:
GlobalServiceID Name Description ParentalRating TargetUserProfile Genre UserRating Broadcast_Area. |
 |
| id |
A |
M |
1 |
Идентификатор фрагмента услуги, глобально уникальный. |
Любой URI |
| Version |
A |
M |
1 |
Версия этого фрагмента. Новая версия затирает старую, как только она принимается. |
Целое без знака (32 бита) |
| type |
A |
M |
1 |
Тип услуги. Разрешенными значениями являются: 0 – не задано, 1 – базовое ТВ, не интерактивное, 2 – базовое ТВ, интерактивное, 3 – вещание клипов (Clipcast), 4 – смешанное базовое ТВ и вещание клипов не интерактивное, 5 – смешанное базовое ТВ и вещание клипов интерактивное, 6 – Базовое радио, не интерактивное, 7 – Базовое радио, интерактивное, 8 – загруженные в виде файлов услуги, 9 – услуги управления программным обеспечением, 10 – услуги уведомления, 11-200 – зарезервированы для будущего использования, 201-255 – зарезервированы для частного использования. |
Целое (8 битов) |
| Таблица 10B |
| Название |
Тип |
Категория |
Количество элементов |
Описание |
Тип данных |
| ServiceProtection |
А |
О |
0..1 |
Указывает – услуга зашифрована (Ложь) или нет (Истина). Является рекомендуемым значением от SGAS. |
Boolean |
|
E1 |
O |
0..N |
|
Любой URI |
| GlobalServiceID |
E1 |
O |
0..1 |
Глобально уникальный идентификатор, идентифицирующий услугу, которая описывает этот фрагмент услуги. |
Любой URI |
| Name |
E1 |
М |
1..N |
Название услуги, возможно на множестве языков. Язык выражается с использованием встроенного XML атрибута xml:lang с этим элементом. |
Строка |
| Description |
E1 |
O |
0..N |
Описание, возможно на множестве языков. Язык выражается с использованием встроенного XML атрибута xml:lang с этим элементом. |
Строка |
| ParentalRating |
E1 |
O |
0..1 |
Уровень рейтинга, определяющий критерий, который родительские элементы могут использовать для определения, является ли подходящим ассоциированный элемент для доступа дочерними элементами, определенными согласно регулятивным требованиям области услуги. |
Строка |
| Таблица 10C |
| Название |
Тип |
Категория |
Количество элементов |
Описание |
Тип данных |
| TargetUserProfile |
E1 |
O |
0..1 |
Профиль пользователей, для которых предназначена услуга или контент. Например, возраст, пол, род занятий и т.п. |
 |
| Genre |
E1 |
O |
0..N |
Классификация услуги, связанная с характеристической формой (например, комедия, драма и т.п.). |
Строка |
| UserRating |
E1 |
O |
0..N |
Информация рейтинга, собранная от пользователей (например, фаворитизм или рекомендуемый возрастной предел). |
Целое |
| broadcast_area |
E1 |
O |
0..1 |
Область вещания для включения информации местоположения для содержимого BCAST. Подэлементы: target_area. |
 |
| target_area |
Е2 |
O |
0..N |
Целевая область для распределения содержимого (как задано в [OMA MLP] с модификациями). Подэлементы: shape cc name_area zip_code. |
 |
| shape |
E3 |
O |
0..1 |
Формы, используемые для представления и описания географической области (как задано в [OMA MLP]). |
См. [OMA MLP] |
| Таблица 10D |
| Название |
Тип |
Категория |
Количество элементов |
Описание |
Тип данных |
| СC |
E3 |
O |
0..1 |
Код страны, 1-3 цифры, например, 355 для Албании (как задано в [OMA MLP]). |
См. [OMA MLP] |
| name_area |
E3 |
O |
0..1 |
Геополитическое имя области, например, Сеул (как задано в [OMA MLP]). |
См. [OMA MLP] |
| zip_code |
E3 |
O |
0..1 |
Почтовый индекс. |
Целое |
| Таблица 11B |
| Название |
Тип |
Категория |
Количество элементов |
Описание |
Тип данных |
|
E1 |
O |
0..N |
|
Любой URI |
| Name |
E1 |
М |
1..N |
Название фрагмента контента, возможно на множестве языков. Язык выражается с использованием встроенного XML атрибута xml:lang с этим элементом. |
Строка |
| Description |
E1 |
O |
0..N |
Описание, возможно на множестве языков. Язык выражается с использованием встроенного XML атрибута xml:lang с этим элементом. |
Строка |
| ParentalRating |
E1 |
O |
0..N |
Уровень рейтинга, определяющий критерий, который родительские элементы могут использовать для определения, является ли подходящим ассоциированный элемент для доступа дочерними элементами, определенными согласно регулятивным требованиям области услуги. Рекомендованный возрастной лимит. Этот уровень рейтинга возрастного лимита затирает уровень рейтинга возрастного лимита, определенного для услуги во время достоверности фрагмента планирования. Если имеются два перекрывающихся фрагмента планирования с различными родительскими рейтингами, то один с наиболее ограничивающим родительским рейтингом, определенным для фрагмента планирования, затирает другой. |
Целое |
| Таблица 11С |
| Название |
Тип |
Категория |
Количество элементов |
Описание |
Тип данных |
| TargetUserProfile |
E1 |
O |
0..1 |
Профиль пользователей, для которых предназначена услуга или содержание. Например, возраст, пол, род занятий и т.п. |
 |
| Genre |
E1 |
O |
0..N |
Классификация контента, связанного с характеристической формой (например, комедия, драма и т.п.). |
Строка |
| UserRating |
E1 |
O |
0..1 |
Информация рейтинга, собранная от пользователей (например, фаворитизм или рекомендуемый возрастной предел). |
Целое |
| broadcast_area |
E1 |
O |
0..1 |
Область вещания для включения информации местоположения для содержимого BCAST. Подэлементы: target_area. |
 |
| target_area |
Е2 |
O |
0..N |
Целевая область для распределения содержимого (как задано в [OMA MLP] с модификациями). Подэлементы: shape cc name_area zip_code. |
 |
| shape |
E3 |
O |
0..1 |
Формы, используемые для представления и описания географической области (как задано в [OMA MLP]). |
См. [OMA MLP] |
| сс |
E3 |
O |
0..1 |
Код страны, 1-3 цифры, например, 355 для Албании (как задано в [OMA MLP]). |
См. [OMA MLP] |
| name_area |
E3 |
O |
0..1 |
Геополитическое имя области, например, Сеул (как задано в [OMA MLP]). |
См. [OMA MLP] |
| zip_code |
E3 |
O |
0..1 |
Почтовый индекс. |
Целое |
| FileDescription |
E1 |
O |
0..1 |
Описание файла или файлов, относящихся к этому контенту. Атрибуты: Content-Length Transfer-Length Content-Type Content-Encoding Content-MD5. |
 |
| Content-Length |
A |
O |
0..1 |
См. RFC3926, секция 3.4.2. |
Длинное без знака |
| Transfer-Length |
A |
O |
0..1 |
См. RFC3926, секция 3.4.2. |
Длинное без знака |
| Content-Type |
A |
O |
0..1 |
См. RFC3926, секция 3.4.2. |
Строка |
| Content-Encoding |
A |
O |
0..1 |
См. RFC3926, секция 3.4.2. |
Строка |
| Таблица 12B |
| Название |
Тип |
Категория |
Количество элементов |
Описание |
Тип данных |
| InteractivityDataIDRef |
Е1 |
О |
0..N |
Ссылка на фрагмент данных интерактивности, к которому принадлежит фрагмент планирования. Этот IDRef декларирует планирование доставки файла документов InteractivityMedia, на который указывает фрагмент InteractivityData. Фрагмент InteractivityData может быть также ассоциирован с фрагментом ScheduleItem, но это предпочтительно не является целью этого IDRef. Он содержит следующие атрибуты: idRef AutoStart. Он содержит следующие подэлементы: Distribution_Window Окно представления фактически объявляется посредством значений “Valid_From” и “Valid_То” в документе объекта мультимедиа. |
Любой URI |
| idRef |
А |
М |
1 |
Идентификация фрагмента данных интерактивности, к которому относится фрагмент Schedule (планирования). |
Любой URI |
| AutoStart |
А |
О |
0..1 |
Указывает, будут ли ассоциированные данные интерактивности автоматически активированы. Если значение AutoStart истинно, ассоциированные данные интерактивности будут автоматически активированы при достоверности документа объекта мультимедиа. Если значение AutoStart ложно, ассоциированные данные интерактивности не будут автоматически активированы, но могут быть активированы в любое время достоверности документа объекта мультимедиа по запросу пользователя. Предпочтительно, чтобы настройки терминала позволяли пользователям конфигурировать, разрешить ли, чтобы данные интерактивности были автоматически активированы без запроса пользователя. |
Boolean |


| Таблица 12F |
| Название |
Тип |
Категория |
Количество элементов |
Описание |
Тип данных |
| Distribution_Window |
Е2 |
О |
0..N |
Интервал времени, в который контент, на который ссылаются, заданный посредством ContentID, является доступным для доставки. Он содержит следующие атрибуты: Distribution_Start_Time Distribution_End_Time Dwid. Он содержит следующие подэлементы: RepeatType. |
 |
| Distribution_Start_Time |
А |
О |
0..1 |
Начало Distribution_Window. Если не задано, предполагается, что достоверность началась в некоторый момент в прошлом. |
Целое (32 бита), выраженное как NTP время. |
| DistributionEnd_Time |
A |
О |
0..1 |
Конец Distribution_Window. Если не задано, предполагается, что достоверность закончится в некоторый неопределенный момент в будущем. |
Целое (32 бита), выраженное как NTP время. |
| DWid |
A |
О |
0..1 |
Идентификация Distribution_Window, к которому относится каждый Distribution_Window. |
Целое |
| RepeatType |
E3 |
О |
0..1 |
Указывает, повторяется ли контент, на который ссылаются посредством ContentID, при распространении в соответствии с атрибутами Unit и Number. |
 |
| Unit |
А |
М |
1 |
Указывает единицу времени (например, часы, дни, ), в течение которой контент повторяется при распространении. |
Целое |
| Number |
А |
М |
1 |
Количество единиц. |
Целое |

| Таблица 12Н |
| Название |
Тип |
Категория |
Количество элементов |
Описание |
Тип данных |
|
E1 |
O |
0..N |
|
Любой URI |
| Name |
Е1 |
М |
1..N |
Имя планирования (Schedule), возможно на множестве языков. Язык выражается, используя встроенный XML атрибут xml:lang с этим элементом. |
Строка |
| Description |
Е1 |
О |
0..N |
Описание, возможно на множестве языков. Язык выражается, используя встроенный XML атрибут xml:lang с этим элементом. |
Строка |
| Таблица 13 |
| Название |
Тип |
Категория |
Количество элементов |
Описание |
Тип данных |
| SGASProvRes |
E |
M |
0..N |
Задает ответное сообщение для SGASProvReq. Содержит следующие атрибуты: SGASProvReqId. |
 |
| SGASProvReqId |
E1 |
M |
0..N |
Идентификатор для SGASProvReq. Содержит следующие атрибуты: Response. |
Целое без знака (32 бита) |
| Response |
А |
М |
1 |
Задает результат того, как обрабатывается SGSS посредством SGASProvReq. Если Response=0, генерируется предоставление посредством SGASProvReq, заданным посредством SGASProvReqId. Если Response=1, генерация предоставления дает отказ, и запрашивается повторная передача. |
Целое (8 битов) |
Фиг.12 иллюстрирует блок-схему, иллюстрирующую примерный стек протоколов, используемый для доставки сообщения запроса на предоставление источника (исходных данных) управления услугами или события уведомления по выходному интерфейсу SG-3 или NT-3 согласно варианту осуществления настоящего изобретения.
Для доставки сообщения по SG-3 или NT-3, обозначенному ссылочной позицией 1201, сообщение может быть непосредственно доставлено к НТТР, используя НТТР, как показано на фиг.6 или фиг.10. В качестве другого способа, соответствующее сообщение запроса может быть передано, используя протокол Web Service Protocol для передачи XML данных, подобно протоколу Simple Object Access Protocol (SOAP), Extensible-Markup Language-Remote Procedure Call (XML-RPC) и протокол Blocks Extensible Exchange Protocol (BEEP).
На фиг.12 показана иерархическая структура, сформированная в отношении SG-3 или NT-3. Для обмена по SG-3 или NT-3 предпочтительно нужно обеспечить одинаковую иерархическую структуру. Поэтому одинаковые ссылочные позиции используются для одинаковых иерархических объектов на фиг.12. То есть ссылочная позиция 1203 показывает уровень IP, ссылочная позиция 1205 показывает уровень TCP, ссылочная позиция 1207 показывает уровень HTTP и ссылочная позиция 1209 показывает Web Service Protocol.
Фиг.13 является диаграммой передачи сигналов, иллюстрирующей примерную доставку источника (исходных данных информации) управления услугами между SGAS и SGSS по SG-3 согласно варианту осуществления настоящего изобретения.
На этапе 1311 SGAS 1301 посылает информацию относительно источника информации управления услугами, как показано посредством примера в таблице 14, к SGSS 1302. После приема информации источника управления услугами SGSS 1302 обрабатывает информацию источника управления услугами, формирует ответное сообщение, используя результат обработки, и посылает ответное сообщение к SGAS 1301 на этапе 1312. Примерное сообщение результата обработки показывается посредством примера в таблице 15.
| Таблица 14 |
| Название |
Тип |
Категория |
Количество элементов |
Описание |
Тип данных |
| SGSDelivery |
 |
 |
 |
Задает сообщение доставки источника информации управления услугами, которое используется для генерирования информации управления услугами в SG-G. Содержит следующие атрибуты: SGSDid EntityAddress. Содержит следующие элементы: SGData |
 |
| SGSDid |
A |
M |
1 |
Идентификатор SGSDelivery, уникальный в сетевом объекте, который генерирует это сообщение. |
Целое без знака (32 бита) |
| EntityAddress |
A |
M |
1 |
Адрес сетевого объекта, который генерирует это сообщение и принимает запрос. |
Любой URI |
| SGData |
Е1 |
О |
0..1 |
Содержит информацию от Content Creation (Создание контента), подлежащую включению в информацию управления услугами. Предпочтительно, чтобы эта информация доставлялась в форме фрагментов информации управления услугами BCAST. Могут быть использованы другие форматы. Если используются фрагменты информации управления услугами BCAST, обязательные для сети элементы или атрибуты, которые не являются релевантными, предпочтительно должны быть доставлены как пустые поля, и необязательные для сети элементы или атрибуты, которые не являются релевантными, предпочтительно не должны быть созданы. Содержит атрибут: Namespace. |
 |
| namespace |
A |
О |
0..1 |
Устанавливается в имя XML-пространства имен информации управления услугами BCAST, чтобы сигнализировать, что контент SGData является подчиненным к SG BCAST. |
Любой URI |
Фиг.14 является диаграммой передачи сигналов, иллюстрирующей примерную доставку события уведомления между NTE и NTG по NT-3 согласно варианту осуществления настоящего изобретения. Со ссылками к фиг.14 ниже приведено подробное описание доставки события уведомления между NTE 1401 и NTG 1402.
На этапе 1411 NTE 1401 формирует сообщение события уведомления и посылает сформированное сообщение события уведомления к NTG 1402. Сообщение события уведомления показывается посредством примера в таблице 16. После приема сообщения события уведомления NTG 1402 обрабатывает принятое событие уведомления, формирует сигнал ответа, используя обработанный результат, и передает ответное сообщение к NTE 1401 на этапе 1412. Обработанное сообщение результата для события уведомления показывается посредством примера в таблице 17.
| Таблица 16 |
| Название |
Тип |
Категория |
Количество элементов |
Описание |
Тип данных |
| NTEReq |
E |
 |
 |
Задает сообщение доставки События Уведомления для генерирования Сообщения Уведомления. Содержит следующие атрибуты: NTEId EntityAddress DeliveryPriority. Содержит следующие элементы: NotificationEvent |
 |
| NTEId |
A |
M |
1 |
Идентификатор Notification Event (События Уведомления). |
Целое без знака (32 бита) |
| EntityAddress |
A |
M |
1 |
Адрес объекта сети для приема ответа на это сообщение. |
Любой URI |
| DeliveryPriority |
А |
О |
0..1 |
Определяет приоритет этого события уведомления. Эта информация применяется для генерации сообщения уведомления в NTG. NTG может быть игнорировано в этом поле. |
Boolean |
| NotificationEvent |
E1 |
M |
1..N |
Задает Событие Уведомления, содержащее информацию, которая должна быть включена в сообщение уведомления. Предпочтительно, чтобы эта информация доставлялась в форме формата сообщения уведомления BCAST. Могут использоваться другие форматы. Если используется формат сообщения уведомления BCAST, обязательные для сети элементы или атрибуты, которые не являются релевантными, предпочтительно должны быть доставлены как пустые поля, и необязательные элементы или атрибуты для сети, которые не являются релевантными, предпочтительно не должны быть созданы. Содержит атрибут: Namespace. |
 |
| Namespace |
А |
О |
0..1 |
Устанавливается в имя XML-пространства имен уведомления BCAST, чтобы сигнализировать, что контент NotificationEvent является подчиненным формату сообщения уведомления BCAST. |
Любой URI |
Примерные коды, используемые для индикации значений результата в сообщениях ответа, показываются посредством примера в таблицах 18A-18C.
| Таблица 18A |
| Код |
Статус |
| 00 |
Успех |
| 0 |
Запрос был успешно обработан |
| 00 |
Отказ аутентификации устройства |
| 1 |
Этот код указывает, что BSM был не способен аутентифицировать устройство, что может иметь место из-за факта, что пользователь или устройство не зарегистрированы в BSM. В этом случае пользователь может контактировать с BSM и устанавливать контакт или дать полномочия вместо этого, которые используются для аутентификации. |
| 00 |
Отказ аутентификации пользователя |
| 2 |
Этот код указывает, что BSM был не способен аутентифицировать пользователя, что может иметь место из-за факта, что пользователь или устройство не зарегистрированы в BSM. В этом случае пользователь может контактировать с BSM и устанавливать контакт или дать полномочия вместо этого, которые используются для аутентификации. |
| 00 |
Неизвестный элемент покупки |
| 3 |
Этот код указывает, что запрошенный элемент услуги неизвестен. Это может иметь место, например, если устройство имеет кэшированное управление услугами со старой информацией. В этом случае пользователь может повторно получить информацию управления услугами. |
| 00 |
Отказ авторизации устройства |
| 4 |
Этот код указывает, что устройство не авторизовано получить сообщение ключа длительного пользования от RI, например, потому, что сертификат устройства был отозван. В этом случае пользователь может контактировать с оператором BSM. |
| 00 |
Отказ авторизации пользователя |
| 5 |
Этот код указывает, что пользователь не авторизован получить сообщение ключа длительного пользования от RI, например, потому что сертификат устройства был отозван. В этом случае пользователь может контактировать с оператором BSM. |
| 00 |
Устройство не зарегистрировано |
| 6 |
Этот код указывает, что устройство не зарегистрировано в RI, которое используется для транзакции. Когда этот код посылают, ответное сообщение включает в себя инициатор регистрации, который позволяет устройству регистрироваться. В этом случае устройство может автоматически выполнить регистрацию, и если регистрация является успешной, повторно инициировать исходную транзакцию. |
| 00 |
Ошибка сервера |
| 7 |
Этот код указывает, что была ошибка сервера, например, проблема, связанная с удаленной серверной системой. В этом случае транзакция может быть успешной, если она инициирована позднее. |
| Таблица 18B |
| Код |
Статус |
| 00 |
Ошибка плохо сформированного сообщения |
| 8 |
Этот код указывает, что имеется сбой устройства, например, плохо сформированный XML-запрос. В этом случае транзакция может или не может (например, если имеется проблема возможности взаимодействия) быть успешной, если она инициирована позднее. |
| 00 |
Ошибка начисления оплаты |
| 9 |
Этот код указывает, что имеется отказ на этапе начисления оплаты (например, достигнут согласованный кредитный лимит, блокирован счет и т.п.), и поэтому запрошенное сообщение ключа длительного действия не может быть обеспечено. Пользователь в этом случае может контактировать с оператором BSM. |
| 01 |
Нет подписки |
| 0 |
Этот код указывает, что никогда не было подписки на этот элемент услуги, или что подписка для этого элемента истекла. Пользователь в этом случае может выдать запрос услуги на новую подписку. |
| 01 |
Операция не разрешена |
| 1 |
Этот код указывает, что операция, которую устройство пытается выполнить, не разрешена по контракту между BSM и пользователем. Пользователь в этом случае может контактировать с оператором BSM и изменить контракт. |
| 01 |
Неподдерживаемая версия |
| 2 |
Этот код указывает, что номер версии, указанный в сообщении запроса, не поддерживается сетью. Пользователь в этом случае может контактировать с оператором BSM. |
| 01 |
Недопустимое устройство |
| 3 |
Этот код указывает, что устройство, запрашивающее услуги, является неприемлемым для BSM, например, находится в черном списке. Пользователь в этом случае может контактировать с оператором BSM. |
| 01 |
Область обслуживания не разрешена |
| 4 |
Этот код указывает, что для устройства не разрешены услуги в запрошенной области из-за ограничений подписки. Пользователь в этом случае может контактировать с оператором BSM или подписаться на применимую услугу. |
| 01 |
Запрошенные услуги недоступны |
| 5 |
Этот код указывает, что запрошенные услуги недоступны из-за проблем с передачей данных. В этом случае запрос может быть повторно инициирован в более позднее время. |
| Таблица 18C |
| Код |
Статус |
| 01 |
Запрос уже обработан |
| 6 |
Этот код указывает, что идентичный запрос был ранее обработан. Пользователь или объект в этом случае может проверить, чтобы посмотреть, был ли запрос уже обработан (например, принят LTK), и если нет – повторить запрос. |
| 01 |
Информационный элемент не существует |
| 7 |
Этот код указывает, что сообщение включает в себя не распознанный информационный элемент, т.к. идентификатор этого информационного элемента не определен или он определен, но не реализован объектом, принимающим сообщение. В этом случае соответствующие объекты должны контактировать друг с другом. |
| 01 |
Не специфицировано |
| 8 |
Этот код указывает, что имеет место ошибка, которая не может быть идентифицирована. В этом случае соответствующие объекты должны контактировать друг с другом. |
| 01 |
Процесс задержан |
| 9 |
Из-за высокой нагрузки запрос находится в очереди, ожидающей обработки. Пользователь или объект в этом случае должны ожидать окончания транзакции. |
| 02 |
Сбой генерации |
| 0 |
Этот код указывает, что информация (сообщение) запроса не может быть сгенерирована. В этом случае пользователь или объект должны сделать попытку позднее. |
| 02 |
Информация недостоверна |
| 1 |
Этот код указывает, что заданная информация является недостоверной и не может быть использована в системе. В этом случае запрос должен быть повторно проверен и послан опять. |
| 02 |
Недостоверный запрос |
| 2 |
Этот код указывает, что запрашивающие ключ материалы или сообщения (например, LTKM) являются недостоверными и не могут быть удовлетворены. В этом случае запрос должен быть повторно проверен и послан опять. |
| 02 |
Неверный адресат |
| 3 |
Этот код указывает, что адресат сообщения не является предназначенным. В этом случае запрос должен быть повторно проверен и послан опять. |
| 02 |
Доставка неверной информации ключа |
| 4 |
Этот код указывает, что доставленная информация ключа и сообщения (например, LTKM) являются недостоверными. В этом случае запрос должен быть повторно проверен и послан опять. |
| 025-127 |
Зарезервированы для будущего использования |
 |
 |
 |
 |
 |
 |
| 128-255 |
Зарезервированы для частного использования |
 |
 |
 |
 |
 |
 |
Глобальные коды состояния, которые показаны в таблицах 18A-18C, включены в поле ответа ответного сообщения. То есть, когда требования обрабатываются нормальным образом, значение Ответа установлено в “000”, и мобильный терминал может распознавать из значения соответствующего кода, что требования были успешно обработаны. Поэтому таблицы 18A-18C должны быть сохранены в системе, или могут быть сохранены в терминале. То есть таблицы 18A-18C обычно сохраняются в системе и терминале для будущего использования.
Далее дополнительные коды могут быть определены согласно желательной цели поставщика услуг. Глобальные коды состояния, показанные в таблицах 18A-18C, могут быть использованы для сообщений ответа, связанных с вариантами осуществления настоящего изобретения, а также для всех сообщений ответа для доставки результатов обработки в любую систему или терминал, поддерживающие услуги мобильного вещания, когда о результатах уведомляют, используя коды Состояния или коды Ответа. Здесь Ответ соответствует полю ответа в предшествующих таблицах. Например, оно может быть истолковано как поле ответа в таблице 13. Поэтому поле ответа из таблицы 13 может использоваться как эквивалент полю StatusCode (Код состояния).
Как может быть понятно из предшествующего описания, система мобильного вещания нуждается в сообщении события уведомления от NTE в BSA, чтобы сгенерировать сообщение уведомления, и обеспечивает способ для доставки соответствующего сообщения. Для доставленного сообщения NTE в BSA должно быть осведомлено о результате генерации в отношении соответствующего сообщения, и NTG в BSM представляет способ для формирования и посылки ответного сообщения для множества BSA или множества сообщений о событии. Таким образом, для формирования информации управления услугами, SGSS в BSM должен обеспечить информацию предоставления к SG-G в BSD/A и может обеспечивать способ, который способен к предварительному приему ассоциированной информации услуги/контента.
В то время как изобретение показано и описано со ссылками на некоторые примерные варианты его осуществления, специалистам должно быть понятно, что различные изменения в форме и подробности могут быть сделаны в нем без отхода от объема и сущности изобретения, которые определены прилагаемой формулой изобретения и эквивалентами.
Формула изобретения
1. Способ обеспечения информации управления услугами для услуги мобильного вещания (BCAST) в системе беспроводной связи/вещания, поддерживающей услугу BCAST, способ содержит этапы: включение посредством Источника Использования Управления Услугами (SGAS) информации услуги и контента в сообщение запроса формирования информации управления услугами и доставку сообщения запроса формирования информации управления услугами к Источнику Подписки на Управление услугами (SGSS), чтобы обеспечить управление услугами; и формирование посредством SGSS информации формирования и предоставления управления услугами после приема сообщения запроса формирования информации управления услугами и доставку ответного сообщения формирования управления услугами к SGAS.
2. Способ по п.1, в котором сообщение запроса формирования информации управления услугами включает в себя SGASProvreqid, указывающий идентификатор SGAS, который запросил формирование управления для услуги и контента, и BSAAddress, указывающий адресную информацию Использования Услуги BCAST (BSA) для SGAS.
3. Способ по п.1, в котором SGAS также включает информацию планирования в сообщение запроса формирования информации управления услугами, выданное к SGSS.
4. Способ по п.1, в котором информация предоставления включает в себя информацию PurchaseItem, PurchaseData и PurchaseChannel.
5. Способ по п.1, в котором ответное сообщение формирования управления услугами доставляют, используя сообщение HTTP Response, включающее в себя уникальный идентификатор для различения сообщения запроса, если SGSS завершает формирование информации управления услугами и формирование информации предоставления сразу после приема сообщения запроса формирования информации управления услугами.
6. Способ по п.1, в котором ответное сообщение формирования управления услугами доставляют, используя сообщение HTTP POST, включающее в себя уникальный идентификатор для различения этого сообщения запроса во время завершения формирования, если SGSS не завершает формирование информации управления услугами и формирование информации предоставления сразу после приема сообщения запроса формирования информации управления услугами.
7. Способ по п.1, в котором SGSS оповещает о требуемом результате с помощью одного ответного сообщения управления услугами после приема двух или более сообщений запроса формирования информации управления услугами от SGAS.
8. Система обеспечения управления услугами для услуги мобильного вещания (BCAST) в системе беспроводной связи/вещания, поддерживающей услугу BCAST, причем система содержит: Источник Использования Управления Услугами (SGAS) для включения информации услуги и контента в сообщение запроса формирования информации управления услугами и доставки сообщения запроса формирования информации управления услугами к Источнику Подписки на Управление Услугами (SGSS), чтобы обеспечить управление услугами; и SGSS для формирования информации предоставления и формирования информации управления услугами после приема сообщения запроса формирования информации управления услугами и доставки ответного сообщения формирования управления услугами к SGAS.
9. Система по п.8, в которой сообщение запроса формирования информации управления услугами включает в себя SGASProvreqid, указывающее идентификатор SGAS, который запросил формирование управления для услуги и контента, и BSAAddress, указывающее адресную информацию Использования Услуг BCAST (BSA) для SGAS.
10. Система по п.8, в которой SGAS также включает информацию планирования в сообщение запроса формирования информации управления услугами, выданное к SGSS.
11. Система по п.8, в которой информация предоставления включает в себя информацию PurchaseItem, PurchaseData и PurchaseChannel.
12. Система по п.8, в которой ответное сообщение формирования управления услугами доставляется, используя сообщение HTTP Response, включающее в себя уникальный идентификатор для различения этого сообщения запроса, если SGSS завершает формирование информации предоставления и формирование информации управления услугами сразу после приема сообщения запроса формирования информации управления услугами.
13. Система по п.8, в которой ответное сообщение формирования управления услугами доставляют, используя сообщение HTTP POST, включающее в себя уникальный идентификатор для различения сообщения запроса во время завершения формирования, если SGSS не завершает формирование управления услугами и формирование информации предоставления сразу после приема сообщения запроса формирования информации управления услугами.
14. Система по п.8, в которой SGSS передает уведомление о требуемом результате с одним ответным сообщением управления услугами после приема двух или более сообщений запроса формирования информации управления услугами от SGAS.
15. Способ обеспечения сообщения уведомления для услуги мобильного вещания (BCAST) в системе беспроводной связи/вещания, поддерживающей услугу BCAST, причем способ содержит этапы: посылают посредством функционального блока События Уведомления (NTE) в блок Использования Услуги BCAST (BSA) сообщение запроса формирования сообщения уведомления на запрос формирования сообщения уведомления к функциональному блоку Генерации Уведомления (NTG) в функциональном блоке Управления Подписками BCAST (BSM); и формирования, посредством NTG, сообщения уведомления для информации уведомления после приема сообщения запроса формирования сообщения уведомления и посылки сообщения результата для результата формирования к NTE.
16. Способ по п.15, в котором сообщение запроса формирования сообщения уведомления включает в себя NTEid, указывающий идентификатор NTE, и BSAAddress, указывающий адрес BSA.
17. Способ по п.15, в котором сообщение запроса формирования сообщения уведомления включает в себя поле Тип Уведомления, указывающее, должно ли сообщение уведомления быть обеспечено пользователю или на терминал, и поле Priority, указывающее приоритет уведомления.
18. Способ по п.17, в котором сообщение запроса формирования сообщения уведомления также включает в себя поле Validity, указывающее допустимую информацию времени сообщения уведомления.
19. Способ по п.15, в котором информация уведомления представляет событие, имеющее место, когда имеется изменение в услуге, обеспеченной абоненту, когда имеется наступающее изменение в услуге, обеспеченной абоненту, или когда имеется чрезвычайное событие.
20. Способ по п.17, в котором NTG немедленно формирует и доставляет сообщение результата после приема сообщения запроса формирования сообщения уведомления от NTE.
21. Способ по п.16, в котором NTG формирует и доставляет сообщение результата после закрытия сеанса связи между NTE и NTE после приема сообщения запроса формирования сообщения уведомления от NTE.
22. Система обеспечения сообщения уведомления для услуги мобильного вещания (BCAST) в системе беспроводной связи/вещания, поддерживающей услугу BCAST, причем система содержит: функциональный блок События Уведомления (NTE) в блоке Использования Услуги BCAST (BSA) для посылки сообщения запроса формирования сообщения уведомления на запрос формирования сообщения уведомления к функциональному блоку Генерации Уведомления (NTG) в блоке Управления Подписками BCAST (BSM); и NTG для формирования сообщения уведомления для информации уведомления после приема сообщения запроса формирования сообщения уведомления, и посылку сообщения результата для результата формирования к NTE.
23. Система по п.22, в которой сообщение запроса формирования сообщения уведомления включает в себя NTEid, указывающее идентификатор NTE, и BSAAddress, указывающий адрес BSA.
24. Система по п.22, в которой сообщение запроса формирования сообщения уведомления включает в себя поле Тип Уведомления, указывающее, должно ли сообщение уведомления быть обеспечено пользователю или на терминал, и поле Priority, указывающее приоритет уведомления.
25. Система по п.24, в которой сообщение запроса формирования сообщения уведомления также включает в себя поле Validity, указывающее допустимую информацию времени сообщения уведомления.
26. Система по п.22, в которой информация уведомления представляет собой событие, имеющее место, когда имеется изменение в услуге, обеспеченной абоненту, когда имеется наступающее изменение в услуге, обеспеченной абоненту, или когда имеется чрезвычайное событие.
27. Система по п.22, в которой NTG немедленно формирует и доставляет сообщение результата после приема сообщения запроса формирования сообщения уведомления от NTE.
28. Система по п.22, в которой NTG формирует и доставляет сообщение результата после завершения сеанса связи между NTE и NTE после приема сообщения запроса формирования сообщения уведомления от NTE.
РИСУНКИ
|
|