|
|
(21), (22) Заявка: 2008124735/28, 20.06.2008
(24) Дата начала отсчета срока действия патента:
20.06.2008
(46) Опубликовано: 27.10.2009
(56) Список документов, цитированных в отчете о поиске:
БУТКЕВИЧ В.Г. и др. Фотоприемники и фотоприемные устройства на основе поликристаллических и эпитаксиальных слоев халькогенидов свинца. Прикладная физика, 2001 г., 6, с.66-112. RU 42699 U1, 10.12.2004. RU 2168243 C1, 27.05.2001. SU 1823720 A1, 20.03.1996.
Адрес для переписки:
117545, Москва, Днепропетровский пр-д, 4а, ОАО “Московский завод “Сапфир”, ЦКБ, патентное бюро
|
(72) Автор(ы):
Кузнецов Николай Сергеевич (RU), Гиндин Павел Дмитриевич (RU), Ежов Виктор Петрович (RU), Карпов Владимир Владимирович (RU), Крашенинников Владимир Сергеевич (RU), Шаевич Владимир Игоревич (RU), Марущенко Андрей Вячеславович (RU)
(73) Патентообладатель(и):
Открытое акционерное общество “Московский завод “Сапфир” (RU)
|
(54) ПРИЕМНИК ИЗЛУЧЕНИЯ
(57) Реферат:
Изобретение может быть использовано в гироскопах, акселерометрах и других приборах, имеющих системы пространственной ориентации. Приемник излучения содержит выполненный из керамического материала корпус с герметично присоединенным к нему входным окном. Внутри корпуса на металлизированном дне закреплен кристалл с фоточувствительными элементами, соединенный с контактной площадкой. Контактная площадка выполнена в стенке корпуса в виде металлизированной ступеньки, а электрические выводы, проходящие сквозь толщу керамического корпуса, выполнены в виде токопроводящих дорожек. Изобретение обеспечивает увеличение прочности конструкции приемника излучения, что обеспечивает повышение надежности в процессе эксплуатации. 2 з.п. ф-лы, 1 ил.
Изобретение относится к фоточувствительным полупроводниковым приборам, в частности, к приемникам излучения, содержащим размещенный в герметичном корпусе кристалл с фоточувствительными элементами и предназначенным для использования, например, в гироскопах, акселерометрах и других приборах, имеющих системы пространственной ориентации.
Известен наиболее близкий по технической сущности приемник излучения, содержащий цилиндрический корпус, входное окно и цоколь, образующие герметичную полость, в которой на цоколе, снабженном металлостеклянными электрическими выводами, закреплен кристалл с фоточувствительным элементом (ФЧЭ) (см. ж. Прикладная физика, 2001 г., 6, стр.66-112). В такой конструкции также присутствуют металлостеклянные швы и выводы, производство которых при изготовлении прибора требует высоких качества материалов, квалификации рабочих и технологического контроля, причем даже при их наличии не может быть гарантировано отсутствие разгерметизации в течение заданного срока службы приемника излучения.
Задачей, решаемой предлагаемым изобретением, является увеличение прочности конструкции приемника излучения. Техническим результатом при его использовании является повышение надежности в процессе эксплуатации.
Указанный технический результат достигается за счет того, что в приемнике излучения, содержащем корпус с герметично присоединенным к нему входным окном и расположенным внутри корпуса кристаллом с фоточувствительным элементом, соединенным с контактной площадкой и снабженным электрическими выводами, согласно изобретению корпус выполнен из керамического материала, дно корпуса металлизировано, на нем закреплен кристалл с фоточувствительным элементом, контактная площадка выполнена в виде металлизированной ступеньки в стенке корпуса, а электрические выводы, проходящие сквозь толщу керамического корпуса, выполнены в виде токопроводящих дорожек. В частных случаях в качестве керамического материала может быть использована керамика ВК 94-1, а корпус может быть цилиндрическим.
Новыми в предлагаемом изобретении являются выполнение корпуса приемника керамическим, металлизированное изнутри дно корпуса, наличие контактной площадки в виде металлизированной ступеньки в стенке корпуса и проходящие сквозь толщу керамического дна корпуса электрические выводы в виде токопроводящих дорожек. Такую конструкцию корпуса вместе с токопроводящими дорожками можно изготовить в едином технологическом цикле. Причем через толщу керамического материала можно проводить формирование токопроводящих дорожек любой конфигурации с возможностью выхода в любую точку наружной поверхности корпуса, а не строго перпендикулярно, как при использовании гермовводов в прототипе. Это обеспечивает дополнительные возможности при конструировании приемников.
Использование керамического материала обеспечивает изготовление цельной конструкции корпуса, при этом отсутствие соединительных швов между стенками и дном корпуса и гермовводов позволяет повысить надежность работы прибора, в первую очередь за счет увеличения ударной устойчивости прибора.
В частном случае выполнения в качестве керамического материала корпуса выбрана керамика ВК 94-1, так как она является наиболее подходящей по параметрам технологичности, вакуумной плотности, коэффициенту термического расширения (КТР) и др. Также использование керамики уменьшает вес приемника ввиду ее меньшей плотности, что уменьшает нагрузки в процессе эксплуатации как на элементы самой конструкции, так и на элементы крепления в аппаратуре.
Металлизация дна корпуса необходима для обеспечения электрического контакта кристалла с токопроводящей дорожкой и одновременно для его оптимального крепления методом пайки с использованием эвтектических припоев.
Корпус целесообразно выполнять цилиндрическим, так как это позволяет центрировать изделие относительно посадочного места аппаратуры.
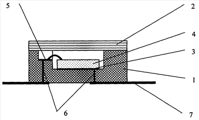
Сущность изобретения поясняется чертежом, где приведена схема предложенной конструкции приемника излучения.
Предложенная конструкция содержит выполненный из керамического материала корпус 1 и входное окно 2, герметично присоединенное к корпусу 1. Дно 3 корпуса металлизировано изнутри, на нем закреплен кристалл 4 с фоточувствительным элементом, соединенный с контактной площадкой, выполненной в стенке корпуса в виде металлизированной ступеньки 5. Дно 3 корпуса и контактная площадка 5 соединены с внешними выводами 7 приемника излучения электрическими выводами 6, проходящими сквозь толщу керамического дна корпуса в виде токопроводящих дорожек. В герметичной полости корпуса находится осушенный воздух, в атмосфере которого обеспечиваются условия стабильной работы ФЧЭ: отсутствие токов утечки и коррозии соединений. Корпус 1 может быть выполнен цилиндрическим.
Предложенная конструкция приемника излучения применяется в системах ориентации различных приборов, в процессе работы которых осуществляются перемещения линейные и угловые относительно оси. В результате приемник испытывает высокие механические нагрузки, которые могут привести к разгерметизации и попаданию внутрь прибора влаги, что ухудшает его электрофизические параметры. Уменьшение веса и количества соединительных швов значительно уменьшает вероятность разгерметизации прибора и, таким образом, увеличивает надежность его работы в течение срока службы.
Предложенная конструкция может быть реализована, например, для Si фотодиодов с диапазоном спектральной чувствительности 0,5-1,06 мкм. При изготовлении керамического корпуса применяется хорошо отработанная, не требующая больших затрат технология производства многослойных керамических плат с использованием трафаретной печати: из нескольких пластинчатых лент керамического материала ВК 94-1 толщиной 0,2 мм формируют корпус с контактными площадками и токопроводящими дорожками из металлизационной пасты заданных конфигурации и геометрических размеров, который обжигают. Затем проводят никелирование дна корпуса, контактной ступеньки и мест выхода из корпуса токопроводящих дорожек, к которым припаиваются внешние выводы, а на металлизированное дно корпуса производится пайка с использованием эвтектических припоев кристалла с ФЧЭ и его соединение проволокой с контактной площадкой корпуса. Затем в специальных боксах с осушенным воздухом герметично приклеивают стеклянное входное окно. Собранная таким образом конструкция обладает повышенной по отношению к прототипу механической прочностью при значительных перегрузках в аппаратуре, при этом уменьшается вероятность разгерметизации приемника излучения, что обеспечивает сохраняемость параметров приемника и повышает надежность его работы.
Формула изобретения
1. Приемник излучения, содержащий выполненный из керамического материала корпус с герметично присоединенным к нему входным окном, внутри корпуса на металлизированном дне закреплен кристалл с фоточувствительными элементами, соединенный с контактной площадкой, выполненной в стенке корпуса в виде металлизированной ступеньки, а электрические выводы, проходящие сквозь толщу керамического корпуса, выполнены в виде токопроводящих дорожек.
2. Приемник излучения по п.1, отличающийся тем, что в качестве керамического материала использована керамика ВК 94-1.
3. Приемник излучения по п.1 или 2, отличающийся тем, что корпус выполнен цилиндрическим.
РИСУНКИ
|
|