|
|
(21), (22) Заявка: 2007142836/09, 19.11.2007
(24) Дата начала отсчета срока действия патента:
19.11.2007
(43) Дата публикации заявки: 27.05.2009
(46) Опубликовано: 27.10.2009
(56) Список документов, цитированных в отчете о поиске:
RU 65265 U1, 27.07.2007. RU 2277262 C1, 27.05.2006. RU 2249179 C1, 27.03.2005. KR 20050051554 A, 01.06.2005.
Адрес для переписки:
440000, г.Пенза, ул. Байдукова, 2, ОАО “Научно-производственное предприятие “Рубин” (ОАО “НПП “Рубин”), Нач. пат. отд. А.Д. Доля
|
(72) Автор(ы):
Атапин Николай Федорович (RU), Тегель Альберт Эрнестович (RU), Жилкина Раиса Федоровна (RU), Анохина Наталья Александровна (RU), Патрушев Юрий Иннокентьевич (RU), Акимкина Александра Алексеевна (RU), Шитов Андрей Сергеевич (RU), Бибарсов Асият Джафярович (RU), Иванов Юрий Михайлович (RU)
(73) Патентообладатель(и):
Открытое акционерное общество “Научно-производственное предприятие “Рубин” (ОАО “НПП “Рубин”) (RU)
|
(54) АППАРАТНО-ПРОГРАММНЫЙ КОМПЛЕКС ДЛЯ ИЗГОТОВЛЕНИЯ ЦИФРОВЫХ ПЛАНОВ И КАРТ
(57) Реферат:
Данное изобретение относится к области вычислительной техники, а именно к устройствам для изготовления цифровых планов и карт с использованием фотограмметрических методов. Технический результат заключается в расширении функциональных возможностей, повышении точности и быстродействия и надежности устройств для изготовления цифровых планов и карт. Он достигается тем, что предложен аппаратно-программный комплекс для создания по фото- и цифровым снимкам космических комплексов специального назначения цифровых моделей рельефа местности и получения цифровых и аналоговых ортофотопланов по одиночным фотоизображениям, создания стереомоделей местности по космическим и аэрофотоснимкам. Аппаратно-программный комплекс включает в свой состав: рабочее место сканирования фотоснимков (РМСФ), рабочее место фотограмметрическое (ФРМ), рабочее место ортотрансформирования цифровых изображений (РМО), телекоммуникационное оборудование и сервер, предназначенный для обеспечения защиты информации от несанкционированного доступа, для хранения данных, необходимых для функционирования рабочих мест комплекса и для передачи этих данных рабочим местам комплекса. 4 ил.
Область техники
Данное техническое решение относится к области вычислительной техники, а именно к устройствам для изготовления цифровых планов и карт с использованием фотограмметрических методов.
Уровень техники
Известно ФОТОГРАММЕТРИЧЕСКОЕ РАБОЧЕЕ МЕСТО (патент РФ на изобретение 2225593, заявка 2002109417 от 10.04.2002, МПК G01C 11/00, патентообладатель ФГУП «НПП «Рубин», правопреемник ОАО «НПП «Рубин», авторы Атапин Н.Ф., Якунин Ю.А., Шигин В.В., регистрация 10.03.2004 г., бюл.7).
1. ФОТОГРАММЕТРИЧЕСКОЕ РАБОЧЕЕ МЕСТО (ФРМ), содержащее персональную электронную вычислительную машину (ПЭВМ) в базовой конфигурации, состоящую из системного блока с подключенными к нему монитором, клавиатурой, манипулятором графической информации типа “мышь” и принтером, стереоскопическое видеоконтрольное устройство (СВКУ), состоящее из цветного монитора, приэкранного поляризационного фильтра (ППФ), джойстика координат (ДЖК), джойстика параллаксов (ДЖП) и пульта оператора (ПО), отличающееся тем, что оно дополнительно содержит контроллер стереоскопического видеоконтрольного устройства, первый выход которого соединен с входом цветного монитора, второй выход – с входом приэкранного поляризационного фильтра, три входа контроллера стереоскопического видеоконтрольного устройства соединены соответственно с выходами джойстика координат, джойстика параллаксов и пульта оператора, а вход-выход контроллера стереоскопического видеоконтрольного устройства – с выходом-входом локальной шины системного блока ПЭВМ.
2. Фотограмметрическое рабочее место (ФРМ) по п.1, отличающееся тем, что контроллер стереоскопического видеоконтрольного устройства содержит блок сопряжения с ЭВМ, первый вход-выход которого соединен по шине ISA с выходом-входом системного блока ПЭВМ, второй вход-выход с внутренней шиной данных (ШД) контроллера, первый (Адрес ЛвК) и второй (Адрес ПрК) выходы блока сопряжения с ЭВМ соединены с внутренней шиной АДР контроллера, а первый и второй входы блока сопряжения с ЭВМ соответственно с цепями синхронизации ЛвК и ПрК, регистр пульта оператора (РгПО), вход которого соединен с выходом пульта оператора, а выход – с внутренней шиной данных ШД контроллера, регистр джойстиков, два входа которого соединены соответственно с выходом джойстика координат (ДЖК) и джойстика параллаксов (ДЖП), а выход – с внутренней шиной данных ШД контроллера, узел управления приэкранного поляризационного фильтра ППФ, выход которого соединен с входом приэкранного поляризационного фильтра, а вход – с цепью синхронизации ЛвК, оперативное запоминающее устройство изображения (ОЗУИ), четыре входа которого ЛвК и ПрК соединены попарно соответственно с внутренней шиной адреса (АДР) и шиной данных ШД, логическую схему ИЛИ, выход которой соединен с внутренней шиной данных ШД, оперативное запоминающее устройство графики (ОЗУГ), четыре входа которого ЛвК, ПрК попарно соединены соответственно с внутренними шиной адреса (АДР) и шиной данных ШД, первый регистр номеров траекторий (PHTp1), вход которого соединен с внутренней шиной данных (ШД), второй регистр номеров траекторий (РНТр2), вход которого соединен с внутренней шиной данных (ШД), счетчик номеров траекторий (СчНТр), вход которого соединен с внутренней шиной данных (ШД), регистр оперативного запоминающего устройства изображений (РгОЗУИ), вход которого соединен с выходом оперативного запоминающего устройства изображений (ОЗУИ), а выход с первым входом логической схемы ИЛИ, регистр оперативного запоминающего устройства графики (РгОЗУГ), вход которого соединен с выходом оперативного запоминающего устройства графики (ОЗУГ), а выход со вторым входом логической схемы ИЛИ, узел формирования марки, вход которого соединен с внутренней шиной адреса (АДР), схему сдвига изображения, вход которой соединен с выходом регистра оперативного запоминающего устройства изображения (РгОЗУИ), дешифратор номеров точек графики, четыре входа которого соединены соответственно с выходом: регистра оперативного запоминающего устройства графики (РгОЗУГ], первого регистра номеров траекторий (PHTp1), второго регистра номеров траекторий (РНТр2) и счетчика номеров траекторий (СчНТр), цифроаналоговый преобразователь (ЦАП), вход которого соединен с выходом схемы сдвига изображений, схему сдвига графики, вход которой соединен с выходом дешифратора номеров точек графики, блок сопряжения с монитором, три входа которого соединены соответственно с выходом узла формирования марки, цифроаналогового преобразователя (ЦАП) и схемы сдвига графики, а три выхода (Видео, Н и V) с соответствующими входами цветного монитора.
Недостатком аналога являются ограниченные функциональные возможности.
Другим аналогом одного из блоков заявляемого технического решения является ДЖОЙСТИК ДЛЯ ФОТОГРАММЕТРИЧЕСКОГО РАБОЧЕГО МЕСТА (патент РФ на полезную модель 46350, заявка 2005107425 от 16.03.2005, МПК7 G01C 11/02, патентообладатель ОАО «НПП «Рубин», авторы Богданов О.Ю., Атапин Н.Ф., Якунин Ю.А., регистрация 27.06.2005 г., бюл. 18), содержащий ручку и схему формирования сигналов от ручки джойстика, кинематически с ней связанную и состоящую из двух переменных резисторов, начальные контакты которых подключены через первый и второй ограничительные резисторы к напряжению +5 В, а конечные точки через третий и четвертый ограничительные резисторы к “земле”, ползуны (выходы) первого и второго переменных резисторов соответственно через первый и второй конденсаторы подключены к “земле”, а третий конденсатор включен между +5 В и “землей”, отличающийся тем, что джойстик дополнительно содержит микроконтроллер (МКК), входы PC (0,1) которого соединены соответственно с выходами первого и второго переменных резисторов схемы формирования сигналов от ручки джойстика, входы РВ (3, 4, 5) соединены с программатором (внешней схемой программирования постоянного полупроводникового запоминающего устройства (ППЗУ)), схему сопряжения МКК с персональной ЭВМ (ПЭВМ), содержащую первый и второй транзисторы (VT1 и VT2), база первого транзистора (VT1) соединена через пятый резистор с эмиттером и +5 В, а через шестой резистор с выходом PD (1) микроконтроллера, коллектор первого транзистора (VT1) через RC-цепочку из седьмого резистора и четвертого конденсатора соединен с “землей”, коллектор второго транзистора (VT2) соединен с выходом PD (0) микроконтроллера и через восьмой резистор с +5 В, эмиттер – с “землей”, а база второго транзистора (VT2) соединена через первый диод VD1 плюсом с “землей” и через цепочку девятый резистор – второй диод VD2 плюсом с серединой RC-цепочки из седьмого резистора и четвертого конденсатора, выходы интерфейса RS-232 RxD и TxD соединены соответственно с коллектором первого транзистора VT1 и минусом второго диода VD2.
Недостатками данного аналога являются пониженная точность, разрешающая способность, удобство работы.
Наиболее близким аналогом (прототипом) заявляемого технического решения является ФОТОГРАММЕТРИЧЕСКОЕ РАБОЧЕЕ МЕСТО (ФРМ) (патент РФ на изобретение 2277262, заявка 2004135604 от 06.12.2004, МПК G06T 1/00, патентообладатель ОАО «НПП «Рубин», авторы Атапин Н.Ф., Богданов О.Ю., Якунин Ю.А., регистрация 27.05.2006 г., бюл.15), содержащее персональную электронную вычислительную машину (ПЭВМ) в базовой конфигурации, состоящую из системного блока с подключенными к нему монитором, клавиатурой, манипулятором графической информации типа «мышь» и принтером, стереоскопическое видеоконтрольное устройство (СВКУ), состоящее из цветного монитора, джойстика координат (ДЖК), джойстика параллаксов (ДЖП) и светоклапанных очков (СО), отличающееся тем, что оно дополнительно содержит адаптер монитора СВКУ, первые входы-выходы которого соединены с системным блоком ПЭВМ, первый выход с входом цветного монитора СВКУ, а второй выход с входом светоклапанных очков, адаптер монитора СВКУ содержит оперативное запоминающее устройство (ОЗУ) левого кадра (ОЗУ ЛКП) и ОЗУ правого кадра (ОЗУ ПКП) для фиксации плотности изображений левого и правого кадра, ОЗУ левого кадра (ОЗУ ЛКГ) и ОЗУ правого кадра (ОЗУ ПКГ) для фиксации графики, устройство управления ОЗУ управление SDRAM, устройство управления адаптера (УУ), соединенное с устройством управления SDRAM по шинам управления, адреса и данных и первым выходом с шиной расширения ПЭВМ, цифроаналоговый преобразователь (ЦАП), вход которого соединен со вторым выходом устройства управления (УУ), операционные усилители, входы которых соединены с выходами цифроаналогового преобразователя (ЦАП), а выходы с входами R, G, В монитора цветного СВКУ, драйвер светоклапанных очков, вход которого соединен с третьим выходом устройства управления (УУ), а выход с входом светоклапанных очков, джойстик содержит переменные резисторы Rx и Ry, ручку управления, механически связанную с осями переменных резисторов Rx и Ry, аналого-цифровой преобразователь (АЦП), два входа которого электрически соединены с выходами переменных резисторов Rx и Ry, а два других – с выходами переменных резисторов другого джойстика, блок формирования VVC, выход которого соединен с третьим входом аналого-цифрового преобразователя, а два входа – с выходами RTS и DTR разъема связи с последовательным портом (СОМ) ПЭВМ, блок связи с последовательным портом (СОМ) ПЭВМ, два входа которого Х и Y соединены с выходами аналого-цифрового преобразователя (АЦП), третий RxD и четвертый TxD входы и выход ±X, Y соответственно – с выходами RxD и TxD и входом ±X, Y разъема связи с последовательным портом (СОМ) ПЭВМ.
Недостатками прототипа являются малые функциональные возможности, ограниченная точность, разрешающая способность, надежность.
Сущность технического решения
Известный аппаратно-программный комплекс для изготовления цифровых планов и карт по материалам аэрофотосъемки, космическим снимкам и цифровым снимкам содержит фотограмметрическое рабочее место (ФРМ), состоящее из персональной электронной вычислительной машины (ПЭВМ) управляющей с клавиатурой, манипулятором графическим (МГ) типа «мышь», двумя джойстиками, стереомонитором, накопителем на жестком магнитном диске (НЖМД) и принтера лазерного, подключенных к сети переменного тока через сетевой фильтр и источник бесперебойного питания.
Целью заявляемого технического решения является расширение функциональных возможностей, повышение точности и быстродействия, разрешающей способности, надежности.
Комплекс дополнительно содержит рабочее место сканирования фотоснимков (РМСФ), состоящее из ПЭВМ управляющей с монитором, клавиатурой, манипулятором графическим (МГ) типа «мышь», накопителем на жестком магнитном диске (НЖМД), сканера фотограмметрического, подключенных к сети переменного тока через сетевой фильтр и источника бесперебойного питания (ИБП), рабочее место ортотрансформирования цифровых изображений (РМО), состоящее из ПЭВМ управляющей с монитором, клавиатурой, манипулятором графическим (МГ) типа «мышь», накопителем на жестком магнитном диске (НЖМД), сканера фотограмметрического, подключенных к сети переменного тока ~220 В через сетевой фильтр и источника бесперебойного питания (ИБП), сервер с монитором, клавиатурой, манипулятором графическим (МГ) типа «мышь», накопителем на жестком магнитном диске (НЖМД), подключенным к сети переменного тока ~220 В через фильтр сетевой, телекоммуникационное оборудование в составе контроллера локальной вычислительной сети (ЛВС), соединенное по локальной вычислительной сети с ПЭВМ управляющими РМСФ, ФРМ, РМО, ПЭВМ сервера и дополнительными автоматизированными рабочими местами (АРМ) комплекса средств автоматизации (КСА) или специальными регистрирующими устройствами, ЛВС объекта, и к сети переменного тока ~220 В через фильтр сетевой.
Перечень чертежей
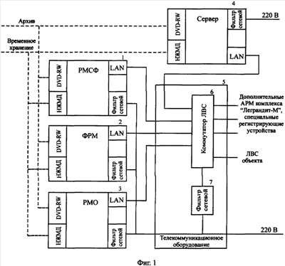
На фиг.1 приведена укрупненная структурная схема аппаратно-программного комплекса для изготовления цифровых планов и карт;
На фиг.2 приведена структурная схема аппаратно-программного комплекса для изготовления цифровых планов и карт;
На фиг.3 приведена структурная схема фотограмметрического рабочего места (ФРМ);
На фиг.4 приведена схема алгоритма функционирования аппаратно-программного комплекса для изготовления цифровых планов и карт.
Пример варианта выполнения устройства
Укрупненная структурная схема аппаратно-программного комплекса для изготовления цифровых планов и карт (фиг.1) содержит рабочее место сканирования фотоснимков (РМСФ) – 1, фотограмметрическое рабочее место (ФРМ) – 2, рабочее место ортотрансформирования цифровых изображений (РМО) – 3, сервер – 4, телекоммуникационное оборудование – 5, состоящее из коммутатора локальной вычислительной сети (ЛВС) – 6, и фильтра сетевого – 7.
Структурная схема аппаратно-программного комплекса для изготовления цифровых планов и карт (фиг.2) дополнительно содержит в РМСФ 1 клавиатуру – 8, манипулятор графический (МГ) типа «мышь» – 9, монитор – 10, персональную электронную вычислительную машину (ПЭВМ) управляющую – 11, накопитель на жестком магнитном диске (НЖМД) – 12, сканер фотограмметрический – 13, источник бесперебойного питания (ИБП) – 15, в ФРМ 2 клавиатуру – 16, манипулятор графический (МГ) типа «мышь» – 17, джойстики – 18, 19, стереомонитор – 20, ПЭВМ управляющую – 21, НЖМД – 22, принтер лазерный А4 – 23, ИБП – 24, фильтр сетевой – 25, в РМО 3 клавиатуру – 26, МГ типа «мышь» -27, монитор – 28, ПЭВМ управляющую – 29, НЖМД – 30, ИБП – 31, фильтр сетевой – 32, в сервере 4 клавиатуру – 33, МГ типа «мышь» – 34, монитор – 35, ПЭВМ – 36, НЖМД – 37 и фильтр сетевой – 38.
Для создания по фото- и цифровым снимкам космических комплексов специального назначения цифровых моделей рельефа местности и получения цифровых и аналоговых ортофотопланов по одиночным фотоизображениям, создания стереомоделей местности по космическим и аэрофотоснимкам необходимо выполнить следующие задачи:
– преобразовать оптические плотности изображений космических и аэрофотоснимков путем сканирования фотоснимков, получить цифровые изображения местности (ЦИЗМ);
– создать стереомодели местности и цифровые модели рельефа в рамках трапеций номенклатурных листов топографических карт и планов по космическим и аэрофотоснимкам;
– получить цифровые ортофотопланы и ортофотокарты в рамках трапеций номенклатурных листов топографических карт с использованием отечественных и зарубежных материалов обзорной и детальной космической съемки и по результатам аэрофотосъемки местности;
– обеспечить возможность выдачи по локальной сети выходной цифровой картографической продукции (ортофотопланов, ортофотокарт, цифровых моделей рельефа и стереомоделей местности) в стандартных обменных форматах.
Для выполнения поставленных задач комплекс включает в свой состав:
рабочее место сканирования фотоснимков (РМСФ);
рабочее место фотограмметрическое (ФРМ);
рабочее место ортотрансформирования цифровых изображений (РМО);
телекоммуникационное оборудование и сервер.
Рабочее место сканирования фотоснимков (РМСФ) предназначено для преобразования оптических плотностей изображений космических и аэрофотоснимков путем сканирования фотоснимков, получения цифровых изображений местности (ЦИЗМ), накопления и передачи их по локальной сети в сервер.
Рабочее место фотограмметрическое (ФРМ) предназначено для автоматизированного создания цифровых моделей местности и цифровых моделей рельефа (ЦМР) путем стереообработки ЦИЗМ. Готовые стереомодели и ЦМР передаются по локальной сети в сервер.
Рабочее место ортотрансформирования цифровых изображений (РМО) предназначено для получения цифровых ортофотопланов и ортофотокарт с использованием отечественных и зарубежных материалов обзорной и детальной космической съемки и по результатам аэрофотосъемки местности.
В РМО обеспечена возможность выдачи в сервер по локальной сети выходной цифровой картографической продукции (ортофотопланов, ортофотокарт) в стандартных обменных форматах.
Телекоммуникационное оборудование комплекса обеспечивает информационный обмен между сервером и рабочими местами комплекса, связь с локальной сетью объекта, где устанавливается комплекс, а также обеспечивает подключение к комплексу дополнительных устройств (печатающих и специальных регистрирующих устройств, дополнительных рабочих мест из состава комплекса).
Сервер обеспечивает защиту информации от несанкционированного доступа и хранит данные, необходимые для функционирования рабочих мест комплекса.
Рабочее место сканирования фотоснимков не нуждается в результатах работы ФРМ и РМО. Входная информация – космические и аэрофотоснимки, выходная информация – цифровые изображения местности (ЦИЗМ), которая по локальной сети передается в сервер или накапливается на магнитных носителях. РМСФ не формирует продукции, а лишь производит предварительную обработку – готовит входные цифровые массивы для ФРМ и РМО.
Рабочее место фотограмметрическое использует цифровые изображения местности, полученные на РМСФ и находящиеся на сервере, и данные о съемочной аппаратуре и ее положении в момент съемки, которые приходят извне на машинных носителях или вводятся вручную.
Технологическая обработка на ФРМ является сложной и трудоемкой. Здесь осуществляются все виды ориентирования снимков и модели: внутреннее, взаимное и внешнее – формируется стереомодель местности путем переработки исходных ЦИЗМ в цифровые изображения в приведенной плоскости. Путем автоматической корреляции изображений формируется матрица параллаксов и осуществляется ее интерактивный контроль и исправление. В результате формируется матрица параллаксов, которая автоматически перерабатывается в цифровую модель рельефа в виде матрицы высот или/и массива горизонталей.
Таким образом, ФРМ формирует два вида продукции – ЦМР и стереомодель местности, которые передаются в сервер по локальной сети или записываются на магнитный носитель.
Рабочее место ортотрансформирования цифровых изображений принимает на входе цифровые изображения местности (ЦИЗМ), а также ЦМР на обрабатываемую трапецию.
Полученные изображения ориентируются и ортотрансформируются при использовании ЦМР. Так как полученные фрагментарные ортоизображения, каждое в отдельности, не покрывают заданной трапеции, то они «сшиваются» в единый ортофотоплан, который по готовности передается в сервер по линии локальной сети или записывается на магнитный носитель.
Таким образом, РМО формирует третий вид выходной продукции.
Перечень задач, решаемых на комплексе «Леграндит»
1. Сканирование космических фотоснимков и получение цифровых изображений местности.
2. Внутреннее, взаимное и внешнее ориентирование цифровых изображений местности. Автоматическое и интерактивное получение цифровых моделей рельефа в рамках номенклатурных листов и стереомоделей местности.
3. Ортотрансформирование цифровых изображений и получение цифровых ортофотопланов в рамках номенклатурных листов.
Промышленная применяемость
Аппаратно-программный комплекс для изготовления цифровых планов и карт промышленно реализуем, обладает лучшими качественными характеристиками, расширенными функциональными возможностями, большими вычислительными мощностями, современными техническими средствами, более высокой надежностью.
Формула изобретения
Аппаратно-программный комплекс для изготовления цифровых планов и карт по материалам аэрофотосъемки, космическим снимкам и цифровым снимкам, содержащий фотограмметрическое рабочее место (ФРМ), предназначенное для приема от сервера цифровых изображений местности (ЦИЗМ), полученных на рабочем месте сканирования фотоснимков (РМСФ), и состоящее из персональной электронной вычислительной машины (ПЭВМ) управляющей с клавиатурой, манипулятором графическим (МГ) типа «мышь», двумя джойстиками, стереомонитором, накопителем на жестком магнитном диске (НЖМД) и принтера лазерного, подключенными к сети переменного тока через сетевой фильтр и источник бесперебойного питания, сервер, предназначенный для обеспечения защиты информации от несанкционированного доступа, для хранения данных, необходимых для функционирования рабочих мест комплекса, и для передачи этих данных рабочим местам комплекса, отличающийся тем, что комплекс дополнительно содержит рабочее место сканирования фотоснимков (РМСФ), предназначенное для подготовки входных массивов цифровых изображений местности (ЦИЗМ) для фотограмметрического рабочего места (ФРМ) и рабочего места ортотрансформирования цифровых изображений (РМО) и состоящее из ПЭВМ управляющей с монитором, клавиатурой, манипулятором графическим (МГ) типа «мышь», накопителем на жестком магнитном диске (НЖМД), сканера фотограмметрического, подключенными к сети переменного тока через сетевой фильтр и источник бесперебойного питания (ИБП), рабочее место ортотрансформирования цифровых изображений (РМО), предназначенное для приема от сервера цифровых изображений местности (ЦИЗМ) и цифровой модели рельефа (ЦМР) и состоящее из ПЭВМ управляющей с монитором, клавиатурой, манипулятором графическим (МГ) типа «мышь», накопителем на жестком магнитном диске (НЖМД), подключенными к сети переменного тока ~220 В через сетевой фильтр и источник бесперебойного питания (ИБП), сервер с монитором, клавиатурой, манипулятором графическим (МГ) типа «мышь», накопителем на жестком магнитном диске (НЖМД), подключенными к сети переменного тока ~220 В через фильтр сетевой, телекоммуникационное оборудование в составе контроллера локальной вычислительной сети (ЛВС), соединенное по локальной вычислительной сети с ПЭВМ управляющими РМСФ, ФРМ, РМО, ПЭВМ сервера, ЛВС объекта и обеспечивающее возможность подключения к комплексу дополнительных автоматизированных рабочих мест (АРМ), а также с сетью переменного тока ~220 В через фильтр сетевой.
РИСУНКИ
|
|