|
|
(21), (22) Заявка: 2008108958/28, 04.03.2008
(24) Дата начала отсчета срока действия патента:
04.03.2008
(46) Опубликовано: 27.10.2009
(56) Список документов, цитированных в отчете о поиске:
RU 21966311 С2, 10.01.2003. RU 2305263 С2, 27.08.2007. JP 11352001 A, 24.12.1999. GB 2393872 A, 07.04.2004. CA 2434958 A1, 08.08.2002.
Адрес для переписки:
190031, Санкт-Петербург, а/я 355, В.И. Дикареву
|
(72) Автор(ы):
Дикарев Виктор Иванович (RU), Журкович Виталий Владимирович (RU), Сергеева Валентина Георгиевна (RU)
(73) Патентообладатель(и):
Дикарев Виктор Иванович (RU), Журкович Виталий Владимирович (RU), Сергеева Валентина Георгиевна (RU)
|
(54) СПОСОБ ОПРЕДЕЛЕНИЯ МЕСТА ТЕЧИ В ПОДЗЕМНОМ ТРУБОПРОВОДЕ И УСТРОЙСТВО ДЛЯ ЕГО ОСУЩЕСТВЛЕНИЯ
(57) Реферат:
Изобретения относятся к контрольно-измерительной технике и могут быть использованы для определения координат течи в подземных трубопроводах систем тепло- и водоснабжения. Изобретения направлены на расширение функциональных возможностей за счет определения глубины залегания трубопровода под слоем грунта и рационального выбора задержки для временного стробирования. Этот результат обеспечивается за счет того что устройство, реализующее способ, содержит передатчик, первый и второй приемники, передающую антенну, первую и вторую приемные антенны, фазовый детектор, измеритель выходного напряжения, трубопровод, зондирующий сигнал, отраженный сигнал, влажный слой грунта, синхронизатор, задающий генератор, первый и второй перемножители, первый и второй узкополосные фильтры, сумматор, регулируемую линию задержки, ключ, делитель частоты на два, гетеродин, смеситель, усилитель промежуточной частоты, амплитудный ограничитель, измеритель частоты и вычислительный блок. 2 н.п. ф-лы, 1 ил.
Предлагаемые способ и устройство относятся к контрольно-измерительной технике и могут быть использованы для определения координат течи в подземных трубопроводах систем тепло- и водоснабжения.
Известны способы и устройства для определения места течи в подземных трубопроводах (авт. свид. СССР  411268, 724957, 930034, 947666, 1216550, 1368685, 1672105, 1777014, 1800219, 1812386; патенты РФ  2011110, 2036372, 2047039, 2047815, 2053436, 2084757, 2196311; патенты США  3045116, 3744298, 4289019, 4570477; патент Великобритании 1349120; патенты Франции  2.374628, 2504651; патент ФРГ 3112829; патенты Японии  46-4795, 55-6856; Волошин В.И. и др. Акустический определитель местоположения развивающегося дефекта. Дефектоскопия, 1980, 8, с.69-74 и другие).
Из известных способов и устройств наиболее близкими к предлагаемым являются «Способ определения места течи в нагорном трубопроводе и устройство для его осуществления» (патент РФ 2.196.311, G01М 3/08, 2001), которые и выбраны в качестве прототипов.
Указанные технические решения обеспечивают повышение точности и разрешающей способности по глубине за счет исключения отражений от поверхности воздух – грунт и прямого излучения, а также измерения разности фаз  на стабильной частоте г гетеродина между отраженным сигналом с частотой 1 и отраженным сигналом с частотой 2, приведенным к частоте 1.
Однако они не позволяют определять глубину залегания трубопровода под слоем грунта и рационально выбирать задержку для временного стробирования.
Технической задачей изобретения является расширение функциональных возможностей способа и устройства за счет определения глубины залегания трубопровода под слоем грунта и рационального выбора задержки для временного стробирования.
Поставленная задача решается тем, что способ определения места течи в подземном трубопроводе, находящемся под слоем грунта, согласно которому в грунте создают, в соответствии с ближайшим аналогом, электромагнитное поле путем электромагнитного зондирования грунта вдоль трассы трубопровода и по изменению его параметров под действием жидкости, вытекающей из контролируемого трубопровода, находят место течи в последнем, при этом электромагнитное зондирование грунта вдоль трассы трубопровода осуществляют на двух кратных частотах 1 и 2, выделяют в точке приема отраженные от трубопровода сигналы двух частот, задерживают сигнал с частотой 1 на время его распространения до трубопровода и обратно, сигнал с частотой 2 приводят к частоте 1, a затем преобразуют по частоте с использованием напряжения гетеродина, выделяют напряжение промежуточной частоты пр= 1– г, перемножают его с задержанным сигналом с частотой 1, выделяют гармоническое напряжение на стабильной частоте г гетеродина, ограничивают его по амплитуде, измеряют разность фаз  на стабильной частоте г гетеродина между сигналом с частотой 1 и сигналом с частотой 2, приведенным к частоте 1, и используют ее в качестве параметра электромагнитного поля, отличается от ближайшего аналога тем, что измеряют частоту 1, используют измеренные значения частоты 1 и разности фаз  для определения глубины залегания h трубопровода под слоем грунта и при ее изменении изменяют задержку сигнала с частотой 1 на время его распространения до трубопровода и обратно, осуществляют рациональное временное стробирование, соответствующее измеренной глубине залегания h трубопровода под слоем грунта.
Поставленная задача решается тем, что устройство для определения места течи в подземном трубопроводе, содержащее, в соответствии с ближайшим аналогом, последовательно включенные синхронизатор, задающий генератор, первый перемножитель, второй вход которого соединен с первым выходом задающего генератора, первый узкополосный фильтр, сумматор, второй вход которого соединен с вторым выходом задающего генератора, и передающую антенну, последовательно включенные первую приемную антенну, первый приемник, ключ, второй вход которого через линию задержки соединен с вторым выходом синхронизатора, второй перемножитель, второй узкополосный фильтр, амплитудный ограничитель, фазовый детектор, второй вход которого соединен с первым выходом гетеродина, и измеритель выходного напряжения, последовательно включенные вторую приемную антенну, второй приемник, делитель частоты на два, смеситель, второй вход которого соединен с вторым выходом гетеродина, и усилитель промежуточной частоты, выход которого соединен с вторым входом второго перемножителя, отличается от ближайшего аналога тем, что оно снабжено измерителем частоты и вычислительным блоком, причем к первому выходу задающего генератора последовательно подключены измеритель частоты и вычислительный блок, второй вход которого соединен с выходом фазового детектора, а выход подключен к управляющему входу линии задержки, которая выполнена регулируемой.
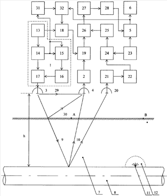
Устройство, реализующее предлагаемый способ определения места течи в подземном трубопроводе, содержит последовательно включенные синхронизатор 13, задающий генератор 14, первый перемножитель 15, второй вход которого соединен с первым выходом задающего генератора 14, первый узкополосный фильтр 16, сумматор 17, второй вход которого соединен с вторым выходом задающего генератора 14, и передающую антенну 3, последовательно включенные первую приемную антенну 4, первый приемник 2, ключ 19, второй вход которого через линию 18 задержки соединен с вторым выходом синхронизатора 13, второй перемножитель 26, второй узкополосный фильтр 27, амплитудный ограничитель 28, фазовый детектор 5, второй вход которого соединен с первым выходом гетеродина 23, и измеритель 6 выходного напряжения, последовательно включенные вторую приемную антенну 20, второй приемник 21, делитель 22 частоты на два, смеситель 24, второй вход которого соединен с вторым выходом гетеродина 23, и усилитель 25 промежуточной частоты, выход которого соединен с вторым входом перемножителя 26, последовательно подключенные к первому выходу задающего генератора 14 измеритель 31 частоты и вычислительный блок 32, второй вход которого соединен с выходом фазового детектора 5, а выход подключен к управляющему входу линии 18 задержки, которая выполнена регулируемой.
Синхронизатор 13, задающий генератор 14, первый перемножитель 15, первый узкополосный фильтр 16 и сумматор 17 образуют передатчик 1.
На чертеже введены следующие обозначения: 7 – грунт, 8 – трубопровод, 9 – зондирующий сигнал, 10 – отраженный сигнал, 11 – поврежденный участок трубопровода (течь), 12 – влажный слой грунта, образованный при вытекании жидкости из контролируемого трубопровода 8, 29 – прямой сигнал передатчика 1, 30 – сигнал, отраженный от раздела воздух – грунт.
Предлагаемый способ реализуют следующим образом.
В грунте 7 создают электромагнитное поле путем его электромагнитного зондирования вдоль трассы трубопровода 8 с помощью передатчика 1, который через передающую антенну 3 излучает зондирующий сигнал 9 в направлении трубопровода 8.
Синхронизатор 13 формирует стабильные прямоугольные видеоимпульсы с известным периодом следования Тп и длительность Тс, которые периодически запускают задающий генератор 14. Последний формирует высокочастотное зондирующее напряжение
U1(t)= 1·Cos( 1t+ 1), 0 t Tc,
которое поступает на первый вход сумматора 17 и на два входа перемножителя 15. На выходе последнего образуется высокочастотное зондирующее напряжение
U2(t)= 2·cos( 2t+ 2), 0 t Тс,
где 2=1/2· 1 2;
2=2 1;
2=2 1,
которое выделяется узкополосным фильтром 16 и поступает на второй вход сумматора 17. На выходе последнего образуется зондирующий суммарный сигнал
Uc(t)=U1(t)+U2(t)= 1·Cos( 1t+ 1)+ 2·Cos( 2t+ 2), 0 t Tc,
с двумя кратными когерентными частотами. Этот сигнал через передающую антенну 3 излучается в направлении трубопровода 8. При достижении сигналом 9 трубопровода 8 происходит его частичное отражение в сторону поверхности земли (точка А).
Отраженный сигнал 10 улавливается приемными антеннами 4, 20 и выделяется приемниками 2 и 21, настроенными на частоты 1 и 2 соответственно:
U3(t)= 3(t)·Cos[( 1± 1)t+ 3],
U4(t)= 4(t)·Cos[( 2± 2)t+ 4], 0 t Тc,
где 3(t), 4(t) – огибающие отраженных гармонических напряжений;
± 1, ± 2 – нестабильности несущих частот 1 и 2, обусловленные некогерентным рассеянием трубопровода и другими дестабилизирующими факторами.
Напряжение U3(t) с выхода приемника 2 через ключ 19 поступает на первый вход перемножителя 26. Чтобы измеряемый сдвиг фаз соответствовал измеренной глубине h залегания трубопровода 8, перемножитель 26 стробируется по времени с помощью ключа 19, на вход которого поступают короткие прямоугольные импульсы с выхода регулируемой линии 18 задержки. Временная задержка импульсов определяется измеренной глубиной h залегания трубопровода 8. При изменении глубины h меняется и время задержки.
На границе раздела воздух – грунт, характеризующейся скачком относительной диэлектрической проницаемости и удельного затухания, формируется отраженный сигнал 30, воздействующий на приемные антенны 4 и 20. На эти же антенны воздействует мешающее прямое излучение 29 передатчика 1. Эти факторы, снижающие точность и разрешающую способность по глубине, устраняются стробированием по времени перемножителя 26, как это описано выше.
Напряжение U4(t) с выхода приемника 21 поступает на вход делителя 22 частоты на два, на выходе которого образуется гармоническое напряжение
U5(t)= 4(t)·Cos[( 1± 1)t+ 4], 0 t Тc.
Это напряжение поступает на первый вход смесителя 24, на второй вход которого подается напряжение гетеродина 23 со стабильной частотой г:
Uг(t)= г·Cos( гt+ г).
На выходе смесителя 24 образуются напряжения комбинационных частот. Усилителем 25 выделяется напряжение промежуточной (разностной) частоты
Uпp(t)= пp(t)·Cos[ пр± 1)t+ пр4], 0 t Тс.
где пр=1/2· 4(t)· г;
пр= 1– г – промежуточная частота;
пр= 4– г,
которое поступает на второй вход перемножителя 26. На выходе последнего образуется гармоническое напряжение
U6(t)= 6(t)·Cos( гt+ г+ ), 0 t Тc.
где 6(t)=1/2· 3(t)· 4(t);
 = 3– 4 – фазовый сдвиг,
которое выделяется узкополосным фильтром 27 и поступает на вход амплитудного ограничителя 28. На выходе последнего образуется напряжение
U7(t)= огр·Cos( гt+ г+ ), 0 t Тс.,
где огр – порог ограничения,
которое поступает на первый вход фазового детектора 5, на второй вход которого подается напряжение Uг(t) гетеродина 23. На выходе фазового детектора 5 образуется низкочастотное напряжение
Uн(t)= н·Cos ,
где н=1/2· огр· г;
пропорциональное сдвигу фаз  , которое регистрируется измерителем 6 выходного напряжения.
Сдвиг фаз  между сигналом с частотой 1 и сигналом с частотой 2, приведенным к частоте 1, определяется частотами зондирующего сигнала, глубиной залегания h трубопровода и электрическими параметрами грунта 7. Этот сдвиг фаз остается неизменным при зондировании грунта над неповрежденными участками трубопровода 8, поскольку все определяющие его величины остаются постоянными, кроме глубины h залегания трубопровода.
Сдвиг фаз  в точке приема между колебаниями с частотами 1 и 2, обусловленный разной скоростью распространения волн в дисперсионной среде, связан с глубиной h залегания трубопровода следующим соотношением:
 = 1(h/v1-2h/v2),
где v1 – фазовая скорость распространения колебаний частоты 1;
v2 – фазовая скорость распространения колебаний частоты 2.
При этом глубина h залегания трубопровода определяется по формуле
h= / 1(1/v1-2/v2).
Временная задержка импульсов определяется глубиной h залегания трубопровода
=2·h/с.
При изменении глубины h залегания трубопровода меняется и время задержки.
Частота 1 измеряется с помощью измерителя 31 частоты и поступает на первый вход вычислительного блока 32, на второй вход которого поступает низкочастотное напряжение Uн(t), пропорциональное сдвигу фаз  , с выхода фазового детектора 5. В вычислительном блоке 32 определяется глубина h залегания трубопровода 8 и необходимая временная задержка . На выходе вычислительного блока 32 формируется управляющее напряжение, которое поступает на управляющий вход регулируемой линии 18 задержки, приводя в соответствие время задержки глубине h залегания трубопровода 8.
При зондировании грунта над поврежденным участком 11 трубопровода 8 (точка В) как излучаемый в грунт сигнал 9, так и отраженный от трубопровода 8 сигнал 10 частично проходят по влажному слою 12 грунта 7, образованному при вытекании жидкости из контролируемого трубопровода 8. При прохождении электромагнитной волны по влажному грунту, имеющему отличные от сухого грунта электрические параметры (большую проводимость и диэлектрическую проницаемость), изменяется фазовая скорость распространения волны. Это приводит к изменению фазового сдвига  , которое регистрируется измерителем 6 выходного напряжения и по которому судят о наличии течи на участке трубопровода 8, расположенном под точкой В.
Применение предлагаемого способа облегчает нахождение с поверхности трассы подземного трубопровода, так как при отклонении в сторону от трассы будет зафиксировано отсутствие отраженного сигнала 10. При этом нет необходимости в проведении земляных работ для реализации предлагаемого способа, который позволяет повысить точность и разрешающую способность по глубине. Это достигается за счет исключения отражений от поверхности воздух – грунт и прямого излучения, измерения фазового сдвига  между отраженным сигналом с частотой 1 и отраженным сигналом с частотой 2, приведенным к частоте 1. Причем разность фаз  измеряется на стабильной частоте г гетеродина 23, поэтому процесс измерения фазового сдвига  инвариантен к нестабильности амплитуды и частоты отраженного сигнала, возникающих при некогерентном рассеянии зондирующего сигнала от подземного трубопровода.
Таким образом, предлагаемые технические решения по сравнению с прототипами обеспечивают определение глубины залегания трубопровода под слоем грунта и рациональный выбор задержки для временного стробирования. Тем самым функциональные возможности способа определения места течи в подземном трубопроводе и устройства для его осуществления расширены.
Формула изобретения
1. Способ определения места течи в подземном трубопроводе, находящемся под слоем грунта, согласно которому в грунте создают электромагнитное поле путем электромагнитного зондирования грунта вдоль трассы трубопровода, и по изменению его параметров под действием жидкости, вытекающей из контролируемого трубопровода, находят место течи в последнем, при этом электромагнитное зондирование грунта вдоль трассы трубопровода осуществляют на двух кратных частотах 1 и 2, выделяют в точке приема отраженные от трубопровода сигналы этих двух частот, задерживают сигнал с частотой 1 на время его распространения до трубопровода и обратно, сигнал с частотой 2 приводят к частоте 1, а затем преобразуют по частоте с использованием напряжения гетеродина, выделяют напряжение промежуточной частоты пр= 1– г, перемножают его с задержанным сигналом с частотой 1, выделяют гармоническое напряжение на стабильной частоте
г гетеродина, ограничивают его по амплитуде, измеряют разность фаз  на стабильной частоте г гетеродина между сигналом с частотой 1 и сигналом с частотой 2, приведенным к частоте 1, и используют ее в качестве параметра электромагнитного поля, отличающийся тем, что измеряют частоту 1, используют измеренные значения частоты 1 и разности фаз  для определения глубины h залегания трубопровода под слоем грунта и при ее изменении изменяют задержку сигнала с частотой 1 на время его распространения до трубопровода и обратно, осуществляют рациональное временное стробирование, соответствующее измеренной глубине h залегания трубопровода под слоем грунта.
2. Устройство для определения места течи в подземном трубопроводе, содержащее последовательно включенные синхронизатор, задающий генератор, первый перемножитель, второй вход которого соединен с первым выходом задающего генератора, первый узкополосный фильтр, сумматор, второй вход которого соединен с вторым выходом задающего генератора, и передающую антенну, последовательно включенные первую приемную антенну, первый приемник, ключ, второй вход которого через линию задержки соединен с вторым выходом синхронизатора, второй перемножитель, второй узкополосный фильтр, амплитудный ограничитель, фазовый детектор, второй вход которого соединен с первым выходом гетеродина, и измеритель выходного напряжения, последовательно включенные вторую приемную антенну, второй приемник, делитель частоты на два, смеситель, второй вход которого соединен с вторым выходом гетеродина, и усилитель промежуточной частоты, выход которого соединен с вторым входом второго перемножителя, отличающееся тем, что оно снабжено измерителем частоты и вычислительным блоком, причем к первому выходу задающего генератора последовательно подключены измеритель частоты и вычислительный блок, второй вход которого соединен с выходом фазового детектора, а выход подключен к управляющему входу линии задержки, которая выполнена регулируемой.
РИСУНКИ
|
|