|
|
(21), (22) Заявка: 2008105016/02, 11.02.2008
(24) Дата начала отсчета срока действия патента:
11.02.2008
(46) Опубликовано: 27.10.2009
(56) Список документов, цитированных в отчете о поиске:
WO 97/16051 A1, 01.05.1997. RU 2062968 C1, 27.06.1996. SU 965370 A, 07.10.1982. SU 1545951 A3, 23.02.1990. SU 1360596 A3, 15.12.1987. CH 452730 A, 15.03.1968. FR 2572873 A, 09.05.1986.
Адрес для переписки:
660074, г.Красноярск, ул. Киренского, 26, Политехнический институт СФУ, ПИО
|
(72) Автор(ы):
Темеров Александр Алексеевич (RU), Тимофеев Виктор Николаевич (RU), Михайлов Дмитрий Александрович (RU)
(73) Патентообладатель(и):
Федеральное государственное образовательное учреждение высшего профессионального образования “Сибирский федеральный университет” (СФУ) (RU)
|
(54) ЭЛЕКТРИЧЕСКАЯ ПЕЧЬ ДЛЯ ПРИГОТОВЛЕНИЯ СПЛАВОВ ЦВЕТНЫХ МЕТАЛЛОВ
(57) Реферат:
Изобретение относится к области цветной металлургии, а именно к электропечам для приготовления сплавов цветных металлов. Электрическая печь содержит футерованную ванну с боковыми стенами и подиной, контактирующие с расплавом, установленный в подине электронагреватель, состоящий из огнеупорного теплопроводного блока и нагревательных элементов, и источник электрической энергии. Нагревательные элементы выполнены в виде токоподводящих электродов, установленных в футеровке подины, огнеупорный теплопроводный блок выполнен из электропроводящего резистивного материала на основе углерода и является частью футеровки подины печи, причем верхняя поверхность огнеупорного теплопроводного блока находится в контакте с токоподводящим охлаждаемым электродом через расплав металла, а его нижняя поверхность – с другим токоподводящим электродом через источник электрической энергии. Изобретение направлено на повышение эксплуатационной надежности электрической печи за счет увеличения надежности электронагревателя и футеровки подины в результате снижения градиента температур по толщине огнеупорного теплопроводного блока. 1 з.п. ф-лы, 2 табл., 1 ил.
Изобретение относится к области металлургии и электротехнологии, а именно к электропечам, используемым для приготовления сплавов цветных металлов.
В электрических печах и им подобных установках, предназначенных для приготовления сплавов, существует потребность в электронагревателе – источнике тепловой энергии, который бы обеспечивал подвод тепловой энергии к нижней части расплава жидкого металла, находящегося в ванне электрической печи, и обладал высокой степенью эксплуатационной надежности.
Известны дуговые электрические печи с подовыми электродами (патент РФ 2097947, опубл. 27.11.97, Кл. Н05В 7/20, 7/11, F27D 11/10, F27B 3/10), в которых в качестве источника тепловой энергии используется электрический разряд, представляющий собой горящую электрическую дугу.
В данном типе электрических печей основная часть тепловой энергии выделяется над верхними слоями расплава, за счет чего возникает температурный перепад между его верхними и нижними слоями.
Известна также электрическая печь Таммана, принцип действия электронагревателя которой основан на выделении тепловой энергии в электронагревателе сопротивления, который одновременно является и элементом ограждающей конструкции (Зуев В.М. Термическая обработка металлов / В.М.Зуев. М.: Высш. школа, 1976. с.240, рис.127).
При приготовлении электропроводящих расплавов, каковыми являются сплавы цветных металлов, в такой электрической печи возникает необходимость электрической изоляции электронагревателя от расплава. С данной целью между электронагревателем и электропроводящим сплавом создается промежуточный электроизоляционный слой. Это ведет к снижению надежности электронагревателя и его тепловой эффективности.
Наиболее близкой к заявляемой электрической печи для приготовления сплавов металлов является электрическая печь (патент Норвегии WO 9716051, опубл. 1997.05.01, Кл. Н05В 3/10, Н05В 3/62), содержащая футерованную ванну с боковыми стенками и подиной, контактирующими с расплавом, электронагреватель, состоящий из огнеупорного теплопроводного блока, расположенного в подине, в отверстиях которого установлены нагревательные элементы, а также источник электрической энергии.
Недостатком такой конструкции является установка нагревательных элементов в отверстиях огнеупорного теплопроводного блока, что приводит к недопустимому градиенту температур в нем, образованию трещин и последующему проходу расплава к нагревательным элементам. Замена электронагревателя существенно снижает эксплуатационную надежность электрической печи.
Задачей, решаемой изобретением, является повышение эксплуатационной надежности электрической печи за счет увеличения надежности электронагревателя и футеровки подины в результате снижения градиента температур по толщине огнеупорного теплопроводного блока.
Для решения поставленной задачи в предлагаемой электрической печи для приготовления сплавов цветных металлов, содержащей футерованную ванну с боковыми стенами и подиной, контактирующими с расплавом, установленный в подине электронагреватель, включающий огнеупорный теплопроводный блок и нагревательные элементы, и источник электрической энергии, согласно изобретению нагревательные элементы выполнены в виде токоподводящих электродов, установленных в футеровке подины, огнеупорный теплопроводный блок выполнен из электропроводящего резистивного материала на основе углерода и является частью футеровки подины печи, причем верхняя поверхность огнеупорного теплопроводного блока находится в контакте с токоподводящим охлаждаемым электродом через расплав металла, а его нижняя поверхность – с другим токоподводящим электродом через источник электрической энергии. При этом электрод, контактирующий с расплавом, может быть выполнен из материала, являющегося основой приготавливаемого сплава.
В соответствии с предлагаемым техническим решением установленный в подине огнеупорный теплопроводный блок является источником тепловой энергии – электронагревателем, способным обеспечить выделение требуемого количества тепловой энергии при протекании через него электрического тока для нагрева расплава металла. Это происходит за счет выполнения огнеупорного теплопроводного блока из электропроводящего резистивного материала. При этом блок одновременно является и частью футеровки подины электрической печи.
С этой целью огнеупорный теплопроводный блок располагается в футеровке электрической печи так, что одна из его поверхностей электроизолирована от расплава и подсоединена к одному из полюсов источника электрической энергии через токоподвод, а другая контактирует с расплавом. Второй полюс источника электрической энергии подсоединен к токоподводящему электроду, контактирующему с расплавом, который выполнен из материала, являющегося основой приготавливаемого сплава. При таком расположении огнеупорного теплопроводного блока обеспечивается наиболее равномерное выделение в нем тепловой энергии.
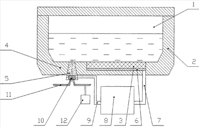
На чертеже изображено поперечное сечение предлагаемой электрической печи для приготовления сплавов цветных металлов, в которую входят: футерованная ванна 1, огражденная с боков футерованными стенами 2, огнеупорный теплопроводный блок 3, расположенный в электроизоляционной футеровке подины 4 таким образом, что верхняя поверхность огнеупорного теплопроводного блока 3 контактирует через расплав металла с токоподводящим электродом 5, а нижняя поверхность – с токоподводящим электродом 6. При помощи токоподвода 7, выполненного из материала с низким удельным электрическим сопротивлением, токоподводящий электрод 6 подсоединяется к источнику электрической энергии 8. Второй полюс источника электрической энергии 8 посредством токоподвода 9 соединяется с охлаждаемой частью токоподводящего электрода 5. В охлаждаемой части токоподводящего электрода 5 предусмотрена полость 10 для охлаждающей жидкости, поступающей в нее через систему охлаждения 11. Температурный режим токоподводящего электрода 5 поддерживается на требуемом уровне системой автоматического регулирования 12, регулирующей расход охлаждающей жидкости. При включении источника электрической энергии 8 через токоподводы 7, 9 начинает протекать электрический ток. Часть тепловой энергии выделяется в токоподводящем электроде 5. С целью обеспечения требуемого температурного режима токоподводящего электрода 5 через полость 10 пропускается охлаждающая жидкость, за счет чего его форма и физические свойства поддерживаются стабильными. При этом основная часть тепловой энергии выделяется в огнеупорном теплопроводном блоке 3 и передается расплаву, нагревая его до заданной температуры.
В качестве материала огнеупорного теплопроводного блока предлагается использовать электропроводящие резистивные материалы на основе углерода, обладающие высокой температурой плавления: карбид кремния, силицированный графит (таблица 1). В таблице 1 приведены физические свойства электропроводящих резистивных материалов, подтверждающие возможность их применения в качестве материала огнеупорного теплопроводного блока.
В применении к конкретному примеру исполнения для сравнения относительной эксплуатационной надежности электронагревателей, конструктивно выполненных в соответствии с предложенным техническим решением и прототипом, были созданы их математические и физические модели. На моделях были исследованы характеристики электронагревателей, определяющие их относительную эксплуатационную надежность. При этом для электронагревателей использовались электропроводяще резистивные материалы, указанные в таблице 1. Соответствующие полученные результаты приведены в таблице 2. Из приведенных в таблице 2 характеристик следует, что эксплуатационная надежность электронагревателей, выполненных согласно предложенному техническому решению, существенно выше, чем у прототипа.
Таким образом, исполнение электрической печи в соответствии с предлагаемым техническим решением и результаты исследований на математических и физических моделях подтверждают, что эксплуатационная надежность электрической печи может быть существенно повышена за счет увеличения надежности электронагревателя и футеровки подины.
Еще одним преимуществом предлагаемого технического решения является то, что его можно использовать в таком металлургическом оборудовании, как лотковые системы, ковши, установки рафинирования, в выпускных отверстиях и соплах металлургических сосудов, а также в лабораторных печах. В этих случаях размеры и форму огнеупорного теплопроводного блока выбирают в зависимости от конкретных требований к вышеперечисленному оборудованию.
| Таблица 1 |
 |
Материал |
Огнеупор- ность, °C |
Удельное электрические сопротивление при (20÷1200)°C, мкОм·м |
Температурный коэффициент линейного расширения, 10-6°С-1 |
Коэффициент теплопроводности, Вт/(м·°С) |
| 1 |
Карбид кремния, SiC |
2200 |
10÷105 |
5,05 |
4÷35 |
| 2 |
Силицированный графит |
1800 |
3÷2 |
4,2 |
20÷200 |
| Таблица 2 |
 |
Материал огнеупорного теплопроводного блока |
Силицированный графит |
Карбид кремния, SiC |
| Техническое решение |
Предлагаемое |
Прототип |
Предлагаемое |
Прототип |
| 1 |
Полная выделяемая мощность, Вт |
14640 |
14640 |
14640 |
14640 |
| 2 |
Максимальный температурный градиент, °С/м |
2600 |
4860 |
3092 |
6753 |
| 3 |
Термостойкость (сравнительная |
Хорошая |
Хорошая |
Удовлетворитель- ная |
Удовлетворитель- ная |
Формула изобретения
1. Электрическая печь для приготовления сплавов цветных металлов, содержащая футерованную ванну с боковыми стенами и подиной, контактирующие с расплавом, установленный в подине электронагреватель, состоящий из огнеупорного теплопроводного блока и нагревательных элементов, и источник электрической энергии, отличающаяся тем, что нагревательные элементы выполнены в виде токоподводящих электродов, установленных в футеровке подины, огнеупорный теплопроводный блок выполнен из электропроводящего резистивного материала на основе углерода и является частью футеровки подины печи, причем верхняя поверхность огнеупорного теплопроводного блока находится в контакте с токоподводящим охлаждаемым электродом через расплав металла, а его нижняя поверхность – с другим токоподводящим электродом через источник электрической энергии.
2. Электрическая печь по п.1, отличающаяся тем, что токоподводящий охлаждаемый электрод, контактирующий с расплавом, выполнен из материала, который является основой приготавливаемого сплава.
РИСУНКИ
|
|