|
|
(21), (22) Заявка: 2008125877/06, 26.06.2008
(24) Дата начала отсчета срока действия патента:
26.06.2008
(46) Опубликовано: 27.10.2009
(56) Список документов, цитированных в отчете о поиске:
RU 2100693 C1, 27.12.1997. SU 1523838 A1, 23.11.1989. SU 1456696 A1, 07.02.1989. SU 1774148 A1, 07.11.1992. US 3398720 A, 27.08.1968.
Адрес для переписки:
125171, Москва, ул. Космонавта Волкова, 6А, ОАО “ВНИИАМ”, отдел 35, зав. сектором, Л.М. Андрееву
|
(72) Автор(ы):
Шамароков Александр Сергеевич (RU), Трещенков Алексей Николаевич (RU), Жингель Владимир Иосифович (RU)
(73) Патентообладатель(и):
Открытое акционерное общество “Всероссийский научно-исследовательский и проектно-конструкторский институт атомного энергетического машиностроения” (ОАО “ВНИИАМ”) (RU)
|
(54) ТЕПЛООБМЕННИК
(57) Реферат:
Изобретение относится к энергетике и может быть использовано на тепловых и атомных электростанциях. В полости корпуса 1 продольно установлены трубчатые ширмы. Каждая ширма имеет внутреннюю ветвь 7 и наружную ветвь 8. Внутренняя ветвь 7 установлена между наружной ветвью 8 и вытеснителем 9, прикрепленным к центральному коллектору 4, а наружная ветвь 8 выполнена как продолжение внутренней ветви 7 и размещена у стенки корпуса 1. В каждой ширме внутренняя и наружная ветви 7 и 8 выполнены по длине из поворотных участков 10 и 11, расположенных с чередованием через один со стороны стенки корпуса 1 и вытеснителя 9. Поворотные участки 10 внутренней ветви 7, расположенные со стороны стенки корпуса 1, установлены внутри аналогичных поворотных участков 10 наружной ветви 8. Поворотные участки 11 наружной ветви 8, расположенные со стороны вытеснителя 9, установлены внутри аналогичных поворотных участков 11 внутренней ветви 7. Такое устройство теплообменника позволяет организовать поперечное обтекание труб ширм теплоносителем и интенсифицировать теплообмен в межтрубном пространстве, что приводит к снижению требуемой поверхности теплообмена, габаритов корпуса, а значит и к снижению металлоемкости теплообменника. 4 ил.
Изобретение относится к энергетике и может быть использовано на тепловых и атомных электростанциях.
Известен теплообменник, содержащий корпус, в полости которого продольно установлены трубчатые спиральные пучки, подключенные трубным пространством к камерам центрального коллектора, причем каждый пучок имеет две части из спиральных труб, соединенных между собой со стороны стенки корпуса поворотными участками труб, а также вытеснители, расположенные между частями пучков с образованием многоходового межтрубного пространства (US 3398720, н. кл. 122-32, 27.08.1968).
Недостатком известного теплообменника является сложность изготовления, так как, чтобы собрать трубный пучок, каждую трубу пучка приходится выполнять из отдельных участков и затем отдельные участки труб сваривать между собой.
Известен теплообменник, содержащий корпус, в полости которого продольно установлены трубчатые ширмы, подключенные трубным пространством к камерам центрального коллектора и выполненные по длине из поворотных участков, расположенных с чередованием через один со стороны стенки корпуса и его оси (SU 2100693 С1, м. кл. F22D 1/32, 27.12.1997).
В таком теплообменнике в каждой ширме поворотные участки образуют полости, незанятые поверхностью теплообмена. Так как каждая труба в ширме имеет радиус гиба, который по условиям технологичности должен быть от трех до пяти диаметров этой трубы, то эти проемы получаются относительно большими и существенно повышают габариты корпуса и металлоемкость теплообменника.
Кроме того, прототип характеризуется повышенными габаритами центрального коллектора, что также увеличивает металлоемкость теплообменника.
К настоящему изобретению наиболее близким техническим решением из известных технических решений (прототипом) является теплообменник, содержащий корпус, в полости которого продольно установлены трубчатые ширмы, подключенные трубным пространством к камерам центрального коллектора, причем каждая ширма имеет внутреннюю и наружную ветви, первая из которых установлена между наружной ветвью и вытеснителем, прикрепленным к центральному коллектору, а наружная ветвь выполнена как продолжение внутренней ветви и размещена у стенки корпуса (US 4489788, н. кл. 122-32, 25.12.1984).
В таком теплообменнике снижены габариты центрального коллектора за счет того, что каждая ширма имеет внутреннюю и наружную ветви, первая из которых установлена между наружной ветвью и вытеснителем, прикрепленным к центральному коллектору, а наружная ветвь выполнена как продолжение внутренней ветви и размещена у стенки корпуса. Это несколько снизило металлоемкость теплообменника.
Однако в прототипе организовано в основном продольное обтекание труб ширм теплоносителем, которое характеризуется пониженным коэффициентом теплоотдачи в межтрубном пространстве. Это повышает величину необходимой поверхности теплообмена и габариты корпуса, что повышает металлоемкость теплообменника.
Таким образом, недостатком прототипа является повышенная металлоемкость теплообменника.
Технической задачей изобретения является снижение металлоемкости теплообменника.
Техническая задача решается в теплообменнике, содержащем корпус, в полости которого продольно установлены трубчатые ширмы, подключенные трубным пространством к камерам центрального коллектора, причем каждая ширма имеет внутреннюю и наружную ветви, первая из которых установлена между наружной ветвью и вытеснителем, прикрепленным к центральному коллектору, а наружная ветвь выполнена как продолжение внутренней ветви и размещена у стенки корпуса, при этом в каждой ширме внутренняя и наружная ветви выполнены по длине из поворотных участков, расположенных с чередованием через один со стороны стенки корпуса и вытеснителя, поворотные участки внутренней ветви, расположенные со стороны стенки корпуса, установлены внутри аналогичных поворотных участков наружной ветви, а поворотные участки наружной ветви, расположенные со стороны вытеснителя, установлены внутри аналогичных поворотных участков внутренней ветви.
Выполнение в каждой ширме внутренней и наружной ветвей по длине из поворотных участков, расположенных с чередованием через один со стороны стенки корпуса и вытеснителя, и установка поворотных участков внутренней ветви, расположенных со стороны стенки корпуса, внутри аналогичных поворотных участков наружной ветви, а поворотных участков наружной ветви, расположенных со стороны вытеснителя, внутри аналогичных поворотных участков внутренней ветви позволяет организовать поперечное обтекание труб ширм теплоносителем и интенсифицировать теплообмен в межтрубном пространстве, что привело к снижению требуемой поверхности теплообмена, габаритов корпуса, а значит, и к снижению металлоемкости теплообменника.
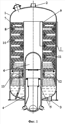
Изобретение поясняется чертежом, где на фиг.1 изображен общий вид теплообменника, вариант с закреплением центрального коллектора в нижней части корпуса; на фиг.2 – узел I фиг.1; на фиг.3 – общий вид теплообменника, вариант с закреплением центрального коллектора в верхней части корпуса; на фиг.4 – узел II фиг.3.
Для иллюстрации изобретения выбран теплообменник при использовании его в качестве подогревателя высокого давления системы регенерации турбоустановки.
Теплообменник содержит корпус 1 с патрубками 2 и 3 подвода греющего пара и отвода конденсата, соответственно. В полости корпуса 1 продольно установлен центральный коллектор 4 с камерами 5 и 6 подогреваемой воды, соответственно.
В полости корпуса 1 продольно установлены трубчатые ширмы, каждая из которых имеет внутреннюю ветвь 7 и наружную ветвь 8. Внутренняя ветвь 7 установлена между наружной ветвью 8 и вытеснителем 9, прикрепленным к центральному коллектору 4, а наружная ветвь 8 выполнена как продолжение внутренней ветви 7 и размещена у стенки корпуса 1.
В каждой ширме внутренняя и наружная ветви 7 и 8 выполнены по длине из поворотных участков 10 и 11, расположенных с чередованием через один со стороны стенки корпуса 1 и вытеснителя 9, при этом поворотные участки 10 внутренней ветви 7, расположенные со стороны стенки корпуса 1, установлены внутри аналогичных поворотных участков 10 наружной ветви 8, а поворотные участки 11 наружной ветви 8, расположенные со стороны вытеснителя 9, установлены внутри аналогичных поворотных участков 11 внутренней ветви 7.
Корпус 1 частично заполнен конденсатом, а над уровнем 12 конденсата установлено устройство 13 отвода неконденсирующихся газов. В варианте выполнения теплообменника (см. фиг.1) коллектор 4 нижней частью закреплен в корпусе 1, а в верхней части коллектор 4 выполнен с заглушенным торцом. При этом вытеснитель 9 установлен над заглушенным торцом коллектора 4.
В варианте выполнения теплообменника (см. фиг.3) коллектор 4 верхней частью закреплен в корпусе 1, а в нижней части коллектор 4 выполнен с заглушенным торцом. Вытеснитель 9 установлен под заглушенным торцом коллектора 4.
Теплообменник работает следующим образом.
Греющий пар подают из отбора турбоустановки через патрубок 2 в верхнюю часть корпуса 1. Опускаясь вниз по межтрубному пространству ширм, пар конденсируется на трубах этих ширм. Конденсат сливается на уровень 12 и затем отводится из корпуса 1 через патрубок 3. Посредством устройства 13 осуществляют сбор и отвод неконденсирующихся газов.
Подогреваемую воду (питательную воду системы регенерации паротурбинной установки) подают в камеру 5 коллектора 4. Далее вода проходит трубное пространство ширм, где последовательно проходит сначала наружные части 8, а затем и внутренние части 7 ширм. При этом вода подогревается за счет тепла конденсации греющего пара. Нагретая питательная вода собирается в камере 6 коллектора 4 и затем выводится из теплообменника.
Формула изобретения
Теплообменник, содержащий корпус, в полости которого продольно установлены трубчатые ширмы, подключенные трубным пространством к камерам центрального коллектора, причем каждая ширма имеет внутреннюю и наружную ветви, первая из которых установлена между наружной ветвью и вытеснителем, прикрепленным к центральному коллектору, а наружная ветвь выполнена как продолжение внутренней ветви и размещена у стенки корпуса, отличающийся тем, что в каждой ширме внутренняя и наружная ветви выполнены по длине из поворотных участков, расположенных с чередованием через один со стороны стенки корпуса и вытеснителя, при этом поворотные участки внутренней ветви, расположенные со стороны стенки корпуса, установлены внутри аналогичных поворотных участков наружной ветви, а поворотные участки наружной ветви, расположенные со стороны вытеснителя, установлены внутри аналогичных поворотных участков внутренней ветви.
РИСУНКИ
|
|