|
|
(21), (22) Заявка: 2008113934/06, 09.04.2008
(24) Дата начала отсчета срока действия патента:
09.04.2008
(46) Опубликовано: 27.10.2009
(56) Список документов, цитированных в отчете о поиске:
RU 92004185 A, 20.11.1995. RU 2248488 С1, 20.03.2005. GB 2137248 А, 03.10.1984. US 3820754 А, 28.06.1974. FR 2609297 A1, 08.07.1988. EP 0683275 A2, 22.11.1995. CN 2828165 Y, 18.10.2006.
Адрес для переписки:
350072, Краснодарский край, г.Краснодар, ул. 40 лет Победы, 56, кв.38, Л.В. Разведской
|
(72) Автор(ы):
Воронин Виктор Васильевич (RU), Воронин Евгений Викторович (RU)
(73) Патентообладатель(и):
Воронин Виктор Васильевич (RU), Воронин Евгений Викторович (RU)
|
(54) КЛАПАН ВОДОПРОВОДНЫЙ ЗАПОРНЫЙ
(57) Реферат:
Изобретение относится к области арматурострония и предназначено для применения в дворовых водоразборных колонках, уличных, цокольных и питьевых фонтанчиках и в поливных системах. Водопроводный запорный клапан включает корпус, который содержит соосно расположенные, герметично впрессованные друг в друга резьбовую вставку, муфты разного диаметра и трубку клапана. Последняя содержит сквозное отверстие с размещенными в нем с возможностью осевого перемещения штоком клапана и упорной трубкой. Упорная трубка подпружинена штоком стояка с одной стороны и зафиксирована упорным кольцом с другой. Шток клапана выполнен в виде полой трубки с заглушкой на конце, ограничен манжетой и посредством упора соединен с диском. Диск представляет собой запорно-перепускной клапан гидравлической камеры. Эта камера образована муфтой меньшего диаметра, резьбовой вставкой и муфтой большего диаметра. В нижней части штока клапана и упорной трубки выполнены расположенные над манжетой одно или несколько отверстий. Центр отверстий упорной трубки соосно расположен выше центра отверстий штока клапана. Изобретение направлено на предохранение от замерзания клапана при низких температурах. 3 з.п. ф-лы, 3 ил.
Изобретение относится к области проходных клапанов для жидкостей и может быть применено в дворовых водоразборных колонках, уличных, цокольных, питьевых фонтанчиках, поливных системах.
Известен клапан запорно-регулирующий, в корпусе которого с входными и выходными каналами размещены два затвора, связанные со штоком, перемещаемым приводом (з-ка 2003133672, RU). Известен также клапан для водопроводных сетей, включающий корпус, шток с запорным клапанным упором, насадку, закрепленную на корпусе с возможностью перемещения и фиксации, снабженную отверстиями для выпуска воды (з-ка 93025824, RU). Недостатками является невозможность эксплуатации данных клапанов при низких температурах.
Наиболее близким по технической сущности является клапан с дозированной подачей жидкости, в корпусе которого свободно с зазором установлен запорный орган, причем корпус снабжен подводящими и отводящими патрубками. Клапан снабжен штоком с клапаном, при этом шток установлен в отверстии запорного органа, проходит соосно через патрубки. Клапан установлен на седле, выполненном на запорном органе с возможностью выпуска жидкости из полости над патрубком, снабженным клапанным наконечником, установленным с возможностью перекрытия. В другом варианте клапан штока установлен в стенке корпуса, снабженного обводным каналом с возможностью сообщения полости над запорным органом с патрубками. При нажатии на шток клапан сообщает полость над запорным органом. Давлением жидкости запорный орган поднимается, открывая патрубки. После отпускания штока закрывается клапан, запорный орган медленно опускается вследствие дросселирования жидкости через зазор, чем обеспечивается дозированная выдача жидкости и автоматическое закрытие клапана ( 92004185, RU). Недостатком также является ненадежная эксплуатация данных клапанов в условиях низких температур.
Задачей изобретения является расширение потребительских возможностей клапана, упрощение его конструкции, повышение эксплуатационной надежности.
Технический результат изобретения заключается в устранении замерзаемости устройства при низких температурах.
Технический результат достигается тем, что клапан водопроводный запорный включает корпус, содержащий соосно расположенные резьбовую вставку, герметично впрессованные друг в друга муфты разного диаметра, трубку клапана, содержащую сквозное отверстие с размещенными в нем с возможностью осевого перемещения штоком клапана и упорной трубкой, подпружиненной штоком стояка с одной стороны и зафиксированной упорным кольцом с другой, причем шток клапана, выполненный в виде полой трубки с заглушкой на конце, ограниченной манжетой, посредством упорной вставки соединен с диском, представляющим запорно-перепускной клапан гидравлической камеры, которая образована между муфтой меньшего диаметра и резьбовой вставкой в муфту большего диаметра, при этом в нижней части штока клапана и упорной трубки выполнены расположенные над манжетой одно или несколько отверстий, причем центр отверстий упорной трубки соосно расположен выше центра отверстий штока клапана. А диаметр сечения отверстий штока клапана должен быть меньше или равен диаметру внутреннего сечения штока клапана. Диск, манжета, упорное кольцо выполнены из резинового материала или силикона, а резьбовая вставка выполнена с возможностью подключения к водопроводной магистрали.
Запорно-перепускной клапан в виде диска работает как для подачи воды в стояк для водоразбора, так и слива с него, что предотвращает перемерзание на поверхности при отрицательных температурах. Кроме того, клапан обеспечивает сброс воды со стояка в пространство между штоком клапана и трубкой клапана, что также способствует надежной работе устройства.
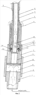
Изобретение поясняется чертежами, где показан клапан водопроводный запорный, на фиг.1 – в общем виде, на фиг.2 – в отключенном состоянии, на фиг.3 – в рабочем состоянии.
Предлагаемый клапан водопроводный запорный состоит из корпуса, содержащего соосно расположенные резьбовую вставку 1, герметично впрессованные друг в друга муфту 3 меньшего диаметра и муфту большего диаметра 2, трубку 4 клапана. Трубка 4 клапана содержит сквозное отверстие с размещенными в нем с возможностью осевого перемещения штоком 6 клапана и упорной трубкой 5, подпружиненной с помощью пружины 15 через упорные шайбы 19 штоком стояка 8 с одной стороны и зафиксированной упорным кольцом 16 с другой. Шток 6 клапана выполнен в виде полой трубки с заглушкой 12 на конце, ограниченной манжетой 15 с уплотнительным кольцом 14, которое зафиксировано стопорным кольцом 13. Посредством упорной вставки 11 шток 6 соединен с запорно-перепускным клапаном в виде диска 10, закрывающим вход в гидравлическую камеру 9. Гидравлическая камера 9 образована между муфтой 3 меньшего диаметра и резьбовой вставкой 1 в муфту 2 большего диаметра. В нижней части штока 6 клапана и упорной трубки 5 выполнены расположенные над манжетой 15 одно или несколько отверстий, причем центр отверстий 18 упорной трубки 5 соосно расположен выше центра отверстий 17 штока 6 клапана. Диаметр сечения отверстий 17 штока 6 клапана должен быть меньше или равен диаметру внутреннего сечения штока 6 клапана. Диск 10, манжета 15, упорное кольцо 16 выполнены из резинового материала или силикона, а резьбовая вставка 1 в муфту 2 выполнена с возможностью подключения к водопроводной магистрали.
Клапан водопроводный запорный работает следующим образом.
В положении “закрыто” (фиг.2) шток 6 клапана с заглушкой 12 на конце плотно подогнан, причем края заглушки упираются в манжету 15 с уплотнительным кольцом 14, которые перекрывают доступ воды в трубку 4 клапана и поджимаются стопорным кольцом 13. В данном положении клапан обеспечивает сброс воды со стояка в пространство между штоком 6 клапана и трубкой 4 клапана. Через отверстия 17 штока происходит слив в пространство между упорной трубкой 5 и трубкой 4 клапана.
Из положения “закрыто” при нажатии на стояк 8 происходит сжатие пружины 15 с одновременной подачей жидкости из водопроводной магистрали в корпус клапана (фиг.3). При этом шток 6 с заглушкой 12 через упорную вставку 11 обеспечивает принудительное открывание запорно-перепускного клапана в виде диска 10. Отверстия 17 в штоке оказываются ниже манжеты 15, что обеспечивает подачу через них жидкости для разбора. А через отверстия 18 упорной трубки жидкость беспрепятственно попадает между штоком 6 клапана и трубкой 4. Для механического возврата используется пружина 15, которая не соприкасается с водой и при соответствующей антикоррозийной обработке существенно повышается срок ее службы. При снятии нагрузки пружина 15 возвращает клапан в закрытое состояние. Данная система более подходит для уличных водоразборных колонок, питьевых фонтанчиков и т.п.
При отсутствии пружины данный механизм при давлении менее 4 кгс/см2 не обеспечивает возврата в закрытое состояние (для определенных целей водоразбора – полива, мытья автомобиля и т.д – это удобно). Закрытие происходит путем подергивания штока вверх вручную небольшим усилием.
Все соединения неподвижных частей являются герметичными и неразборными. В случае ремонта клапан выпрессовывают из стояка и меняют на другой (т.е. ремонту он не подлежит). В районах, где в жидкости может оказаться песок и взвешенные частицы, рекомендуется ставить фильтр грубой очистки. Клапан предложенной конструкции возможно использовать в широком диапазоне температур от -60°С до +70°С при рабочем давлении до 15 кгс/см2.
Таким образом, заявляемое изобретение за счет предложенной совокупности существенных признаков, изложенных в формуле, позволяет достичь желаемый технический результат.
Формула изобретения
1. Клапан водопроводный запорный, включающий корпус, содержащий соосно расположенные герметично впрессованные друг в друга резьбовую вставку, муфты разного диаметра, трубку клапана, содержащую сквозное отверстие с размещенными в нем с возможностью осевого перемещения штоком клапана и упорной трубкой, подпружиненной штоком стояка с одной стороны, и зафиксированной упорным кольцом с другой, причем шток клапана, выполненный в виде полой трубки с заглушкой на конце, ограниченной манжетой, посредством упора соединен с диском, представляющим запорно-перепускной клапан гидравлической камеры, образованной между муфтой меньшего диаметра и резьбовой вставкой в муфту большего диаметра, при этом в нижней части штока клапана и упорной трубки выполнены расположенные над манжетой одно или несколько отверстий, причем центр отверстий упорной трубки соосно расположен выше центра отверстий штока клапана.
2. Клапан водопроводный запорный по п.1, отличающийся тем, что диаметр сечения отверстий штока клапана должен быть меньше или равен диаметру внутреннего сечения штока клапана.
3. Клапан водопроводный запорный по п.1, отличающийся тем, что диск, манжета, упорное кольцо выполнены из резинового материала или силикона.
4. Клапан водопроводный запорный по п.1, отличающийся тем, что резьбовая вставка выполнена с возможностью подключения к водопроводной магистрали.
РИСУНКИ
|
|