|
|
(21), (22) Заявка: 2008116435/06, 29.04.2008
(24) Дата начала отсчета срока действия патента:
29.04.2008
(46) Опубликовано: 27.10.2009
(56) Список документов, цитированных в отчете о поиске:
RU 2072456 C1, 27.01.1997. SU 1298435, 23.03.1987. SU 1086246, 15.04.1984. SU 464716, 25.03.1975. GB 1281899, 19.07.1972.
Адрес для переписки:
140180, Московская обл., г. Жуковский, ул. Жуковского, 1, ФГУП “ЦАГИ”, отдел 80
|
(72) Автор(ы):
Филиппов Виктор Максимович (RU), Нейланд Владимир Яковлевич (RU)
(73) Патентообладатель(и):
Российская Федерация в лице Министерства промышленности и торговли Российской Федерации (Минпромторг России) (RU)
|
(54) НИЗКОСКОРОСТНАЯ АЭРОДИНАМИЧЕСКАЯ ТРУБА С ПОНИЖЕННЫМ УРОВНЕМ ПУЛЬСАЦИОННЫХ ХАРАКТЕРИСТИК ПОТОКА В РАБОЧЕЙ ЧАСТИ
(57) Реферат:
Изобретение относится к прикладной аэрогидродинамике и может быть использовано для создания труб с пониженным уровнем пульсации низкоскоростного потока в их рабочей части. Труба содержит входной коллектор с форкамерой, набор детурбулизирующих сеток, суживающее сопло, рабочую часть и детурбулизирующие элементы, детурбулизирующие элементы – средства разрушения вихревых структур размещены во внешней зоне турбулентного пограничного слоя между началом рабочей части трубы и зоной расположения исследуемого объекта. Технический результат изобретения заключается в исключении влияния перемежаемой внешней границы турбулентного слоя на стенках рабочей части на интенсивность пульсаций потока в ядре. 2 ил.
Изобретение относится к прикладной аэрогидродинамике и может быть использовано для создания труб с пониженным уровнем пульсации низкоскоростного потока в их рабочей части.
Известна аэродинамическая труба, в которой для получения низкого уровня турбулентности в ядре потока рабочей части в форкамере установлены хонейкомбы и сетки, а в переходе от форкамеры к рабочей части сопло (коллектор) выполнено со значительным поджатием (Transactions of the ASME Journal of Applied Mechanics, IX, N 3-4, p.319, 1959).
Применение этих средств детурбулизации приводит к развитию на стенках конца коллектора и рабочей части трубы ламинарного пограничного слоя, который ниже по течению переходит в турбулентный. Местоположение области перехода ламинарного пограничного слоя в турбулентный занимает значительную часть обтекаемой поверхности рабочей части, зависит от скорости потока U и вызывает значительный рост уровня турбулентности в ядре потока.
В низкоскоростных трубах (М 0) воздействие турбулентного пограничного слоя на внешний поток в рабочей части, вероятно, может происходить из-за пространственно-временного изменения толщины вытеснения пограничного слоя 1, приводящего к пульсациям «жидкого» контура (Klebanoff P.S. 1955, NACA, rep.1247, Fig.19) сечений рабочей части трубы и понижению устойчивости внешнего потока над вихрями слоя (Amini J and Lespinard / 1982, Phys Fluids, vol.25, 10, pp.1743-1750. Henningson Dan S. and Alfredsson P.H.) / J. Fluid Mech. (1987), vol.178, pp.405-421). При этом наиболее значительные пульсации толщины вытеснения пограничного слоя 1 имеют место в области ламинарно-турбулентного перехода.
Известна аэродинамическая труба (патент RU 2072456, МПК F15D 1/00, 1993 г.), принятая за прототип и содержащая входной коллектор, набор детурбулизирующих сеток, суживающее сопло, рабочую часть и пристенный детурбулизирующий элемент. Детурбулизирующий элемент размещен на обтекаемой стенке входа в рабочую часть по всему периметру нормального сечения. При этом практически полностью исключается из рабочей части наиболее рельефная зона пограничного слоя 1=F(x) – область перехода ламинарного пограничного слоя в турбулентный, и на всей ее длине слой становится турбулентным.
Недостатком является то, что внешняя, сильно рельефная граница раздела турбулентного пограничного слоя с потенциальным потоком ядра хотя и менее рельефная, чем область ламинарно-турбулентного перехода, остается и вызывает возмущение u’ (пульсационная часть скорости потока), глубоко проникающее в потенциальный поток ( >> , где  – толщина возмущенного слоя, – толщина пограничного слоя), создавая дополнительные возмущения в ядре потока рабочей части.
В трубах с рабочей частью малого сечения, что часто имеет место в гидроустановках,  может быть порядка сечения рабочей части и таким образом определять уровень возмущения в рабочей части.
Задачей изобретения является создание низкоскоростной аэродинамической трубы с пониженным уровнем пульсационных характеристик потока в рабочей части.
Технический результат заключается в исключении влияния перемежаемой внешней границы турбулентного слоя на стенках рабочей части на интенсивность пульсаций потока в ее ядре.
Решение поставленной задачи и указанный технический результат достигаются тем, что в аэродинамической трубе, содержащей входной коллектор с форкамерой, набор детурбулизирующих сеток, суживающее сопло, рабочую часть и детурбулизирующие элементы, детербулизирующие элементы, выполняющие роль разрушителей вихревых структур, размещены во внешней зоне турбулентного пограничного слоя между началом рабочей части трубы и зоной расположения исследуемого объекта.
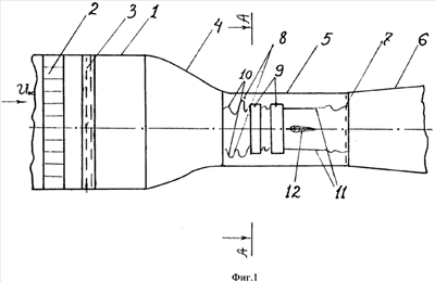
На фиг.1 приведена схема низкоскоростной аэродинамической трубы.
На фиг.2 приведено сечение по А-А рабочей части трубы в месте установки детурбулизаторов.
Низкоскоростная аэродинамическая труба (фиг.1) содержит коллектор с форкамерой 1, хонейкомбом 2 и детурбулизирующими сетками 3, сопло 4, соединенное с рабочей частью 5 трубы, в конце которой перед диффузором 6 установлена сетка 7. В начале рабочей части в перемежаемой зоне турбулентного слоя 8 перед моделью 12 установлены детурбулизующие элементы 9. На фиг.1 и 2 показана внешняя граница 10 естественного турбулентного пограничного слоя, на фиг.1 показана внешняя граница 11 пограничного слоя, сглаженная детурбулизирующими элементами.
Работа трубы осуществляется следующим образом. Вначале происходит запуск трубы, устанавливается нужный режим (скорость U ) от источника (не показан). Затем определяется оптимальное положение детурбулизирующих элементов 9, обеспечивающее минимальное возмущение потока над пограничным слоем в зоне 11. При стандартных режимах работы (что обычно имеет место в практике) описанная процедура может быть выполнена однажды и заранее.
Детурбулизирующие элементы 9 уничтожают вихревые структуры внешней зоны турбулентного пограничного слоя, делая ее границу раздела с потенциальным потоком гладкой, что приводит к равенству  = и тем самым к увеличению размеров невозмущенного ядра потока в рабочей части.
Формула изобретения
Низкоскоростная аэродинамическая труба с пониженным уровнем пульсационных характеристик потока в рабочей части, содержащая входной коллектор с форкамерой, набор детурбулизирующих сеток, суживающее сопло, рабочую часть и детурбулизирующие элементы, отличающаяся тем, что детурбулизирующие элементы – средства разрушения вихревых структур размещены во внешней зоне турбулентного пограничного слоя между началом рабочей части трубы и зоной расположения исследуемого объекта.
РИСУНКИ
|
|