|
|
(21), (22) Заявка: 2008100869/06, 09.01.2008
(24) Дата начала отсчета срока действия патента:
09.01.2008
(46) Опубликовано: 27.10.2009
(56) Список документов, цитированных в отчете о поиске:
RU 2209329 С2, 27.07.2003. US 5317877 A, 07.07.1994. GB 2190964 A, 02.12.1987. GB 1392665 A, 30.04.1975. RU 2066777 A, 20.06.1996. RU 1584492 A, 30.09.1994.
Адрес для переписки:
420066, г.Казань, ул. Красносельская, 51, Казанский государственный университет (ОПНТИ)
|
(72) Автор(ы):
Петрушенко Юрий Яковлевич (RU), Леонтьев Александр Иванович (RU), Федорченко Дмитрий Геннадьевич (RU), Марченко Герман Николаевич (RU), Межибовский Вениамин Моисеевич (RU), Дружинин Григорий Иванович (RU), Ахметова Ирина Гареевна (RU), Учарова Алсу Урхановна (RU), Алтынбаева Эмина Романовна (RU), Агафонов Юрий Михайлович (RU), Брусов Владимир Алексеевич (RU)
(73) Патентообладатель(и):
Государственное образовательное учреждение высшего профессионального образования “Казанский государственный энергетический университет” (КГЭУ) (RU)
|
(54) ГАЗОТУРБИННЫЙ ПРИВОД ЭЛЕКТРОГЕНЕРАТОРА
(57) Реферат:
Газотурбинный привод электрогенератора представляет собой одноконтурный газотурбинный двигатель, включающий осевой сверхзвуковой высоконапорный компрессор, среднюю опору, турбодетандер с тепло-массообменным аппаратом и коллектором запуска, двухзонную камеру сгорания, ступенчатую и свободную турбины и регенератор пара. Свободная турбина соединена с промежуточным валом и служит приводом электрогенератора. Регенератор пара выполнен заодно целое с сопловыми направляющими лопатками турбины. Компрессор выполнен четырехступенчатым и соединен через мультипликатор с промежуточным валом турбины. На входе компрессора для охлаждения поступающего воздуха до криогенной температуры (минус 120°С) установлены последовательно теплообменник жидкого неона с вакуумной камерой и теплообменник жидкого водорода с вакуумной камерой, соединенный через диссоциатор с камерой сгорания. Перед камерой сгорания установлен турбодетандер, имеющий загрузочное устройство в виде радиально-осевой центростремительной ступени. Снаружи корпуса турбодетандера установлен теплообменный аппарат с агрегатами управления, соединенный трубопроводом с тепломассобменным аппаратом турбодетандера и раздельно – с каждой ступенью компрессора. Турбина выполнена активно-реактивной пятиступенчатой, смонтирована на двух опорах (передней и задней). За турбиной по оси двигателя смонтированы соосно и жестко связаны корпусами второй регенератор пара шаровой формы, снабженный микроволновым нагревателем для нагрева воды до температуры парообразовании, соединенный через органы управления с коллектором запуска турбодетандера, накопитель раскаленного каменного угля и накопитель горючих компонентов (окиси углерода и водорода), который соединен с топливным коллектором второй зоны камеры сгорания. Изобретение направлено на повышение кпд, мощности и снижение теплоемкости всей конструкции. 8 ил.
Изобретение относится к области двигателестроения, в частности к авиационным одноконтурным газотурбинным двигателям, служащим приводом электрогенератора, нагнетателя газа или водяного подкачивающего насоса.
Наиболее близким техническим решением к изобретению является турбореактивный двигатель НК-37, служащий в качестве привода электрогенератора (Зрелов В.А., Карташов Г.Г. Двигатели НК. – г. Самара: Дом печати, 1999, с.96-97) – прототип.
Одноконтурный газотурбинный двигатель состоит из трехкаскадного сверхзвукового высоконапорного компрессора, средней опоры, турбодетандера с тепломассообменным аппаратом, двухзонной камеры сгорания, трехступенчатой турбины, газодинамически связанной со свободной турбиной, соединенной с промежуточным валом и служащей приводом электрогенератора, регенератора пара, выполненного заодно целое с сопловыми направляющими лопатками турбины.
Недостатком этого привода является низкий КПД (36,4%), а располагаемая мощность не отвечает потребностям настоящего времени.
Задачей изобретения является повышение КПД, мощности и снижение металлоемкости всей конструкции привода электрогенератора за счет использования в качестве топлива водорода.
Технический результат достигается тем, что в газотурбинном приводе электрогенератора, представляющем собой одноконтурный газотурбинный двигатель, включающий осевой сверхзвуковой высоконапорный компрессор (ОСВНК), среднюю опору, турбодетандер с тепломассообменным аппаратом и коллектором запуска, двухзонную камеру сгорания, ступенчатую турбину, свободную турбину, соединенную валом с промежуточным валом и служащую приводом электрогенератора, регенератор пара, выполненный заодно целое с сопловыми направляющими лопатками первой ступени турбины, компрессор выполнен четырехступенчатым и соединен через мультипликатор с промежуточным валом турбины, на входе компрессора для охлаждения поступающего воздуха до криогенной температуры (минус 120°С) установлены последовательно теплообменник жидкого неона с вакуумной камерой и теплообменник жидкого водорода с вакуумной камерой, соединенный через диссоциатор с камерой сгорания, перед которой установлен турбодетандер, имеющий загрузочное устройство в виде радиально-осевой центростремительной ступени, а снаружи корпуса турбодетандера установлен теплообменный аппарат с агрегатами управления, соединенный трубопроводом с тепломассобменным аппаратом турбодетандера и раздельно – с каждой ступенью компрессора, турбина выполнена активно-реактивной пятиступенчатой, смонтирована на двух опорах (передней и задней), за которой по оси двигателя смонтированы соосно и жестко связаны корпусами второй регенератор пара шаровой формы, снабженный микроволновым нагревателем для нагрева воды до температуры парообразования, соединенный через органы управления с коллектором запуска турбодетандера, накопитель раскаленного каменного угля и накопитель горючих компонентов (окиси углерода и водорода), который соединен с топливным коллектором второй зоны камеры сгорания.
Предлагаемый газотурбинный привод электрогенератора иллюстрируется чертежами.
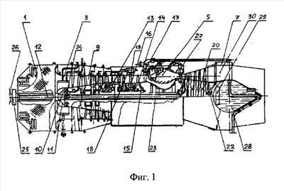
На фиг.1 показан продольный разрез предлагаемого газотурбинного привода электропривода;
на фиг.2 изображен неоновый теплообменник;
на фиг.3 изображен водородный теплообменник;
на фиг.4 изображен осевой сверхзвуковой высоконапорный компрессор с мультипликатором;
на фиг.5 изображена средняя опора с турбодетандером;
на фиг.6 изображена двухзонная камера сгорания с коллектором запуска, коллекторами подачи пара в камеру сгорания;
на фиг.7 изображена пятиступенчатая турбина;
на фиг.8 изображен регенератор пара с микроволновым нагревателем воды.
Газотурбинный привод электрогенератора представляет собой газотурбинный двигатель, содержащий последовательно размещенные теплообменник жидкого неона 1 для охлаждения воздуха, имеющий вакуумную камеру 2, теплообменник жидкого водорода 3 с вакуумной камерой 4, соединенный с диссоциатором (не показан), выход которого соединен с двухзонной камерой сгорания 5 газотурбинного привода, имеющей коллектор подвода топлива 6 с центральной перегородкой, соединенный трубопроводами с накопителем горючих компонентов 7, и запальное устройство 8, четырехступенчатый сверхзвуковой высоконапорный компрессор 9, соединенный через мультипликатор 10 ведущей шестерней 11 с промежуточным валом турбины 12 и закреплен в подшипнике средней опоры 13, в которой размещен центральный привод, турбодетандер 14, имеющий загрузочное устройство в виде радиально-осевой центростремительной ступени 15, тепломассообменный аппарат 16 и коллектор запуска 17, теплообменный аппарат 18 с агрегатами управления, смонтированный снаружи корпуса турбодетандера 14 и соединенный трубопроводом 19 с его тепломассообменным аппаратом, активно-реактивную пятиступенчатую турбину 20, смонтированную на двух опорах: передней 21 и задней 22, имеющую вал 23, соединенный шаровой муфтой 24 с промежуточным валом 12, связанным через муфту включения 25 с ротором электрогенератора 26, регенератор пара 27, выполненный заодно целое с сопловыми направляющими лопатками первой ступени турбины, второй регенератор пара 28 с микроволновым нагревателем воды 29, установленный за турбиной, накопитель раскаленного каменного угля 30.
Газотурбинный привод электрогенератора работает следующим образом.
Теплообменники 1 с вакуумной камерой 2 и 3 с вакуумной камерой 4 (регенераторы холода) охлаждают воздух, поступающий в двигатель, который подсасывается I ступенью ОСВНК 9 и поджимается последующими ступенями до необходимой степени сжатия (Пк), при этом температуры жидкого неона (минус 245°С) и жидкого водорода (минус 253°С) поддерживаются постоянными за счет использования энергии вакуумных камер.
Охлаждение воздуха, проходящего через неоновый теплообменник 1, осуществляется за счет разветвленной площади теплообменника, высокой плотности и удельной холодопроизводительности неона (в 3,3 раза больше, чем у жидкого водорода). Неон, являясь эффективным хладагентом, позволяет получить низкие температуры. Ожижение неона не представляет технических трудностей и обычно производится с помощью жидкого азота (температура кипения равна минус 196°С) с последующим дросселированием. Система охлаждения (неона) закольцована.
Водородный теплообменник 3, установленный за неоновым теплообменником 1, перед входом в ОСВНК 9 позволяет охладить воздух до криогенной температуры (минус 120°С) с последующим понижением энтальпии воздуха, проходящего через контур ОСВНК, в который газообразный воздух подводится от теплообменного аппарата с агрегатами управления 18 трубопроводом 19 с тепломассообменным аппаратом 16 турбодетандера 14.
При вращении рабочего колеса I ступени ОСВНК 9 (ступень высоконагруженная, сверхзвуковая), закрепленного в подшипнике средней опоры 13 и соединенного через мультипликатор 10 ведущей шестерней 11 с промежуточным валом 12 турбины, за счет сообщенной внешней энергии повышается скорость потока до 600 м/с и выше и перед компрессором обеспечивается разрежение – непрерывное поступление воздуха, самоуплотнение и ускорение переходит в кинетическую энергию с последующим переходом в энергию давления при сжатии в ОСВНК.
От водородного теплообменника 3 газообразный молекулярный водород поступает на диссоциатор (не показан), где электрическим разрядом с частотой 100 МГц расщепляется на атомарный водород, который подается в камеру сгорания 5 на крейсерских режимах работы газотурбинного привода электрогенератора.
Дополнительное повышение степени сжатия достигается за счет подачи жидкого воздуха из турбодетандера 14 (температура кипения равна минус 193°С). Через теплообменный аппарат с агрегатами управления 18 воздух подается раздельно (в газообразном состоянии) на каждую ступень ОСВНК для понижения энтальпии воздуха. В конечном итоге все это делается для того, чтобы уменьшить величину удельной энергии, затрачиваемой на сжатие воздуха до максимально возможного значения при минимальном количестве ступеней компрессора, тем самым повышается экономический эффект – снижение металлоемкости и веса всего ОСВНК.
К коллектору запуска 17 турбодетандера 14 от стационарной установки подается сжатый воздух давлением 10 кг/см2 и весовым расходом 50-60 кг/с на вход двухзонной камеры сгорания 5 и одновременно пусковое топливо – газообразный молекулярный водород, который поджигается запальным устройством 8.
Пятиступенчатая активно-реактивная турбина 20, смонтированная на двух опорах передней 21 и задней 22, начинает медленно раскручивать вал 23 и передавать вращение жестко связанной с ним шаровой муфте 24, а далее промежуточному валу 12.
Газотурбинный привод выходит на обороты «малого газа». Этот режим соответствует жесткому сцеплению муфты включения 25 с ротором электрогенератора 26.
Начиная с оборотов малого газа газотурбинного привода, управление всей конструктивной системой (включая диссоциатор и т.д.) превращения молекулярного водорода в атомарный водород осуществляется автоматикой.
На режимах работы газотурбинного привода основным топливом является атомарный водород. Расщепляя молекулярный водород (Н2) на атомы, затрачивается энергия 2,14780·105 кДж/кг, т.е. имеем потери. Однако подавая атомарный водород в камеру сгорания, происходит рекомбинация с выделением теплоты (Q)(2H Н2+Q(Q=2,2·105 кДж/кг), при этом получается положительный баланс приращения энергии ( Е) ( Е=2,2·105 (кДж/кг)-2,14780·105 (кДж/кг)=0,0522·105 кДж/кг=5,22·103 кДж/кг=5,22·106 Дж/кг). Энергия рекомбинации возвращается в газотурбинный привод и тратится на нагревание поступающего воздуха. Образовавшийся молекулярный водород сгорает в воздухе с дополнительным выделением тепла.
Впрыскивая в камеру сгорания 5 атомарный водород при его рекомбинации в молекулярный водород (Н2), происходит выделение теплоты на порядок больше, чем при любых известных реакциях горения.
При горении молекулярного водорода и кислорода (Н2+О2) – удельный импульс равен 526 с. При рекомбинации атомарного водорода (2Н H2) и последующем сгорании молекулярного водорода – удельный импульс равен 2120 с. Скорость горения атомарного водорода 800 м/с, максимальная скорость распространения пламени при горении молекулярного водорода (Н2) в воздухе равняется 259 см/с.
На режимах длительной работы газотурбинного привода во вторую зону камеры сгорания 5 подается из накопителя горючих компонентов 7 водяной газ (смесь окиси углерода и водорода). Теплотворная способность водяного газа составляет 1,1723·107 Дж/м3. Образование водяного газа сопровождается поглощением теплоты, поэтому уголь охлаждается. Чтобы этого не происходило, по трубкам, проложенным внутри накопителя раскаленного угля 30, непрерывно проходит газ с высокой температурой, отбираемый из первой ступени активно-реактивной турбины 20 с целью поддержания температуры раскаленного угля на оптимальном уровне.
Из регенератора пара 27, выполненного заодно целое с направляющими лопатками первой ступени активно-реактивной турбины 20, через коллектор 6 с форсунками, расположенными на наружном корпусе камеры сгорания 5, подается водяной пар под требуемым давлением и температурой свыше или равной 1000°С в пространство между наружным корпусом камеры сгорания 5 и жаровой трубой для предварительного нагрева холодного воздуха, поступающего в загрузочное устройство ступени 15 в виде радиально-осевой центростремительной ступени турбодетандера 14.
Использование в газотурбинном приводе энергии водяного газа и пара вызвано с одной стороны тем, чтобы не допустить прогаров в деталях жаровой трубы и наружного корпуса камеры сгорания (атомарный водород имеет очень высокую температуру горения), а с другой стороны, используя тепловую энергию водяного газа и пара, тем самым снижаем расход атомарного водорода, что способствует экономии труднодобываемого, дорогого экологически чистого топлива.
Энергия газового потока, выходящего из сопла за турбиной, может быть утилизирована для отопления теплиц, жилищных помещений, подсобных строений и использована в котле-утилизаторе с установкой тепловой турбины и генератора.
Формула изобретения
Газотурбинный привод электрогенератора, представляющий собой одноконтурный газотурбинный двигатель, включающий осевой сверхзвуковой высоконапорный компрессор (ОСВНК), среднюю опору, турбодетандер с тепло-массообменным аппаратом и коллектором запуска, двухзонную камеру сгорания, ступенчатую турбину на двух опорах, свободную турбину, соединенную с промежуточным валом и служащую приводом электрогенератора, регенератор пара, выполненный заодно целое с сопловыми направляющими лопатками турбины, отличающийся тем, что компрессор выполнен четырехступенчатым и соединен через мультипликатор с промежуточным валом турбины, на входе компрессора, для охлаждения поступающего воздуха до криогенной температуры (минус 120°С), установлены последовательно теплообменник жидкого неона с вакуумной камерой и теплообменник жидкого водорода с вакуумной камерой, соединенный через диссоциатор с камерой сгорания, перед которой установлен турбодетандер, имеющий загрузочное устройство в виде радиально-осевой центростремительной ступени, а снаружи корпуса турбодетандера установлен теплообменный аппарат с агрегатами управления, соединенный трубопроводом с тепло-масообменным аппаратом турбодетандера и раздельно – с каждой ступенью компрессора, турбина выполнена активно-реактивной пятиступенчатой, смонтирована на двух опорах (передней и задней), за которой по оси двигателя смонтированы соосно и жестко связаны корпусами второй регенератор пара шаровой формы, снабженный микроволновым нагревателем для нагрева воды до температуры парообразовании, соединенный через органы управления с коллектором запуска турбодетандера, накопитель раскаленного каменного угля и накопитель горючих компонентов (окиси углерода и водорода), который соединен с топливным коллектором второй зоны камеры сгорания.
РИСУНКИ
|
|