|
|
(21), (22) Заявка: 2007142433/03, 16.11.2007
(24) Дата начала отсчета срока действия патента:
16.11.2007
(43) Дата публикации заявки: 27.05.2009
(46) Опубликовано: 27.10.2009
(56) Список документов, цитированных в отчете о поиске:
RU 64672 U1, 10.07.2007. SU 1182149 A1, 30.09.1985. RU 7441 U1, 16.08.1998. RU 2182642 C1, 20.05.2002. RU 2232865 C2, 20.07.2004. GB 2114187 A, 17.08.1983. GB 2113745 A, 10.08.1983. WO 03036016 A1, 01.05.2003.
Адрес для переписки:
614097, г.Пермь, а/я 3658, В.В. Королеву
|
(72) Автор(ы):
Пепеляев Валерий Витальевич (RU), Кривоносов Юрий Александрович (RU)
(73) Патентообладатель(и):
Пепеляев Валерий Витальевич (RU), Кривоносов Юрий Александрович (RU)
|
(54) ПОЛАЯ НАСОСНАЯ ШТАНГА
(57) Реферат:
Изобретение относится к нефтедобывающему оборудованию, а именно к полым насосным штангам. Техническим результатом является расширение функциональных возможностей и повышение производительности штанговой глубинно-насосной установки с использованием колонны насосных труб малого диаметра. Полая насосная штанга выполнена с возможностью соединения по оси с соединительным элементом и имеет на концах резьбу, выполненную с возможностью сцепления с резьбой соединительного элемента. При этом штанга имеет внутренний диаметр D1, выполненный по всей длине штанги, наружный диаметр D2, выполненный в средней части штанги, и наружный диаметр D3, выполненный на концах штанги длиной L1, причем D3 больше D2. При этом на обоих концах штанги выполнена наружная коническая резьба длиной L2. Соединительный элемент выполнен в виде муфты и имеет внутреннюю коническую резьбу и наружный диаметр d, соотношение которого с внутренним диаметром штанги D1 находится в диапазоне от 2,0 до 3,0. 5 з.п. ф-лы, 5 ил., 2 табл.
Изобретение относится к области нефтепромыслового машиностроения и предназначено для использования в штанговых глубинно-насосных установках для добычи нефти.
Из уровня техники известны насосные штанги, которые свинчивают в штанговую колонну, передающую возвратно-поступательное или вращательное движение от точки подвеса штанги поверхностного привода к плунжеру глубинного насоса. Штанга представляет собой стержень круглого сечения, на концах которого имеются участки с резьбой для присоединения соединительных элементов. Штанги соединяются между собой муфтами в штанговую колонну. Например, ГОСТ 13877-80 предусматривает изготовление штанг номинальной длиной 8000 мм для подбора необходимой длины подвески колонны изготовляются укороченные штанги длиной 1000, 1200, 1500, 2000 и 3000 мм. Для соединения штанг одинаковых размеров выпускают соединительные муфты, а штанг разных размеров – переводные муфты. Штанги поставляют с навинченными на один конец муфтами. Открытая резьба штанги и муфты защищается колпачками или пробками.
Известна насосная штанга (RU 2169250 С1, 20.06.2001), обеспечивающая передачу возвратно-поступательного движения от привода к штанговому насосу, содержащая стержень из композиционного полимерного материала, например стеклопластика, установленные с двух сторон на концах указанного стержня металлические головки, имеющие соединительную часть с резьбовым элементом и установочную часть с внутренней полостью, включающей кольцевые цилиндрические зоны и кольцевые конические зоны, причем диаметры кольцевых цилиндрических зон и наименьшие диаметры кольцевых конических зон больше наружного диаметра стержня, и имеющей упорную поверхность в плоскости, перпендикулярной оси головки, для фиксации на ней концевой части стержня, а также адгезив, заполняющий пространство между поверхностью внутренней полости установочной части головки и наружной поверхностью стержня с образованием адгезионного соединения и конических клиньев, обеспечивающих крепление головок к стержню. Недостатком является использование полимерного материала, что значительно снижает прочность штанги и может привести к образованию микротрещин на ее поверхности.
Известны металлические конструкции штанг насосных с муфтами, выполненных в виде стержня круглого сечения, которые изготавливаются в соответствии с ГОСТ Р51161-2002. Основное назначение этих штанг – передача возвратно-поступательного движения от привода станка-качалки, расположенного на устье нефтяной скважины, к плунжеру глубинного штангового насоса, находящегося в скважине. Основными параметрами известных конструкций штанг являются:
1. Наружный диаметр муфты (d), который определяет необходимый внутренний диаметр насосных труб, внутри которых происходит возвратно-поступательное движение штанг с муфтами. Обычно наружный диаметр муфт выбирают таким, чтобы колонна штанг с муфтами могла свободно перемещаться в колонне насосных труб – НКТ 73, например, с диаметром канала 62 мм или в НКТ 89 диаметр канала 76 мм.
2. Площадь в минимальном сечении (S), которая определяет допустимые эксплуатационные нагрузки на колонну штанг. Чем больше площадь сечения, тем меньше уровень внутренних напряжений и больше запас усталостной прочности конструкции. Недостатком известных конструкций штанг является отсутствие у них внутреннего продольного канала, который в ряде случаев необходим для обеспечения технологических процессов, применяемых при добыче нефти, например обеспечение подъема или закачки жидкости от глубинного насоса к устью скважины по колонне труб и обратно, а также отбора жидкости с двух пластов одновременно и др.
Известны варианты конструкций штанг насосных полых с приваренными головками и муфтами и с внутренним продольным каналом, которые изготавливаются также в соответствии с ГОСТ Р51161-2002. Конструкции полых штанг, изготовленных в соответствии с ГОСТ Р51161-2002, позволяют передавать возвратно-поступательное движение от привода станка-качалки к плунжеру погружного насоса. При сравнении полых штанг со штангами, выполненными в виде стержня круглого сечения, (ГОСТ Р51161-2002), видно, что штанги имеют одинаковые наружные габариты муфт (d), но меньшую величину площади в минимальном сечении (S), что обуславливает их меньшую надежность при эксплуатации, при этом штанги по ГОСТ Р51161-2002 имеют внутренний продольный канал диаметром от 8,5 до 11,0 мм. Наличие продольного канала позволяет реализовать новую возможность, а именно закачивать по продольному каналу с устья скважины на плунжер глубинного насоса различные реагенты, улучшающие свойства откачиваемой жидкости. Однако из-за ограничения размеров диаметров продольного канала (от 8,5 мм до 11,0 мм) по этому каналу невозможно откачивать жидкость из продуктивного пласта до устья скважины, поскольку в этом случае гидравлические потери составят от 350 до 110 атмосфер, что может привести к зависанию плунжера глубинного насоса в верхнем положении, а также к существенному превышению давления, достигнутого при опрессовке, что является недостатком аналогов. Еще одним недостатком аналогов является наличие сварного шва в конструкции штанг. Известно, что сварные конструкции имеют низкую усталостную прочность и их использование при изготовлении погружного оборудования нежелательно. Еще одним недостатком аналога являются цилиндрические резьбы, которые не обеспечивают герметичность резьбового соединения при повышенном давлении в канале полых труб.
Существенные недостатки аналога – штанги насосной полой с приваренными головками и муфтами по ГОСТ Р51161-2002 – это малая площадь минимального сечения, негерметичность резьбовых соединений, а также невозможность по их продольному каналу откачивать жидкость из скважины из-за его малых размеров.
Известна «Удлиненная сборка колонны для передачи движения» (RU 2003129631/06 А, 2003.09.26), содержащая полые насосные штанги и соединительные элементы, соединенные друг с другом по оси между приводом устья нефтяной скважины, и глубинным роторным насосом, расположенным в скважине, причем каждая полая насосная штанга имеет конец с внутренней резьбой, выполненной с возможностью сцепления с наружной резьбой соединительного элемента, при этом свободный конец каждой полой насосной штанги содержит кольцевой заплечик для передачи крутящего момента. Недостатком такой конструкции является монофункциональность штанги, а именно: использование только для передачи крутящего момента при работе на скважине с роторным насосом в сборке колонны насосных труб для откачки жидкости из скважины. Наличие заплечиков увеличивает наружный диаметр штанговой колонны, что исключает ее использование в колонне насосных труб малого диаметра, а также использование в штанговой колонне для обеспечения возвратно – поступательного движения от станка-качалки, находящегося на устье скважины, к глубинному штанговому насосу. Однако конструкция насосной штанги этого технического решения по существенным признакам является наиболее близкой к решаемой задаче, поэтому это техническое решение взято за прототип заявленной изобретения.
Технической задачей заявленной изобретения является обеспечение передачи возвратно – поступательного движения от станка-качалки, находящегося на устье скважины, к глубинному штанговому насосу для подъема жидкости от глубинного штангового насоса к устью скважины и закачки жидкости с устья скважины на плунжер глубинного штангового насоса посредством использования колонны насосных труб малого диаметра.
Технический результат достигается за счет известной полой насосной штанги, выполненной с возможностью соединения по оси с соединительным элементом, имеющей на концах резьбу, выполненную с возможностью сцепления с резьбой соединительного элемента, согласно изобретения штанга имеет внутренний диаметр D1, наружный диаметр D2 и участки длины штанги L1, расположенные на ее концах, которые выполнены диаметром D3, большим, чем D2, при этом на обоих концах штанги выполнена наружная коническая резьба длиной L2, причем L2 всегда меньше L1, а соединительный элемент выполнен в виде муфты и имеет внутреннюю коническая резьбу и наружный диаметр d, соотношение которого с внутренним диаметром штанги D1 находится в диапазоне от 2,0 до 3,0, при этом минимальная площадь сечения штанги Smin рассчитывается за пределами участков L1 по формуле:

а варианты исполнения штанги выбираются в соответствии с таблицей 1.
| Таблица 1 |
| Полая насосная штанга (заявленная конструкция) |
| Условное обозначение вариантов исполнения |
Наружный диаметр муфты, d (мм) |
Внутренний диаметр штанги, D1 (мм) |
Площадь сечения, S (мм2) |
| ШНТ 27×4 |
42,2 |
19,0 |
289,0 |
| ШНТ 32×4,5 |
48,3 |
23,0 |
389,0 |
| ШНТ 36×5,5 |
52,2 |
25,0 |
490,0 |
| ШНТ 36×7 |
52,2 |
22 |
637,0 |
Дополнительно на концах штанги выполнен участок квадратного сечения длиной L3 для захвата под ключ.
Сущность изобретения поясняется чертежами:
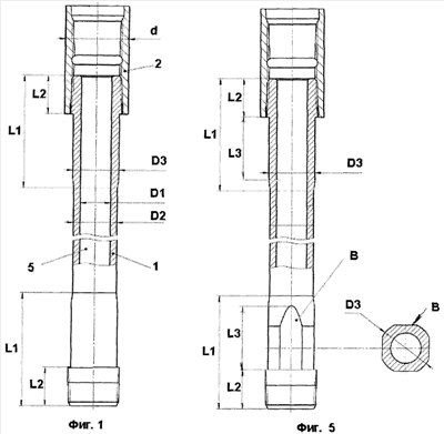
На фиг.1 изображен общий вид полой насосной штанги.
На фиг.2 изображена схема закачки жидкости с устья скважины на
глубинный штанговый насос.
На фиг.3 изображена схема подъема жидкости от глубинного штангового насоса к устью скважины.
На фиг.4 представлен график потери давления в полых насосных штангах с различными диаметрами продольного канала в сравнении с аналогами.
На фиг.5 изображен общий вид полой насосной штанги с участками квадратного сечения для захвата под ключ.
Заявленная полая насосная штанга содержит штангу 1 и соединительный элемент 2 (фиг.1) и, являясь элементом штанговой колонны 3 (фиг.2,3), используется в составе штанговой глубинно-насосной установки 4 (фиг.2,3). Штанга 1 и соединительный элемент 2 расположены соосно и ориентированны по оси прямого цилиндра.
Штанга 1 (фиг.1) имеет внутренний диаметр D1, наружный диаметр D2 и участки длины штанги L1, расположенные на ее концах, которые выполнены наружным диаметром D3, при этом D3 выполнен больше, чем D2.
На обоих концах штанги выполнена наружная коническая резьба длиной L2, причем L2 всегда меньше L1 (фиг.1), при этом площадь сечения штанги Smin рассчитывается за пределами участков L1. Дополнительно, как вариант, на концах штанги может быть выполнен участок квадратного сечения длиной L3 для захвата под ключ (фиг.5).
Соединительный элемент выполнен в виде муфты и имеет внутреннюю коническую резьбу и наружный диаметр d, размер которого находится в зависимости от размера внутреннего диаметра штанги D1 с величиной разности диаметров, находящейся в диапазоне от 2,0 до 2,4. Муфта выполнена с возможностью сборки полых насосных штанг в штанговую колонну 3 (фиг.2,3).
Полая насосная штанга в сборке штанги с муфтой образует продольный канал 5 (фиг.1), при этом продольный канал 5 образует сплошной цилиндрический канал внутри колонны насосных труб малого диаметра 6 (фиг.2,3), например, марки НКТ 73 (диаметр канала 62 мм) или марки НКТ 89 (диаметр канала 76 мм), и посредством передачи возвратно-поступательного движения от станка-качалки 7, находящегося на устье скважины, к глубинному штанговому насосу 8 обеспечивает закачивание и дозирование технологических жидкостей (фиг.2). При этом заявленная полая насосная штанга благодаря возможности увеличения внутреннего диаметра продольного канала может быть использована также для удаления из скважины технологических жидкостей и механических примесей (фиг.3). Кроме того, такая штанга может быть использована в составе штанговой колонны при добыче нефти из двух нефтяных пластов одновременно (фиг.3), что свидетельствует о ее полифункциональности и что отличает ее от прототипа.
Использование заявленной полой насосной штанги дает возможность, регулировать в зависимости от требований заданного технологического режима работы штанговой колонны, уровни прочности штанговой колонны, при воздействии осевой растягивающей нагрузки и внутреннего давления, которые зависят от площади сечения штанги, которая рассчитывается в самом узком месте. Выбирая необходимое соотношение размерных параметров, рассчитываем минимальную площадь сечения штанги по формуле:

Полученные данные отражены в таблице 2:
– при внутреннем диаметре штанги D1 размером 19,0 мм; а наружном диаметре муфты d размером 42,2 мм, площадь сечения штанги Smin составляет 289,0 мм2;
– при внутреннем диаметре штанги D1 размером 22,0 мм; а наружном диаметре муфты d размером 52,2 мм, площадь сечения штанги Smin составляет 637,0 мм2.
– при внутреннем диаметре штанги D1 размером 23,0 мм; а наружном диаметре муфты d размером 48,3 мм, площадь сечения штанги Smin составляет 389,0 мм2.
– при внутреннем диаметре штанги D1 размером 25,0 мм; а наружном диаметре муфты d размером 52,2 мм, площадь сечения штанги Smin составляет 490,0 мм.
Проведя сравнительный анализ с известными штангами делаем вывод, что размеры диаметров заявленной полой насосной штанги рассчитаны таким образом, что площадь минимального сечения штанги Smin находится в пределах размеров штанг-аналогов по ГОСТ Р51161-2002 (см. таблицу 2), причем площадь сечения полой насосной штанги Smin рассчитывается за пределами участков L1 в самом узком месте полой насосной штанги.
| Таблица 2 |
| Полая насосная штанга с муфтой (по ГОСТ Р51161-2002) |
| Условное обозначение |
Наружный диаметр муфты d (мм) |
Внутренний диаметр штанги D1 (мм) |
Площадь сечении Smin (мм2) |
| ШН 19 |
42,0 |
– |
286,3 |
| ШН 22 |
46,0 |
– |
386,8 |
| ШН 25 |
56,0 |
– |
506,0 |
| ШН 29 |
60,0 |
– |
613,4 |
| Полая насосная штанга с приваренными головками и муфтой(по ГОСТ Р51161 -2002) |
| – |
– |
– |
– |
| ШНПП 22 |
46,0 |
8,5 |
326,5 |
| ШНПП 25 |
56,0 |
9,2 |
379,8 |
| ШНПП 29 |
60,0 |
11,0 |
514,7 |
| Полая насосная штанга с муфтой (заявленная конструкция) |
| ШНТ 27×4 |
42,2 |
19,0 |
289,0 |
| ШНТ 32×4,5 |
48,3 |
23,0 |
389,0 |
| ШНТ 36×5,5 |
52,2 |
25,0 |
490,0 |
| ШНТ 36×7 |
52,2 |
22 |
637,0 |
Как видно из таблицы 2, значения площади сечения заявленной штанги находятся в пределах установленных ГОСТом. Полученные результаты в сравнении с аналогом по ГОСТ Р 51161-2002 свидетельствуют о том, что заявленная полая насосная штанга по своим характеристикам не уступает аналогам, а по функциональным возможностям прототипу.
Полая насосная штанга работает следующим образом.
С помощью муфты 2 штанга 1 (фиг.1) устанавливается в штанговую колонну 3 (фиг.2, 3), являющуюся составным элементом штанговой глубинно-насосной установки 4. Приводом станка-качалки 7 задают возвратно-поступательные движения с величиной хода и частотой, соответствующими заданному режиму работы глубинно-насосной установки. Штанговая колонна 3 осуществляет передачу движения от станка-качалки 7 к плунжеру глубинного штангового насоса 8, реализуя таким образом основную функцию штанговой глубинно-насосной установки – процесс добычи нефти, а также производя при этом откачку или закачку жидкости в скважину.
Полые насосные штанги предназначены для передачи движения от привода станка-качалки плунжеру глубинного штангового насоса при непрерывной или периодической подаче в полость насосных труб 6 ингибиторов коррозии, ингибиторов против отложения парафина, растворителей парафина, теплоносителей, деэмульгаторов, жидкости гидрозащиты глубинного штангового насоса. Откачка нефти при этом может производиться как по продольному каналу 5 штанговой колонны 3 (фиг.2, 3), так и по кольцевому пространству между наружным диаметром штанговой колонны 3 и внутренним диаметром колонны насосных труб 6.
Штанговая колонна работает в тяжелых условиях, на нее действуют агрессивная скважинная среда и переменные нагрузки, приводящие к накоплению усталостных явлений в штанговой колонне. Кроме этого, штанговая колонна изнашивается вследствие трения о внутренние поверхности насосных труб.
В процессе эксплуатации штанговой колонны на полую насосную штангу действуют следующие нагрузки:
– статические – вес штанговой колонны с учетом силы плавучести и вес столба жидкости над плунжером глубинного штангового насоса высотой от динамического уровня жидкости, за вычетом объема, занимаемого штанговой колонной;
– динамические – силы инерции движущихся масс штанговой колонны и жидкости, так как их движение осуществляется с ускорением, а также силы вибрации, обусловленные волновыми явлениями, возникающими в штанговой колонне при работе насоса;
– силы трения штанговой колонны о трубы и жидкость, возникающие при откачке высоковязких жидкостей и эмульсий, их значение может быть соизмерено с весом колонны;
– сжимающие напряжения, которые возникают при ходе вниз полых насосных штанг при откачке вязких жидкостей и эмульсий и которые отрицательно влияют на долговечность работы штанговой колонны.
Разрушение штанговой колонны носит усталостный характер. Для длительной работы штанговой колонны необходимо уметь правильно ее рассчитать и подобрать.
При работе штанговой колонны в стандартных условиях используют полые насосные штанги с малым наружным диаметром, а в жестких условиях, при которых возникают сжимающие напряжения при ходе вниз штанговой колонны при откачке вязких жидкостей и эмульсий, требующих усиления данного участка, применяют полые насосные штанги большего диаметра.
На долговечность работы штанговой колонны большое влияние оказывает конструкция и технология изготовления полой насосной штанги, а также применяемые при изготовлении методы упрочнения, особенно состояние наружной поверхности тела штанги. Изготовление штанг без усиления прочности может привести к образованию микротрещин на теле штанги, которые выступают концентратами напряжений и очагами коррозии.
Заявленная полая насосная штанга может быть изготовлена, например, из стали марки 40Х ГОСТ 4543-71, при этом для повышение усталостной прочности штанги, наружная поверхность штанги имеет два наружных диаметра D2 и D3, причем D3, на участке которого выполнена резьба, всегда больше, чем D2. Также конструкцией заявленной полой насосной штанги предусмотрено наличие участков длины штанги L1 на ее концах, которые всегда больше, чем длина резьбы с участками L2.
На графике (фиг.4) показаны потери давления в полых насосных штангах с различными диаметрами продольного канала в сравнении, например, с аналогами, где А – потери давления в полых насосных штангах, изготовленных по ГОСТ Р 51161-2002; Б – потери давления в полых насосных штангах заявленной изобретения. Проведя сравнительный анализ по потерям давления внутри полых насосных штангах с различным диаметром продольного канала делаем вывод, что потери давления в заявленной полой насосной штанге значительно меньше, чем в аналогах.
Заявленная полая насосная штанга обладает следующими достоинствами:
1. Наружный диаметр муфт d практически равен, а в отдельных случаях меньше, чем у конструкций аналога и прототипа, что не накладывает ограничений по применимости заявляемой конструкции.
2. Площадь в минимальном сечении Smin одинакова или даже больше, чем у аналогов, что гарантирует высокие прочностные свойства заявляемой конструкции.
3. Диаметр внутреннего канала насосных труб от 15,5 до 35 мм обеспечивает при подъеме жидкости минимальные гидравлические потери, не превышающие рекомендуемого давления опрессовки (40 атмосфер).
4. Отсутствие сварного соединения в заявляемой конструкции исключает риск преждевременного усталостного разрушения.
5. Применение в резьбовом соединении герметичных конических резьб в соответствии гарантирует герметичность резьбовых соединений при давлениях до 200 атмосфер.
Заявленное изобретение полностью решает поставленную техническую задачу. Технический результат заключается в выполнении конструкции полой насосной штанги полифункциональной с возможностью ее использования в штанговой глубинно-насосной установке в составе штанговой колонны для обеспечения возвратно-поступательного движения от привода устья скважины к глубинному штанговому насосу, с осуществлением при этом таких функций, как закачивание технологических жидкостей, удаление из скважины жидкости и механических примесей, а также откачку нефти из двух пластов одновременно, сократив при этом энергетические затраты при подземном ремонте скважин, снизив вероятность осложнения при эксплуатации и подземном ремонте скважин малого диаметра, повысив производительность штанговой глубинно-насосной установки с использованием колонны насосных труб малого диаметра.
Формула изобретения
1. Полая насосная штанга, выполненная с возможностью соединения по оси с соединительным элементом, имеющая на концах резьбу, выполненную с возможностью сцепления с резьбой соединительного элемента, отличающаяся тем, что штанга имеет внутренний диаметр D1, выполненный по всей длине штанги, наружный диаметр D2, выполненный в средней части штанги, и наружный диаметр D3, выполненный на концах штанги длиной L1, причем D3 больше D2, при этом на обоих концах штанги выполнена наружная коническая резьба длиной L2, причем L2 всегда меньше L1, а соединительный элемент выполнен в виде муфты и имеет внутреннюю коническую резьбу и наружный диаметр d, соотношение которого с внутренним диаметром штанги D1 находится в диапазоне от 2,0 до 3,0, при этом минимальная площадь сечения штанги Smin рассчитывается за пределами участков штанги длиной L1 по формуле 
2. Штанга по п.1, отличающаяся тем, что внутренний диаметр штанги D1 выполнен размером 19,0 мм, а наружный диаметр муфты d выполнен размером 42,2 мм, при этом площадь сечения штанги Smin составляет 289,0 мм2.
3. Штанга по п.1, отличающаяся тем, что внутренний диаметр штанги D1 выполнен размером 22,0 мм, а наружный диаметр муфты d выполнен размером 52,2 мм, при этом площадь сечения штанги Smin составляет 637,0 мм2.
4. Штанга по п.1, отличающаяся тем, что внутренний диаметр штанги D1 выполнен размером 23,0 мм, а наружный диаметр муфты d выполнен размером 48,3 мм, при этом площадь сечения штанги Smin составляет 389,0 мм2.
5. Штанга по п.1, отличающаяся тем, что внутренний диаметр штанги D1 выполнен размером 25,0 мм, а наружный диаметр муфты d выполнен размером 52,2 мм, при этом площадь сечения штанги Smin составляет 490,0 мм2.
6. Штанга по п.1, отличающаяся тем, что на концах штанги дополнительно выполнен участок квадратного сечения длиной L3 для захвата под ключ.
РИСУНКИ
|
|