|
|
(21), (22) Заявка: 2008109749/03, 17.03.2008
(24) Дата начала отсчета срока действия патента:
17.03.2008
(43) Дата публикации заявки: 27.06.2008
(46) Опубликовано: 27.10.2009
(56) Список документов, цитированных в отчете о поиске:
FR 2222494 А, 18.10.1974. DE 3536809 C1, 02.04.1987. GB 1140920 A, 14.10.1966. RU 2203360 C1, 27.04.2003. RU 2282773 C2, 27. 08.2006. RU 2291936 C1, 20.01.2007. DE 2549547 В2, 12.05.1977.
Адрес для переписки:
603003, г.Нижний Новгород, а/я 72, А.Н. Петровскому
|
(72) Автор(ы):
Рябинин Вячеслав Петрович (RU), Матвеичева Ирина Анатольевна (RU), Осокин Игорь Иванович (RU)
(73) Патентообладатель(и):
Рябинин Вячеслав Петрович (RU)
|
(54) КОЛОДЕЦ ТРУБОПРОВОДА
(57) Реферат:
Металлический сварной колодец, покрытый гидроизоляцией и состоящий из наборного каркаса и листовой обшивки, которые образуют короб 1 и горловину 2 с люковым закрытием 3. В стенках и перекрытии короба выполнены отверстия под трубы 4 и горловину 2. Под люковым закрытием 3 закреплена лестница 5. Днище 6 выполнено с уклоном и лотком 7 для стока и сбора конденсата и продуктов очистки трубопровода. Для удобства обслуживающего персонала лоток 7 закрыт решеткой 8. Отверстие в стенке под трубу 4 оснащено сальниковым уплотнением, охватывающим трубу 4. Сальниковое уплотнение крепится к стенке колодца с возможностью подтягивания уплотнительных колец изнутри колодца. Для удобства монтажа на действующем трубопроводе сальниковое уплотнение выполнено с разъемом корпуса и нажимного фланца. Корпус уплотнения установлен в отверстии под трубу с зазором и крепится к стенке короба посредством герметичного фланцевого соединения. Короб оснащен домкратами для центрирования отверстия с трубой и выравнивания колодца. В люковом закрытии 3 установлен сквозной патрубок для опускания в колодец датчиков контроля загазованности воздуха. Снижены трудоемкость строительства и обслуживания трубопроводов. 5 ил.
Изобретение относится к линейным сооружениям подземных трубопроводов, а именно к смотровым и эксплуатационным колодцам.
Известны колодцы, выполненные из сборного железобетона, а также сборные колодцы с элементами монолитного бетона. См. Монтаж систем внешнего водоснабжения и канализации / А.К.Перешивкин, А.А.Александров, Е.Д.Булынин и др.; Под ред. А.К.Перешивкина. – 4-е изд., перераб. и доп. – М.: Стройиздат, 1988. – 653 с.: ил. – (Справочник строителя).
Колодец собирается на железобетонной плите или монолитном основании и представляет собой вертикальный набор железобетонных колец или рам, перекрытых плитой. На плите перекрытия установлен набор колец горловины с люковым закрытием. В стенках и перекрытии колодца выполнены отверстия под трубы и горловину. Внутри колодца под люковым закрытием установлена лестница. Стыки сопрягаемых элементов и отверстия под трубы уплотнены глиной, гудроном и мастиками, а внутренние поверхности стен и основания покрыты гидроизоляцией. Уплотнения и гидроизоляция выполнены в полевых условиях при строительстве.
Колодцы такого типа имеют длительные циклы строительства и ремонта с применением грузоподъемных машин, а также высокую трудоемкость строительно-монтажных работ. Уплотнения и гидроизоляция, выполненные в полевых условиях, не обеспечивают необходимую герметичность, что приводит к попаданию фильтрата сточных продуктов в окружающий грунт, а инфильтрата грунтовых вод в колодец.
Наиболее близок к предлагаемому изобретению металлический сварной колодец, состоящий из наборного каркаса и листовой обшивки, образующих короб и горловину с люковым закрытием. См. патент US 6385913 B1, 14.05.2002, E02D 29/14, STEEL MANHOLE. В стенках и перекрытии короба выполнены отверстия под трубы и горловину. Колодец может быть покрыт гидроизоляций в условиях производственного помещения и поставляется к месту установки в собранном виде. Сооружение отличается хорошей герметичностью, но не достаточно приспособлено к монтажу, очистке и контролю загазованности воздуха, что необходимо для трубопроводов природного газа, нефти и других взрывоопасных и пожароопасных продуктов.
Задача, решаемая изобретением, – улучшение условий обслуживания, сокращение объемов и сроков строительно-монтажных и эксплуатационно-ремонтных работ на трубопроводах.
Технический результат от использования изобретения заключается в снижении трудоемкости строительства и обслуживания трубопроводов.
Указанный результат достигается следующим.
В металлическом сварном колодце, покрытом гидроизоляцией и состоящем из наборного каркаса и листовой обшивки, образующих короб и горловину с люковым закрытием, отверстия в стенках и перекрытии короба под трубы и горловину, установленную под люковым закрытием лестницу, днище колодца выполнено с уклоном и лотком для сбора конденсата и продуктов очистки трубопровода. Отверстие для труб в стенке колодца оснащено сальниковым уплотнением, которое охватывает трубу и крепится к стенке с возможностью подтягивания уплотнительных колец изнутри колодца. Для удобства монтажа на действующем трубопроводе корпус и нажимной фланец сальникового уплотнения выполнены с разъемом, а корпус уплотнения установлен в отверстии под трубу с зазором и крепится к стенке короба посредством герметичного фланцевого соединения. Колодец оснащен домкратами для центрирования отверстия с трубой. В люковом закрытии установлен сквозной патрубок для опускания в колодец датчиков контроля загазованности воздуха.
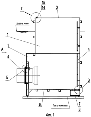
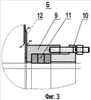
На фиг.1 представлен общий вид предпочтительной конструкции колодца, предназначенного для установки на концевом участке трубопровода. На фиг.2-5 представлены виды на фиг.1: на фиг.2 – вид А; на фиг.3 – вид Б; на фиг.4 – вид В, на фиг.5 – вид Г.
Металлический сварной колодец из наборного каркаса и листовой обшивки, которые образуют короб 1 и горловину 2 с люковым закрытием 3. В стенках и перекрытии короба выполнены отверстия под трубы 4 и горловину 2. Под люковым закрытием 3 закреплена лестница 5. Днище 6 выполнено с уклоном и лотком 7 для стока и сбора конденсата и продуктов очистки трубопровода. Для удобства работы обслуживающего персонала лоток 7 закрыт решеткой 8. Отверстие в стенке под трубу 4 оснащено сальниковым уплотнением. Уплотнение состоит из корпуса 9, нажимного фланца 10 и уплотнительных колец 11, которые охватывают трубу 4. Сальниковое уплотнение крепится к стенке колодца с возможностью подтягивания уплотнительных колец 11 изнутри колодца. Для удобства монтажа на действующем трубопроводе корпус 9 и нажимной фланец 10 сальникового уплотнения выполнены с разъемом, а корпус 9 установлен в отверстии под трубу с зазором и крепится к стенке короба посредством герметичного фланцевого соединения 12. Короб оснащен домкратами 13 для выравнивания колодца в горизонтальной плоскости и центрирования отверстия в стенке с трубой. В люковом закрытии 3 установлен сквозной патрубок 14 для опускания в колодец датчиков контроля загазованности воздуха. Патрубок 14 закрыт крышкой 15 для защиты колодца от атмосферных осадков. Колодец покрыт гидроизоляцией.
Монтаж и эксплуатация колодца ведутся следующим образом.
Колодец устанавливается посредством грузоподъемных механизмов в котловане на плиту с вводом трубы 4 в отверстие в стенке короба. Центрируют отверстие относительно трубы 4 и выравнивают колодец посредством домкратов 13. Собирают разъемные детали 9 и 10 сальникового уплотнения на трубе 4 с укладкой уплотнительных колец 11. Заваривают фланец 12 корпуса уплотнения на стенке короба. Затягивают нажимной фланец 10 и уплотнительные кольца 11 сальникового уплотнения. Далее сооружение закрепляют на основании и производят его обратную засыпку.
При необходимости осмотра или очистки трубопровода, ввода или вывода в трубопровод приборов производят контроль загазованности воздуха в колодце через патрубок 14. Затем с соблюдением необходимых мер безопасности поднимают крышку люкового закрытия 3 и исполнители работ спускаются через горловину 2 по лестнице 5 на днище 6 колодца. Далее снимается крышка концевого затвора трубы 4, и продукты загрязнения стекают в лоток 7, откуда удаляются ручным или механизированным способом. При необходимости в концевой участок трубопровода вводятся контрольно-измерительные приборы.
После завершения работ исполнители закрывают крышку концевого затвора трубы 4, поднимаются на поверхность и опускают крышку люкового закрытия.
Промышленная применимость предлагаемого изобретения подтверждена испытаниями опытного образца.
Производство колодца реализовано в условиях металлообрабатывающего завода.
Предлагаемое изобретение позволяет снизить строительные и эксплуатационные затраты трубопровода.
Формула изобретения
Металлический сварной колодец трубопровода, покрытый слоем гидроизоляции и состоящий из наборного каркаса и листовой обшивки, образующих короб и горловину с люковым закрытием, отверстия в стенках и перекрытии короба под трубы, горловину и установленную под люковым закрытием лестницу, отличающийся тем, что днище колодца выполнено с уклоном и лотком для сбора конденсата и продуктов очистки трубопровода, отверстие для трубы в стенке колодца оснащено сальниковым уплотнением, которое охватывает трубу и крепится к стенке короба с возможностью подтягивания уплотнительных колец изнутри колодца, корпус и нажимной фланец сальникового уплотнения выполнены с разъемом, корпус уплотнения установлен в отверстии под трубу с зазором и крепится к стенке короба посредством герметичного фланцевого соединения, короб оснащен домкратами для центрирования отверстия с трубой и выравнивания колодца, а в люковом закрытии установлен сквозной патрубок с крышкой для опускания в колодец датчиков контроля загазованности воздуха.
РИСУНКИ
|
|