|
|
(21), (22) Заявка: 2008109751/03, 17.03.2008
(24) Дата начала отсчета срока действия патента:
17.03.2008
(43) Дата публикации заявки: 10.07.2008
(46) Опубликовано: 27.10.2009
(56) Список документов, цитированных в отчете о поиске:
GB 1140920 А, 14.10.1966. RU 2203360 C1, 27.04.2003. RU 2282773 C2, 27.08.2006. RU 2291936 C1, 20.01.2007. DE 2549547 B2, 12.05.1977.
Адрес для переписки:
603003, г.Нижний Новгород, а/я 72, А.Н. Петровскому
|
(72) Автор(ы):
Рябинин Вячеслав Петрович (RU), Матвеичева Ирина Анатольевна (RU), Осокин Игорь Иванович (RU)
(73) Патентообладатель(и):
Рябинин Вячеслав Петрович (RU)
|
(54) КОЛОДЕЦ ТРУБОПРОВОДА
(57) Реферат:
Металлический сварной колодец из наборного каркаса и листовой обшивки, образующих короб 1, параллельные горловины 2 и 3, закрытые люками 4 и расположенные по обе стороны трубопровода 5. В стенках и перекрытии короба выполнены отверстия под трубопровод 5 и горловины 2, 3. Под люками 4 закреплены лестницы 6. В каждую горловину вварены патрубки 7 для подвода снаружи кабеля и стенки 8, образующие каналы для прокладки кабеля к приборам, устанавливаемым в колодце. Для организации приточно-вытяжной вентиляции на крышках 10 люков установлены вытяжные трубы 11, а крышки и обрамление каждого люка образуют каналы, соединенные с каналами под кабель. Отверстия для труб в стенках колодца оснащены сальниковыми уплотнениями, которые охватывают трубопровод и крепятся к стенке с возможностью подтягивания уплотнительных колец набивки изнутри колодца. Короб оснащен домкратами 15 для выравнивания колодца в горизонтальной плоскости и центрирования отверстий колодца с трубопроводом. Короб 1 колодца и детали сальниковых уплотнений выполнены с разъемом. Корпус сальникового уплотнения установлен в отверстии под трубу с зазором и крепится к стенке колодца посредством герметичного фланцевого соединения. Улучшены условия эксплуатации, снижена трудоемкость строительства и обслуживания трубопроводов. 9 ил.
Изобретение относится к линейным сооружениям подземных трубопроводов, а именно к смотровым и эксплуатационным колодцам.
Известны колодцы, выполненные из сборного железобетона, а также сборные колодцы с элементами монолитного бетона. См. Монтаж систем внешнего водоснабжения и канализации / А.К.Перешивкин, А.А.Александров, Е.Д.Булынин и др.; Под ред. А.К.Перешивкина. – 4-е изд., перераб. и доп. – М.: Стройиздат, 1988. – 653 с.: ил. – (Справочник строителя).
Колодец собирается на плите или монолитном основании и представляет собой вертикальный набор железобетонных колец или рам, перекрытых плитой. На плите перекрытия установлен набор колец горловины, закрытых люком. В стенках и перекрытии колодца выполнены отверстия под трубы и горловину. Внутри колодца под люком установлена лестница. Стыки сопрягаемых элементов и отверстия под трубы уплотнены глиной, гудроном и мастиками, а внутренние поверхности стен и основания покрыты гидроизоляцией. Уплотнения и гидроизоляция выполнены в полевых условиях при строительстве.
Колодцы такого типа имеют длительные циклы строительства и ремонта с применением грузоподъемных машин, а также высокую трудоемкость строительно-монтажных работ. Уплотнения и гидроизоляция, выполненные в полевых условиях, не обеспечивают необходимую герметичность, что приводит к попаданию фильтрата сточных продуктов в окружающий грунт, а инфильтрата грунтовых вод в колодец.
Наиболее близок к предлагаемому изобретению металлический сварной колодец, состоящий из наборного каркаса и листовой обшивки, образующих короб и горловину, закрытую люком. См. патент US 6385913 B1, 14.05.2002, E02D 29/14, STEEL MANHOLE. В стенках и перекрытии короба выполнены отверстия под трубы и горловину. Колодец может быть покрыт гидроизоляций в условиях производственного помещения и поставляется к месту установки в собранном виде. Сооружение отличается хорошей герметичностью, но не достаточно приспособлено к работе с контрольно-измерительными приборами, вентиляции и монтажу на действующем трубопроводе.
Задача, решаемая изобретением, – обеспечение удобства и безопасности работы в колодце, по крайней мере, двух специалистов с контрольно-измерительными приборами, а также сокращение объемов и сроков строительно-монтажных и эксплуатационно-ремонтных работ.
Технический результат от использования изобретения заключается в улучшении условий обслуживания, снижении трудоемкости строительства и эксплуатации трубопроводов.
Указанный результат достигается следующим.
Металлический сварной колодец, покрытый гидроизоляцией и состоящий из наборного каркаса и листовой обшивки, образующих короб с отверстиями в стенках и перекрытии, выполнен, по крайней мере, с двумя параллельными горловинами, для совместной работы двух специалистов. Горловины установлены параллельно над отверстиями в перекрытии короба по обе стороны от трубопровода. Горловины закрыты люками, а под люками установлены лестницы. В каждую горловину вварены патрубки для подвода снаружи кабеля и стенки, образующие каналы для прокладки кабеля к приборам, устанавливаемым в колодце. Для организации приточно-вытяжной вентиляции на крышках люков установлены вытяжные трубы, а крышки и обрамление каждого люка образуют каналы, соединенные с каналами под кабель. Отверстия под трубы в стенках колодца оснащены сальниковыми уплотнениями, которые охватывают трубопровод и крепятся к стенке с возможностью подтягивания уплотнительных колец набивки 14 изнутри колодца.
Короб колодца и детали сальниковых уплотнений выполнены с разъемом, что позволяет устанавливать колодец на действующих участках трубопровода. Короб оснащен домкратами для выравнивания колодца в горизонтальной плоскости и центрирования отверстий колодца с трубопроводом. Корпус сальникового уплотнения установлен в отверстии под трубу с зазором и крепится к стенке колодца посредством герметичного фланцевого соединения.
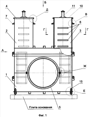
На фиг.1 представлен общий вид предпочтительной конструкции колодца. Виды и разрезы на фиг.1 представлены: на фиг.2 – вид А; на фиг.3 – вид Б; на фиг.4 – вид В; на фиг.5 – разрез Г-Г; на фиг.6 – вид Д; на фиг.7 – вид Б; на фиг.8 – вид Ж. Вид И на фиг.2 показан на фиг.9.
Металлический сварной колодец из наборного каркаса и листовой обшивки, образующих короб 1, параллельные горловины 2 и 3, закрытые люками 4 и расположенные по обе стороны трубопровода 5. В стенках и перекрытии короба выполнены отверстия под трубопровод 5 и горловины 2, 3. Под люками 4 закреплены лестницы 6. В каждую горловину вварены патрубки 7 для подвода кабеля и стенки 8, образующие каналы 9 для прокладки кабеля к приборам, устанавливаемым в колодце. Для организации приточно-вытяжной вентиляции на крышках 10 люков установлены вытяжные трубы 11, а крышки 10 и обрамление 12 каждого люка образуют каналы 13, соединенные с каналами под кабель. Отверстия для труб 5 в стенках колодца оснащены сальниковыми уплотнениями, которые охватывают трубопровод и крепятся к стенке с возможностью подтягивания уплотнительных колец набивки 14 изнутри колодца. Короб оснащен домкратами 15 для выравнивания колодца в горизонтальной плоскости и центрирования отверстий колодца с трубопроводом.
Короб 1 колодца, корпуса 16 и нажимные фланцы 17 сальниковых уплотнений выполнены с разъемом в диаметральной плоскости трубы.
Корпус 16 сальникового уплотнения установлен в отверстии под трубу с зазором и крепится к стенке колодца посредством герметичного фланцевого соединения 18.
Монтаж и эксплуатация колодца ведутся следующим образом.
Нижняя часть короба 1 посредством грузоподъемных механизмов подводится под трубопровод и устанавливается в котловане на плиту основания. Затем на нижнюю часть короба устанавливается его верхняя часть. Посредством домкратов 15 отверстия в стенке короба центрируют с трубой. Затем на трубах собираются разъемные детали 16 и 17 сальникового уплотнения с укладкой уплотнительных колец набивки 14. Затем затягивают и заваривают разъем короба, затягивают или заваривают фланец 18 корпуса 15 уплотнения на стенке колодца. Далее сооружение закрепляют на основании и производят его обратную засыпку.
При необходимости работы с приборами поднимают крышки люков и исполнители работ спускаются через горловины 2, 3 по лестницам 6 на днище колодца.
После завершения работ исполнители поднимаются на поверхность и опускают крышки люков.
В закрытом колодце циркулирует воздух через каналы, образованные крышкой и обрамлением люка, каналы кабеля и вытяжную трубу. Приточно-вытяжная вентиляция исключает загазованность колодца и быстрое просыхание конденсата в кабельных каналах.
Промышленная применимость предлагаемого изобретения подтверждена испытаниями опытного образца.
Производство предлагаемого устройства реализовано в условиях металлообрабатывающего завода.
Предлагаемое изобретение позволяет улучшить условия обслуживания колодца, снизить строительные и эксплуатационные затраты трубопровода.
Формула изобретения
Металлический сварной колодец трубопровода, покрытый гидроизоляцией и состоящий из наборного каркаса и листовой обшивки, образующих короб с отверстиями в стенках и перекрытии короба, две горловины, установленные над отверстиями в перекрытии, горловины закрыты люками, а под люками установлены лестницы, отличающийся тем, что горловины установлены параллельно по обе стороны от трубопровода, в каждую горловину вварены патрубки для подвода снаружи кабеля и стенки, образующие каналы для прокладки кабеля, на крышках люков установлены вытяжные трубы, а крышки и обрамления каждого люка образуют каналы, соединенные с каналами под кабель для организации приточно-вытяжной вентиляции, отверстия под трубопровод в стенках короба оснащены сальниковыми уплотнениями, которые охватывают трубопровод и крепятся с возможностью подтягивания уплотнительных колец изнутри колодца, короб колодца и детали сальниковых уплотнений выполнены с разъемами, что позволяет устанавливать колодец на действующих участках трубопровода, короб оснащен домкратами для выравнивания колодца в горизонтальной плоскости и центрирования отверстий колодца с трубопроводом, корпус сальникового уплотнения установлен в отверстии под трубу с зазором и крепится к стенке колодца посредством герметичного фланцевого соединения.
РИСУНКИ
|
|